Ce produit est conforme à toutes les directives européennes pertinentes. Pour plus de renseignements, reportez-vous à la Déclaration d'incorporation (DOI) à la fin de ce document.
CALIFORNIE
Proposition 65 - Avertissement
Les gaz d'échappement de ce produit contiennent des substances chimiques considérées par l'état de Californie comme susceptibles de provoquer des cancers, des malformations congénitales et autres troubles de la reproduction.
Les bornes de la batterie et accessoires connexes contiennent du plomb et des composés de plomb. L'état de Californie considère ces substances chimiques comme susceptibles de provoquer des cancers et des troubles de la reproduction. Lavez-vous les mains après avoir manipulé la batterie.
![]() |
Des autocollants de sécurité et des instructions bien visibles par l'utilisateur sont placés près de tous les endroits potentiellement dangereux. Remplacez tout autocollant endommagé ou manquant. |





Important: Ce kit ne s'applique qu'à un ProPass de type remorqué.
Pièces nécessaires pour cette opération:
| Réservoir hydraulique | 1 |
| Support de guide-flexible | 1 |
Si vous installez le kit avant de débrancher toutes les sources hydrauliques et électriques externes, un choc électrique et/ou le liquide hydraulique sous pression peut vous blesser gravement, voire mortellement.
Avant d'installer le groupe hydraulique, débranchez toutes les sources hydrauliques et électriques externes.
Garez la machine sur une surface plane et horizontale, abaissez la béquille, détachez la machine du groupe de déplacement, et placez des cales devant et derrière les roues.
Déposez l'accessoire Twin Spinner et attachez les flexibles hydrauliques de retour et d'alimentation en suivant les instructions du Manuel de l'utilisateur de la machine.
Important: La paroi arrière du châssis de certains modèles ProPass est pré-percée. Si tel est le cas pour votre machine, voir Montage du moteur.
Retirez et mettez de côté les 2 boulons de montage de la paroi arrière du châssis pour permettre le montage du réservoir hydraulique.
Vérifiez que la paroi arrière du châssis est libre pour pouvoir monter le réservoir hydraulique.
Sortez le réservoir hydraulique de la caisse d'expédition.
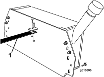
Soutenez le réservoir hydraulique par dessous et placez-le contre la paroi arrière du châssis. Le réservoir doit être parfaitement centré par rapport aux côté droit et gauche et être positionné verticalement (Figure 1).

Les raccords d'entrée et de sortie ainsi que le support du guide-flexible doivent tous passer correctement dans les trous ronds de la paroi arrière du châssis (Figure 2).

Vérifiez que le réservoir hydraulique est de niveau.
À l'aide de serre-joints en C ou de dispositifs similaires, serrez momentanément le réservoir hydraulique en place sur la paroi arrière du châssis.
Vérifiez que le réservoir hydraulique est encore de niveau.
Marquez l'emplacement des trous de montage du réservoir hydraulique sur la paroi arrière du châssis.
Desserrez les serre-joints en C et déposez le réservoir hydraulique.
Marquez au pointeau l'emplacement des trous repérés.
Percez un trou de 7/16" de diamètre dans la paroi arrière du châssis, à chaque emplacement repéré et marqué au pointeau.
Ébavurez chaque trou.
Pièces nécessaires pour cette opération:
| Moteur | 1 |
| Boulon (½" x 5") | 2 |
| Batterie | 1 |
| Barrette de maintien de la batterie | 1 |
| Patte de fixation de batterie | 1 |
| Boulon de batterie | 2 |
| Entretoise de boulon de batterie | 2 |
| Rondelle | 2 |
| Écrou à embase | 2 |
Vérifiez que le tube d'attelage est propre et exempt de saleté ou débris.
Déballez le moteur.
Desserrez, mais n'enlevez pas, les 2 boulons et écrous qui fixent les supports du moteur à la plaque de montage du moteur (Figure 3).

Retirez les 2 écrous qui fixent en place les barrettes de maintien de la batterie et mettez les écrous, les rondelles et le tube de boulon de côté (Figure 4).

Déposez la batterie et appuyez le filtre à huile de transmission sur la plaque de base.
Chargez la batterie ; voir Charge de la batterie.
Demandez à une autre personne de vous aider à placer le moteur sur le tube d'attelage.
Vérifiez que les supports du moteur passent sur le tube d'attelage (Figure 5) et que l'arrière de la plaque de montage se trouve à environ 25 mm du récepteur du tube d'attelage (Figure 6).


Insérez les 2 boulons (½" x 5") dans les trous des supports du moteur en veillant à placer une rondelle plate contre chaque face extérieure du support et à faire passer les boulons bien en dessous du bas du tube d'attelage. Serrez les 2 écrous (½") à la main, comme montré à la Figure 7.

Ajustez le support du moteur de sorte qu'il soit bien serré contre le tube d'attelage. Serrez complètement les 2 boulons que vous avez desserrés à l'opération 3.
Vérifiez que les plaques de montage sont de niveau et serrez complètement les 2 boulons (½" x 5") insérés dans les trous inférieurs des supports du moteur.
Placez la batterie sur son support, en positionnant les bornes comme montré à la Figure 8.
Placez la barrette de maintien sur la batterie (Figure 8).
Maintenez la patte de fixation de la batterie autour du dessous du tube d'attelage (Figure 8).
Du côté droit, insérez un boulon dans la rondelle, la patte de fixation de la batterie, la plaque de montage du moteur, le support de la batterie, l'entretoise du boulon et la barrette de maintien de la batterie. Placez et serrez légèrement un écrou à embase (Figure 8).
Note: Veillez à insérer les boulons par le bas.
Du côté gauche, insérez un boulon dans la rondelle, la patte de fixation de la batterie, la plaque de montage du moteur, le support de la batterie, l'entretoise du boulon et la barrette de maintien. Placez et serrez légèrement un écrou à embase (Figure 8).
Vérifiez que tout est concentrique et serrez les écrous.

Pièces nécessaires pour cette opération:
| Guide-flexible | 1 |
| Flexible hydraulique de retour (flexible nº 3) | 1 |
| Flexible hydraulique d'aspiration (flexible nº 4) | 1 |
| Boulon (¼" x ¾") | 4 |
| Contre-écrou (¼") | 4 |
| Boulon (⅜" x 1") | 4 |
| Contre-écrou (⅜") | 4 |
| Rondelle plate | 4 |
Déballez le guide-flexible, le flexible de retour hydraulique (flexible nº 3), le flexible d'aspiration hydraulique (flexible nº 4), 4 boulons (¼" x ¾") et 4 contre-écrous (¼").
Note: Retirez le flexible fixé pour l'expédition au guide-flexible, au flexible de retour et au flexible d'aspiration hydraulique.
À l'aide de 2 boulons (¼" x ¾") et contre-écrous à embase, fixez le guide-flexible au support sur le réservoir hydraulique (Figure 9).

Note: Retirez les 2 boulons de la paroi arrière du châssis. Montez le réservoir avec les boulons que vous avez retirés.
Déballez 4 boulons (⅜" x 1") et contre-écrous en nylon. Soutenez le réservoir hydraulique par dessous et faites passer le guide-flexible et les flexibles hydrauliques nº 3 et nº 4 par le grand trou au centre de la paroi arrière du châssis, puis placez le réservoir hydraulique contre la paroi arrière du châssis. Fixez le réservoir hydraulique temporairement en place avec un serre-joint ou un boulon.
Note: Le guide-flexible doit passer par le trou central à l'avant du châssis. Deux personnes peuvent être nécessaires pour effectuer cette opération.
Branchez les flexibles hydrauliques de retour (n° 3) et d'aspiration (n° 4) aux raccords correspondants du réservoir hydraulique.
Note: Les flexibles nº 3 et 4 n'utilisent pas les mêmes raccords, aussi chaque flexible ne peut se brancher qu'au raccord correspondant sur le réservoir hydraulique.
Note: Lors du montage des flexibles, vérifiez qu'ils sont suffisamment éloignés des roues.
Le guide-flexible doit reposer sur la patte partant du montant vertical du support de la batterie (Figure 10). Si les trous dans le guide-flexible ne correspondent pas aux trous dans la patte du support de batterie, vous pouvez ajuster la longueur du guide en desserrant les boulons qui le fixent au support du réservoir hydraulique et en le faisant coulisser en avant ou en arrière selon le cas.

Fixez le guide-flexible à la patte du support de batterie avec 2 boulons (¼" x ¾") et contre-écrous à embase (Figure 10).
Montez le réservoir hydraulique sur la paroi arrière du châssis au moyen des boulons retirés précédemment, ainsi que des boulons (⅜" x 1"), des contre-écrous en nylon et des rondelles plates du kit. Serrez les fixations.
Raccordez le flexible hydraulique nº 3 à la sortie du filtre (Figure 11).

Raccordez le flexible hydraulique nº 4 au côté aspiration de la pompe hydraulique (Figure 12).

Sur la version SH (modèle 44701), retirez les fixations qui maintiennent le couvercle sur l'avant de la machine, et écartez le couvercle (Figure 13).

Identifiez les raccords de retour et de pression sur le modèle de base de la machine. Reportez-vous à la Figure 14 pour les versions SH et à la Figure 15 pour les versions EH.


Si des flexibles de pression et de retour sont installé aux emplacements indiqués à la Figure 14 et la Figure 15, enlevez-les.
Note: Ne mettez pas les flexibles en contact avec des pièces chaudes, coupantes ou mobiles. Essayez de les éloigner autant que possible du silencieux.
Branchez les flexibles hydrauliques au panneau de commande hydraulique. Reportez-vous à la Figure 14 et la Figure 16 pour les versions SH et à la Figure 15 et la Figure 17 pour les versions EH.


Serrez tous les raccords hydrauliques et toutes les fixations.
Reposez le Twin Spinner.
Connectez le câble noir et le câble noir pré-acheminé à la borne négative de la batterie, puis le câble blanc et le câble rouge pré-acheminé à la borne positive de la batterie.
Branchez le faisceau de câblage intermédiaire au connecteur de faisceau de la machine (Figure 18 ou Figure 19).


Versez environ 1 l d'huile moteur de viscosité correcte dans le carter avant de démarrer le moteur ; voir Contrôle du niveau, vidange de l'huile moteur et remplacement du filtre à huile.
Important: Le moteur ne contient pas d'huile à l'arrivée de l'usine ; n'essayez pas de démarrer le moteur avant d'avoir fait le plein d'huile, au risque de l'endommager.
Contrôlez le niveau d'huile avant le tout premier démarrage du moteur ; voir Contrôle du niveau, vidange de l'huile moteur et remplacement du filtre à huile.
Remplissez le réservoir du liquide hydraulique correct ; voir Entretien du système hydraulique.
Important: Le système hydraulique ne sera complètement rempli de liquide qu'après sa mise en marche. Contrôlez le niveau de liquide hydraulique et faites l'appoint si nécessaire pour que le niveau soit correct après la première utilisation du système hydraulique.
Coupez tous les systèmes de commande avant toute intervention sur le groupe hydraulique.
Important: Le moteur est expédié sans huile. Reportez-vous au manuel du propriétaire du moteur pour tout renseignement complémentaire.
À l'arrivée de l'usine, le moteur ne contient pas d'huile et doit donc être rempli d'environ 1 l d'huile avant le démarrage.
Contrôlez le niveau du liquide avant de mettre le moteur en marche pour la première fois, puis chaque jour.
Le moteur utilise une huile détergente de haute qualité de classe de service API (American Petroleum Institute) SJ, SL ou équivalent. La viscosité de l'huile doit être choisie en fonction de la température ambiante. La Figure 20 représente les viscosités préconisées en fonction des températures.

Positionnez la machine de sorte que le moteur soit de niveau.
Nettoyez la surface autour du bouchon de remplissage/jauge d'huile
Retirez le bouchon de remplissage-jauge d'huile en le tournant dans le sens antihoraire.
Essuyez la jauge sur un chiffon propre et remettez-la dans l'orifice de remplissage. Ne la vissez pas dans l'orifice.
Ressortez la jauge et contrôlez le niveau d'huile.
Si le niveau d'huile est près ou en dessous du repère inférieur sur la jauge, ajoutez une quantité suffisante d'huile pour faire monter le niveau jusqu'au repère supérieur.
Important: Ne remplissez pas le carter moteur excessivement.
Contrôlez à nouveau le niveau d'huile moteur.
Remettez en place le bouchon de remplissage-jauge d'huile et essuyez l'huile éventuellement répandue.
Important: Vérifiez que le niveau d'huile moteur est correct. Si ce n'est pas le cas, le démarreur fonctionnera mais le moteur ne pourra pas démarrer.
La machine ne contient pas de liquide hydraulique à l'arrivée de l'usine ; vous devez donc la remplir de 33 l de liquide hydraulique de haute qualité. Contrôlez néanmoins le niveau de liquide hydraulique avant de mettre la machine en marche pour la première fois, puis tous les jours. Les liquides hydrauliques suivants sont recommandé :
| Liquide « Toro Premium Transmission/Hydraulic Tractor Fluid » (liquide hydraulique/de transmission de haute qualité pour tracteur) (en bidons de 19 litres ou barils de 208 litres). Voir le catalogue de pièces ou un distributeur Toro pour les numéros de référence.) |
Autres liquides possibles : si vous ne disposez pas du liquide Toro, vous pouvez utiliser d'autres liquides hydrauliques universels pour tracteur (UTHF) à base de pétrole à condition qu'ils soient conformes aux caractéristiques physiques et aux spécifications de l'industrie suivantes. L'utilisation de liquides synthétiques est déconseillée. Consultez votre distributeur de lubrifiants pour identifier un produit qui convient.
Important: Le système hydraulique ne sera complètement rempli de liquide qu'après sa mise en marche. Contrôlez le niveau de liquide hydraulique et faites l'appoint si nécessaire pour que le niveau soit correct après la première utilisation du système hydraulique.
Note: Toro décline toute responsabilité en cas de dommage causé par l'utilisation d'huiles de remplacement inadéquates. Utilisez uniquement des produits provenant de fabricants réputés qui répondent de leur recommandation.
| Propriétés physiques : | |||
| Viscosité, ASTM D445 | 55 à 62 cSt à 40 °C9,1 à 9,8 cSt à 100 °C | ||
| Indice de viscosité, ASTM D2270 | 140 à 152 | ||
| Point d'écoulement, ASTM D97 | -37 à -43 °C | ||
| Spécifications de l'industrie : | |||
| API GL-4, AGCO Powerfluid 821 XL, Ford New Holland FNHA-2-C-201.00, Kubota UDT, John Deere J20C, Vickers 35VQ25 et Volvo WB-101/BM | |||
Note: De nombreux liquides hydrauliques sont presque incolores, ce qui rend difficile la détection des fuites. Un additif colorant rouge pour liquide hydraulique est disponible en bouteilles de 20 ml. Une bouteille suffit pour 15 à 22 litres de liquide hydraulique. Vous pouvez commander ces bouteilles chez les concessionnaires Toro agréés (réf. 44-2500).
Faites preuve de la plus grande prudence quand vous manipulez du carburant, en raison de son inflammabilité et du risque d'explosion des vapeurs qu'il dégage.
Éteignez cigarettes, cigares, pipes et autres sources d'étincelles.
Utilisez exclusivement un bidon à carburant homologué.
N'enlevez pas le bouchon du réservoir de carburant et n'ajoutez pas de carburant pendant que le moteur tourne ou est encore chaud.
N'ajoutez pas de carburant et ne vidangez pas le réservoir dans un local fermé.
Ne rangez pas la machine ni les bidons de carburant à proximité d'une flamme nue, d'une source d'étincelles ou d'une veilleuse, telle celle d'un chauffe-eau ou autre appareil.
Si vous renversez du carburant, ne mettez pas le moteur en marche. Évitez toute source possible d'inflammation jusqu'à dissipation complète des vapeurs de carburant.
Capacité du réservoir de carburant : 6,1 l
Carburant recommandé :
Pour assurer le fonctionnement optimal de la machine, utilisez uniquement de l'essence sans plomb propre et fraîche (stockée depuis moins d'un mois) ayant un indice d'octane de 87 ou plus (méthode de calcul [R+M]/2).
Éthanol : De l'essence contenant jusqu'à 10 % d'éthanol (essence-alcool) ou 15 % de MTBE (éther méthyltertiobutylique) par volume peut être utilisée. L'éthanol et le MTBE sont deux produits différents. L'utilisation d'essence contenant 15 % d'éthanol (E15) par volume n'est pas agréée. N'utilisez jamais d'essence contenant plus de 10 % d'éthanol par volume, comme E15 (qui contient 15 % d'éthanol), E20 (qui contient 20 % d'éthanol) ou E85 (qui contient jusqu'à 85 % d'éthanol). L'utilisation d'essence non agréée peut entraîner des problèmes de performances et/ou des dommages au moteur qui peuvent ne pas être couverts par la garantie.
N'utilisez pas d'essence contenant du méthanol.
Ne stockez pas le carburant dans le réservoir ou dans des bidons de carburant pendant l'hiver, à moins d'utiliser un stabilisateur de carburant.
N'ajoutez pas d'huile à l'essence.
La batterie en charge produit des gaz qui peuvent exploser.
Ne fumez jamais et gardez la batterie éloignée des flammes et sources d'étincelles.
Les bornes de la batterie ou les outils en métal peuvent causer des courts-circuits au contact des pièces métalliques du groupe de déplacement ou de la machine et produire des étincelles. Les étincelles peuvent provoquer l'explosion des gaz de la batterie et vous blesser.
Lors du retrait ou de la mise en place de la batterie, les bornes ne doivent toucher aucune partie métallique de la machine.
Évitez de créer des courts-circuits entre les bornes de la batterie et les pièces métalliques avec des outils en métal.
S'ils sont mal acheminés, les câbles de la batterie peuvent subir des dommages ou endommager la machine et produire des étincelles. Les étincelles peuvent provoquer l'explosion des gaz de la batterie et vous blesser.
Débranchez toujours le câble négatif (noir) de la batterie avant le câble positif (rouge).
Connectez toujours le câble positif (rouge) de la batterie avant le câble négatif (noir).
Enlevez la batterie de son support :
Enlevez les barrettes de maintien de la batterie.
Retirez le boulon de carrosserie et l'écrou qui fixent le câble de batterie négatif (noir) de la batterie à la borne négative (–) et débranchez le câble négatif.
Retirez le boulon de carrosserie et l'écrou qui fixent le câble de batterie positif (rouge) à la borne positive (+) et débranchez le câble positif.
Nettoyez le dessus de la batterie.
Raccordez un chargeur de 3 à 4 A aux bornes de la batterie. Chargez la batterie au régime de 3 à 4 ampères durant 4 à 8 heures.
Une fois la batterie chargée, débranchez le chargeur du secteur et des bornes de la batterie.
Placez la batterie sur son support.
Connectez le câble positif de la batterie (rouge) à la borne positive (+) de la batterie à l'aide du boulon de carrosserie et de l'écrou retirés précédemment, puis placez le capuchon en caoutchouc sur la borne positive pour éviter un éventuel court-circuit.
Connectez le câble négatif (noir) de la batterie à la borne négative (–) avec le boulon de carrosserie et l'écrou retirés précédemment.
Enduisez les cosses des câbles et les bornes de la batterie de graisse Grafo 112X (Skin-Over) (réf. Toro 505-47).
Reposez les barrettes de maintien qui fixent la batterie sur son support.
Les câbles de la batterie doivent être bien serrés sur les bornes pour assurer un bon contact électrique.
S'ils sont mal acheminés, les câbles de la batterie peuvent subir des dommages ou endommager la machine et produire des étincelles. Les étincelles peuvent provoquer l'explosion des gaz de la batterie et vous blesser.
Débranchez toujours le câble négatif (noir) de la batterie avant le câble positif (rouge).
Connectez toujours le câble positif (rouge) de la batterie avant le câble négatif (noir).
Si les bornes sont corrodées, débranchez les câbles, en commençant par le câble négatif (–), et grattez les colliers et les bornes séparément. Rebranchez les câbles, en commençant par le câble positif (+), et enduisez les bornes de vaseline.
Les bornes de la batterie ou les outils en métal peuvent causer des courts-circuits au contact des pièces métalliques du tracteur et produire des étincelles. Les étincelles peuvent provoquer l'explosion des gaz de la batterie et vous blesser.
Lors du retrait ou de la mise en place de la batterie, les bornes ne doivent toucher aucune partie métallique de la machine.
Évitez de créer des courts-circuits entre les bornes de la batterie et les pièces métalliques de la machine avec des outils en métal.
Vérifiez que les cosses des câbles de la batterie sont bien fixées et resserrez les fixations des cosses qui sont desserrées.
Vérifiez que les cosses des câbles et les bornes de la batterie ne présentent aucun signe de corrosion ; si les bornes sont corrodées, procédez comme suit :
Retirez le boulon de carrosserie et l'écrou qui fixent le câble de batterie négatif (noir) de la batterie à la borne négative (–) et débranchez le câble négatif.
Retirez le boulon de carrosserie et l'écrou qui fixent le câble de batterie positif (rouge) à la borne positive (+) et débranchez le câble positif.
Nettoyez les cosses des câbles et les bornes de la batterie
Connectez le câble positif de la batterie (rouge) à la borne positive (+) de la batterie à l'aide du boulon de carrosserie et de l'écrou retirés précédemment, puis placez le capuchon en caoutchouc sur la borne positive pour éviter un éventuel court-circuit.
Connectez le câble négatif (noir) de la batterie à la borne négative (–) de la batterie à l'aide du boulon de carrosserie et de l'écrou retirés précédemment.
Enduisez les cosses des câbles et les bornes de la batterie de graisse Grafo 112X (Skin-Over) (réf. Toro 505-47).
Accouplez la chape d'attelage au véhicule tracteur. Utilisez une goupille d'attelage haute résistance approuvée pour les véhicules tracteurs.
Ouvrez le robinet d'arrivée de carburant, placez la commande d'accélérateur à mi-course, actionnez le starter et mettez le moteur en marche. Lorsque le moteur a démarré, coupez le starter et faites monter le régime moteur au maximum.
Faites un essai de fonctionnement de la machine. Assurez-vous qu'il n'y a pas de fuites hydrauliques et procédez à tout autre réglage nécessaire.
Après avoir testé le système hydraulique, vérifiez le niveau de liquide hydraulique et faites l'appoint au besoin.
Note: Assurez-vous que le boîtier de commande et aucun câble ne traîne sur le sol pendant le fonctionnement de la machine.