Данное изделие соответствует требованиям всех соответствующих директив, действующих в Европе. Дополнительные сведения см. в «Декларации о соответствии компонентов (DOI)» в конце данной публикации.
КАЛИФОРНИЯ
Положение 65, Предупреждение
Согласно законам штата Калифорния считается, что выхлопные газы этого изделия содержат химические вещества, которые вызывают рак, врождённые пороки, и представляют опасность для репродуктивной функции.
Полюсные выводы аккумуляторной батареи, клеммы, и сопутствующие принадлежности содержат свинец и соединения свинца - химические вещества, которые в штате Калифорния расцениваются как вызывающие рак и нарушающие репродуктивную функцию. После работы с этими элементами необходимо мыть руки.
![]() |
Предупреждающие наклейки и инструкции по технике безопасности должны быть хорошо видны оператору и установлены во всех местах потенциальной опасности. При отсутствии или повреждении наклейки следует установить новую наклейку. |





Important: Данный комплект можно использовать только с подкормщиком ProPass, оборудованным как буксируемая машина.
Детали, требуемые для этой процедуры:
| Гидравлический бак в сборе | 1 |
| Монтажный кронштейн направляющей шланга | 1 |
Перед установкой этого комплекта отсоедините все внешние источники гидравлической и электрической энергии. Несоблюдение этого требования может привести к поражению электрическим током и(или) выбросу гидравлической жидкости под высоким давлением, что может стать причиной серьезных травм или гибели.
Перед установкой гидроагрегата отсоедините все внешние гидравлические и электрические источники питания.
Припаркуйте машину на ровной горизонтальной поверхности, опустите подъемную опору, отсоедините машину от тягового блока и заблокируйте колеса колодками спереди и сзади.
Следуя инструкциям, приведенным в Руководстве оператора для вашей машины, снимите двухдисковый центробежный разбрасыватель и закрепите шланги питания и возврата гидравлической системы.
Important: У некоторых моделей ProPass имеется задняя стенка шасси с предварительно просверленными отверстиями. Если на вашей машине есть задняя стенка шасси с предварительно просверленными отверстиями, перейдите к разделу Установка двигателя.
Отверните и сохраните 2 монтажных болта с задней стенки шасси, чтобы можно было установить гидравлический бак.
Убедитесь, что задняя стенка шасси открыта для установки гидравлического бака.
Снимите гидравлический бак в сборе с обрешетки.
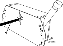
Поддерживая гидравлический бак снизу, расположите его таким образом, чтобы он был прижат к задней стенке шасси. Бак должен быть расположен вертикально и по центру относительно левой и правой стороны (Рисунок 1).

Убедитесь, что при установке входного и выходного штуцеров, а также монтажного кронштейна направляющей шланга соответствующие детали могут свободно входить в круглые отверстия задней стенки шасси (Рисунок 2).

Убедитесь, что гидравлический бак расположен горизонтально.
Используя С-образные зажимы или аналогичные устройства, временно прочно зафиксируйте гидравлический бак на задней стенке шасси.
Убедитесь, что гидравлический бак по-прежнему расположен горизонтально.
Отметьте положения монтажных отверстий гидравлического бака на задней стенке шасси.
Удалите зажимы и снимите гидравлический бак.
Накерните места отмеченных отверстий.
Просверлите сквозные отверстия диаметром 7/16 дюйма в каждом отмеченном и накерненном месте на задней стенке шасси.
Удалите заусенцы от всех отверстий.
Детали, требуемые для этой процедуры:
| Двигатель в сборе | 1 |
| Болт (½ x 5 дюймов) | 2 |
| Аккумулятор | 1 |
| Прижим аккумулятора | 1 |
| Монтажная скоба аккумулятора | 1 |
| Болт аккумулятора | 2 |
| Проставка болта аккумулятора | 2 |
| Шайба | 2 |
| Фланцевая гайка | 2 |
Убедитесь, что труба сцепного устройства чистая и не содержит загрязнений и мусора.
Распакуйте двигатель в сборе.
Ослабьте затяжку двух болтов и гаек (не выворачивая их полностью), с помощью которых монтажные кронштейны двигателя крепятся к его опоре (Рисунок 3).

Отверните 2 гайки крепления прижимных скоб аккумулятора и отложите гайки, шайбы и трубку болта в сторону (Рисунок 4).

Снимите аккумулятор и положите фильтр на опорную плиту.
Зарядите аккумуляторную батарею; обратитесь к Заполнение электролитом и зарядка аккумулятора.
Вместе с помощником расположите двигатель в сборе на трубе сцепного устройства.
Убедитесь, что монтажные кронштейны двигателя стали по обеим сторонам трубы сцепного устройства (Рисунок 5) и задняя часть опоры двигателя находится приблизительно на расстоянии 25 мм от приемной части трубы сцепного устройства (Рисунок 6).


Вставьте 2 болта (½ x 5 дюймов) в отверстия монтажного кронштейна двигателя, проследив, чтобы плоская шайба была прижата к каждой наружной лицевой поверхности монтажного кронштейна двигателя и чтобы болты прошли под нижней частью трубы сцепного устройства. От руки затяните 2 гайки (½ дюйма), как показано на Рисунок 7.

Отрегулируйте монтажный кронштейн двигателя таким образом, чтобы он плотно прилегал к сцепному устройству. Полностью затяните 2 болта, ослабленных при выполнении пункта 3.
Убедитесь, что опора двигателя расположена горизонтально, и полностью затяните 2 болта (½ x 5 дюймов), вставленные через нижние отверстия монтажного кронштейна двигателя.
Установите аккумулятор в его поддон, расположив клеммы, как показано на Рисунок 8.
Установите прижимные детали на аккумулятор (Рисунок 8).
Удерживайте монтажную скобу аккумулятора таким образом, чтобы она охватывала нижнюю часть трубы сцепного устройства (Рисунок 8).
С правой стороны вставьте болт аккумулятора, продев его через шайбу, монтажную скобу аккумулятора, опору двигателя, поддон аккумулятора, проставку болта и прижим аккумулятора. Установите, не затягивая, фланцевую гайку (Рисунок 8).
Note: Болты должны быть вставлены снизу вверх.
С левой стороны вставьте болт аккумулятора, продев его через шайбу, монтажную скобу аккумулятора, опору двигателя, поддон аккумулятора, проставку болта и прижим аккумулятора. Установите, не затягивая, фланцевую гайку (Рисунок 8).
Убедитесь, что все детали установлены соосно, и затяните гайки.

Детали, требуемые для этой процедуры:
| Направляющая шланга | 1 |
| Гидравлический возвратный шланг (шланг № 3) | 1 |
| Гидравлический всасывающий шланг (шланг № 4) | 1 |
| Болт (¼ x ¾ дюйма) | 4 |
| Контргайка (¼ дюйма) | 4 |
| Болт (⅜ x 1 дюйм) | 4 |
| Контргайка (⅜ дюйма) | 4 |
| Плоская шайба | 4 |
Распакуйте направляющую шланга, гидравлический возвратный шланг (шланг №3), гидравлический всасывающий шланг (шланг №4), 4 болта (¼ x ¾ дюйма) и 4 контргайки (¼ дюйма).
Note: Снимите шланг, подсоединенный с целью транспортировки к направляющей шланга, гидравлическому возвратному шлангу и гидравлическому всасывающему шлангу.
С помощью 2 болтов (¼ x ¾ дюйма) и фланцевых контргаек прикрепите направляющую шланга к кронштейну на гидравлическом баке (Рисунок 9).

Note: Отверните 2 крепежных болта с задней стенки шасси. Используйте снятые болты для установки бака.
Распакуйте 4 болта (⅜ x 1 дюйм) и нейлоновые контргайки. Поддерживая гидравлический бак снизу, проведите направляющую шланга и гидравлические шланги №3 и №4 сквозь большое центральное отверстие в задней стенке шасси и прижмите гидравлический бак к задней стенке ходовой части. Временно закрепите гидравлический бак на своем месте хомутом или болтами.
Note: Направляющую шланга следует проложить сквозь центральное отверстие на передней стороне шасси. Для этого могут потребоваться два человека.
Подсоедините гидравлический возвратный шланг (№3) и гидравлический всасывающий шланг (№4) к соответствующим штуцерам гидравлического бака.
Note: У шлангов № 3 и № 4 разные штуцеры, поэтому каждый из них подходит только к своему штуцеру гидравлического бака.
Note: При установите шлангов убедитесь, что между ними и шинами имеется достаточный зазор.
Направляющая шланга должна находиться на верхней части выступа вертикального плеча поддона аккумулятора (Рисунок 10). Если отверстия в направляющей шланга не совпадают с отверстиями в выступе поддона аккумулятора, длину направляющей шланга можно отрегулировать, ослабив болты ее крепления к кронштейну гидравлического бака и сдвинув направляющую вперед или назад по мере необходимости.

Прикрепите направляющую шланга к выступу поддона аккумулятора, используя 2 болта (¼ x ¾ дюйма) и фланцевые контргайки (Рисунок 10).
Установите гидравлический бак на заднюю стенку шасси, используя ранее снятые крепежные болты, а также болты (⅜ x 1 дюйм), нейлоновые контргайки и плоские шайбы из комплекта. Затяните эти крепежные детали.
Подсоедините гидравлический шланг №3 к выпускному штуцеру фильтра (Рисунок 11).

Подсоедините гидравлический шланг №4 к стороне всасывания гидравлического насоса (Рисунок 12).

В варианте исполнения SH (модель 44701) снимите детали крепления крышки к передней части машины и отложите крышку в сторону (Рисунок 13).

Определите местонахождение соединений напорной и возвратной линий на базовой модели машины. См. Рисунок 14 для варианта исполнения SH и Рисунок 15 для варианта исполнения EH.


Если нагнетающий и возвратный шланги были ранее установлены в местах, показанных на Рисунок 14 и Рисунок 15, снимите их.
Note: Убедитесь, что шланги не касаются каких-либо горячих, острых или движущихся частей. Постарайтесь обеспечить как можно большее расстояние от глушителя.
Подсоедините гидравлические шланги к панели управления гидравликой. См. Рисунок 14 и Рисунок 16 для вариантов исполнения SH и Рисунок 15 и Рисунок 17 для вариантов исполнения EH.


Затяните все гидравлические соединения и крепежные детали.
Установите на место узел двухдискового центробежного разбрасывателя.
Подсоедините черный кабель и предварительно проложенный черный кабель к отрицательной клемме аккумулятора, а белый кабель и красный предварительно проложенный кабель к положительной клемме аккумулятора.
Подключите промежуточный жгут проводов к разъему для подключения жгута проводов питания машины (Рисунок 18 или Рисунок 19).


Перед запуском залейте в картер двигателя приблизительно 1 л масла надлежащей вязкости; см. раздел Обслуживание моторного масла.
Important: Двигатель поставляется с завода без масла. Попытка запустить двигатель, не заправив предварительно маслом, приведет к повреждению двигателя.
Перед первым запуском двигателя проверьте уровень масла; см. раздел Обслуживание моторного масла.
Залейте гидравлическую жидкость рекомендуемого типа в гидравлический бак; см. Техническое обслуживание гидравлической системы.
Important: Гидравлическая система не будет полностью заполнена жидкостью до включения. После первого использования гидравлической системы проверьте уровень гидравлической жидкости и при необходимости долейте жидкость, чтобы она была на требуемом уровне.
Прежде чем выполнять какие-либо работы с гидроагрегатом, убедитесь, что все системы управления выключены.
Important: Двигатель поставляется без масла. См. дополнительную информацию в руководстве для владельца двигателя.
Двигатель поставляется с завода без масла, поэтому перед запуском в него необходимо залить приблизительно 1 л масла.
Перед первым запуском двигателя и затем ежедневно проверяйте уровень масла в двигателе.
В двигателе используется любое высококачественное масло, имеющее эксплуатационную классификацию Американского института нефти (American Petroleum Institute, API) SJ, SL или эквивалентную. Вязкость масла необходимо выбирать в зависимости от температуры окружающей среды. На Рисунок 20 приведены рекомендации по температуре/вязкости.

Установите машину таким образом, чтобы двигатель был расположен горизонтально.
Очистите поверхность вокруг крышки маслозаливной горловины/щупа.
Снимите крышку маслозаливной горловины/щуп, повернув ее против часовой стрелки.
Начисто вытрите щуп и вставьте его в заливное отверстие. Не вворачивайте щуп в отверстие.
Выньте щуп и проверьте уровень масла.
Если уровень масла находится на нижней отметке на щупе или ниже, долейте масло до верхней отметки.
Important: Не переполняйте картер.
Проверьте уровень моторного масла еще раз.
Установите крышку маслозаливной горловины и щуп и удалите все пролитое масло.
Important: Убедитесь, что моторное масло залито до требуемого уровня. При ненадлежащем уровне масла двигатель будет прокручиваться стартером, но не запустится.
Машина поставляется с завода без гидравлической жидкости, поэтому в бак ее гидросистемы необходимо залить примерно 32,9 л высококачественной гидравлической жидкости. Перед первым запуском двигателя и каждый день в последующем проверяйте уровень гидравлической жидкости. Рекомендуемые гидравлические жидкости:
| Трансмиссионная (гидравлическая) жидкость Toro Premium для тракторов (поставляется в 5-галлонных ведрах или 55-галлонных бочках). Номера гидравлической жидкости см. в каталоге запчастей или узнавайте у дистрибьютора компании Toro. |
Альтернативные жидкости: если жидкость производства компании Toro недоступна, можно использовать другие универсальные тракторные гидравлические жидкости на нефтяной основе при условии, что их характеристики находятся в указанном диапазоне для всех нижеследующих свойств материала и удовлетворяют отраслевым стандартам. Не рекомендуется использовать синтетическую жидкость. Для определения подходящего продукта проконсультируйтесь у местного дистрибьютора смазочных материалов.
Important: Гидравлическая система не будет полностью заполнена жидкостью до включения. После первого использования гидравлической системы проверьте уровень гидравлической жидкости и при необходимости долейте жидкость, чтобы она была на требуемом уровне.
Note: Компания Toro не несет ответственность за повреждения, вызванные применением неподходящей рабочей жидкости, поэтому используйте только продукты признанных изготовителей, рекомендациям которых можно доверять.
| Свойства материалов: | |||
| Вязкость, ASTM D445 | сСт при 40 °C 55–62 сСт при 100 °C 9,1–9,8 | ||
| Индекс вязкости по ASTM D2270 | 140–152 | ||
| Температура текучести, ASTM D97 | От -35°F до -46°F | ||
| Отраслевые ТУ: | |||
| API GL-4, AGCO Powerfluid 821 XL, Ford New Holland FNHA-2-C-201.00, Kubota UDT, John Deere J20C, Vickers 35VQ25 и Volvo WB-101/BM | |||
Note: Многие гидравлические жидкости почти бесцветны, что затрудняет обнаружение точечных утечек. Красный краситель для добавки в гидравлические системы поставляется в флаконах емкостью 2/3 унции (20 мл). Одного флакона достаточно для 15–22 л гидравлического масла. № по каталогу 44-2500 для заказа у местного официального дистрибьютора компании Toro.
Будьте предельно осторожны при обращении с топливом. Топливо легко воспламеняется, а его пары взрывоопасны.
Потушите все сигареты, сигары, трубки и другие источники возгорания.
Используйте только разрешенную к применению емкость для топлива.
Запрещается снимать крышку топливного бака и доливать топливо в бак во время работы двигателя или когда двигатель нагрет.
Запрещается доливать или сливать топливо в закрытом пространстве.
Запрещается хранить машину или емкость с топливом в местах, где есть открытое пламя, искры или малая горелка, используемая, например, в водонагревателе или другом оборудовании.
В случае разлива топлива не пытайтесь запустить двигатель; пока пары топлива не рассеются, следите, чтобы не возникло возгорания.
Емкость топливного бака: 6,1 л.
Рекомендуемое топливо:
Для получения наилучших результатов используйте только чистый, свежий (полученный в течение последних 30 дней), неэтилированный бензин с октановым числом не ниже 87 (метод оценки (R+M)/2).
Этиловый спирт: приемлемым считается бензин, содержащий по объему до 10% этилового спирта или 15% MTBE (метил-трет-бутилового эфира). Этиловый спирт и MTBE — это разные вещества. Запрещается использовать бензин с содержанием этилового спирта 15% (E15) по объему. Запрещается использовать бензин, содержащий более 10% этилового спирта по объему, такой как E15 (содержит 15% этилового спирта), E20 (содержит 20% этилового спирта) или E85 (содержит до 85% этилового спирта). Использование запрещенного к применению бензина может привести к нарушениям эксплуатационных характеристик и (или) повреждениям двигателя, которые не будут покрываться гарантией.
Запрещается использовать бензин, содержащий метанол.
Запрещается хранить топливо без стабилизирующей присадки в топливных баках или контейнерах на протяжении всего зимнего периода.
Не добавляйте масло в бензин.
Для первоначального заполнения аккумуляторной батареи используйте только электролит (удельный вес 1,265).
Очистите поверхность аккумулятора и снимите вентиляционные пробки (Рисунок 21).
Important: Не допускается добавлять электролит в аккумулятор, установленный на машине. Пролитый электролит может вызвать коррозию.

Осторожно заливайте электролит в каждую ячейку до уровня над пластинами примерно 6 мм (Рисунок 22).

Подождите примерно 20-30 минут, пока электролит не впитается в пластины. При необходимости доливайте электролит до уровня примерно на 6 мм ниже нижнего уровня заливочного отверстия (Рисунок 22).
При зарядке аккумулятора выделяются взрывоопасные газы.
Запрещается курить рядом с аккумулятором. Не допускайте появления искр или пламени вблизи аккумулятора.
Подсоедините к штырям аккумулятора зарядное устройство с током от 3 до 4 А. Заряжайте аккумулятор током от 3 до 4 А до удельной плотности электролита не менее 1,250 при температуре не ниже 16 С, при этом газ должен свободно выходить из всех элементов.
Когда аккумулятор зарядится, отсоедините зарядное устройство от электророзетки и штырей аккумулятора.
Note: После активации аккумуляторной батареи добавляйте в нее только дистиллированную воду для замещения естественной убыли, хотя необслуживаемые аккумуляторные батареи при нормальных условиях работы добавления воды не требуют.
Клеммы аккумулятора или металлические инструменты могут закоротить на металлические компоненты тягового блока, вызвав искрение. Искры могут вызвать взрыв аккумуляторных газов, что приведет к получению травмы.
При демонтаже или установке аккумулятора не допускайте контакта его клемм с металлическими частями тягового блока.
Не допускайте короткого замыкания клемм аккумулятора металлическими инструментами на металлические части тягового блока.
Подсоедините вилку сцепного устройства к буксирному автомобилю. Используйте высокопрочный палец сцепного устройства, рекомендуемый для буксирующих автомобилей.
Откройте топливный клапан, переведите рычаг дроссельной заслонки в полуоткрытое положение, приведите в действие воздушную заслонку и запустите двигатель. После запуска двигателя выключите воздушную заслонку и установите дроссельную заслонку в положение, соответствующее максимальной частоте вращения.
Проверьте работу машины. Убедитесь в отсутствии утечек гидравлической жидкости и выполните все необходимые дополнительные регулировки.
После проверки гидравлической системы проверьте уровень гидравлической жидкости и при необходимости долейте ее.
Note: Убедитесь, что подвесной пульт и шнуры не волочатся по земле во время работы.