この製品は、関連する全ての欧州指令に適合しています。詳細は、この冊子の巻末にあるDOI(適合宣誓書)をご覧ください。
カリフォルニア州
第65号決議による警告
カリフォルニア州では、この製品に使用されているエンジンの排気には発癌性や先天性異常などの原因となる物質が含まれているとされております。
バッテリーやバッテリー関連製品には鉛が含まれており、カリフォルニア州では発ガン性や先天性異常を引き起こす物質とされています。取り扱い後は手をよく洗ってください。
![]() |
以下のラベルや指示は危険な個所の見やすい部分に貼付してあります。破損したりはがれたりした場合は新しいラベルを貼り直してください。 |





Important: このキットは牽引車両によって牽引されるプロパス専用です。
この作業に必要なパーツ
| 油圧オイルタンクアセンブリ | 1 |
| ホースガイド取り付けブラケット | 1 |
外部の油圧系および電気系の接続を外さずにこのキットを取り付けると、感電や高圧の油圧オイルの噴出などによる重大な人身事故を招く恐れがある。
このキットを取り付ける前に、外部の油圧系および電気系の接続をすべて外すこと。
平らな床の上に機体を止め、ジャッキスタンドを立て、トラクションユニットから機体を切り離し、車輪の前後に輪止めを掛ける。
機体用のオペレーターズマニュアルの説明に従ってツインスピナーを外し、油圧ホース(高圧側と戻り側)を固定保護する。
Important: シャーシの後壁に既に穴があけてあるプロパスもあります。後壁にすでに穴が開いている場合には、エンジンを取り付けるを参照してください。
油圧オイルタンクを取り付けられるように、シャーシの後壁についている取り付けボルト(2本)を外して保管する。
シャーシの後壁に油圧オイルタンクを取り付けることになるので、この部分に障害物がないことを確認する。
油圧タンクの梱包を解く。
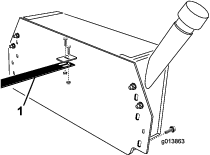
油圧タンクを下から支えながら、タンクをシャーシの後壁に取り付ける。タンクが左右方向の中央にあり、また垂直に載っていることを確認する(図 1)。

オイルの入口フィッティングと出口フィッティング、およびホースガイドの取り付けブラケットがすべてシャーシの後部壁にあいている丸穴に無理なく通ることを確認する(図 2)。

油圧タンクが水平であることを確認する。
Cクランプなどを使って、油圧タンクをシャーシの後壁の所定位置にしっかりと仮止めする。
油圧タンクが水平であることを確認する。
油圧タンクの取り付け穴の位置を、シャーシの後壁にマーキングする。
油圧タンクのクランプをゆるめてタンクを外す。
マーキングした穴の中心位置にポンチを打つ。
マーキングした各位置に、直径 7/16"(11.11 mm)の穴を開ける。
各穴のバリを除去する。
この作業に必要なパーツ
| エンジンアセンブリ | 1 |
| ボルト(½ x 5") | 2 |
| バッテリー | 1 |
| バッテリー押さえ | 1 |
| バッテリー固定ストラップ | 1 |
| バッテリーボルト | 2 |
| バッテリーボルトスペーサ | 2 |
| ワッシャ | 2 |
| フランジナット | 2 |
ヒッチチューブがきれいなこと、ゴミや土がついていないことを確認する。
エンジン・アセンブリの梱包を解く。
エンジン取り付けブラケットをエンジン取り付けプレートに固定しているボルト2本をゆるめる(取り外さないこと)(図 3)。

バッテリー押さえ用ストラップを固定しているナット(2個)を外し、ナット、ワッシャ、ボルトチューブを脇によける(図 4)。

バッテリーをアセンブリの所定位置から外し、トランスミッションオイルフィルタをベースプレートの上にのせる。
バッテリーを充電する; バッテリーを充電するを参照。
二人掛かりでエンジンアセンブリをヒッチチューブに載せる。
エンジンの取り付けブラケットがヒッチチューブ(図 5)をまたいでいること、また、エンジン取り付けプレートの後部とヒッチチューブのレシーバとの距離が約 25 mmであることを確認する(図 6)。


エンジン取り付けブラケットの穴にボルト2本(½" x 5")を通す; エンジン取り付けブラケットの各外側面に平ワッシャが1枚当たるように、また、各ボルトがヒッチチューブの底を貫通するように取り付けること。ナット 2 個(½")を図 7のように手締めする。

エンジン取り付けブラケットを調整して、このブラケットがヒッチに対してしっかり取り付くようにする。ステップ3でゆるめたボルト(2本)を十分に締め付ける。
エンジン取り付けプレートが水平になっていることを確認し、エンジン取り付けブラケットの下穴を通っているボルト2本(½" x 5")をしっかりと締め付ける。
バッテリートレイにバッテリーを載せる;端子が図 8のようになるように載せること。
バッテリーにバッテリー押さえを取り付ける(図 8)。
バッテリー取り付け用ストラップを、ヒッチチューブの下に保持する(図 8)。
右側では、ワッシャ、バッテリー押さえストラップ、エンジン取り付けプレート、バッテリートレイ、バッテリーボルトスペーサ、バッテリー押さえを貫通させて、ボルトを取り付ける。そしてフランジナットで仮止めする(図 8)。
Note: 必ず、ボルトは下から通すこと。
左側では、ワッシャ、バッテリー押さえストラップ、エンジン取り付けプレート、バッテリートレイ、バッテリーボルトスペーサ、バッテリー押さえを貫通させて、ボルトを取り付ける。そしてフランジナットで仮止めする(図 8)。
仮止め後、中央に取り付けできていることを確認してナットを本締めする。

この作業に必要なパーツ
| ホースガイド | 1 |
| 油圧戻りホース(#3 ホース) | 1 |
| 油圧吸い込みホース(#4 ホース) | 1 |
| ボルト(¼ x ¾") | 4 |
| ロックナット(¼") | 4 |
| ボルト(⅜ x 1") | 4 |
| ロックナット(⅜") | 4 |
| 平ワッシャ | 4 |
以下を使用できるように準備する:ホースガイド、戻り側油圧ホース(ホース#3)、吸入側油圧ホース(ホース #4)、ボルト4本(¼" x ¾")、ロック・ナット4個(¼")。
Note: 出荷用のホースホースガイドに取付けてあるホース、戻り側ホースと吸入側ホースを外します。
2本のボルト (¼ x ¾") とフランジロックナットを使って、ホース ガイドを油圧タンクのブラケットに取り付ける (図 9)。

Note: シャーシの後壁から取り付けボルト(2本)を外す。外したボルトを使用してタンクを取り付ける。
4本のボルト (⅜ x 1") とナイロン製ロックナットを開梱する。油圧タンクを下から支えながら、ホースガイドと油圧ホース #3 および #4 を、シャーシの後部壁の中央についている大きな穴に通し、シャーシの後部壁に油圧タンクを密着させる。そしてクランプかボルトを使ってその位置に油圧タンクを仮止めする。
Note: ホースガイドは、シャーシの前側の中央の穴を通るようになります。この作業は 2 人で行うほうが良いでしょう。
リターン側油圧ホース(#3)と吸入側油圧ホース(#4)を、油圧タンクについているそれぞれのフィッティングにしっかりと接続する。
Note: ホース #3 とホース #4 とは外径が異なっているので、所定のカップラ以外には接続することができません。
Note: ホースを接続する時、タイヤとの間に十分な距離があることを確認する。
ホースガイドが、バッテリートレイの垂直の足から出ているタブの上に載るようにする(図 10)。もしホースガイドの中のホースがバッテリートレイのタブの穴に合わない場合には、ホースガイドの長さを調整してみる(ホースガイドを油圧タンクのブラケットに固定しているボルトをゆるめて、ホースガイドを前後に移動させる)。

ホースガイドをバッテリートレイのタブに取り付ける;ボルト(¼" x ¾")2本、フランジロックナットを使用する(図 10)。
先に外しておいたボルトとキットに入っているボルト(⅜ x 1")、ナイロンロックナット、平ワッシャを使って、シャーシの後壁に油圧オイルタンクを取り付け、ボルトナットを本締めする。
油圧ホース#3をフィルター出口に接続する (図 11) 。

油圧ホース#4を油圧ポンプの吸入側に接続する(図 12)。

SH バージョン(モデル 44701)では、機体の前部にカバーを固定している固定具を取り外し、カバーを外して脇においておく(図 13)。

ベースモデルの高圧側および戻り側の油圧接続を確認する。SHバージョンについては 図 14 を参照、EHバージョンについては 図 15 を参照。


加圧ホースとリターンホースが図 14と図 15 に示す位置に以前に取り付けられている場合は、それらを取り外す。
Note: 油圧ホースが機械の高温部、鋭利な部分、可動部分を確実に避けるようにしてください。特にマフラーからはできるだけ離して取付けてください。
油圧ホースを油圧コントロールパネルに接続する。SH バージョンについては 図 14 と 図 16 を参照、EH バージョンについては 図 15 と 図 17 を参照。


全部の油圧接続部を本締めする。
ツインスピナーアセンブリを元通りに取り付ける。
この黒線と既存の黒いバッテリーケーブルを、バッテリーのマイナス端子に接続し、白線と既存の赤いバッテリーケーブルを、バッテリーのプラス端子に接続する。
中間ワイヤハーネスを、機体の電源ワイヤハーネスのコネクタに接続する(図 18 または 図 19)。


エンジンを始動する前に、適切な粘度のエンジンオイルを 1 リットルほど入れる(エンジンオイルについて)。
Important: このエンジンは出荷時にオイルを入れておりません。オイルを入れずに始動させるとエンジンが破損する可能性があります。
エンジンを初めて作動させる前に、エンジンオイルの量を点検する;エンジンオイルについて を参照。
油圧オイルタンクに適切な油圧オイルを入れる;油圧オイルについて を参照。
Important: 油圧システムは、実際に駆動するまでは、完全にオイルが充填されていな状態です。初めて油圧システムを使用した後は、油圧オイルの量を確認し、必要に応じて適正量までオイルを補給してください。
パワーパックに対して作業を行う場合は全てのコントロール装置が OFF になっていることを確認する。
Important: 出荷時にエンジンオイルを入れておりません。さらに詳しい情報については、エンジンマニュアル をご覧ください。
エンジンはオイルを 抜いた状態で出荷されていますので、始動前にオイルを約 1 リットル入れてください。
初めての運転の前に必ずオイルの量を確認し、その後は毎日点検してください。
オイルは、API(米国石油協会)の SJ、SL またはそれ以上のグレードの高品質オイルを使用します。オイルの粘度 - 重量 - 外気温度に応じて選択する。図 20図に、外気温と粘度の関係を示します。

エンジンが水平になるようにして駐車する。
キャップ兼ディップスティックの周囲をきれいに拭く。
オイルフィルタのキャップ/ディップスティックを左に回して抜きとる。
スティックをウェスできれいに拭き、もう一度差し込む。スティックはねじ込まずに差し込むこと。
ディップスティックをもう一度抜きとって、オイルの量を点検する。
オイル量がディップスティックの最低限度マークより下、またはその付近にある場合には、ディップスティックの最高限度マークのすぐ下までオイルを補給する
Important: 入れすぎないように注意してください。
エンジンオイルの量をもう一度点検する。
オイルフィルタのキャップ/ディップスティックを元通りに取り付け、こぼれたオイルをふき取る。
Important: オイルの量が適切であることを確認してください。エンジンオイルの量が適切でないと、クランキングしてもエンジンが始動しません。
出荷時に油圧オイルを入れておりません; 高品質の油圧作動油 32.9 リットルを入れてください。初めての運転の前に必ず油量を確認し、その後は毎日点検してください。推奨オイルの銘柄を以下に示します:
| Toro プレミアムトランスミッション/油圧トラクタオイル (19 リットル缶または208 リットル缶。)パーツカタログまたは代理店でパーツ番号をご確認ください。 |
使用可能な他のオイル:Toroオイルが入手できない場合は、以下に挙げる特性条件および産業規格を満たす石油系のユニバーサル・トラクタ油圧オイル(UTHF)を使用することができます。合成オイルの使用はお奨めできません。オイルの専門業者と相談の上、適切なオイルを選択してください:
Important: 油圧システムは、実際に駆動するまでは、完全にオイルが充填されていな状態です。初めて油圧システムを使用した後は、油圧オイルの量を確認し、必要に応じて適正量までオイルを補給してください。
Note: 不適切なオイルの使用による損害については弊社は責任を持ちかねますので、品質の確かな製品をお使い下さる様お願いいたします。
| 物性: | |||
| 粘度, ASTM D445 | cSt @ 40°C 55ー62cSt @ 100°C 9.1ー9.8 | ||
| 粘性インデックス ASTM D2270 | 140 – 152 | ||
| 流動点, ASTM D97 | -37℃ - 43℃ | ||
| 産業規格: | |||
| API GL-4, AGCO Powerfluid 821 XL, Ford New Holland FNHA-2-C-201.00, Kubota UDT, John Deere J20C, Vickers 35VQ25, および Volvo WB-101/BM | |||
Note: 多くの油圧オイルはほとんど無色透明であり、そのためオイル洩れの発見が遅れがちです。油圧オイル用の着色剤(20ml 瓶)をお使いいただくと便利です。1瓶で 15-22 リットルのオイルに使用できます。パーツ番号は P/N 44-2500; ご注文は Toro 代理店へ。
燃料の取り扱いに際しては安全に特にご注意ください。燃料は引火性が高く、気化すると爆発する可能性があります。
燃料取り扱い前に、引火の原因になり得るタバコ、パイプなど、すべての火気を始末してください。
燃料の保管は必ず認可された容器で行ってください。
エンジン回転中などエンジンが高温の時には、燃料タンクのふたを開けたり給油したりしないでください。
締め切った場所では燃料の補給や抜き取りをしないでください。
ガス湯沸かし器のパイロット火やストーブなど裸火や火花を発するものがある近くでは、機械や燃料容器を保管・格納しないでください。
燃料がこぼれたら、エンジンを始動せずにマシンを別の場所に動かし、気化した燃料ガスが十分に拡散するまで引火の原因となるものを近づけないでください。
燃料タンク容量:6.1 リットル
使用推奨燃料:
機械の性能を最も良く発揮させるために、オクタン価87以上の、きれいで新しい(購入後30日以内)無鉛ガソリンを使ってください(オクタン価評価法は(R+M)/2 を採用)。
エタノール:エタノールを添加(10% まで)したガソリン、MTBE(メチル第3ブチルエーテル)添加ガソリン(15% まで)を使用することが可能です。エタノールとMTBEとは別々の物質です。エタノール添加ガソリン(15% 添加=E15)は使用できません。エタノール含有率が 10% を超えるガソリン(たとえば E15(含有率 15%)、E20(含有率 20%)、E85(含有率 85%)は絶対に使用してはなりません。これらの燃料を使用した場合には性能が十分に発揮されず、エンジンに損傷が発生する恐れがあり、仮にそのようなトラブルが発生しても製品保証の対象とはなりません。
ガソリン含有メタノールは使用できません。
燃料タンクや保管容器でガソリンを冬越しさせないでください。 冬越しさせる場合には必ずスタビライザ(品質安定剤)を添加してください。
ガソリンにオイルを混合しないでください。
充電中は爆発性のガスが発生する。
充電中は絶対禁煙を厳守。バッテリーに火気を近づけないこと。
バッテリーの端子に金属製品やトラクションユニットの金属部分が触れるとショートを起こして火花が発生する。それによって水素ガスが爆発を起こし人身事故に至る恐れがある。
バッテリーの取り外しや取り付けを行うときには、端子と金属を接触させないように注意する。
バッテリーの端子は金属と接触させてはならない。
バッテリーケーブルの接続手順が不適切であるとケーブルがショートを起こして火花が発生する。それによって水素ガスが爆発を起こし人身事故に至る恐れがある。
ケーブルを取り外す時は、必ずマイナス(黒)ケーブルから取り外し、次にプラス(赤)ケーブルを外す。
ケーブルを取り付ける時は、必ずプラス(赤)ケーブルから取り付け、それからマイナス(黒)ケーブルを取り付ける。
バッテリートレイからバッテリーを取り出す。
バッテリー押さえを外して、トレイからバッテリーを取り出す。
バッテリーのマイナス(ー)ケーブル(黒)をマイナス端子に固定しているキャリッジボルトとナットを外してマイナスケーブルを外す。
バッテリーのプラス(+)ケーブル(赤)をプラス端子に固定しているキャリッジボルトとナットを外してプラスケーブルを外す。
バッテリーの上面をきれいに清掃する。
充電器に接続し、充電電流を 3-4 A にセットする。3-4 Aで 4-8 時間充電する。
充電が終わったらチャージャをコンセントから抜き、バッテリー端子からはずす。
バッテリートレイにバッテリーを取り付ける。
先ほど外したキャリッジボルトとナットを使って、バッテリーのプラス(+)ケーブル(赤)をプラス端子に固定する;ショートを防止するため、プラス端子にゴム製キャップを取り付ける。
先ほど外したキャリッジボルトとナットを使って、マイナス(黒)ケーブルをバッテリーのマイナス(ー)端子に取り付ける。
両方の端子部にワセリン(Grafo 112X: P/N 505-47)を薄く塗る。
バッテリー押さえを取り付けて、バッテリーをトレイに固定する。
バッテリーのケーブルは、接触不良にならぬよう、端子にしっかりと固定してください。
バッテリーケーブルの接続手順が不適切であるとケーブルがショートを起こして火花が発生する。それによって水素ガスが爆発を起こし人身事故に至る恐れがある。
ケーブルを取り外す時は、必ずマイナス(黒)ケーブルから取り外し、次にプラス(赤)ケーブルを外す。
ケーブルを取り付ける時は、必ずプラス(赤)ケーブルから取り付け、それからマイナス(黒)ケーブルを取り付ける。
端子が腐食した場合は、 ケーブルを外し(マイナスケーブルから先に外すこと)、クランプと端子とを別々に磨いてください。磨き終わったらケーブルをバッテリーに接続し(プラスケーブルから先に接続すること)、端子にはワセリンを塗布してください。
バッテリーの端子に金属製品やトラクタの金属部分が触れるとショートを起こして火花が発生する。それによって水素ガスが爆発を起こし人身事故に至る恐れがある。
バッテリーの取り外しや取り付けを行うときには、端子と金属を接触させないように注意する。
バッテリーの端子と金属を接触させない。
バッテリーケーブルがケーブルクランプによってしっかり固定されていることを確認する。
バッテリーケーブルクランプと端子に錆が発生していないか点検する:以下を行うこと:
バッテリーのマイナス(ー)ケーブル(黒)をマイナス端子に固定しているキャリッジボルトとナットを外してマイナスケーブルを外す。
バッテリーのプラス(+)ケーブル(赤)をプラス端子に固定しているキャリッジボルトとナットを外してプラスケーブルを外す。
ケーブルクランプとバッテリー端子を清掃する。
先ほど外したキャリッジボルトとナットを使って、バッテリーのプラス(+)ケーブル(赤)をプラス端子に固定する;ショートを防止するため、プラス端子にゴム製キャップを取り付ける。
先ほど外したキャリッジボルトとナットを使って、マイナス(黒)ケーブルをバッテリーのマイナス(ー)端子に取り付ける。
両方の端子部にワセリン(Grafo 112X: P/N 505-47)を薄く塗る。
機体を牽引車両のクレビスヒッチに接続する。ヒッチピンは牽引車両用に認可されている高張力ピンを使用すること。
燃料バルブを開き、スロットルレバーを真ん中の位置にし、チョークを掛けて、エンジンを掛ける。エンジンが掛かったらチョークをOFFにし、スロットルを全開にする。
動作確認をする。油圧漏れがないことを確認し、必要に応じて調整を行う。
油圧装置の試運転を行ったら、油圧オイル量を確認し、必要なら補給する。
Note: 運転中にペンダントスイッチやコードを引きずらないよう注意すること。