Tämä tuote on soveltuvien eurooppalaisten direktiivien mukainen. Lisätietoja on tämän julkaisun lopussa olevassa liittämisvakuutuksessa.
KALIFORNIA
Lakiesityksen 65 mukainen varoitus
Tämän tuotteen moottorin tuottamat pakokaasut sisältävät kemikaaleja, jotka Kalifornian osavaltion tietojen mukaan aiheuttavat syöpää, synnynnäisiä epämuodostumia tai muuta lisääntymiseen liittyvää haittaa.
Akun liitännät, navat ja niihin liittyvät lisävarusteet sisältävät lyijyä ja lyijy-yhdisteitä, joiden tiedetään aiheuttavan syöpää ja haittaavan lisääntymistä. Pese kädet, kun olet käsitellyt näitä osia.
![]() |
Turva- ja ohjetarrat on sijoitettu hyvin näkyville paikoille mahdollisten vaara-alueiden lähettyville. Korvaa vioittuneet tai kadonneet tarrat uusilla. |





Important: Tätä sarjaa voidaan käyttää vain ProPass-levittimessä, jota käytetään vedettävänä koneena.
Vaiheeseen tarvittavat osat:
| Hydraulisäiliökokoonpano | 1 |
| Letkunohjaimen asennuskannake | 1 |
Sarjan asennus ennen kaikkien ulkoisten hydraulisten ja sähköisten virtalähteiden katkaisemista saattaa altistaa sähköiskulle ja/tai paineistetulle hydraulinesteelle, mikä aiheuttaa vakavia tai hengenvaarallisia vammoja.
Irrota kaikki ulkoiset hydrauliset ja sähköiset virtalähteet ennen koneikon asennusta.
Pysäköi kone tasaiselle alustalle, laske tunkki, irrota se ajoyksiköstä ja kiilaa pyörät edestä ja takaa.
Noudata koneen käyttöoppaan ohjeita, irrota kaksoisspinneri ja kiinnitä hydrauli- ja paluuletkut.
Important: Joissakin ProPass-malleissa on valmiiksi porattu alustan takaseinä. Jos koneessa on valmiiksi porattu alustan takaseinä, katso kohta Moottorin kiinnitys.
Irrota alustan takaseinästä kaksi kiinnityspulttia ja säilytä ne, jotta hydraulisäiliö voidaan kiinnittää.
Varmista, että hydraulisäiliö voidaan kiinnittää alustan takaseinään.
Poista hydraulisäiliö kuljetuslaatikosta.
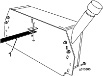
Tue hydraulisäiliö alapuolelta ja aseta se alustan takaseinää vasten. Säiliön oikean ja vasemman sivun on oltava tasassa keskenään ja säiliö on asetettava pystysuoraan (Kuva 1).

Varmista, että tulo- ja lähtöliittimet ja letkunohjaimen asennuskannakkeet sopivat alustan takaseinän pyöreisiin reikiin (Kuva 2).

Varmista, että hydraulisäiliö on suorassa.
Käytä C-liittimiä tai vastaavia ja kiinnitä hydraulisäiliö väliaikaisesti tukevasti paikalleen alustan takaseinään.
Varmista, että hydraulisäiliö on edelleen suorassa.
Merkitse alustan takaseinään hydraulisäiliön kiinnitysreikien sijainti.
Irrota hydraulisäiliö ja nosta se pois.
Merkitse pistepuikolla merkittyjen reikien sijainti.
Poraa halkaisijaltaan 7/16 tuuman (11,11 mm:n) reikä alustan takaseinän läpi kuhunkin pistepuikolla merkittyyn kohtaan.
Poista kustakin reiästä jäysteet.
Vaiheeseen tarvittavat osat:
| Moottorikokoonpano | 1 |
| Pultti (½ × 5 tuumaa) | 2 |
| Akku | 1 |
| Akun pidike | 1 |
| Akun pidike | 1 |
| Akun pultti | 2 |
| Akun pultin välikappale | 2 |
| Aluslaatta | 2 |
| Laippamutteri | 2 |
Varmista, että vetokoukun putki on puhdas eikä siinä ole likaa tai jäämiä.
Pura moottorikokoonpano pakkauksestaan.
Löysää (älä irrota) kahta pulttia ja mutteria, joilla moottorin asennuskannakkeet on kiinnitetty moottorin asennuslevyyn (Kuva 3).

Irrota kaksi mutteria, joilla akun pidikkeet on kiinnitetty, ja aseta mutterit, aluslaatat ja pultin putki sivuun odottamaan (Kuva 4).

Irrota akku alustastaan ja laske suodatin aluslevylle.
Lataa akku. Katso Akun käyttöönotto ja lataus.
Aseta toisen henkilön avustuksella moottorikokoonpano vetokoukun putkeen.
Varmista, että moottorin asennuskannakkeet asettuvat vetokoukun putkeen (Kuva 5) ja että moottorin asennuslevyn takaosa on noin 25 mm:n päässä vetokoukun putken vastakappaleesta (Kuva 6).


Työnnä kaksi pulttia (½ × 5 tuumaa) moottorin asennuskannakkeiden reikien läpi ja varmista, että litteä aluslaatta asettuu jokaista moottorin asennuskannakkeen ulkopintaa vasten ja että pultit tulevat vetokoukun putken alapuolelta. Kiristä käsin kaksi mutteria (½ tuumaa) kuvan mukaisesti (Kuva 7).

Säädä moottorin asennuskannaketta niin, että se kiristyy hinausaisaa vasten. Kiristä kokonaan kaksi mutteria, jotka löysättiin vaiheessa 3.
Varmista, että moottorin asennuslevy on suorassa, ja kiristä kokonaan kaksi pulttia (½ × 5 tuumaa) moottorin asennuskannakkeiden alareikien kautta.
Aseta akku akkualustaan navat kuvan mukaisesti (Kuva 8).
Aseta akun pidike akkuun (Kuva 8).
Pidä akun pidikettä vetokoukun putken alla (Kuva 8).
Asenna oikealta puolelta akun pultti aluslaatan, akun pidikkeen, moottorin asennuslevyn, akkualustan, akun pultin välikappaleen ja pidikkeen läpi. Asenna laippamutteri löysästi (Kuva 8).
Note: Varmista, että pultit asennetaan alhaalta.
Asenna vasemmalta puolelta akun pultti aluslaatan, akun pidikkeen, moottorin asennuslevyn, akkualustan, akun pultin välikappaleen ja pidikkeen läpi. Asenna laippamutteri löysästi (Kuva 8).
Varmista konsentrisuus ja kiristä mutterit.

Vaiheeseen tarvittavat osat:
| Letkunohjain | 1 |
| Hydrauliikan paluuletku (letku #3) | 1 |
| Hydrauliikan imuletku (letku #4) | 1 |
| Pultti (¼ × ¾ tuumaa) | 4 |
| Lukkomutteri (¼ tuumaa) | 4 |
| Pultti (⅜ × 1 tuumaa) | 4 |
| Lukkomutteri (⅜ tuumaa) | 4 |
| Litteä aluslaatta | 4 |
Pura letkun ohjain, hydrauliikan paluuletku (letku #3), hydrauliikan imuletku (letku #4), neljä pulttia (¼ × ¾ tuumaa) ja neljä lukkomutteria (¼ tuumaa).
Note: Irrota letkun ohjaimeen kiinnitetty letku, hydrauliikan paluuletku ja hydrauliikan imuletku kuljetusta varten.
Kiinnitä letkun ohjain hydraulisäiliön kannattimeen kahdella pultilla (¼ × ¾ tuumaa) ja laippalukkomutterilla (Kuva 9).

Note: Irrota alustan takaseinästä kaksi kiinnityspulttia. Kiinnitä säiliö irrotetuilla pulteilla.
Avaa neljä pulttia (⅜ × 1 tuumaa) ja nailonlukkomutteria. Tue hydraulisäiliötä alapuolelta ja pujota letkunohjain ja hydrauliletkut #3 ja #4 suuren alustan takaseinässä olevan keskireiän läpi ja aseta hydraulisäiliö alustan takaseinää vasten. Kiinnitä tai pulttaa hydraulisäiliö väliaikaisesti paikalleen.
Note: Letkun ohjain on syötettävä alustan etupuolella olevan keskireiän läpi. Tähän voidaan tarvita kaksi henkilöä.
Asenna hydrauliikan paluuletku (#3) ja hydrauliikan imuletku (#4) sopiviin hydraulisäiliön liittimiin.
Note: Letku #3:n ja letku #4:n liittimet eivät ole samat, joten kukin letku sopii vain hydraulisäiliön sopivaan liittimeen.
Note: Kun kiinnität letkuja, varmista, että renkaiden välys on riittävä.
Letkun ohjaimen on istuttava akkualustan pystysuoran jalan yläkielekkeellä (Kuva 10). Jos letkun ohjaimen reiät eivät osu akkualustan kielekkeen reikiin, letkun ohjaimen pituutta voidaan säätää löysäämällä pultteja, joilla letkun ohjain on kiinnitetty hydraulisäiliön kannattimeen ja liu’uttamalla letkun ohjainta eteen- tai taaksepäin tarpeen mukaan.

Kiinnitä letkun ohjain akkualustan kielekkeeseen kahdella pultilla (¼ × ¾ tuumaa) ja laippalukkomutterilla (Kuva 10).
Kiinnitä hydraulisäiliö alustan takaseinään aikaisemmin irrotetuilla kiinnityspulteilla sekä sarjan pulteilla (⅜ × 1 tuumaa), nailonlukkomuttereilla ja litteillä aluslaatoilla. Kiristä kiinnikkeet.
Liitä hydrauliletku #3 suodattimen poistoaukkoon (Kuva 11).

Liitä hydrauliletku #4 hydraulipumpun imupuolelle (Kuva 12).

SH-versio (malli 44701): irrota kiinnikkeet, joilla suojus on kiinnitetty koneen etuosaan, ja aseta suojus syrjään (Kuva 13).

Tunnista koneen perusmallin paine- ja paluuliitännät. Katso Kuva 14 (SH-versiot) ja Kuva 15 (EH-versiot).


Jos paine- ja paluuletkut on aiemmin liitetty kuvissa Kuva 14 ja Kuva 15 osoitettuihin paikkoihin, irrota ne.
Note: Varmista, että letkut eivät osu mihinkään kuumiin, teräviin tai liikkuviin osiin. Pidä mahdollisimman pitkä välimatka äänenvaimentimeen.
Liitä hydrauliletkut hydrauliseen ohjauspaneeliin. Katso Kuva 14 ja Kuva 16 (SH-versiot) ja Kuva 15 ja Kuva 17 (EH-versiot).


Kiristä kaikki hydrauliliitännät ja kiinnikkeet.
Asenna kaksoisspinneri takaisin.
Kytke musta johto ja musta esireititetty johto akun negatiiviseen napaan ja valkoinen johto ja punainen esireititetty johto akun positiiviseen napaan.
Kytke välijohdinsarja koneen virtajohdinsarjan liittimeen (Kuva 18 tai Kuva 19).


Täytä moottori noin 1 litralla viskositeetiltaan oikeaa öljyä ennen käynnistystä. Katso kohta Moottoriöljyn huolto.
Important: Kun moottori toimitetaan tehtaalta, siinä ei ole öljyä. Moottori vaurioituu, jos se yritetään käynnistää ennen kuin se on täytetty öljyllä.
Tarkista öljymäärä ennen moottorin ensikäynnistystä. Katso kohta Moottoriöljyn huolto.
Täytä hydraulisäiliö asianmukaisella hydraulinesteellä. Katso kohta Hydraulijärjestelmän huolto.
Important: Hydraulijärjestelmä ei täyty kokonaan nesteellä ennen kuin järjestelmä käynnistetään. Tarkista hydraulinesteen taso ja lisää nestettä tarpeen mukaan, jotta se on varmasti oikealla tasolla hydraulijärjestelmän ensimmäisen käyttökerran jälkeen.
Varmista, että kaikki ohjainjärjestelmät on kytketty pois käytöstä, kun työskentelet hydraulikoneikon parissa.
Important: Moottori toimitetaan ilman öljyä. Lisätietoja on moottorin omistajan käsikirjassa.
Moottori toimitetaan ilman öljyä, joten siihen täytyy lisätä noin 1 l öljyä ennen käynnistystä.
Tarkista öljymäärä ennen moottorin ensikäynnistystä ja sen jälkeen päivittäin.
Moottorissa voidaan käyttää kaikkia korkealaatuisia öljyjä, joiden API-huoltoluokitus (American Petroleum Institute) on SJ, SL tai vastaava. Öljyn viskositeetti eli paino on valittava ympäristölämpötilan mukaan. Kuva 20 näyttää lämpötilan mukaiset viskositeettisuositukset.

Aseta kone siten, että moottori on suorassa.
Puhdista öljyntäyttöaukon korkin/mittatikun lähialue.
Irrota öljyntäyttöaukon korkki/mittatikku kiertämällä sitä vastapäivään.
Pyyhi mittatikku puhtaaksi ja työnnä se täyttöaukkoon. Älä kierrä sitä kiinni täyttöaukkoon.
Irrota mittatikku ja tarkista öljyn määrä.
Jos öljymäärä on lähellä mittatikun alamerkkiä tai sen alla, lisää öljyä vain ylempään merkkiin asti.
Important: Älä täytä kampikammiota liian täyteen.
Tarkista moottoriöljyn määrä uudelleen.
Aseta öljyntäyttöaukon korkki/mittatikku takaisin ja puhdista öljyroiskeet.
Important: Varmista, että moottoriöljyn taso on oikea. Jos moottoriöljyn taso ei ole oikea, moottori pyörii mutta ei käynnisty.
Koneessa ei ole tehtaalta toimitettaessa hydraulinestettä, joten siihen pitää täyttää 32,9 litraa korkealuokkaista hydraulinestettä. Tarkista hydrauliöljyn määrä ennen moottorin ensimmäistä käynnistystä ja sen jälkeen päivittäin. Suositellut nesteet:
| Toro Premium Transmission/Hydraulic Tractor Fluid (saatavana 19 litran astioissa tai 208 litran tynnyreissä. Katso näiden osien osanumerot osaluettelosta tai pyydä Toro-jälleenmyyjältä.) |
Vaihtoehtoiset nesteet: Jos Toronesteitä ei ole saatavana, voidaan käyttää muita yleisesti traktoreissa käytettäviä öljypohjaisia nesteitä, jotka täyttävät kaikki jäljempänä luetellut vaatimukset (ominaisuudet ja standardit). Emme suosittele synteettisten nesteiden käyttöä. Pyydä voiteluaineiden jälleenmyyjältä neuvoja sopivan tuotteen valitsemiseen.
Important: Hydraulijärjestelmä ei täyty kokonaan nesteellä ennen kuin järjestelmä käynnistetään. Tarkista hydraulinesteen taso ja lisää nestettä tarpeen mukaan, jotta se on varmasti oikealla tasolla hydraulijärjestelmän ensimmäisen käyttökerran jälkeen.
Note: Toro ei vastaa vääränlaisten öljyjen käytöstä aiheutuneista vaurioista, joten käytä vain sellaisten tunnettujen valmistajien tuotteita, joiden luokituksiin voidaan luottaa.
| Ominaisuudet: | |||
| Viskositeetti, ASTM D445 | cSt / 40 °C 55–62cSt / 100 °C 9,1–9,8 | ||
| Viskositeetti-indeksi, ASTM D2270 | 140–152 | ||
| Jähmepiste, ASTM D97 | –37,2 °C...–43,3 °C | ||
| Standardit: | |||
| API GL-4, AGCO Powerfluid 821 XL, Ford New Holland FNHA-2-C-201.00, Kubota UDT, John Deere J20C, Vickers 35VQ25 ja Volvo WB-101/BM | |||
Note: Monet hydraulinesteet ovat lähes värittömiä, mikä vaikeuttaa vuotojen toteamista. Hydraulinestejärjestelmään tarkoitettua punaista värilisäainetta on saatavana 20 ml:n pulloissa. Yksi pullo riittää 15–22 litralle hydrauliöljyä. Tilaa valtuutetulta Toro-jälleenmyyjältä osa numero 44-2500.
Käsittele polttoainetta erittäin varovasti. Se on tulenarkaa, ja höyryt räjähtävät herkästi.
Sammuta savukkeet, sikarit, piiput ja muut sytytyslähteet.
Käytä vain hyväksyttyä polttoaineastiaa.
Älä irrota polttoainesäiliön korkkia tai täytä polttoainesäiliötä moottorin ollessa käynnissä tai kuuma.
Älä lisää tai tyhjennä polttoainetta suljetussa tilassa.
Älä säilytä konetta tai polttoainesäiliötä tilassa, jossa on avotuli, kipinöitä tai varmistusliekki (esimerkiksi vedenlämmitin tai muu vastaava laite).
Jos polttoainetta roiskuu, älä yritä käynnistää moottoria. Vältä luomasta minkäänlaisia kipinälähteitä, ennen kuin polttoainehöyryt ovat hälvenneet.
Polttoainesäiliön tilavuus: 6,1 l.
Suositeltu polttoaine:
Moottori toimii parhaiten, kun käytetään vain puhdasta ja uutta (korkeintaan 30 päivää vanhaa) lyijytöntä bensiiniä, jonka tieoktaaniluku (pumppuoktaaniluku) on vähintään 87 (RON + MON / 2).
Etanoli: Enintään 10 % etanolia (bensiinin ja etanolin seosta) tai 15 % MTBE:tä (metyyli-tertiääri-butyylieetteriä) sisältävää polttoainetta voidaan käyttää. Etanoli ja MTBE eivät ole sama asia. Bensiiniä, jonka tilavuudesta enemmän kuin 15 % (E15) on etanolia, ei ole hyväksytty käyttöön. Älä käytä bensiiniä, jonka tilavuudesta enemmän kuin 10 % on etanolia (kuten 15 % etanolia sisältävä E15, 20 % etanolia sisältävä E20 tai enintään 85 % etanolia sisältävä E85). Muun kuin hyväksytyn bensiinin käyttö voi aiheuttaa toimintaongelmia ja/tai moottorivaurioita, joita takuu ei ehkä kata.
Metanolia sisältävää bensiiniä ei saa käyttää.
Polttoainetta ei saa säilyttää talven yli polttoainesäiliössä tai -astioissa, ellei polttoaineeseen ole lisätty stabilointiainetta.
Bensiiniin ei saa lisätä öljyä.
Täytä akku aluksi vain akkunesteellä (ominaispaino 1,265).
Puhdista akun yläosa ja irrota tuuletusaukkojen kannet (Kuva 21).
Important: Älä lisää akkunestettä akun ollessa koneessa. Roiskunut akkuneste saattaa aiheuttaa syöpymiä.

Täytä kaikki kennot hitaasti akkunesteellä, kunnes levyjen pinnan yläpuolella on noin 6 mm nestettä (Kuva 22).

Anna akkunesteen imeytyä levyihin noin 20–30 minuuttia. Täytä tarvittaessa niin, että akkunesteen pinta on noin 6 mm täyttöaukon pohjasta (Kuva 22).
Akun latauksen yhteydessä syntyy räjähdysherkkiä kaasuja.
Älä tupakoi akun lähettyvillä. Älä päästä kipinöitä tai liekkejä kosketuksiin akun kanssa.
Kytke 3–4 A:n akkulaturi akun napoihin. Lataa akkua 3–4 ampeerin virralla, kunnes ominaispaino on 1,250 tai korkeampi, lämpötila on vähintään 16 °C ja kaikki kennot muodostavat kaasukuplia.
Kun akku on latautunut, irrota laturi virtalähteestä ja akun navoista.
Note: Kun akku on otettu käyttöön, lisää vain tislattua vettä korvaamaan normaali hävikki. Huoltovapaat akut eivät kuitenkaan tarvitse vettä normaaleissa käyttöolosuhteissa.
Akun navat tai metallityökalut voivat aiheuttaa oikosulun koskettaessaan ajoneuvon metalliosia, mistä voi seurata kipinöitä. Kipinät voivat saada akun kaasut räjähtämään ja aiheuttaa siten henkilövahingon.
Akkua irrotettaessa tai asennettaessa akun napojen ei saa antaa koskettaa ajoneuvon metalliosia.
Metalliset työkalut voivat aiheuttaa oikosulun akun napojen ja koneen metalliosien välille.
Kytke liittimellä varustettu hinausaisa vetoajoneuvoon. Käytä vetoajoneuvoille hyväksyttyä lujatekoista hinaustappia.
Kytke polttoaineventtiili päälle, laita kaasuvipu puolelle teholle, laita rikastin päälle ja käynnistä moottori. Kun moottori käynnistyy, sulje rikastin ja siirrä kaasu maksimiin.
Testaa koneen toiminta. Varmista, että hydraulivuotoja ei ole ja tee lisäsäädöt.
Kun olet testannut hydraulijärjestelmän, tarkista hydraulineste ja lisää tarpeen mukaan.
Note: Varmista, että riippujohto tai muut johdot eivät laahaa maata käytön aikana.