Dette produkt overholder alle relevante EU-direktiver. Få yderligere oplysninger i inkorporeringserklæringen bagerst i denne udgivelse.
CALIFORNIEN
Advarsel i henhold til erklæring nr. 65
Udstødningsgassen fra dette produkt indeholder kemikalier, der ifølge staten Californien er kræftfremkaldende samt giver fødselsskader eller andre forplantningsskader.
Batteripoler og tilbehør indeholder bly og blysammensætninger, som ifølge staten Californien er kræftfremkaldende og forårsager forplantningsskader. Vask hænder efter håndtering.
![]() |
Sikkerheds- og instruktionsmærkaterne kan nemt ses af operatøren og er placeret tæt på potentielle risikoområder. Udskift eventuelle beskadigede eller manglende mærkater. |





Important: Dette sæt kan kun anvendes til en ProPass-enhed, der er udstyret som en bugseringsmaskine.
Dele, der skal bruges til dette trin:
| Beslag til hydrauliktank | 1 |
| Slangeholderens monteringsbeslag | 1 |
Montering af sættet inden frakobling fra alle ydre hydrauliske og elektriske kilder kan udsætte dig for elektrisk stød og/eller hydraulikvæske under tryk, hvilket kan forårsage alvorlig personskade eller dødsfald.
Før aggregatet monteres, skal alle ydre hydrauliske og elektriske strømkilder frakobles.
Parker maskinen på en plan overflade, sænk donkraften, fjern den fra traktionsenheden, og bloker hjulenes for- og bagside.
Følg vejledningen i maskinens betjeningsvejledning, fjern den dobbelte spinder, og fastgør hydraulik- og returslangerne.
Important: Nogle ProPass-modeller har en forboret chassisbagvæg. Se Montering af motoren, hvis din maskine har en forboret chassisbagvæg.
Afmonter og gem de 2 monteringsbolte fra chassisbagvæggen, så hydrauliktanken kan monteres.
Sørg for, at chassisbagvæggen er ryddet, så hydrauliktanken kan monteres.
Tag hydrauliktankenheden ud af kassen.
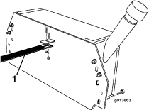
Understøt hydrauliktanken, og placer tanken op mod chassisbagvæggen. Tanken skal centreres lige fra venstre mod højre og skal placeres lodret (Figur 1).

Sørg for, at indgangs- og udgangsfittingerne og slangeholderens monteringsbeslag alle passer rigtigt i de runde huller i chassisbagvæggen (Figur 2).

Sørg for, at hydrauliktanken er i vater.
Brug C-klemmer eller lignende til at sætte hydrauliktanken godt på plads midlertidigt på chassisbagvæggen.
Sørg for, at hydrauliktanken stadig er i vater.
Marker placeringen af hydrauliktankens monteringshuller på chassisbagvæggen.
Tag klemmerne af hydrauliktanken, og fjern den.
Udstans placeringen af de markerede huller.
Bor et hul med en diameter på 1,11 cm gennem chassisbagvæggen på hvert sted, der er markeret og udstanset.
Afgrat hvert hul.
Dele, der skal bruges til dette trin:
| Motorsamling | 1 |
| Bolt (½" x 5") | 2 |
| Batteri | 1 |
| Batteritilholder | 1 |
| Batterimonteringsstrop | 1 |
| Batteribolt | 2 |
| Batteriboltens afstandsbøsning | 2 |
| Spændeskive | 2 |
| Flangemøtrik | 2 |
Sørg for, at bugsertrækkets rør er rent og frit for snavs og affald.
Tag motoren ud af emballagen.
Løsn, men fjern ikke, de to bolte og møtrikker, der fastgør motorens monteringsbeslag på motorens monteringsplade (Figur 3).

Fjern de 2 møtrikker, der holder batteriets holdestropper på plads, og læg møtrikkerne, spændeskiverne og boltrøret til side (Figur 4).

Afmonter batteriet fra enheden, og sæt filteret på bundpladen.
Oplad batteriet. Se Aktivering og opladning af batteriet.
Få nogen til at hjælpe dig med at placere motoren på bugsertrækkets rør.
Sørg for, at motorens monteringsbeslag går ned over bugsertrækkets rør (Figur 5), og at det bageste af motorens monteringsplade er ca. 25 mm fra modtageren til bugsertrækkets rør (Figur 6).


Sæt de 2 bolte (½" x 5") gennem hullerne i motorens monteringsbeslag, og sørg for, at der sættes en underlagsskive mod alle ydre overflader på motorens monteringsbeslag, og at boltene kan passere frit under bunden af bugsertrækkets rør. Stram de 2 møtrikker (½") med fingrene som vist i (Figur 7).

Juster motorens monteringsbeslag, så det sidder godt fast på bugsertrækket. Stram de 2 bolte, du løsnede i trin 3.
Sørg for, at motorens monteringsplade sidder lige, og stram de 2 bolte (½" x 5") gennem de nederste huller på motorens monteringsbeslag.
Sæt batteriet i batteribakken, idet polerne placeres som vist i Figur 8.
Placer batteritilholderen på batteriet (Figur 8).
Hold batterimonteringsstroppen rundt om undersiden af bugsertrækkets rør (Figur 8).
Sæt en batteribolt gennem spændeskiven, batterimonteringsstroppen, motorens monteringsplade, batteribakken og batteriboltens afstandsbøsning i højre side. Sæt en flangemøtrik løst på (Figur 8).
Note: Sørg for, at boltene sættes i fra bunden.
Sæt en batteribolt gennem spændeskiven, batterimonteringsstroppen, motorens monteringsplade, batteribakken og batteriboltens afstandsbøsning i venstre side. Sæt en flangemøtrik løst på (Figur 8).
Kontroller, at alt er koncentrisk, og stram møtrikkerne.

Dele, der skal bruges til dette trin:
| Slangeholder | 1 |
| Hydraulisk returslange (slange nr. 3) | 1 |
| Hydraulisk sugeslange (slange nr. 4) | 1 |
| Bolt (1/4 x 3/4 tomme) | 4 |
| Låsemøtrik (¼") | 4 |
| Bolt (⅜ x 1 tomme) | 4 |
| Låsemøtrik (3/8 tomme) | 4 |
| Flad skive | 4 |
Tag slangeholderen, hydraulikreturslangen (slange nr. 3), hydrauliksugeslangen (slange nr. 4), 4 bolte (¼" x ¾") og 4 flangelåsemøtrikker (¼") ud af emballagen.
Note: Fjern slangen, der af forsendelseshensyn er fastgjort til slangeholderen, hydraulikreturslangen og hydrauliksugeslangen.
Brug to bolte (¼" x ¾") og flangelåsemøtrikkerne til at sætte slangeholderen på beslaget på hydrauliktanken (Figur 9).

Note: Fjern de 2 monteringsbolte fra chassisbagvæggen. Brug de fjernede bolte til at montere tanken.
Tag 4 bolte (⅜" x 1") og nylonlåsemøtrikkerne ud af emballagen. Understøt hydrauliktanken, før slangeholderen og hydraulikslange nr. 3 og nr. 4 gennem det store midterhul i chassisbagvæggen, og sæt hydrauliktanken op mod chassisbagvæggen. Sæt hydrauliktanken på plads midlertidigt med klemmer eller bolte.
Note: Slangeholderen skal føres gennem midterhullet på forsiden af chassiset. Det kan være nødvendigt at være 2 personer om gøre dette.
Monter hydraulikreturslangen (nr. 3) og hydrauliksugeslangen (nr. 4) på de relevante fittings på hydrauliktanken.
Note: Slange nr. 3 og slange nr. 4 har ikke de samme fittings. Slangerne passer kun i deres korrekte fitting på hydrauliktanken.
Note: Sørg for, at der er tilstrækkelig afstand til hjulene, når slangerne monteres.
Slangeholderen skal placeres oven på tappen fra det lodrette ben på batteribakken (Figur 10). Hvis hullerne i slangeholderen ikke passer til hullerne i batteribakkens tap, kan slangeholderens længde justeres ved at løsne de bolte, der fastgør slangeholderen til hydrauliktankens beslag, og skubbe slangeholderen fremad eller bagud efter behov.

Sæt slangeholderen på batteribakkens tap vha. 2 bolte (¼" x ¾") og flangelåsemøtrikker (Figur 10).
Monter hydrauliktanken til chassisbagvæggen med de monteringsbolte, som du fjernede tidligere, samt boltene (⅜" x 1"), nylonlåsemøtrikkerne og underlagsskiverne fra sættet. Tilspænd fastgørelsesanordningerne.
Slut hydraulikslange nr. 3 til filterudgangen (Figur 11).

Slut hydraulikslange nr. 4 til sugesiden af hydraulikpumpen (Figur 12).

På SH-udgaven (model 44701): Fjern fastgørelsesanordningerne, der fastgør dækslet til forsiden af maskinen, og læg dækslet til side (Figur 13).

Find tryk- og returforbindelserne på maskinens basismodel. Se Figur 14, hvis du har en SH-udgave, og Figur 15 hvis du har en EH-udgave.


Hvis der tidligere er blevet monteret tryk- og returslanger på de steder, der er angivet i Figur 14 og Figur 15, skal de fjernes.
Note: Sørg for, at slangerne ikke berører varme, skarpe eller bevægelige dele. Prøv at opnå så god afstand fra lydpotten som muligt.
Slut hydraulikslangerne til hydraulikkontrolpanelet. Se Figur 14 og Figur 16 på SH-udgaver og Figur 15 og Figur 17 på EH-udgaver.


Stram alle de hydrauliske forbindelser og fastgørelsesanordningerne.
Sæt dobbelt spinder-udstyret på igen.
Slut det sorte kabel og det sorte forudførte kabel til batteriets minuspol og det hvide kabel og det røde forudførte kabel til batteriets pluspol.
Slut det mellemste ledningsnet til ledningsnetstikket på maskinen (Figur 18 eller Figur 19).


Fyld motoren med ca. 1 l olie med den rette viskositet før start. Se Serviceeftersyn af motorolien.
Important: Motoren leveres fra fabrikken uden olie. Forsøg på at starte maskinen, inden den fyldes med olie, kan forårsage motorskade.
Kontroller oliestanden, før motoren startes første gang. Se Serviceeftersyn af motorolien.
Fyld hydrauliktanken med den rette hydraulikvæske. Se Serviceeftersyn af hydrauliksystemet.
Important: Hydrauliksystemet kan ikke fyldes helt med væske, før systemet er startet. Kontroller hydraulikvæskestanden, og påfyld efter behov for at sikre, at væskestanden er korrekt, efter at det hydrauliske system tages i brug første gang.
Sørg for, at alle kontrolsystemer er slukket, når du arbejder med aggregatet.
Important: Motoren leveres uden olie. Der findes flere oplysninger i betjeningsvejledningen.
Motoren sendes fra fabrikken uden olie. Den skal fyldes med ca. 1 l olie, før den startes.
Kontroller oliestanden, før motoren startes første gang, og derefter dagligt.
Der kan anvendes ethvert oliemærke af høj kvalitet, som bærer American Petroleum Institutes (API) ”service classification” SJ, SL eller tilsvarende. Olieviskositet – vægt – skal vælges i henhold til den omgivende temperatur. Figur 20 illustrerer den anbefalede temperatur/viskositet.

Placer maskinen, så motoren står plant.
Rengør området omkring oliepåfyldningsdækslet/målepinden.
Fjern oliepåfyldningsdækslet/målepinden ved at dreje mod uret.
Tør målepinden ren, og sæt den i påfyldningsstudsen. Skru den ikke fast i hullet.
Fjern oliemålepinden, og kontroller oliestanden.
Hvis oliestanden er tæt på eller under mærket for minimal oliestand på målepinden, skal der påfyldes så meget olie, at oliestanden stiger til mærket for maksimal oliestand.
Important: Fyld ikke for meget på krumtaphuset.
Kontroller motoroliestanden igen.
Sæt oliepåfyldningsdækslet/målepinden på igen, og tør spildt olie op.
Important: Sørg for, at motorolien når den korrekte stand. Hvis motoroliestanden ikke er korrekt, tørner motoren, men den kan ikke starte.
Maskinen sendes fra fabrikken uden hydraulikvæske. Fyld den med 32,9 liter hydraulikvæske i høj kvalitet. Kontroller hydraulikoliestanden, før maskinen startes første gang, og derefter dagligt. Følgende hydraulikvæske anbefales:
| Toro Premium Transmission/Hydraulic Tractor Fluid (fås i spande med 19 liter eller tromler med 208 liter. Reservedelsnumrene findes i reservedelskataloget. Alternativt kan du spørge din Toro-forhandler). |
Alternative væsker: Såfremt Toro-væsken ikke kan fås, kan man anvende andre mineraloliebaserede universaltraktorhydraulikvæsker, forudsat at deres specifikationer overholder alle angivne materialeegenskaber og industristandarderne. Vi anbefaler ikke brug af syntetisk væske. Spørg din smøremiddelforhandler til råds for at finde frem til et tilfredsstillende produkt.
Important: Hydrauliksystemet kan ikke fyldes helt med væske, før systemet er startet. Kontroller hydraulikvæskestanden, og påfyld efter behov for at sikre, at væskestanden er korrekt, efter at det hydrauliske system tages i brug første gang.
Note: Toro påtager sig intet ansvar for skader forårsaget af forkerte erstatningsprodukter. Brug derfor kun produkter fra producenter med et godt omdømme, som står bag deres anbefaling.
| Materialeegenskaber: | |||
| Viskositet, ASTM D445 | cSt ved 40º C 55 til 62cSt ved 100º C 9,1 til 9,8 | ||
| Viskositetsindeks ASTM D2270 | 140 til 152 | ||
| Flydepunkt, ASTM D97 | -37 °C til -43 °C | ||
| Branchespecifikationer: | |||
| API GL-4, AGCO Powerfluid 821 XL, Ford New Holland FNHA-2-C-201.00, Kubota UDT, John Deere J20C, Vickers 35VQ25 og Volvo WB-101/BM | |||
Note: Mange hydraulikvæsker er næsten farveløse, og det kan derfor være svært at få øje på lækager. Der kan fås et rødt tilsætningsstof til hydraulikolien i flasker med 20 ml. En flaske er nok til 15 til 22 l hydraulikolie. Bestil delnr. 44-2500 hos din autoriserede Toro-forhandler.
Vær yderst forsigtig, når du håndterer brændstof. Det er letantændeligt, og dampene kan eksplodere.
Sluk alle cigaretter, cigarer, piber og andre antændingskilder.
Brug kun en godkendt brændstofbeholder.
Fjern ikke brændstofdækslet, og fyld ikke brændstoftanken, mens motoren kører eller er varm.
Du må ikke påfylde eller aftappe brændstof i et lukket rum.
Opbevar ikke maskinen eller brændstofbeholdere, hvor der er åben ild, gnister eller vågeblus som f.eks. på en vandvarmer eller andre apparater.
Hvis du spilder brændstof, må du ikke forsøge at starte motoren. Foretag dig ikke noget, der kan antænde brændstoffet, før dampene er spredt.
Brændstoftankens kapacitet: 6,1 l
Anbefalet brændstof:
Du opnår de bedste resultater ved kun at bruge ren og frisk (højst 30 dage gammel) blyfri benzin med et oktantal på 87 eller højere ((R+M)/2-ratingmetode).
Ethanol: Benzin med op til 10 % ethanol (gasohol) eller 15 % MTBE (metyl-tertiær-butylæter) pr. volumen accepteres. Ethanol og MTBE er ikke det samme. Benzin med 15 % ethanol (E15) pr. volumen godkendes ikke til brug. Brug aldrig benzin, der indeholder mere end 10 % ethanol pr. volumen, som f.eks. E15 (indeholder 15 % ethanol), E20 (indeholder 20 % ethanol) eller E85 (indeholder op til 85 % ethanol). Hvis der anvendes ikke-godkendt benzin, kan det medføre ddriftproblemer og/eller beskadigelse af motoren, som muligvis ikke er dækket af garantien.
Anvend ikke benzin, der indeholder metanol.
Opbevar ikke brændstof i hverken brændstoftanken eller brændstofbeholdere hen over vinteren, medmindre du anvender en brændstofstabilisator.
Fyld ikke olie i benzin.
Benyt kun elektrolyt (vægtfylde 1,265) til at fylde batteriet med første gang.
Rengør batteriet ovenpå, og fjern ventilationshætterne (Figur 21).
Important: Tilføj ikke elektrolyt, mens batteriet sidder i maskinen. Du kan risikere at spilde og dermed forårsage korrosion.

Fyld forsigtigt hver celle med elektrolyt, indtil pladerne er dækket med ca. 6 mm væske (Figur 22).

Vent ca. 20 til 30 minutter, mens elektrolytten trænger ind i pladerne. Fyld efter behov for at bringe elektrolytstanden op til ca. 6 mm fra bunden af påfyldningshullet (Figur 22).
Opladning af batteriet producerer gasser, der kan eksplodere.
Der må aldrig ryges i nærheden af batteriet, og gnister og åben ild skal holdes væk fra batteriet.
Slut en 3-4 ampere batterioplader til batteripolerne. Oplad batteriet med 3 til 4 ampere, indtil vægtfylden er 1,250 eller højere, og temperaturen er mindst 16 °C, og lad gasserne fra alle celler spredes frit.
Når batteriet er opladet, tages opladeren ud af stikkontakten og frakobles batteripolerne.
Note: Når batteriet er blevet aktiveret, så påfyld kun destilleret vand for at erstatte normalt tab. Vedligeholdelsesfri batterier bør dog ikke kræve vand under normale driftsforhold.
Batteripoler eller metalværktøj kan kortslutte mod traktorens metaldele og forårsage gnister. Gnister kan få batterigasserne til at eksplodere og medføre personskade.
Når batteriet skal fjernes eller monteres, må batteriets poler ikke berøre nogen metaldele på traktoren.
Metalværktøj må ikke kortslutte mellem batteripolerne og traktorens metaldele.
Kobl trækbøjlen til bugseringskøretøjet. Den anvendte koblingstap skal være af høj styrke og godkendt til bugseringskøretøjer.
Tænd brændstofventilen, placer gashåndtaget i positionen for halv gas, aktiver chokeren, og start motoren. Når motoren starter, skal chokeren slukkes, og gashåndtaget øges til maksimum.
Afprøv maskindriften. Kontroller, at der ikke er hydrauliklækager, og foretag yderligere justeringer.
Når hydrauliksystemet er testet, skal hydraulikvæsken kontrolleres og efterfyldes om nødvendigt.
Note: Sørg for, at håndkontrollen og eventuelle ledninger ikke trækkes hen over jorden under driften.