Dieses Produkt entspricht allen relevanten europäischen Richtlinien. Weitere Informationen finden Sie in der Einbauerklärung am Ende dieses Dokuments.
KALIFORNIEN
Warnung zu Proposition 65
Die Motorauspuffgase dieses Produkts enthalten Chemikalien wirken laut den Behörden des Staates Kalifornien krebserregend, verursaschen Geburtsschäden oder andere Defekte des Reproduktionssystems.
Batteriepole, -klemmen und -zubehör enthalten Blei und Bleibestandteile. Dies sind Chemikalien, die laut den Behörden des Staates Kalifornien krebserregend sind und zu Erbschäden führen können. Waschen Sie sich nach dem Umgang mit diesen Materialien die Hände.
![]() |
Die Sicherheits- und Bedienungsaufkleber sind für den Bediener gut sichtbar und befinden sich in der Nähe der möglichen Gefahrenbereiche. Tauschen Sie beschädigte oder verloren gegangene Aufkleber aus. |





Important: Dieses Kit ist nur für einen ProPass geeignet, der als gezogene Maschine ausgeführt ist.
Für diesen Arbeitsschritt erforderliche Teile:
| Hydraulikbehälter | 1 |
| Schlauchführungsbefestigung | 1 |
Wird das Kit installiert, bevor alle externen Hydraulik- und Stromversorgungsquellen getrennt wurden, besteht die Gefahr von Stromschlägen und/oder unter Druck stehender Hydraulikflüssigkeit, die zu schweren oder tödlichen Verletzungen führen können.
Vor Installation des Hydraulikaggregats die externe Hydraulik- und Stromversorgung trennen.
Parken Sie die Maschine auf einer ebenen Fläche, senken Sie die Stütze ab und trennen Sie es von der Zugeinheit. Blockieren Sie die Räder vorn und hinten mit Unterlegkeilen.
Befolgen Sie die Anweisungen aus der Bedienungsanleitung für die Maschine, entfernen Sie den Doppel-Tellerstreuer und befestigen Sie die Hydraulik- und Rückführschläuche.
Important: Einige ProPass-Modelle sind mit einem Unterbau mit vorgebohrter Rückwand ausgestattet. Wenn Ihre Maschine mit einer vorgebohrten Chassisrückwand ausgestattet ist, siehe Montage des Motors.
Entfernen Sie die 2 Befestigungsschrauben aus der Chassisrückwand und bewahren Sie sie auf, damit der Hydraulikbehälter eingebaut werden kann.
Stellen Sie sicher, dass die Chassisrückwand für die Montage des Hydraulikbehälters frei ist.
Nehmen Sie den Hydraulikbehälter aus der Versandkiste.
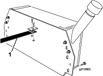
Stützen Sie den Hydraulikbehälter von unten ab und stellen ihn gegen die Chassisrückwand. Der Behälter sollte von der rechten und linken Seite zentriert sein und vertikal stehen (Bild 1).

Stellen Sie sicher, dass die Zulauf- und Auslaufanschlussstücke und die Befestigungshalterung der Schlauchführung ungehindert in die runden Löcher in der Chassisrückwand passen (Bild 2).

Stellen Sie sicher, dass der Hydraulikbehälter nivelliert ist.
Klemmen Sie den Hydraulikbehälter vorübergehend mit C-Klemmen oder ähnlichen Vorrichtungen an der Chassisrückwand fest.
Stellen Sie sicher, dass der Hydraulikbehälter immer noch nivelliert ist.
Markieren Sie die Stelle für die Befestigungslöcher des Hydraulikbehälters an der Chassisrückwand.
Lösen Sie die Klemmen und entfernen Sie den Hydraulikbehälter.
Stanzen Sie die markierten Lochstellen in der Mitte aus.
Bohren Sie an jeder markierten und gestanzten Stelle in der Chassisrückwand ein Loch (11 mm).
Entgraten Sie jedes Loch.
Für diesen Arbeitsschritt erforderliche Teile:
| Motorbaugruppe | 1 |
| Schraube (½" x 5") | 2 |
| Batterie | 1 |
| Batterieklemme | 1 |
| Batteriebefestigungsband | 1 |
| Batterieschraube | 2 |
| Batterieschraube Distanzstück | 2 |
| Scheibe | 2 |
| Bundmutter | 2 |
Stellen Sie sicher, dass das Anbauvorrichtungsrohr keinen Schmutz oder Rückstände aufweist.
Packen Sie den Motor aus.
Lösen Sie die zwei Schrauben und Muttern (nicht entfernen), mit denen die Befestigungshalterungen des Motors an der Motorbefestigungsplatte befestigt sind (Bild 3).

Entfernen Sie die 2 Muttern, mit denen die Befestigungsbänder der Batterie befestigt sind, und legen Sie die Muttern, Scheiben, und das Schraubenrohr zur Seite (Bild 4).

Entfernen Sie die Batterie und lassen Sie den Filter auf der Grundplatte aufsitzen.
Laden Sie die Batterie auf, siehe Aktivieren und Aufladen der Batterie.
Lassen Sie sich bei der Positionierung des Motors auf dem Anbauvorrichtungsrohr helfen.
Stellen Sie sicher, dass die Motorbefestigungshalterungen das Anbauvorrichtungsrohr (Bild 5) von beiden Seiten umschließen, und dass die Rückseite der Motorbefestigungsplatte ca. 25 mm vom Anschluss des Anbauvorrichtungsrohrs liegt (Bild 6).


Stecken Sie die zwei Bolzen (½" x 5") durch die Löcher in der Motorbefestigungshalterung und stellen Sie sicher, dass eine Flachscheibe an jeder Außenseite der Motorbefestigungshalterung angebracht ist, und dass die Bolzen unter dem Anbauvorrichtungsrohr verlaufen. Ziehen Sie die 2 Muttern (½") wie in Bild 7 dargestellt handfest an.

Verstellen Sie die Motorbefestigungshalterung so, dass sie eng an der Anbauvorrichtung anliegt. Ziehen Sie die beiden Schrauben, die Sie in Schritt 3 gelöst haben, vollständig an.
Prüfen Sie, ob die Motorbefestigungsplatte nivelliert ist, und ziehen Sie die zwei Schrauben (½" x 5") durch die unteren Löcher der Motorbefestigungshalterung vollständig fest.
Stellen Sie die Batterie auf das Batteriefach; die Pole sollten an der in Bild 8 dargestellten Stelle sein.
Setzen Sie die Batteriebefestigung auf die Batterie (Bild 8).
Halten Sie die Batteriebefestigungsriemen um die Unterseite des Anbauvorrichtungsrohrs (Bild 8).
Stecken Sie an der rechten Seite eine Batterieschraube durch die Scheibe, das Batteriebefestigungsband, die Motorbefestigungsplatte, das Batteriefach, und das Distanzstück der Batterieschraube, und halten Sie sie fest. Setzen Sie eine Bundmutter lose auf (Bild 8).
Note: Stellen Sie sicher, dass die Schrauben von unten eingesetzt sind.
Stecken Sie an der linken Seite eine Batterieschraube durch die Scheibe, das Batteriebefestigungsband, die Motorbefestigungsplatte, das Batteriefach, und das Distanzstück der Batterieschraube, und halten Sie sie fest. Setzen Sie eine Bundmutter lose auf (Bild 8).
Stellen Sie sicher, dass alle Teile mittig liegen, und ziehen Sie die Muttern an.

Für diesen Arbeitsschritt erforderliche Teile:
| Schlauchführung | 1 |
| Hydraulikrücklaufschlauch (Schlauch Nr. 3) | 1 |
| Hydraulikansaugschlauch (Schlauch Nr. 4) | 1 |
| Schraube (¼" x ¾") | 4 |
| Sicherungsmutter (¼") | 4 |
| Schraube (⅜" x 1") | 4 |
| Sicherungsmutter (⅜") | 4 |
| Flachscheibe | 4 |
Packen Sie die Schlauchführung, den Hydraulikrücklaufschlauch (Schlauch Nr. 3), den Hydraulikansaugschlauch (Schlauch Nr. 4), die vier Schrauben (¼" x ¾"), und die vier Sicherungsmuttern (¼") aus.
Note: Entfernen Sie den Schlauch, der für den Versand an der Schlauchführung, dem hydraulischen Rücklaufschlauch und dem hydraulischen Ansaugschlauch befestigt ist.
Befestigen Sie die Schlauchführung mit zwei Schrauben (¼" x ¾") und Sicherungsbundmutter an der Halterung am Hydraulikbehälter (Bild 9).

Note: Entfernen Sie die 2 Befestigungsschrauben von der Chassisrückwand. Verwenden Sie die entfernten Schrauben zur Befestigung des Behälters.
Packen Sie die vier Schrauben (⅜" x 1") und Nylonsicherungsmuttern aus. Stützen Sie den Hydraulikbehälter von unten ab und stecken Sie die Schlauchführung und die Hydraulikschläuche Nr. 3 und Nr. 4 durch das große mittlere Loch in der Chassisrückwand; stellen Sie den Hydraulikbehälter dann gegen die Chassisrückwand. Klemmen Sie den Hydraulikbehälter vorübergehend mit einer Klemme oder Schraube fest.
Note: Die Schlauchführung sollte durch das mittlere Loch an der Vorderseite des Chassis gesteckt werden. Sie benötigen ggf. 2 Personen.
Schließen Sie den Hydraulikrücklaufschlauch (Nr. 3) und den Hydraulikansaugschlauch (Nr. 4) an den entsprechenden Anschlussstücken am Hydraulikbehälter an.
Note: Schlauch Nr. 3 und Schlauch Nr. 4 haben unterschiedliche Anschlüsse; jeder Schlauch passt daher nur in das richtige Anschlussstück am Hydraulikbehälter.
Note: Achten Sie beim Befestigen der Schläuche darauf, dass ausreichend Platz für die Reifen vorhanden ist.
Die Schlauchführung sollte über der Lasche von der vertikalen Stütze des Batteriefachs sitzen (Bild 10). Wenn die Löcher in der Schlauchführung nicht mit den Löchern in der Batteriefachlasche übereinstimmen, können Sie die Länge der Schlauchführung einstellen. Lösen Sie die Schrauben, mit denen die Schlauchführung an der Halterung des Hydraulikbehälters befestigt ist, und schieben Sie die Schlauchführung nach vorne oder hinten.

Befestigen Sie die Schlauchführung mit zwei Schrauben (¼" x ¾") und Sicherungsbundmuttern an der Nase des Batteriefachs (Bild 10).
Befestigen Sie den Hydraulikbehälter mit den vorher entfernten Befestigungsschrauben, den Schrauben (⅜" x 1"), den Nylonsicherungsmuttern, und den Flachscheiben aus dem Kit an der Chassisrückwand.
Schließen Sie den Hydraulikschlauch Nr. 3 an den Filterauslass an (Bild 11).

Schließen Sie den Hydraulikschlauch Nr. 4 an der Ansaugseite der Hydraulikpumpe an (Bild 12).

An der SH-Version (Modell 44701): Entfernen Sie die Befestigungen, mit denen die Abdeckung vorne an der Maschine befestigt ist, und legen Sie die Abdeckung zur Seite (Bild 13).

Identifizieren Sie die Druck- und Rücklaufanschlüsse am Grundmodell der Maschine. Siehe Bild 14 für SH-Versionen und Bild 15 für EH-Versionen.


Wenn der Druck- und Rücklaufschlauch bereits an den Stellen angeschlossen sind, die in Bild 14 und Bild 15 dargestellt sind, entfernen Sie sie.
Note: Stellen Sie sicher, dass die Schläuche keine heißen, scharfen, oder bewegliche Teile berühren. Versuchen Sie, den größtmöglichen Abstand vom Auspuff zu erreichen.
Schließen Sie die Hydraulikschläuche am hydraulischen Bedienfeld an. Siehe Bild 14 und Bild 16 für SH-Versionen und Bild 15 und Bild 17 für EH-Versionen.


Ziehen Sie alle hydraulischen Anschlüsse und Befestigungen an.
Bauen Sie den Doppel-Tellerstreuer wieder an.
Schließen Sie das schwarze Kabel und das schwarze, bereit verlegte Kabel am Minuspol der Batterie an; schließen Sie das weiße Kabel und das rote, bereits verlegte Kabel am Pluspol der Batterie an.
Stecken Sie den Zwischen-Kabelbaum in den Stromkabelbaumanschluss der Maschine (Bild 18 oder Bild 19).


Füllen Sie ca. 1 L Öl mit der richtigen Viskosität in den Motor, bevor Sie beginnen; siehe Warten des Motoröls.
Important: Der Motor wird werksseitig ohne Öl ausgeliefert. Wenn Sie versuchen, den Motor zu starten, ohne vorher Öl einzufüllen, verursachen Sie Motorschäden.
Prüfen Sie den Ölstand vor dem ersten Anlassen des Motors, siehe Warten des Motoröls.
Füllen Sie den Hydraulikbehälter mit dem richtigen Hydrauliköl, siehe Warten der Hydraulikanlage.
Important: Die Hydraulikanlage wird erst beim Start der Anlage ganz mit Öl gefüllt. Prüfen Sie nach der ersten Verwendung den Hydraulikölstand und füllen Sie nach Bedarf Öl nach, um sicherzustellen, dass der Stand korrekt ist.
Stellen Sie sicher, dass alle Steuersysteme abgeschaltet sind, wenn Sie am Aggregat arbeiten.
Important: Der Motor wird ohne Öl ausgeliefert. Lesen Sie die Bedienungsanleitung für weitere Informationen.
Der Motor wird werksseitig ohne Öl ausgeliefert; vor dem ersten Anlassen müssen Sie ca. 1 L Öl einfüllen.
Prüfen Sie den Ölstand vor dem ersten Anlassen des Motors und dann täglich.
Verwenden Sie für den Motor nur hochwertige, waschaktive Öle, die die Klassifizierung SJ oder SL oder gleichwertig vom American Petroleum Institute (API) haben. Sie müssen die Viskosität des Öls bzw. dessen Gewicht gemäß der Umgebungstemperatur auswählen. Bild 20 verdeutlicht die Empfehlungen zur Temperatur bzw. Viskosität.

Positionieren Sie die Maschine so, dass der Motor nivelliert ist.
Reinigen Sie den Bereich um den Öldeckel bzw. Peilstab.
Drehen Sie den Öldeckel bzw. Peilstab nach links, um ihn abzunehmen.
Wischen Sie den Stab ab und stecken Sie ihn in den Einfüllstutzen ein. Drehen Sie ihn nicht in den Einfüllstutzen ein.
Entfernen Sie den Peilstab und prüfen den Ölstand.
Wenn der Ölstand nahe der unteren Markierung am Peilstab oder darunter liegt, füllen Sie Öl auf, bis der Ölstand an der oberen Markierung liegt.
Important: Das Kurbelgehäuse nicht überfüllen.
Prüfen Sie den Ölstand im Motor erneut.
Setzen Sie den Öldeckel bzw. Peilstab ein und wischen Sie verschüttetes Öl auf.
Important: Stellen Sie sicher, dass der Ölstand richtig ist. Wenn der Motorölstand nicht korrekt ist, springt der Motor nicht an.
Die Maschine wird werksseitig ohne Hydrauliköl ausgeliefert; Sie müssen daher 32,9 L hochwertiges Hydrauliköl einfüllen. Prüfen Sie den Hydraulikölstand vor dem ersten Anlassen der Maschine und dann täglich. Verwenden Sie die folgenden Hydraulikflüssigkeiten:
| Toro Premium Getriebe-, Hydrauliktraktoröl (erhältlich in Eimern mit 19 l oder Fässern mit 208 l. Die Bestellnummern finden Sie im Ersatzteilkatalog oder wenden Sie sich an den Toro-Vertragshändler.) |
Ersatzöle: Wenn das Öl von Toro nicht erhältlich ist, können Sie andere UTHF-Hydraulikflüssigkeiten verwenden, wenn die Spezifikationen für alle folgenden Materialeigenschaften im aufgeführten Bereich liegen und die Industrienormen erfüllen. Wir empfehlen, kein Synthetiköl zu verwenden. Wenden Sie sich an den Ölhändler, um einen entsprechenden Ersatz zu finden.
Important: Die Hydraulikanlage wird erst beim Start der Anlage ganz mit Öl gefüllt. Prüfen Sie nach der ersten Verwendung den Hydraulikölstand und füllen Sie nach Bedarf Öl nach, um sicherzustellen, dass der Stand korrekt ist.
Note: Toro haftet nicht für Schäden, die aus einer unsachgemäßen Substitution entstehen. Verwenden Sie also nur Erzeugnisse namhafter Hersteller, die für die Qualität ihrer Produkte garantieren.
| Materialeigenschaften: | |||
| Viskosität, ASTM D445 | cSt @ 40 °C 55 bis 62cSt @ 100°C 9,1 bis 9,8 | ||
| Viskositätsindex ASTM D2270 | 140 bis 152 | ||
| Stockpunkt, ASTM D97 | -37 °C bis -43 °C | ||
| Branchenspezifikationen: | |||
| API GL-4, AGCO Powerfluid 821 XL, Ford New Holland FNHA-2-C-201,00, Kubota UDT, John Deere J20C, Vickers 35VQ25 und Volvo WB-101/BM. | |||
Note: Viele Hydraulikölsorten sind fast farblos, was das Erkennen von undichten Stellen erschwert. Als Beimischmittel für die Hydraulikanlage können Sie ein rotes Färbmittel in 20 ml Flaschen beziehen. Eine Flasche reicht für 15-22 l Hydrauliköl. Sie können es mit der Bestellnummer 44-2500 vom offiziellen Toro-Vertragshändler beziehen.
Seien Sie besonders vorsichtig beim Umgang mit Kraftstoff. Kraftstoff ist brennbar und die Dämpfe sind explosiv.
Machen Sie alle Zigaretten, Zigarren, Pfeifen und andere Zündquellen aus.
Verwenden Sie nur einen vorschriftsmäßigen Benzinkanister.
Entfernen Sie nie den Tankdeckel oder füllen den Kraftstofftank, wenn der Motor läuft oder heiß ist.
Füllen Sie Kraftstoff nicht in einem geschlossenen Raum auf oder lassen ihn ab.
Lagern Sie die Maschine oder den Benzinkanister nie an Orten mit offener Flamme, Funken oder Zündflamme, z. B. Warmwasserbereiter, oder anderen Geräten.
Versuchen Sie niemals, bei Kraftstoffverschüttungen den Motor anzulassen. Vermeiden Sie Zündquellen, bis die Verschüttung verdunstet ist.
Fassungsvermögen des Kraftstofftanks: 6,1 Liter
Empfohlener Kraftstoff:
Die besten Ergebnisse erhalten Sie, wenn Sie sauberes, frisches (höchstens 30 Tage alt), bleifreies Benzin mit einer Mindestoktanzahl von 87 (R+M)/2 verwenden.
Ethanol: Kraftstoff, der mit 10 % Ethanol oder 15 % MTBE (Methyl-tertiär-Butylether) per Volumenanteil angereichert ist, ist auch geeignet. Ethanol und MTBE sind nicht dasselbe. Benzin mit 15 % Ethanol (E15) per Volumenanteil kann nicht verwendet werden. Verwenden Sie nie Benzin, das mehr als 10 % Ethanol (Volumenanteil) enthält, z. B. E15 (enthält 15 % Ethanol), E20 (enthält 20 % Ethanol) oder E85 (enthält 85 % Ethanol). Die Verwendung von nicht zugelassenem Benzin kann zu Leistungsproblemen und/oder Motorschäden führen, die ggf. nicht von der Garantie abgedeckt sind.
Verwenden Sie kein Benzin mit Methanol.
Lagern Sie keinen Kraftstoff im Kraftstofftank oder in Kraftstoffbehältern über den Winter, wenn Sie keinen Kraftstoffstabilisator verwenden.
Vermischen Sie nie Benzin mit Öl.
Füllen Sie die Batterie anfänglich nur mit Elektrolyt (spezifisches Gewicht von 1,265).
Reinigen Sie die Oberseite der Batterie und nehmen Sie die Entlüftungsdeckel ab (Bild 21).
Important: Füllen Sie keine Batteriesäure ein, wenn die Batterie noch in der Maschine eingesetzt ist. Sie könnten Batteriesäure verschütten und Korrosion verursachen.

Füllen Sie vorsichtig Elektrolyt in jede Zelle ein, bis die Platten mit ungefähr 6 mm Flüssigkeit bedeckt sind (Bild 22).

Lassen Sie die Elektrolytflüssigkeit für 20 bis 30 Minuten in die Platten durchtränken. Füllen Sie nach Bedarf auf, um den Elektrolytstand auf ungefähr 6 mm unter den Einfüllstutzen anzuheben (Bild 22).
Beim Laden der Batterie werden Gase erzeugt, die explodieren können.
Rauchen Sie nie in der Nähe der Batterie und halten Sie Funken und offenes Feuer von der Batterie fern.
Schließen Sie ein 3- bis 4-A-Ladegerät an die Batteriepole an. Laden Sie die Batterie mit 3 bis 4 Ampere auf, bis die relative Dichte mindestens 1,250 und die Temperatur mindestens 16 °C beträgt; die Gasentwicklung sollte in allen Zellen ungehindert sein.
Ziehen Sie, wenn die Batterie voll geladen ist, den Netzstecker des Ladegeräts und klemmen dieses von den Batteriepolen ab.
Note: Füllen Sie nach dem Aktivieren der Batterie nur destilliertes Wasser nach, um normalen Verlust auszugleichen. Wartungsfreie Batterien sollten jedoch bei normalen Einsatzbedingungen kein Wasser benötigen.
Batteriepole und Metallwerkzeuge können an metallischen Traktorteilen Kurzschlüsse verursachen und Funken erzeugen. Funken können zum Explodieren der Batteriegase führen, was Verletzungen zur Folge haben kann.
Vermeiden Sie, wenn Sie eine Batterie ein- oder ausbauen, dass die Batteriepole mit metallischen Traktorteilen in Berührung kommen.
Vermeiden Sie Kurzschlüsse zwischen metallischen Werkzeugen, den Batteriepolen und metallischen Traktorteilen.
Verbinden Sie die Anhängerkupplung mit dem Zugfahrzeug. Verwenden Sie einen starken Anbauvorrichtungsstift, der für Zugfahrzeuge zugelassen ist.
Drehen Sie den Kraftstoffhahn auf, stellen Sie den Gasbedienungshebel in die mittlere Stellung, aktivieren Sie den Choke und lassen Sie den Motor an. Schalten Sie den Choke nach dem Anspringen des Motors aus und stellen Sie die Gasbedienung auf die höchste Stellung.
Prüfen Sie den Betrieb der Maschine. Stellen Sie sicher, dass keine Hydrauliklecks bestehen und machen Sie die erforderlichen Einstellungen.
Nach dem Testen der Hydraulikanlage sollten Sie das Hydrauliköl prüfen und ggf. auffüllen.
Note: Stellen Sie sicher, dass das Bedienfeld und Kabel beim Betrieb nicht den Boden berühren.