Stellen Sie die Maschine auf einer ebenen Fläche ab.
Stellen Sie den Motor ab, aktivieren Sie die Feststellbremse und ziehen Sie den Schlüssel ab.
Trennen Sie die Batterie ab, siehe Abschnitt über die Wartung der Elektroanlage in der Bedienungsanleitung der Zugmaschine.
Vergewissern Sie sich, dass die folgenden Kits in Ihrer Maschine installiert sind:
Universal-Sonnendach (Modell 30671 oder 30669)
Schalterplattenkit (Modell 03248)
Stromkabelbaumkit: In der folgenden Tabelle finden Sie das passende Kit für Ihre Zugmaschine:
| Zugmaschine | Stromkabelbaumkit |
| Reelmaster 3000 Serie | 138-2993 |
| Reelmaster 5000 Serie | 138-2994 |
| Groundsmaster 4500, 4700 und Reelmaster 7000 Serie | 138-2995 |
| Groundsmaster 7200 Serie | 138-2996 |
| Multi Pro 1750 | 138-2999 |
| Groundsmaster 5900 Serie | 138-3002 |
Für diesen Arbeitsschritt erforderliche Teile:
| Rundumleuchte | 1 |
| Rundumleuchtenanschluss | |
| Rundumleuchtenhalterung | 1 |
| Rundumleuchtenfassung | 1 |
| Lange Schlossschraube | 1 |
| Kurze Schlossschraube | 1 |
| Bundmutter | 2 |
| Kabelbaum | 1 |
| Kabelbinder | 6 |
| Schalter | 1 |
| Sicherung (15 A) | 1 |
Note: In den Abbildungen für diesen Schritt wird eine Zugmaschine der Serie Reelmaster 5010 gezeigt. Ihre Maschine sieht ggf. anders aus.
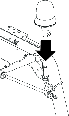
Befestigen Sie die Halterung mit einer langen Schlossschraube, einer kurzen Schlossschraube, einem Distanzstück und zwei Bundmuttern am Sonnendachrahmen.
Note: Wenn die Arbeitsscheinwerfer an der Maschine montiert sind, verwenden Sie die Lampenhalterung und nicht die Rundumleuchtenhalterung (Bild 4).


Entfernen Sie den Rundumleuchtenanschluss aus der Rundumleuchtenfassung (Bild 5).

Verlegen Sie den Kabelbaum durch die Mutter, die Unterlegscheibe und den Sockel der Rundumleuchtenfassung. Schließen Sie die Klemmen am Stecker der Rundumleuchte an (Bild 6).
Note: Schließen Sie das lila Kabel an der mittleren Anschlussklemme am Rundumleuchtenanschluss und das schwarze Kabel außen an der Anschlussklemme am Rundumleuchtenanschluss an.

Drehen Sie die Rundumleuchtenfassung, um den Rundumleuchtenanschluss in die Rundumleuchtenfassung zu stecken (Bild 7).
Note: Dies verhindert, dass das Kabelbaum verdreht wird.

Bringen Sie die Rundumleuchtenfassung an der Halterung an, wie in Bild 8 abgebildet.
Note: Wenn die Arbeitsscheinwerfer an der Maschine montiert sind, verwenden Sie die Lampenhalterung und nicht die Rundumleuchtenhalterung (Bild 4).

Stecken Sie die Rundumleuchte in die Fassung und ziehen Sie die Flügelmutter an (Bild 9).

Stecken Sie den Anschluss am Rundumleuchten-Kabelbaum in den Anschluss am Kabelbaum der Schalterplatte (Bild 10).
Verlegen Sie den Rundumleuchten-Kabelbaum, wie in Bild 10 abgebildet, und befestigen Sie ihn mit Kabelbindern.

Entfernen und werfen Sie die Blende von der leeren Stelle vorne links in der Schalterplatte weg (Bild 11).
Note: Befestigen Sie den Schalter so, dass das dickere, abgerundete Teil zum Heck der Maschine zeigt

Stecken Sie den elektrischen Anschluss in den Schalter und befestigen Sie den Schalter in der Schalterplatte (Bild 11).
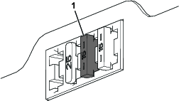
Setzen Sie die Sicherung (15 A) in den dritten Einschub von links ein (wenn Sie auf den Sicherungskasten schauen) (Bild 12).
Note: Die Sicherung muss nicht eingesetzt werden, wenn eine Sicherung bereits von einem anderen Kit von Toro eingesetzt wurde.

Schließen Sie die Batterie an, siehe Abschnitt über die Wartung der Elektroanlage in der Bedienungsanleitung.
Fluchten Sie die Löcher in den Scheiben des Sonnendachs mit den vier Clipmuttern an den Seitenrahmenkanälen aus.
Montieren Sie das Sonnendach mit den vier Bundkopfschrauben (5/16" x 1¼") und den vier Scheiben (5/16"), die Sie vorher entfernt haben, an den Rahmenkanälen (Bild 2).
Ziehen Sie die Bundkopfschrauben bis auf 10-14 N∙m an.
Mit dem Schlüssel in der EIN-Stellung.
Drücken Sie hinten auf den Schalter, um die Rundumleuchte einzuschalten.
Drücken Sie vorne auf den Schalter, um die Rundumleuchte auszuschalten.