Parkeer de machine op een horizontaal oppervlak.
Schakel de motor uit, schakel de parkeerrem in, en verwijder het contactsleuteltje.
Maak de accukabels los; zie de paragraaf in de Gebruikershandleiding van de tractie-eenheid over het onderhoud van het elektrische systeem.
Zorg ervoor dat the volgende sets op uw machine zijn gemonteerd:
Universeel zonnescherm (Model 30671 of 30669)
Set met bedieningspaneel (Model 03248)
Voedingskabelboom; raadpleeg de onderstaande tabel voor de juiste set voor uw tractie-eenheid:
| Tractie-eenheid | Voedingskabelboom |
| Reelmaster 3000 serie | 138-2993 |
| Reelmaster 5000 serie | 138-2994 |
| Groundsmaster 4500, 4700 en Reelmaster 7000 serie | 138-2995 |
| Groundsmaster 7200 serie | 138-2996 |
| Multi Pro 1750 | 138-2999 |
| Groundsmaster 5900 serie | 138-3002 |
Benodigde onderdelen voor deze stap:
| Zwaailicht | 1 |
| Zwaailichtaansluiting | |
| Beugel van het zwaailicht | 1 |
| Voet van zwaailicht | 1 |
| Lange slotbout | 1 |
| Korte slotbout | 1 |
| Flensmoer | 2 |
| Kabelboom | 1 |
| Kabelbinders | 6 |
| Schakelaar | 1 |
| Zekering (15 A) | 1 |
Note: De illustraties in deze procedure tonen een Reelmaster 5010 tractie-eenheid. Uw machine kan afwijken.
Monteer de beugel op het zonnescherm frame met een lange slotbout, korte slotbout, afstandsstuk, en 2 flensmoeren.
Note: Als uw machine is voorzien van een werkverlichtingsset, gebruik dan de beugel van deze set in plaats van de beugel van het zwaailicht (Figuur 4).


Verwijder de zwaailichtaansluiting van de zwaailichtvoet (Figuur 5).

Leid de kabelboom naar boven, door de moer, onderlegring en zwaailichtvoet. Sluit deze aan op de connector van het zwaailicht (Figuur 6).
Note: Monteer de violette draad op de middelste aansluiting van de zwaailichtaansluiting en de zwarte draad op de buitenkant van de aansluiting van de zwaailichtaansluiting.

Monteer de zwaailichtaansluiting in de zwaailichtvoet door de voet te draaien (Figuur 7).
Note: Dit voorkomt verdraaiing van de kabelboom.

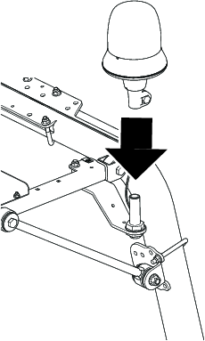
Monteer de zwaailichtvoet op de beugel zoals in Figuur 8.
Note: Als uw machine is voorzien van een werkverlichtingsset, gebruik dan de beugel van deze set in plaats van de beugel van het zwaailicht (Figuur 4).

Plaats het zwaailicht in de voet en draai de vleugelmoer aan (Figuur 9).

Sluit de connector van de kabelboom van het zwaailicht in de connector op de kabelboom van het schakelaarpaneel (Figuur 10).
Leid de kabelboom van het zwaailicht zoals in Figuur 10 en zet deze vast met kabelbinders.

Verwijder de plug linksvoor in het schakelaarpaneel en gooi deze weg (Figuur 11).
Note: Monteer de schakelaar zo dat het dikkere, ronde deel naar de achterkant van de machine wijst

Steek de connector op de schakelaar en monteer de schakelaar in het schakelaarpaneel (Figuur 11).
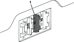
Plaats de zekering (15 A) in de derde positie (geteld van links) in de zekeringhouder (Figuur 12).
Note: Mogelijk is het niet nodig deze zekering te plaatsen omdat er al een zekering voor een andere Toro set aanwezig is.

Koppel de accu aan; raadpleeg het onderdeel onderhoud elektrisch systeem van uw Gebruikershandleiding.
Lijn de gaten in de rubbers in het zonnescherm uit met de 4 kooimoeren in de kanalen van het zijframe.
Monteer het zonnescherm op de kanalen van het frame (Figuur 2) met de 4 flenskopbouten (5/16" x 1¼") en 4 onderlegringen (5/16") die u eerder heeft verwijderd.
Draai de flenskopbouten aan tot 10 - 14 N·m.
Met het sleuteltje in de AAN positie:
Druk op de achterkant van de schakelaar om het zwaailicht in te schakelen.
Druk op de voorkant van de schakelaar om het zwaailicht uit te schakelen.