Estacione a máquina numa superfície nivelada.
Desligue o motor, engate o travão de estacionamento e retire a chave.
Desligue a bateria; consulte a secção de manutenção do sistema elétrico, no Manual do utilizador da unidade de tração.
Certifique-se de que os kits seguintes estão instalados na sua máquina:
Toldo universal (Modelo 30671 ou 30669)
Kit do painel de interruptores (Modelo 03248)
Kit de cablagem da alimentação; consulte a tabela seguinte para obter o kit adequado para a sua unidade de tração:
| Unidade de tração | Kit de cablagem da alimentação |
| Reelmaster série 3000 | 138-2993 |
| Reelmaster série 5000 | 138-2994 |
| Groundsmaster série 4500, 4700 e Reelmaster série 7000 | 138-2995 |
| Groundsmaster série 7200 | 138-2996 |
| Multi Pro 1750 | 138-2999 |
| Groundsmaster série 5900 | 138-3002 |
Peças necessárias para este passo:
| Sinal luminoso | 1 |
| Conector do sinal luminoso | |
| Suporte do sinal luminoso | 1 |
| Tomada do farol rotativo | 1 |
| Parafuso grande de carroçaria | 1 |
| Parafuso pequeno de carroçaria | 1 |
| Porca flangeada | 2 |
| Cablagem | 1 |
| Braçadeiras de cabos | 6 |
| Interruptor | 1 |
| Fusível (15 A) | 1 |
Note: As ilustrações deste procedimento mostram uma unidade de tração da série Reelmaster 5010. A sua máquina pode ser diferente.
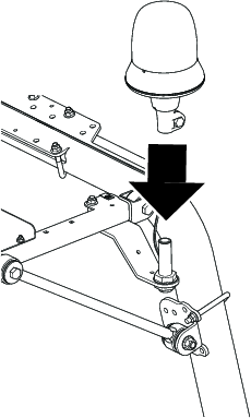
Fixe o suporte à estrutura do toldo com um parafuso de carroçaria comprido, um parafuso de carroçaria curto, um espaçador e 2 porcas flangeadas.
Note: Se a máquina estiver equipada com um kit de luzes de trabalho, utilize o suporte da luz em vez do suporte do sinal luminoso (Figura 4).


Retire o conector do sinal luminoso da tomada do sinal luminoso (Figura 5).

Encaminhe a cablagem através da porca, da anilha e da tomada do sinal luminoso. Ligue os terminais ao conector do sinal luminoso (Figura 6).
Note: Instale o fio violeta no terminal central do conector do sinal luminoso e o fio preto ao exterior do terminal no conector do sinal luminoso.

Instale o conector do sinal luminoso na tomada do sinal luminoso rodando a tomada do sinal luminoso (Figura 7).
Note: Isto impede que a cablagem fique torcida.

Instale o suporte do sinal luminoso no suporte como se mostra na Figura 8.
Note: Se a máquina estiver equipada com um kit de luzes de trabalho, utilize o suporte da luz em vez do suporte do sinal luminoso (Figura 4).

Instale o sinal luminoso na tomada e aperte a porca de orelhas (Figura 9).

Ligue o conector na cablagem do sinal luminoso ao conector na cablagem do painel de interruptores (Figura 10).
Encaminhe a cablagem do sinal luminoso conforme se mostra na Figura 10 e prenda com as braçadeiras.

Retire e deite fora o tampão do espaço esquerdo dianteiro do painel de interruptores (Figura 11).
Note: Instale o interruptor de modo a que a parte mais grossa e redonda fique virada para a traseira da máquina.

Ligue o conector elétrico ao interruptor e instale o interruptor no painel de interruptores (Figura 11).
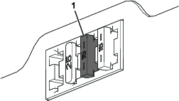
Insira o fusível (15 A) na terceira posição a partir da esquerda quando olhar de frente para o bloco de fusíveis (Figura 12).
Note: Se um fusível já tiver sido instalado de outro kit Toro, pode não ser necessário instalá-lo agora.

Ligue a bateria; consulte a secção de manutenção do sistema elétrico do Manual do utilizador.
Alinhe os furos nos olhais do toldo com as quatro porcas de clipe dos canais da estrutura lateral.
Monte o toldo nos canais da estrutura (Figura 2) com os quatro parafusos de cabeça flangeada (5/16 x 1¼ pol.) e as quatro anilhas (5/16 pol.) que retirou anteriormente.
Aperte os parafusos de cabeça flangeada com uma força de 10 a 14 N∙m.
Com a chave na posição ON (ligar):
Prima a traseira do interruptor para ligar o sinal luminoso.
Prima a dianteira do interruptor para desligar o sinal luminoso.