Parcheggiate la macchina su un terreno pianeggiante.
Spegnete il motore, inserite il freno di stazionamento e togliete la chiave.
Scollegate la batteria; fate riferimento alla sezione relativa alla manutenzione del sistema elettrico nel Manuale dell’operatore del vostro trattorino.
Assicuratevi che i seguenti kit siano installati sulla vostra macchina:
Parasole universale (modello 30671 o 30669)
Kit pannello interruttori (modello 03248)
Kit cablaggio di alimentazione; fate riferimento alla tabella seguente per il kit adeguato per il vostro trattorino:
| Trattorino | Kit cablaggio di alimentazione |
| Reelmaster Serie 3000 | 138-2993 |
| Reelmaster Serie 5000 | 138-2994 |
| Groundsmaster 4500, 4700 e Reelmaster Serie 7000 | 138-2995 |
| Groundsmaster Serie 7200 | 138-2996 |
| Multi Pro 1750 | 138-2999 |
| Groundsmaster Serie 5900 | 138-3002 |
Parti necessarie per questa operazione:
| Lampada di segnalazione | 1 |
| Connettore della luce di segnalazione | |
| Staffa della luce di segnalazione | 1 |
| Attacco della luce di segnalazione | 1 |
| Bullone a testa tonda lungo | 1 |
| Bullone a testa tonda corto | 1 |
| Dado flangiato | 2 |
| Cablaggio preassemblato | 1 |
| Fascette per cavi | 6 |
| Interruttore | 1 |
| Fusibile (15 A) | 1 |
Note: Le illustrazioni in questa procedura mostrano un trattorino Reelmaster serie 5010. La vostra macchina potrebbe avere un aspetto differente.
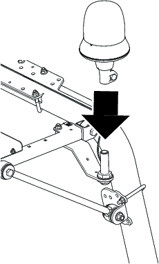
Fissate la staffa al telaio del parasole con una vite a testa tonda lunga, una vite a testa tonda corta, un distanziale e 2 dadi flangiati.
Note: Se sulla vostra macchina è installato un kit delle luci di lavoro, utilizzate la staffa delle luci al posto della staffa della luce di segnalazione (Figura 4).


Rimuovete il connettore della luce di segnalazione dal relativo attacco (Figura 5).

Disponete il cablaggio preassemblato attraverso il dado, la rondella e l'attacco della luce di segnalazione. Collegate i terminali al connettore della luce di segnalazione (Figura 6).
Note: Montate il filo violetto sul morsetto centrale sul connettore della luce di segnalazione e il filo nero sul lato esterno del morsetto sul connettore della luce di segnalazione.

Montate il connettore della luce di segnalazione nel relativo attacco, ruotando l’attacco (Figura 7).
Note: In questo modo eviterete che il cablaggio preassemblato si attorcigli.

Montate l’attacco della luce di segnalazione come illustrato nella Figura 8.
Note: Se sulla vostra macchina è installato un kit delle luci di lavoro, utilizzate la staffa delle luci al posto della staffa della luce di segnalazione (Figura 4).

Montate la luce di segnalazione sull’attacco e serrate il dado ad alette (Figura 9).

Collegate il connettore sul cablaggio preassemblato della luce di segnalazione nel connettore sul cablaggio del pannello interruttori (Figura 10).
Instradate il cablaggio preassemblato della luce di segnalazione come illustrato nella Figura 10 e fissatelo con fascette per cavi.

Rimuovete ed eliminate il tappo dalla parte anteriore sinistra del pannello interruttori (Figura 11).
Note: Montate l’interruttore in modo che la parte più spessa e arrotondata sia orientata verso il retro della macchina.

Inserite il connettore elettrico nell’interruttore e montate l'interruttore nel relativo pannello (Figura 11).
Inserite il fusibile (15 A) nella terza posizione da sinistra rispetto al portafusibili (Figura 12).
Note: Potrebbe non essere necessario montare il fusibile se ne è già stato montato uno di un altro kit Toro.

Collegate la batteria; fate riferimento alla sezione relativa alla manutenzione del sistema elettrico del vostro Manuale dell’operatore.
Allineate i fori dei gommini del parasole con i 4 dadi in gabbia delle canaline del telaio laterale.
Montate il parasole sulle canaline del telaio (Figura 2) con i 4 bulloni a testa flangiata (5/16" x 1¼") e le 4 rondelle (5/16") rimossi in precedenza.
Serrate i bulloni a testa flangiata a una coppia compresa tra 10 e 14 N∙m.
Con la chiave in posizione di ACCENSIONE:
Premete sul retro dell'interruttore per accendere la luce di segnalazione.
Premete sulla parte anteriore dell'interruttore per spegnere la luce di segnalazione.