平らな場所に駐車する。
エンジンを停止し、駐車ブレーキを掛け、キーを抜き取る。
バッテリーの接続を外す; トラクションユニットのオペレーターズマニュアルの電気系統の整備の項を参照。
次のキットがマシンに搭載されていることを確認してください。
ユニバーサルサンシェード(モデル30671または30669)
スイッチパネルキット (モデル 03248)
パワーハーネスキット;トラクションユニットに適したキットについては、次の表を参照してください。
| トラクションユニット | 電源ハーネスキット |
| Reelmaster 3000シリーズ | 138-2993 |
| Reelmaster 5000シリーズ | 138-2994 |
| Groundsmaster 4500, 4700およびReelmaster 7000シリーズ | 138-2995 |
| Groundsmaster 7200シリーズ | 138-2996 |
| マルチプロ 1750 | 138-2999 |
| Groundsmaster 5900シリーズ | 138-3002 |
この作業に必要なパーツ
| ビーコン | 1 |
| ビーコン用コネクタ | |
| ビーコンブラケット | 1 |
| ビーコンのソケット | 1 |
| 長いキャリッジボルト | 1 |
| 短いキャリッジボルト | 1 |
| フランジナット | 2 |
| ワイヤハーネス | 1 |
| ケーブルタイ | 6 |
| スイッチ | 1 |
| ヒューズ(15 A) | 1 |
Note: ここで説明する取り付け手順は、リールマスター 5010 シリーズのトラクションユニット用のものです。他の機種では形状などが異なる場合があります。
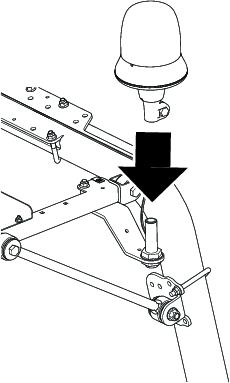
長いキャリッジ ボルト、短いキャリッジ ボルト、スペーサー、およびフランジ ナット2個を使ってブラケットをサンシェードフレームに固定します。
Note: マシンに作業用照明キットが取り付けられている場合は、ビーコンブラケットの代わりに照明ブラケットを使用します (図 4)。


ビーコンのソケットからビーコン用コネクタを外す(図 5)。

ワイヤーハーネスをナット、ワッシャー、ビーコンソケットの上を通して配線します。端子をビーコンコネクタ(図 6)に接続します。
Note: ビーコンのコネクタの中央の端子に紫色のコード、周囲の端子に黒色のコードを接続する。

ビーコン用ソケットとコネクタとを接続する(ソケットの方を回すこと)(図 7)。
Note: これは、ワイヤハーネスがよじれないようにするためです。

図 8のように、ビーコン用ソケットをブラケットに取り付ける。
Note: マシンに作業用照明キットが取り付けられている場合は、ビーコンブラケットの代わりに照明ブラケットを使用します (図 4)。

ビーコンをソケットに接続し、蝶ナットで固定する(図 9)。

ビーコン用ハーネスのコネクタを、スイッチパネルのハーネスのコネクタに接続する(図 10)。
ビーコン用ワイヤハーネスを 図 10 のように配設し、ケーブルタイで固定する。

スイッチパネルの左前についているプラグを外して捨てる(図 11)。
Note: スイッチを取り付ける。丸くて厚みのある方が機体の後方を向くように取り付ける。

スイッチにコネクタを嵌め、スイッチをパネルに取り付ける(図 11)。
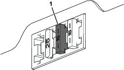
ヒューズブロックの左から 3 番めのスロットにヒューズ(15 A)を取り付ける(図 12)。
Note: Toro の他のキットを既に取り付けているマシンでは、ヒューズの取り付けが不要な場合もあります。

バッテリーを接続する; トラクションユニットのオペレーターズマニュアルの電気系統の整備の項を参照。
サンシェードのハトメの穴を、サイドフレームチャネルについている4つのクリップナットに合わせる。
サンシェードをフレームチャネルに取り付ける(図 2);外してあったフランジヘッドボルト(5/16 x 1¼")4 本とワッシャ(5/16")4 枚を使用する。
フランジヘッドボルトを 10-14 N·m(1.0-1.3 kg.m = 90-120 in-lb)にトルク締めする。
キーをオンの位置に回します。
スイッチの後側を押すとビーコンが点灯します。
スイッチの前側を押すとビーコンが消灯します。