Parker maskinen på en jevn flate.
Slå av motoren, sett på parkeringsbremsen og ta ut nøkkelen.
Koble fra batteriet. Se delen om vedlikehold av trekkenhetens elektriske system i brukerhåndboken.
Påse at de følgende sett er montert på maskinen:
Universell solskjerm (modell 30671 eller 30669)
Bryterpanelsett (modell 03248)
Strømledningssatssett; Se følgende tabell for passende sett for trekkenheten:
| Trekkenhet | Strømledningssatssett |
| Reelmaster 3000-serie | 138-2993 |
| Reelmaster 5000-serie | 138-2994 |
| Groundsmaster 4500-, 4700- og Reelmaster 7000-serien | 138-2995 |
| Groundsmaster 7200-serien | 138-2996 |
| Multi Pro 1750 | 138-2999 |
| Groundsmaster 5900-serien | 138-3002 |
Deler som er nødvendige for dette trinnet:
| Signalgiver | 1 |
| Signalgiverkobling | |
| Signalgiverbrakett | 1 |
| Signalgiverfatning | 1 |
| Lang låsebolt | 1 |
| Kort låsebolt | 1 |
| Flensmutter | 2 |
| Ledningssats | 1 |
| Kabelfester | 6 |
| Bryter | 1 |
| Sikring (15 A) | 1 |
Note: Illustrasjonene i denne prosedyren viser en trekkenhet i Reelmaster 5010-serien. Maskinen din kan se annerledes ut.
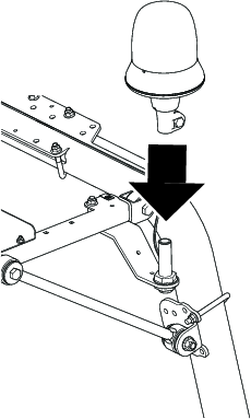
Fest braketten til solskjermrammen med en lang låsebolt, en kort låsebolt, et avstandsstykke og to flensmuttere.
Note: Hvis maskinen har et arbeidslyssett montert, bruk lysbraketten i stedet for signalgiverbraketten (Figur 4).


Fjern signalgiverkoblingen fra signalgiverfatningen (Figur 5).

Før ledningssatsen opp gjennom mutteren, skiven og signalgiverkontakten. Koble tilkoblingspunktet til signalgiverkoblingen (Figur 6).
Note: Monter den fiolette ledningen til den midtre klemmen på signalgiverkoblingen og den svarte ledningen på utsiden av klemmen på signalgiverkoblingen.

Monter signalgiverkoblingen i signalgiverfatningen ved å rotere fatningen (Figur 7).
Note: Dette forhindrer at ledningssatsen blir vridd.

Monter signalgiverfatningen til braketten, som vist i Figur 8.
Note: Hvis maskinen har et arbeidslyssett montert, bruk lysbraketten i stedet for signalgiverbraketten (Figur 4).

Monter signalgiveren til fatningen, og trekk til vingemutteren (Figur 9).

Koble konnektoren på ledningssatsen for signalgiveren til konnektoren på ledningssatsen for bryterpanelet (Figur 10).
Før ledningssatsen for signalgiveren som vist i Figur 10, og fest den med fire kabelfester.

Fjern og avhend pluggen fra det fremre venstre rommet i bryterpanelet (Figur 11).
Note: Monter bryteren slik at den tykke avrundede delen vender mot maskinens bakende

Koble den elektriske koblingen i bryteren, og monter bryteren i bryterpanelet (Figur 11).
Sett inn sikringen (15 A) i det tredje sporet fra venstre når du ser på sikringsblokken (Figur 12).
Note: Sikringen må kanskje ikke settes inn hvis en sikring fra et annet Toro-sett allerede er i bruk.

Koble til batteriet. Se vedlikeholdsdelen for det elektriske systemet i brukerhåndboken.
Innrett hullene i solskjermens gummitetninger med de fire klipsmutterne i siderammekanalene.
Monter solskjermen til rammekanalene (Figur 2) med de fire flenshodeboltene (5/16 x 1¼ tomme) og fire skivene (5/16 tomme) som du fjernet tidligere.
Trekk til flenshodeboltene med et moment på 10–14 Nm.
Med nøkkelen i ON(på)-posisjon:
Trykk på bryterens bakside for å slå på signalgiveren.
Trykk på bryterens forside for å slå av signalgiveren.