Установите машину на ровной поверхности.
Выключите двигатель, включите стояночный тормоз и извлеките ключ из замка зажигания.
Отсоедините аккумулятор; см. раздел «Техническое обслуживание электрической системы» в Руководстве оператора для тягового блока.
Убедитесь в том, что следующие комплекты установлены на вашей машине:
Универсальный солнцезащитный навес (модель 30671 или 30669)
Комплект панели переключателей (модель 03248)
Комплект жгута проводов питания; см. подходящий комплект для вашего тягового блока в следующей таблице:
| Тяговый блок | Комплект жгута проводов питания |
| Reelmaster серии 3000 | 138-2993 |
| Reelmaster серии 5000 | 138-2994 |
| Groundsmaster серии 4500, 4700 и Reelmaster серии 7000 | 138-2995 |
| Groundsmaster серии 7200 | 138-2996 |
| Multi Pro 1750 | 138-2999 |
| Groundsmaster серии 5900 | 138-3002 |
Детали, требуемые для этой процедуры:
| Маячок | 1 |
| Разъем маячка | |
| Кронштейн маячка | 1 |
| Гнездо маячка | 1 |
| Длинный каретный болт | 1 |
| Короткий каретный болт | 1 |
| Фланцевая гайка | 2 |
| Жгут проводов | 1 |
| Кабельные стяжки | 6 |
| Переключатель | 1 |
| Предохранитель (15 A) | 1 |
Note: На рисунках в описании данной процедуры показан тяговый блок Reelmaster серии 5010. Ваша машина может выглядеть по-другому.
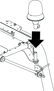
Прикрепите кронштейн к раме солнцезащитного навеса с помощью длинного каретного болта, короткого каретного болта, проставки и 2 фланцевых гаек.
Note: Если на вашей машине установлен комплект фар рабочего освещения, используйте кронштейн фары вместо кронштейна маячка (Рисунок 4).


Снимите разъем маячка с гнезда маячка (Рисунок 5).

Проложите жгут проводов через гайку, шайбу и гнездо маячка. Подсоедините клеммы к разъему маячка(Рисунок 6).
Note: Подсоедините фиолетовый провод к средней клемме на разъеме маячка, а черный провод к наружной части клеммы разъема маячка.

Вставьте разъем маячка в гнездо маячка, повернув гнездо маячка (Рисунок 7).
Note: Это предотвратит скручивание жгута проводов.

Установите гнездо маячка на кронштейн, как показано на Рисунок 8.
Note: Если на вашей машине установлен комплект фар рабочего освещения, используйте кронштейн фары вместо кронштейна маячка (Рисунок 4).

Установите маячок на гнездо и затяните гайку-барашек (Рисунок 9).

Вставьте разъем жгута проводов маячка в разъем жгута проводов панели переключателей (Рисунок 10).
Проложите жгут проводов маячка, как показано на Рисунок 10, и закрепите его кабельными стяжками.

Снимите заглушку с передней левой части панели переключателей (Рисунок 11) и удалите ее в отходы.
Note: Установите переключатель таким образом, чтобы более толстая и округлая часть была обращена в сторону задней части машины.

Вставьте электрический разъем в переключатель и установите переключатель в панель переключателей (Рисунок 11).
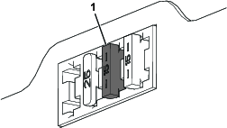
Вставьте предохранитель (15 А) в третье гнездо слева, если смотреть на блок предохранителей (Рисунок 12).
Note: Если был установлен предохранитель из другого комплекта Toro, установка предохранителя может не потребоваться.

Подсоедините аккумулятор; см. раздел «Техническое обслуживание электрической системы» в Руководстве оператора.
Совместите отверстия в уплотнительных втулках солнцезащитного навеса с 4 гайками с зажимами в боковых швеллерах рамы.
Подсоедините солнцезащитный навес к швеллерам рамы (Рисунок 2) с помощью 4 болтов с фланцевыми головками (5/16 x 1¼ дюйма) и 4 шайб (5/16 дюйма), снятых ранее.
Затяните болты с фланцевыми головками с моментом от 10 до 14 Н∙м.
С ключом зажигания в положении Вкл.:
Нажмите заднюю часть переключателя для включения маячка.
Нажмите переднюю часть переключателя для выключения маячка.