Aparque la máquina en una superficie nivelada.
Apague el motor, ponga el freno de estacionamiento y retire la llave.
Desconecte la batería; consulte la sección Mantenimiento del sistema eléctrico del Manual del operador de la unidad de tracción.
Asegúrese de que se han instalado en su máquina los siguientes kits:
Toldo universal (modelo 30671 o 30669)
Kit de panel de interruptores (modelo 03248)
Kit de arnés de alimentación; consulte la siguiente tabla para determinar el kit idóneo para su unidad de tracción:
| Unidad de tracción | Kit de arnés de alimentación |
| Reelmaster serie 3000 | 138-2993 |
| Reelmaster serie 5000 | 138-2994 |
| Groundsmaster serie 4500, 4700 y Reelmaster serie 7000 | 138-2995 |
| Groundsmaster serie 7200 | 138-2996 |
| Multi Pro 1750 | 138-2999 |
| Groundsmaster serie 5900 | 138-3002 |
Piezas necesarias en este paso:
| Baliza | 1 |
| Conector de la baliza | |
| Soporte de baliza | 1 |
| Base de la baliza | 1 |
| Perno de cuello cuadrado largo | 1 |
| Perno de cuello cuadrado corto | 1 |
| Tuerca con arandela prensada | 2 |
| Arnés de cables | 1 |
| Bridas | 6 |
| Interruptor | 1 |
| Fusible (15 A) | 1 |
Note: Las ilustraciones de este procedimiento muestran una unidad de tracción Reelmaster Serie 5010. Su máquina puede tener un aspecto diferente.
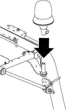
Sujete el soporte al bastidor del toldo con un perno de cuello cuadrado largo, un perno de cuello cuadrado corto, un espaciador y 2 tuercas con arandela prensada.
Note: Si la máquina tiene instalado un kit de luces de trabajo, utilice el soporte de la luz en lugar del soporte de la baliza (Figura 4).


Retire el conector de la baliza de la base de la baliza (Figura 5).

Enrute el arnés de cables hacia arriba, a través de la tuerca, la arandela y la base de la baliza. Conecte los terminales al conector de la baliza (Figura 6).
Note: Conecte el cable violeta al terminal central del conector de la baliza, y el cable negro al exterior del terminal del conector de la baliza.

Instale el conector de la baliza en la base de la baliza girando la base de la baliza (Figura 7).
Note: Esto evita que el arnés de cables se tuerza.

Instale la base de la baliza en el soporte como se muestra en la Figura 8.
Note: Si la máquina tiene instalado un kit de luces de trabajo, utilice el soporte de la luz en lugar del soporte de la baliza (Figura 4).

Instale la baliza en la base, y apriete la tuerca de orejeta (Figura 9).

Enchufe el conector del arnés de la baliza en el conector del arnés del panel de interruptores (Figura 10).
Enrute el arnés de la baliza como se muestra en la Figura 10, y sujételo con bridas.

Retire y deseche el tapón del hueco delantero izquierdo del panel de interruptores (Figura 11).
Note: Instale el interruptor con la pieza redondeada más gruesa hacia la parte trasera de la máquina.

Enchufe el conector eléctrico en el interruptor e instale el interruptor en el panel de interruptores (Figura 11).
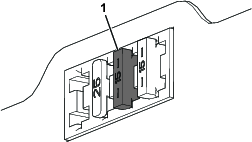
Introduzca el fusible (15 A) en la tercera posición desde la izquierda del bloque de fusibles (Figura 12).
Note: Puede no ser necesario instalar el fusible si ya se ha instalado un fusible de otro kit de Toro.

Conecte la batería; consulte la sección de mantenimiento del sistema eléctrico en el Manual del operador.
Alinee los orificios de los anillos de goma del toldo con las 4 tuercas rápidas de los perfiles laterales del bastidor.
Monte el toldo en los perfiles del bastidor (Figura 2) con los 4 pernos con arandela prensada (5/16" x 1¼") y las 4 arandelas (5/16") que retiró anteriormente.
Apriete los pernos con arandela prensada a 10 – 14 N∙m.
Con la llave en la posición de CONECTADO:
Presione la parte trasera del interruptor para encender la baliza.
Presione la parte delantera del interruptor para apagar la baliza.