Parker maskinen på en plan overflade.
Sluk for motoren, aktiver parkeringsbremsen, og tag nøglen ud.
Frakobl batteriet. Se afsnittet om vedligeholdelse af det elektriske system i traktionsenhedens betjeningsvejledning.
Sørg for, at følgende sæt er monteret på din maskine:
Universel solskærm (model 30671 eller 30669)
Kontaktpanelsæt (model 03248)
Strømforsyningsledningsnetsæt – se følgende tabel for at finde det korrekte sæt til din traktionsenhed:
| Traktionsenhed | Strømforsyningsledningsnetsæt |
| Reelmaster 3000-serien | 138-2993 |
| Reelmaster 5000-serien | 138-2994 |
| Groundsmaster 4500-, 4700- og Reelmaster 7000-serien | 138-2995 |
| Groundsmaster 7200-serien | 138-2996 |
| Multi Pro 1750 | 138-2999 |
| Groundsmaster 5900-serien | 138-3002 |
Dele, der skal bruges til dette trin:
| Roterende blinklys | 1 |
| Stik til roterende blinklys | |
| Beslag til roterende blinklys | 1 |
| Fatning til roterende blinklys | 1 |
| Lang bræddebolt | 1 |
| Kort bræddebolt | 1 |
| Flangemøtrik | 2 |
| Ledningsnet | 1 |
| Kabelbånd | 6 |
| Kontakt | 1 |
| Sikring (15 A) | 1 |
Note: Illustrationerne i denne fremgangsmåde viser en traktionsenhed i Reelmaster 5010-serien. Din maskine kan se anderledes ud.
Fastgør beslaget til solskærmens stel med en lang bræddebolt, en kort bræddebolt, en afstandsbøsning og 2 flangemøtrikker.
Note: Hvis din maskine er udstyret med et arbejdslygtesæt, skal lygtebeslaget anvendes i stedet for beslaget til roterende blinklys (Figur 4).


Fjern stikket til det roterende blinklys fra fatningen til det roterende blinklys (Figur 5).

Før ledningsnettet op gennem møtrikken, spændeskiven og fatningen til det roterende blinklys. Slut klemmerne til det roterende blinklys' stik (Figur 6).
Note: Monter den violette ledning til den midterste klemme på stikket til det roterende blinklys og den sorte ledning på ydersiden af klemmen på stikket til det roterende blinklys.

Monter stikket til det roterende blinklys på fatningen ved at dreje fatningen til det roterende blinklys (Figur 7).
Note: Dette forhindrer, at ledningsnettet bliver snoet.

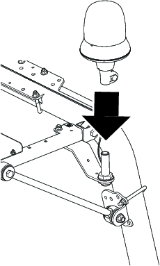
Monter fatningen til det roterende blinklys som vist i Figur 8.
Note: Hvis din maskine er udstyret med et arbejdslygtesæt, skal lygtebeslaget anvendes i stedet for beslaget til roterende blinklys (Figur 4).

Sæt det roterende blinklys på fatningen, og tilspænd vingemøtrikken (Figur 9).

Sæt stikket fra ledningsnettet til det roterende blinklys i stikket fra ledningsnettet til kontaktpanelet (Figur 10).
Før ledningsnettet til det roterende blinklys som vist i Figur 10, og fastgør med kabelbåndene.

Fjern og kasser proppen fra den forreste venstre åbning i kontaktpanelet (Figur 11).
Note: Sæt kontakten i, så den brede, afrundede del vender mod bagenden af maskinen

Sæt det elektriske stik ind i kontakten, og sæt kontakten i kontaktpanelet (Figur 11).
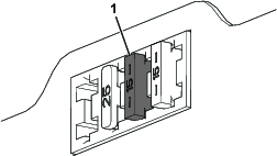
Sæt sikringen (15 A) ind i den position, der er den tredje fra venstre, når du ser på sikringsblokken (Figur 12).
Note: Sikringen må ikke monteres, hvis der allerede er monteret en sikring fra et andet Toro-sæt.

Tilslut batteriet. Se afsnittet om vedligeholdelse af det elektriske system i betjeningsvejledningen.
Ret hullerne i solskærmens kranse ind efter sidestelskinnernes 4 klemmemøtrikker.
Monter solskærmen på stelskinnerne (Figur 2) med de 4 flangehovedbolte (5/16" x 1¼") og 4 spændeskiver (5/16"), som du fjernede tidligere.
Tilspænd flangehovedboltene med et moment på 10 til 14 Nm.
Med nøglen i positionen ON (til):
Tryk bagest på kontakten for at tænde det roterende blinklys.
Tryk forrest på kontakten for at slukke det roterende blinklys.