Pysäköi kone tasaiselle alustalle.
Sammuta moottori, kytke seisontajarru ja irrota virta-avain.
Kytke akku irti. Katso lisätietoja ajoyksikön käyttöoppaan sähköjärjestelmän huoltoa käsittelevästä osasta.
Varmista, että koneeseen on asennettu seuraavat sarjat:
Yleiskäyttöinen häikäisysuoja (malli 30671 tai 30669)
Kytkinpaneelisarja (malli 03248)
Virtajohdinsarja: seuraavassa taulukossa luetellaan ajoyksiköihin sopivat sarjat:
| Ajoyksikkö | Virtajohdinsarja |
| Reelmaster 3000 ‑sarja | 138-2993 |
| Reelmaster 5000 ‑sarja | 138-2994 |
| Groundsmaster 4500-, 4700- ja Reelmaster 7000 ‑sarjat | 138-2995 |
| Groundsmaster 7200 ‑sarja | 138-2996 |
| Multi Pro 1750 | 138-2999 |
| Groundsmaster 5900 ‑sarja | 138-3002 |
Vaiheeseen tarvittavat osat:
| Kattovilkun | 1 |
| Kattovilkun liitin | |
| Kattovilkun kannatin | 1 |
| Kattovilkun istukka | 1 |
| Pitkä lukkopultti | 1 |
| Lyhyt lukkopultti | 1 |
| Laippamutteri | 2 |
| Johdinsarja | 1 |
| Nippusiteet | 6 |
| Kytkin | 1 |
| Sulake (15 A) | 1 |
Note: Tämän toimenpiteen kuvissa näkyy Reelmaster 5010 -sarjan ajoyksikkö. Oma koneesi voi näyttää erilaiselta.
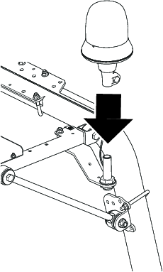
Kiinnitä kannatin häikäisysuojan runkoon pitkällä lukkopultilla, lyhyellä lukkopultilla, välikappaleella ja kahdella laippamutterilla.
Note: Jos koneeseen on asennettu työvalosarja, käytä valon kannatinta kattovilkun kannattimen sijaan (Kuva 4).


Irrota kattovilkun liitin kattovilkun istukasta (Kuva 5).

Reititä johdinsarja ylös mutterin, aluslaatan ja kattovilkun istukan läpi. Kytke liittimet kattovilkun liittimeen (Kuva 6).
Note: Asenna violetti johto kattovilkun liittimen keskiliittimeen ja musta johto liittimen ulkopuolelle kattovilkun liittimessä.

Asenna kattovilkun liitin kattovilkun istukkaan kääntämällä istukkaa (Kuva 7).
Note: Tämä estää johdinsarjaa kiertymästä.

Asenna kattovilkun istukka kannattimeen kuvan mukaisesti (Kuva 8).
Note: Jos koneeseen on asennettu työvalosarja, käytä valon kannatinta kattovilkun kannattimen sijaan (Kuva 4).

Asenna kattovilkku istukkaan ja kiristä siipimutteri (Kuva 9).

Kytke kattovilkun johdinsarjan liitin kytkinpaneelin johdinsarjan liittimeen (Kuva 10).
Vie kattovilkun johdinsarja kuvan mukaisesti (Kuva 10) ja kiinnitä se nippusiteillä.

Irrota ja poista käytöstä kytkinpaneelin etuvasemmassa tilassa oleva tulppa (Kuva 11).
Note: Asenna kytkin siten, että paksumpi, pyöristetty osa on koneen takaosaa kohti.

Kytke sähköliitin kytkimeen ja asenna kytkin kytkinpaneeliin (Kuva 11).
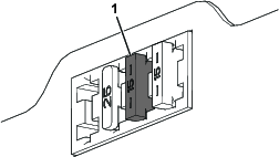
Aseta sulake (15 A) sulakerasian kolmanteen sijaintiin vasemmalta (Kuva 12).
Note: Sulaketta ei ehkä tarvitse asentaa, jos sulake on jo asennettu toisesta Toro-sarjasta.

Kytke akku. Katso lisätietoja käyttöoppaan sähköjärjestelmän huoltoa käsittelevästä osasta.
Kohdista häikäisysuojan läpivientisuojusten reiät sivurunkokiskojen neljään levymutteriin.
Asenna häikäisysuoja runkokiskoihin (Kuva 2) neljällä laippakantapultilla (5/16 × 1-¼ tuumaa) ja neljällä aluslaatalla (5/16 tuumaa), jotka irrotettiin aiemmin.
Kiristä laippakantapultit momenttiin 10–14 N·m.
Kun avain on ON(Käynnissä)-asennossa:
Kytke kattovilkku painamalla kytkimen takaosaa.
Sammuta kattovilkku painamalla kytkimen etuosaa.