Park the machine on a level surface.
Shut off the engine, engage the parking brake, and remove the key.
Disconnect the battery; refer to the electrical system maintenance section of the traction unit Operator’s Manual.
Ensure that the following kits are installed to your machine:
Universal Sunshade (Model 30671 or 30669)
Switch Panel Kit (Model 03248)
Power Harness Kit; refer to the following table for the appropriate kit for your traction unit:
| Traction Unit | Power Harness Kit |
| Reelmaster 3000 series | 138-2993 |
| Reelmaster 5000 series | 138-2994 |
| Groundsmaster 4500, 4700 and Reelmaster 7000 series | 138-2995 |
| Groundsmaster 7200 series | 138-2996 |
| Multi Pro 1750 | 138-2999 |
| Groundsmaster 5900 series | 138-3002 |
Parts needed for this procedure:
| Beacon | 1 |
| Beacon connector | |
| Beacon bracket | 1 |
| Beacon socket | 1 |
| Long carriage bolt | 1 |
| Short carriage bolt | 1 |
| Flange nut | 2 |
| Wire harness | 1 |
| Cable ties | 6 |
| Switch | 1 |
| Fuse (15 A) | 1 |
Note: The illustrations in this procedure show a Reelmaster 5010 series traction unit. Your machine may look different.
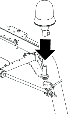
Secure the bracket to the sunshade frame with a long carriage bolt, short carriage bolt, spacer, and 2 flange nuts.
Note: If your machine has a work light kit installed, use the light bracket instead of the beacon bracket (Figure 4).


Remove the beacon connector from the beacon socket (Figure 5).

Route the wire harness up through the nut, washer, and beacon socket. Connect the terminals to the beacon connector (Figure 6).
Note: Install the violet wire to the center terminal on the beacon connector and the black wire on the outside of the terminal on the beacon connector.

Install the beacon connector into the beacon socket by rotating the beacon socket (Figure 7).
Note: This prevents the wire harness from becoming twisted.

Install the beacon socket to the bracket as shown in Figure 8.
Note: If your machine has a work light kit installed, use the light bracket instead of the beacon bracket (Figure 4).

Install the beacon to the socket, and tighten the wing nut (Figure 9).

Plug the connector on the beacon harness into the connector on the switch-panel harness (Figure 10).
Route the beacon harness as shown in Figure 10 and secure with cable ties.

Remove and discard the plug from the front left space in the switch panel (Figure 11).
Note: Install the switch so that the thicker, rounded part is toward the rear of the machine

Plug the electrical connector into the switch and install the switch into the switch panel (Figure 11).
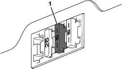
Insert the fuse (15 A) into the third position from the left when looking at the fuse block (Figure 12).
Note: The fuse may not need to be installed if a fuse has already been installed from another Toro kit.

Connect the battery; refer to the electrical system maintenance section of your Operator’s Manual.
Align the holes in the grommets of the sunshade with the 4 clip nuts of the side-frame channels.
Assemble the sunshade to the frame channels (Figure 2) with the 4 flange-head bolts (5/16 x 1-1/4 inches) and 4 washers (5/16 inch) that you removed earlier.
Torque the flange-head bolts to 10 to 14 N∙m (90 to 120 in-lb).
With the key in the ON position:
Press the back of the switch to turn on the beacon.
Press the front of the switch to turn off the beacon.