| Khoảng thời gian Dịch vụ Bảo trì | Quy trình Bảo trì |
|---|---|
| Trước mỗi lần sử dụng hoặc hàng ngày |
|
Máy này được thiết kế để những nhân viên vận hành thương mại của công ty và chủ nhà ở sử dụng nhằm bảo trì lớp cỏ trên sườn dốc, bề mặt nhấp nhô sát nhau, gần nước hoặc miệng hố cát. Việc sử dụng sản phẩm này cho các mục đích khác với mục đích sử dụng ban đầu có thể gây nguy hiểm cho bạn và những người xung quanh.
Hãy đọc kỹ thông tin này để tìm hiểu cách vận hành và bảo trì sản phẩm đúng cách cũng như để tránh gây thương tích và hư hỏng sản phẩm. Bạn là người chịu trách nhiệm vận hành sản phẩm đúng cách và an toàn.
Truy cập www.https://www.toro.com/en-GB để biết thêm thông tin, bao gồm lời khuyên về an toàn, tài liệu đào tạo, thông tin về phụ kiện, trợ giúp tìm đại lý hoặc đăng ký sản phẩm của bạn.
Bất cứ khi nào bạn cần dịch vụ, phụ tùng Toro chính hãng hoặc thông tin bổ sung, vui lòng chuẩn bị sẵn mẫu máy, số sê-ri của sản phẩm và liên hệ với Đại lý Dịch vụ được Ủy quyền hoặc Dịch vụ Khách hàng của Toro. Hình 1 xác định vị trí ghi thông tin về mẫu máy và số sê-ri trên sản phẩm. Hãy viết các số vào khoảng trống cho sẵn.
Important: Bạn có thể sử dụng thiết bị di động để quét mã QR trên nhãn dán có số sê-ri (nếu được trang bị) để truy cập thông tin về bảo hành, phụ tùng và các sản phẩm khác.

Ghi kiểu model sản phẩm và số sê-ri vào khoảng trống dưới đây:
Hướng dẫn sử dụng này xác định các nguy cơ tiềm ẩn và chứa các thông báo an toàn được nhận biết bằng ký hiệu cảnh báo an toàn (Hình 2), báo hiệu nguy cơ có thể gây chấn thương nghiêm trọng hoặc tử vong nếu bạn không tuân theo các biện pháp phòng ngừa được khuyến nghị.

Hướng dẫn sử dụng này sử dụng 2 từ sau để nêu bật thông tin. Các chú ý quan trọng về thông tin cơ học đặc biệt và Lưu ý đều nhấn mạnh thông tin chung mà bạn cần đặc biệt lưu tâm.
Sản phẩm này tuân thủ tất cả các chỉ thị liên quan của Châu Âu. Để biết chi tiết, vui lòng xem tờ Tuyên bố Tuân thủ (DOC) cụ thể của từng sản phẩm.
Mô-men xoắn Tổng hoặc Thực: Mô-men xoắn tổng hoặc thực của động cơ này đã được nhà sản xuất động cơ đánh giá trong phòng thí nghiệm theo tiêu chuẩn Hiệp hội Kỹ sư Ô tô (SAE) J1940 hoặc J2723. Vì động cơ đã được cấu hình để đáp ứng yêu cầu về an toàn, khí thải và vận hành nên mô-men xoắn thực tế của động cơ trên loại máy cắt cỏ này sẽ thấp hơn đáng kể. Vui lòng tham khảo thông tin của nhà sản xuất động cơ đi kèm với máy.
Phần an toàn sau đây được điều chỉnh từ ANSI B71.1–2017, ANSI B71.4–2017 và EN 14910.
Important: Đọc kỹ những hướng dẫn này trước khi sử dụng máy và lưu lại để tham khảo sau này.
Sản phẩm này có thể làm tổn thương bàn tay, bàn chân và làm văng đồ vật. Luôn tuân thủ tất cả các hướng dẫn an toàn để tránh gây chấn thương cá nhân nghiêm trọng.
Đọc và hiểu nội dung của Hướng dẫn Vận hành này trước khi khởi động động cơ.
Không để tay hoặc chân của bạn gần các bộ phận đang chuyển động của máy.
Không vận hành máy khi tất cả các bộ phận bảo vệ và các thiết bị bảo vệ an toàn khác không ở đúng vị trí và không hoạt động bình thường trên máy.
Không để những người xung quanh và trẻ em lại gần khu vực vận hành. Không để trẻ em vận hành máy. Chỉ cho phép những người có trách nhiệm, đã được đào tạo, quen thuộc với các hướng dẫn và có đủ năng lực thể chất vận hành máy. Quy định địa phương có thể hạn chế độ tuổi của người vận hành.
Tắt động cơ, rút chìa khoá (nếu được trang bị) và chờ cho tất cả chuyển động dừng lại trước khi rời khỏi vị trí vận hành. Để máy nguội trước khi điều chỉnh, bảo dưỡng, vệ sinh hoặc cất giữ.
Việc sử dụng hoặc bảo trì máy không đúng
cách có thể dẫn đến chấn thương. Để giảm
nguy cơ chấn thương, hãy tuân thủ hướng dẫn an toàn
này và luôn chú ý đến ký
hiệu cảnh báo an toàn
, cụ thể là Thận trọng, Cảnh báo
hoặc Nguy hiểm – hướng dẫn an toàn cá
nhân. Việc không tuân thủ hướng dẫn này có
thể dẫn đến chấn thương cá nhân hoặc tử vong.
![]() |
Người vận hành có thể dễ dàng nhìn thấy các nhãn mác và hướng dẫn an toàn được đặt gần bất kỳ khu vực nào có thể xảy ra nguy hiểm. Hãy thay thế bất kỳ nhãn mác nào bị hỏng hoặc bị thiếu. |




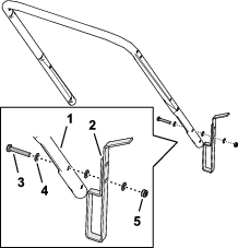
Các bộ phận cần thiết cho quy trình này:
| Thanh tay cầm dưới | 1 |
| Bệ để chân | 1 |
| Bu lông (6 x 35 mm) | 1 |
| Vòng đệm (6 mm) | 3 |
| Êcu hãm (6 mm) | 1 |
Note: Bạn chỉ có thể sử dụng bệ để chân để đỡ thanh tay cầm ở vị trí thẳng đứng khi bạn lắp thanh tay cầm ở vị trí thấp hơn 103,4 cm.

Xác định chiều cao của thanh tay cầm khi bệ để chân được cố định vào khung đỡ bệ trên (Hình 3).
Căn chỉnh lỗ trên bệ để chân với lỗ trên thanh tay cầm dưới (Hình 4).

Lắp bệ để chân vào thanh tay cầm bằng bu lông (6 x 35 mm), 3 vòng đệm (6 mm) và êcu hãm (6 mm).
Siết chặt êcu hãm và bu lông.
Note: Đảm bảo bạn có thể xoay bệ để chân.
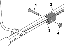
Các bộ phận cần thiết cho quy trình này:
| Ống lót chữ T | 4 |
| Bu lông (6 x 55 mm) | 2 |
| Vòng đệm (6 mm) | 6 |
| Êcu hãm (6 mm) | 2 |
| Núm | 2 |
| Bu lông hình chữ U | 2 |
| Đầu nối thanh tay cầm | |
| Thanh tay cầm trên | 1 |
| Bu lông (¼ x 1-¾ inch) | 1 |
| Êcu hãm (¼ inch) | 1 |
Lắp 2 ống lót chữ T vào mặt bích thanh tay cầm của bàn máy cắt cỏ (Hình 5).

Căn chỉnh bệ để chân của thanh tay cầm với khung đỡ bệ trên trên bàn (Hình 6).

Căn chỉnh lỗ trên thanh tay cầm với các lỗ trên ống lót (Hình 7) và siết chặt thanh tay cầm vào máy bằng một bu lông (6 x 55 mm), 2 vòng đệm (6 mm) và một êcu hãm (6 mm) .

Lặp lại bước 3 ở phía bên kia của máy.
Căn chỉnh các lỗ trên thanh tay cầm trên với các lỗ ở thanh tay cầm dưới (Hình 8).

Lắp thanh tay cầm trên vào thanh tay cầm dưới bằng 2 bu lông chữ U, 2 vòng đệm (6 mm) và 2 núm.
Lắp đầu nối ở cuối vỏ cáp vào ổ cắm phía trên của đầu nối thanh tay cầm (Hình 9).

Bóp chân của cần khi có mặt người vận hành cho đến khi bạn có thể tháo ra khỏi thanh tay cầm trên và tháo cần ra khỏi máy (Hình 10).

Lắp đầu nối cáp qua lỗ trong giá đỡ cần khi có mặt người vận hành như được minh họa trong Hình 11.

Lắp đầu cần khi có mặt người vận hành vào thanh tay cầm, bóp nhẹ chân còn lại của cần và lắp cần vào thanh tay cầm (Hình 13).

Siết chặt đầu nối thanh tay cầm vào thanh tay cầm trên (Hình 14) bằng bu lông (¼ x 1-¾ inch) và êcu hãm (¼ inch).

Important: Động cơ của máy không có sẵn dầu. Trước khi khởi động động cơ, hãy đổ thêm dầu vào động cơ.
Phân loại dịch vụ API: SJ trở lên
Độ nhớt của dầu: dầu 10W-30
Dung lượng dầu: 0,40 L (13,5 oz)
Di chuyển máy lên bề mặt bằng phẳng.
Tháo que thăm ra khỏi cổ bình nạp dầu và lau que thăm bằng giẻ sạch (Hình 14).

Từ từ đổ lượng dầu động cơ được quy định vào cổ bình nạp dầu (Hình 15), và chờ 3 phút.

Lắp que thăm vào cổ bình nạp dầu, sau đó tháo que thăm ra.
Kiểm tra mức dầu trên que thăm dầu (Hình 16).
Note: Nếu bạn đổ tràn dầu vào động cơ, hãy xả hết dầu thừa; tham khảo Xả dầu động cơ.

Nếu mức dầu thấp hơn giới hạn trên, hãy lau que thăm bằng giẻ sạch và lặp lại các bước 3 đến 5 cho đến khi mức dầu động cơ ở vạch giới hạn trên.
Lắp que thăm vào cổ bình nạp dầu và dùng tay siết chặt que thăm.



Cần khi có mặt người vận hành (Hình 19) điều khiển phanh bánh đà và đánh lửa của động cơ.
Bóp cần vào thanh tay cầm để chạy động cơ.
Nhả cần vào thanh tay cầm để tắt động cơ.
Sử dụng van ngắt nhiên liệu (Hình 19) để điều khiển dòng nhiên liệu đến động cơ.
Đóng van ngắt nhiên liệu khi bạn vận chuyển, bảo trì hoặc cất giữ máy.
Mở van ngắt nhiên liệu để chạy động cơ.
|
Kiểu máy |
Bề rộng cắt |
Chiều rộng sản phẩm |
|---|---|---|
|
02616 |
457 mm (18 inch) |
574 mm (22 5/8 inch) |
Lựa chọn bộ gá và phụ kiện đã được Toro phê duyệt và có sẵn để sử dụng với máy nhằm nâng cao và mở rộng khả năng của máy. Vui lòng liên hệ với Đại lý Dịch vụ được Ủy quyền hoặc nhà phân phối Toro được ủy quyền của bạn hoặc truy cập www.https://www.toro.com/en-GB để biết danh sách tất cả các bộ phận gắn kèm và phụ kiện đã được phê duyệt.
Để đảm bảo hiệu suất tối ưu và tiếp tục được chứng nhận an toàn cho máy, chỉ sử dụng các phụ tùng và phụ kiện thay thế chính hãng của Toro. Các phụ tùng và phụ kiện thay thế của các nhà sản xuất khác có thể gây nguy hiểm và việc sử dụng chúng có thể làm mất hiệu lực bảo hành của sản phẩm.
Note: Xác định các mặt bên trái và bên phải của máy từ vị trí vận hành bình thường.
Tắt động cơ, rút chìa khoá (nếu được trang bị) và chờ cho tất cả chuyển động dừng lại trước khi rời khỏi vị trí vận hành. Để máy nguội trước khi điều chỉnh, bảo dưỡng, vệ sinh hoặc cất giữ.
Làm quen với cách vận hành thiết bị an toàn, các biện pháp kiểm soát áp dụng đối với người vận hành và biển báo an toàn.
Kiểm tra xem tất cả các bộ phận bảo vệ và thiết bị an toàn đã ở đúng vị trí và hoạt động bình thường chưa.
Luôn kiểm tra máy để đảm bảo các đĩa cắt, bu lông, vòng chêm và chốt hãm không bị mòn hoặc hư hỏng.
Kiểm tra khu vực bạn sẽ sử dụng máy và loại bỏ tất cả các đồ vật có thể cản trở việc vận hành máy hoặc có thể bị văng ra từ máy.
Cân chỉnh chiều cao cắt có thể khiến bạn tiếp xúc với đĩa cắt đang chuyển động, gây chấn thương nghiêm trọng.
Thay bộ triệt tiếng ồn bị lỗi.
Nhiên liệu rất dễ cháy và rất dễ nổ. Cháy hoặc nổ do nhiên liệu có thể gây bỏng cho bạn và những người khác và có thể gây thiệt hại về tài sản.
Để ngăn tĩnh điện đốt cháy nhiên liệu, hãy đặt bình chứa và/hoặc máy trực tiếp trên mặt đất trước khi đổ đầy nhiên liệu, không đặt trong xe hoặc trên một vật thể.
Đổ thêm nhiên liệu hoặc xả bình nhiên liệu ở ngoài trời, ở khu vực thông thoáng, khi động cơ nguội. Lau sạch bất kỳ nhiên liệu bị tràn nào.
Đổ đầy bình nhiên liệu ở ngoài trời, khu vực thông thoáng, khi động cơ nguội. Lau sạch bất kỳ nhiên liệu bị tràn nào.
Không xử lý nhiên liệu khi đang hút thuốc hoặc xung quanh ngọn lửa trần hoặc tia lửa.
Không tháo nắp nhiên liệu hoặc đổ thêm nhiên liệu vào bình khi động cơ đang chạy hoặc đang nóng.
Nếu bạn làm tràn nhiên liệu, đừng cố khởi động động cơ. Hãy tránh tạo ra nguồn gây cháy cho đến khi hơi nhiên liệu đã tản đi hết.
Bảo quản nhiên liệu trong bình chứa đã được phê duyệt và để xa tầm tay trẻ em.
Đậy nắp bình nhiên liệu và tất cả các bình chứa nhiên liệu một cách an toàn.
Nuốt phải nhiên liệu có thể gây hại hoặc gây tử vong. Tiếp xúc lâu dài với hơi có thể dẫn đến chấn thương và bệnh tật nghiêm trọng.
Tránh hít phải hơi trong thời gian dài.
Giữ tay và mặt tránh xa vòi phun và lỗ mở của bình nhiên liệu.
Để nhiên liệu tránh xa mắt và da.
| Loại | Xăng không pha chì |
| Chỉ số octan tối thiểu | 87 (Hoa Kỳ) hoặc 91 (chỉ số octan nghiên cứu; bên ngoài Hoa Kỳ) |
| Etanol | Không hơn 10% theo thể tích |
| Metanol | Không có |
| MTBE (metyl butyl ete bậc ba) | Dưới 15% theo thể tích |
| Dầu | Không đổ thêm vào nhiên liệu |
Chỉ sử dụng nhiên liệu sạch, mới (dưới 30 ngày tuổi) từ nguồn uy tín.
Important: Để giảm sự cố khởi động, hãy đổ thêm chất ổn định/điều hòa nhiên liệu vào nhiên liệu mới theo chỉ dẫn của nhà sản xuất chất ổn định/điều hòa nhiên liệu.
Note: Tham khảo hướng dẫn sử dụng động cơ để biết thêm thông tin.
Làm sạch xung quanh nắp bình nhiên liệu và tháo nắp ra khỏi bình.
Đổ đầy nhiên liệu được quy định vào bình nhiên liệu như được minh họa trong Hình 20.

Lắp nắp vào bình nhiên liệu.
Tham khảo Kiểm tra Mức Dầu Động cơ.
Mặc quần áo phù hợp, bao gồm bảo vệ mắt; quần dài; giày dép chắc chắn, chống trơn trượt; và bảo vệ thính giác. Buộc tóc nếu tóc dài và không mặc quần áo rộng hoặc đeo trang sức lỏng lẻo.
Tập trung cao độ trong khi vận hành máy. Không tham gia vào bất kỳ hoạt động nào gây mất tập trung; nếu không, có thể gây chấn thương hoặc thiệt hại về tài sản.
Không vận hành máy khi bị ốm, mệt mỏi hoặc đang bị ảnh hưởng của chất cồn hoặc chất gây nghiện.
Tháo đĩa cắt và tất cả các ly hợp truyền động trước khi khởi động động cơ.
Khởi động động cơ theo hướng dẫn và để chân cách xa đĩa cắt.
Không nghiêng máy nhiều hơn mức cần thiết để khởi động động cơ và chỉ nâng phần ở xa bạn.
Tắt động cơ, rút chìa khoá (nếu được trang bị) và chờ cho tất cả chuyển động dừng lại trước khi rời khỏi vị trí vận hành. Để máy nguội trước khi điều chỉnh, bảo dưỡng, vệ sinh hoặc cất giữ.
Khi bạn nhả nút điều khiển khi có mặt người vận hành, động cơ sẽ tắt và đĩa cắt sẽ dừng trong vòng 3 giây. Nếu không, hãy ngừng sử dụng máy ngay lập tức và liên hệ với Đại lý Dịch vụ được Ủy quyền.
Không để những người xung quanh, đặc biệt là trẻ em và vật nuôi, lại gần khu vực vận hành. Không cho trẻ nhỏ vào khu vực vận hành và trẻ nhỏ phải luôn có sự giám sát của người lớn có đủ trách nhiệm và đang không vận hành máy. Ngừng máy nếu có người tiến vào trong khu vực.
Chỉ vận hành máy khi có tầm nhìn tốt và điều kiện thời tiết thích hợp. Không vận hành máy khi có nguy cơ bị sét đánh.
Cỏ hoặc lá ướt có thể gây thương tích nghiêm trọng nếu bạn bị trượt và tiếp xúc với đĩa cắt. Nếu có thể, hãy tránh cắt cỏ trong điều kiện ẩm ướt.
Hết sức cẩn thận khi đến gần góc khuất, bụi rậm, cây cối hoặc các vật thể khác có thể cản tầm nhìn của bạn.
Để ý các hố, vết lún, chỗ lồi, đá hoặc các vật thể khuất tầm nhìn khác. Địa hình không bằng phẳng có thể khiến bạn mất thăng bằng hoặc không đứng vững.
Nếu máy va vào vật thể hoặc bắt đầu rung, hãy tắt động cơ ngay lập tức, chờ tất cả bộ phận đang chuyển động dừng lại, và ngắt kết nối dây khỏi bugi trước khi kiểm tra máy xem có bị hư hỏng không. Thực hiện tất cả các sửa chữa cần thiết trước khi vận hành trở lại.
Không bao giờ nhấc hoặc mang máy khi động cơ đang chạy.
Nếu động cơ đang chạy, nó sẽ bị nóng lên và có thể khiến bạn bị bỏng nặng. Tránh xa động cơ nóng.
Khí thải động cơ có chứa carbon monoxide, có thể gây chết người nếu hít phải. Không chạy động cơ ở trong nhà hoặc ở khu vực khép kín.
Chỉ sử dụng phụ kiện và bộ phận gắn kèm đã được Toro phê duyệt.
Dốc là yếu tố chính liên quan đến tai nạn mất kiểm soát, có thể dẫn đến chấn thương nặng hoặc tử vong. Bạn là người chịu trách nhiệm vận hành dốc an toàn. Cần phải hết sức thận trọng khi vận hành máy trên bất kỳ độ dốc nào. Trước khi sử dụng máy trên dốc, hãy thực hiện như sau:
Xem lại và hiểu hướng dẫn về độ dốc trong sách hướng dẫn.
Đánh giá các điều kiện của địa điểm làm việc trong ngày để xác định xem dốc có an toàn để vận hành máy hay không. Sử dụng cách suy xét dựa trên thực tế và phán đoán sáng suốt khi thực hiện đánh giá này. Những thay đổi về địa hình, chẳng hạn như độ ẩm, có thể nhanh chóng ảnh hưởng đến việc máy vận hành trên dốc.
Luôn chắc chắn về chỗ đặt chân của bạn và giữ chắc tay cầm. Đi bộ; tuyệt đối không được chạy.
Cắt tỉa ngang qua mặt của dốc, không bao giờ lên và xuống dốc.
Hết sức cẩn thận khi thay đổi hướng trên dốc.
Không cắt tỉa trên các sườn dốc đứng.
Hết sức thận trọng khi lùi hoặc kéo máy về phía bạn.
Tránh cắt trên cỏ ướt. Nếu chân bạn không vững có thể gây tai nạn trượt ngã.
Loại bỏ hoặc đánh dấu các chướng ngại vật như mương, hố, vệt lún, chỗ lồi, đá hoặc các nguy cơ tiềm ẩn khác. Cỏ cao có thể che khuất chướng ngại vật.
Cẩn trọng khi di chuyển gần dốc thẳng đứng, mương, hoặc bờ kè.
Khi sử dụng máy, luôn đặt cả hai tay trên tay cầm.
Khi cắt từ đỉnh sườn dốc và bạn cần tầm với xa hơn, hãy sử dụng tay cầm mở rộng đã được phê duyệt.

Xoay tay cầm của van ngắt nhiên liệu theo chiều ngang để mở van.
Xoay tay cầm của van ngắt nhiên liệu theo chiều dọc để đóng van.
Mở van ngắt nhiên liệu; tham khảo Van ngắt nhiên liệu.
Đóng cần khi có mặt người vận hành vào thanh tay cầm.

Đặt chân của bạn lên mâm cắt và nghiêng máy về phía bạn (Hình 23).

Trong khi giữ cần khi có mặt người vận hành, hãy kéo đầu nắm cần khởi động giật lùi.
Note: Nếu máy không khởi động sau vài lần thử, hãy liên hệ với Đại lý Dịch vụ được Ủy quyền hoặc nhà phân phối Toro được ủy quyền.
| Khoảng thời gian Dịch vụ Bảo trì | Quy trình Bảo trì |
|---|---|
| Trước mỗi lần sử dụng hoặc hàng ngày |
|
Để tắt động cơ, nhả cần khi có mặt người vận hành (Hình 24).
Important: Khi bạn nhả cần khi có mặt người vận hành, cả động cơ và đĩa cắt sẽ dừng trong vòng 3 giây. Nếu chúng không dừng đúng cách, hãy ngừng sử dụng máy ngay lập tức và liên hệ với Đại lý Dịch vụ được Ủy quyền hoặc nhà phân phối Toro được ủy quyền.

Note: Nếu bạn đã lắp đến vị trí thanh tay cầm thấp 103,4 cm (40-¾ inch), hãy sử dụng bệ để chân để đỡ thanh tay cầm ở vị trí thẳng đứng

Để nhả thanh tay cầm, hãy nhấc thanh tay cầm lên và xoay bệ để chân về phía trước (Hình 25).
Để đỡ thanh tay cầm, hãy định vị thanh tay cầm và xoay bệ để chân về phía sau.
| Khoảng thời gian Dịch vụ Bảo trì | Quy trình Bảo trì |
|---|---|
| Hàng năm |
|
Kiểm tra cụm đĩa cắt bất cứ khi nào bạn thay thế đường dẫn cắt. Nếu cụm đĩa cắt bị hỏng, hãy thay thế ngay lập tức.
Tháo đĩa cắt, tham khảo Tháo đĩa cắt.
Thay thế các đường dẫn cắt hiện có bằng 2 đường dẫn cắt mới có độ dài bằng nhau như được minh họa trong Hình 26.

Lắp đĩa cắt; tham khảo Lắp đĩa cắt.
Điều chỉnh chiều cao cắt có thể khiến bạn tiếp xúc với đĩa cắt, gây chấn thương nghiêm trọng.
Tắt động cơ và chờ tất cả các bộ phận chuyển động dừng lại.
Đeo găng tay bảo hộ khi xử lý đĩa cắt.
Nếu động cơ đang chạy, bộ triệt tiếng ồn sẽ bị nóng lên và có thể khiến bạn bị bỏng nặng.
Tránh xa bộ triệt tiếng ồn khi nó nóng.
Kiểm tra cụm đĩa cắt bất cứ khi nào bạn điều chỉnh chiều cao cắt. Nếu cụm đĩa cắt bị hỏng, hãy thay thế ngay lập tức.
Tháo đĩa cắt; tham khảo Tháo đĩa cắt.
Thay đổi vị trí của vòng chêm để điều chỉnh chiều cao cắt như được minh họa trong (Hình 27).
Note: Mỗi vòng chêm thay đổi chiều cao cắt 6,3 mm (¼ inch).

Lắp đĩa cắt; tham khảo Lắp đĩa cắt.
Kiểm tra cụm đĩa cắt bất cứ khi nào bạn tháo đĩa cắt ra. Nếu cụm đĩa cắt bị hỏng, hãy thay thế ngay lập tức.
Đóng van ngắt nhiên liệu; tham khảo Van Ngắt Nhiên liệu.
Ngắt kết nối dây ra khỏi bugi.
Lật máy sang một bên với que thăm hướng xuống.
Important: Luôn nghiêng máy sang một bên với que thăm hướng xuống. Nếu máy bị lật theo hướng khác, dầu có thể tràn vào bộ truyền động van—cần ít nhất 30 phút để xả.

Ghi lại vị trí của các vòng chêm.

Sử dụng cờ lê đi kèm với máy để tháo đĩa cắt bằng cách xoay bu-lông ngược chiều kim đồng hồ (Hình 29), tiết kiệm toàn bộ phần cứng gắn lắp.
Important: Đeo kính an toàn và găng tay chống cắt khi tháo đĩa cắt.
Important: Bạn sẽ cần sử dụng cờ lê mô-men xoắn để lắp cụm đĩa cắt đúng cách. Nếu bạn không có cờ lê mô men xoắn hoặc không thoải mái khi thực hiện quy trình này, hãy liên hệ với Đại lý Dịch vụ được Ủy quyền hoặc nhà phân phối Toro được ủy quyền.
Lắp chốt hãm, đĩa cắt, vòng chêm và vòng chêm hình nón vào cánh quạt bằng bu lông (Hình 30).
Important: Luôn lắp vòng chêm hình nón ngay bên dưới cánh quạt và chốt hãm dưới đầu bu lông.

Tạo mô-men xoắn của bu lông tới 25 N∙m (18 ft-lb).
Note: Một bu lông được tạo mô men xoắn đến 25 N∙m (18 ft-lb) nên rất chặt. Trong khi giữ cánh quạt, đặt trọng lượng của bạn phía sau cờ lê mô men xoắn và siết chặt bu lông.
Nghiêng máy thẳng đứng, nối dây bugi với bugi và mở van ngắt nhiên liệu.
Đặt vành của bệ để chân dưới bệ trên để tăng khả năng xử lý của máy.

Kiểm tra khu vực bạn sẽ sử dụng máy và loại bỏ tất cả các đồ vật mà có thể bị văng ra từ máy.
Tránh để đường dẫn cắt va vào vật rắn. Không bao giờ cố tình cắt trên bất kỳ vật thể nào.
Nếu máy va vào vật thể hoặc bắt đầu rung, hãy tắt động cơ ngay lập tức, ngắt kết nối dây khỏi bugi và kiểm tra máy xem có bị hư hỏng không.
Để đạt hiệu suất tốt nhất, hãy lắp các đường dẫn cắt mới trước khi mùa cắt bắt đầu.
Thay thế đường dẫn cắt khi cần bằng đường dẫn cắt thay thế Toro.
Đảm bảo đường dẫn cắt thay thế có cùng chiều dài với đường dẫn cắt nguyên vẹn.
Chỉ cắt khoảng một phần ba lưỡi cắt cỏ mỗi lần. Không cắt dưới mức cài đặt cao nhất (30 mm hoặc 1-¼ inch) trừ khi cỏ thưa hoặc vào cuối mùa thu, khi cỏ bắt đầu phát triển chậm lại; tham khảo Căn chỉnh Độ cao cắt.
Không cắt cỏ dài hơn 15 cm (6 inch) vì máy có thể bị bít hoặc động cơ có thể bị dừng.
Cỏ và lá ướt có xu hướng tụ thành đám trên sân và có thể khiến máy bị bít hoặc khiến động cơ bị dừng. Nếu có thể, chỉ nên cắt cỏ trong điều kiện khô ráo.
Cỏ hoặc lá ướt có thể gây thương tích nghiêm trọng nếu bạn bị trượt và tiếp xúc với đường dẫn cắt.
Nếu có thể, chỉ nên cắt cỏ trong điều kiện khô ráo.
Lưu ý về nguy cơ hỏa hoạn tiềm ẩn trong điều kiện quá khô, hãy tuân theo tất cả các cảnh báo hỏa hoạn tại địa phương và giữ cho máy không có mảnh vụn cỏ và lá khô.
Nếu bề mặt bãi cỏ đã cắt không đạt yêu cầu, hãy thử 1 hoặc nhiều cách sau:
Kiểm tra dao cắt và/hoặc thay đường dẫn cắt.
Vận hành máy với tốc độ chậm hơn trong khi cắt cỏ.
Nâng chiều cao cắt trên máy của bạn.
Cắt cỏ thường xuyên hơn.
Chồng lấn các đường cắt thay vì cắt toàn bộ một đường cắt bằng mỗi lần đẩy cắt.
Sau khi cắt cỏ, hãy đảm bảo một nửa bãi cỏ đã lộ ra qua tấm chắn lá đã cắt. Có thể bạn cần thực hiện nhiều hơn một đường đẩy khi cắt lá.
Không nên cắt cỏ có chiều dài trên 15 cm. Nếu tấm chắn lá quá dày, máy có thể bị bít, khiến động cơ bị dừng.
Giảm tốc độ cắt nếu máy không cắt lá đủ mịn.
Tắt động cơ, rút chìa khoá (nếu được trang bị) và chờ cho tất cả chuyển động dừng lại trước khi rời khỏi vị trí vận hành. Để máy nguội trước khi điều chỉnh, bảo dưỡng, vệ sinh hoặc cất giữ.
Phủi sạch cỏ và các mảnh vụn trên máy để giúp ngăn ngừa hoả hoạn. Lau sạch dầu hoặc nhiên liệu bị tràn.
Không bao giờ cất giữ máy hoặc bình chứa nhiên liệu ở nơi có ngọn lửa trần, tia lửa hoặc đèn đánh lửa, chẳng hạn như trên máy nước nóng hoặc trên thiết bị khác.
Cố định máy.
Cẩn thận khi xếp và dỡ máy.
| Khoảng thời gian Dịch vụ Bảo trì | Quy trình Bảo trì |
|---|---|
| Sau mỗi lần sử dụng |
|
Vật liệu từ dưới vỏ máy có thể văng ra khỏi máy.
Đeo thiết bị bảo vệ mắt.
Giữ nguyên ở vị trí vận hành (phía sau tay cầm).
Không cho phép những người xung quanh vào trong khu vực vận hành.
Lật máy sang một bên với que thăm hướng xuống.
Important: Luôn nghiêng máy sang một bên với que thăm hướng xuống. Nếu máy bị lật theo hướng khác, dầu có thể tràn vào bộ truyền động van—cần ít nhất 30 phút để xả.
Sử dụng chổi hoặc khí nén để gỡ bỏ cỏ và các mảnh vụn ra khỏi bộ phận chắn khí xả, nắp chụp trên cùng và các khu vực mâm cắt xung quanh.
Làm sạch hệ thống làm mát; loại bỏ cỏ xén, mảnh vụn hoặc bụi bẩn khỏi cánh tản nhiệt khí làm mát động cơ và bộ khởi động.
Note: Làm sạch hệ thống làm mát thường xuyên hơn trong điều kiện có bụi bẩn hoặc nhiều cặn.
Note: Xác định các mặt bên trái và bên phải của máy từ vị trí vận hành bình thường.
| Khoảng thời gian Dịch vụ Bảo trì | Quy trình Bảo trì |
|---|---|
| Sau 5 giờ đầu tiên |
|
| Trước mỗi lần sử dụng hoặc hàng ngày |
|
| Sau mỗi lần sử dụng |
|
| 25 giờ một lần |
|
| 100 giờ một lần |
|
| Hàng năm |
|
Tắt động cơ, rút chìa khoá (nếu được trang bị) và chờ cho tất cả chuyển động dừng lại trước khi rời khỏi vị trí vận hành. Để máy nguội trước khi điều chỉnh, bảo dưỡng, vệ sinh hoặc cất giữ.
Ngắt kết nối dây bugi ra khỏi bugi trước khi thực hiện bất kỳ quy trình bảo trì nào.
Đeo găng tay và thiết bị bảo vệ mắt khi bảo dưỡng máy.
Kiểm tra máy thường xuyên và thay thế bất kỳ bộ phận nào bị mòn hoặc hư hỏng. Chỉ sử dụng các bộ phận cắt phù hợp để sử dụng ở tốc độ vận hành của máy.
Không bao giờ xáo trộn các thiết bị an toàn. Kiểm tra thường xuyên xem chúng có vận hành đúng cách không.
Nghiêng máy có thể khiến nhiên liệu bị rò rỉ. Nhiên liệu dễ cháy và dễ nổ, và có thể gây chấn thương cá nhân. Chạy động cơ khô hoặc xả nhiên liệu bằng bơm tay; tuyệt đối không dùng ống xi-phông để hút nhiên liệu.
Siết chặt tất cả các chốt hãm để đảm bảo máy ở trong tình trạng hoạt động an toàn.
Không thay đổi cài đặt bộ điều khiển động cơ hoặc chạy quá tốc độ của động cơ.
Để đảm bảo hiệu suất máy tối ưu, chỉ sử dụng các phụ tùng và phụ kiện thay thế chính hãng của Toro. Các phụ tùng và phụ kiện thay thế của các nhà sản xuất khác có thể gây nguy hiểm và việc sử dụng chúng có thể làm mất hiệu lực bảo hành của sản phẩm.
Lật máy có thể khiến nhiên liệu bị rò rỉ. Nhiên liệu dễ cháy, dễ nổ, và có thể gây chấn thương cá nhân.
Chạy động cơ khô hoặc xả nhiên liệu bằng bơm tay; tuyệt đối không dùng ống xi-phông.
Important: Luôn nghiêng máy sang một bên với que thăm hướng xuống. Nếu máy bị lật với que thăm hướng lên, dầu có thể tràn vào bộ truyền động van—cần ít nhất 30 phút để xả.
Tắt động cơ và chờ tất cả các bộ phận chuyển động dừng lại.
Di chuyển máy lên bề mặt bằng phẳng.
Ngắt kết nối dây bugi ra khỏi bugi (Hình 32).

Đóng van ngắt nhiên liệu; tham khảo Van ngắt nhiên liệu.
Important: Nếu bạn đang sửa chữa máy, hãy đổ hết nhiên liệu trong bình.
Sau khi thực hiện (các) quy trình bảo trì, hãy mở van nhiên liệu và kết nối dây bugi với bugi.
| Khoảng thời gian Dịch vụ Bảo trì | Quy trình Bảo trì |
|---|---|
| Hàng năm |
|
Nhấn các mấu chốt ở mặt trên cùng của nắp bộ lọc khí xuống (Hình 33).

Tháo nắp.
Tháo bộ phận của bộ lọc (Hình 33).
Kiểm tra bộ lọc khí bằng giấy.
Nếu bộ lọc bị hỏng, bị ướt do dầu hoặc nhiên liệu và quá bẩn, hãy thay bộ lọc.
Nếu bộ lọc bị bẩn, hãy gõ nhẹ lên bề mặt cứng vài lần hoặc thổi khí nén dưới 207 kPa qua mặt bên của bộ lọc đối diện với động cơ.
Note: Không chải bụi bẩn ra khỏi bộ lọc; lực chải sẽ đẩy bụi bẩn vào các sợi dây.
Làm sạch đế và nắp bộ lọc khí bằng giẻ ẩm. Không để bụi bẩn rơi vào ống dẫn khí khi lau.
Lắp bộ lọc vào đế bộ lọc.
Lắp nắp vào.
Phân loại dịch vụ API: SJ trở lên
Độ nhớt của dầu: dầu 10W-30
| Khoảng thời gian Dịch vụ Bảo trì | Quy trình Bảo trì |
|---|---|
| Trước mỗi lần sử dụng hoặc hàng ngày |
|
Chuẩn bị máy để bảo trì; tham khảo Chuẩn bị Bảo trì.
Tháo que thăm ra khỏi cổ bình nạp dầu và lau que thăm bằng giẻ sạch.
Lắp que thăm vào cổ bình nạp dầu, sau đó tháo que thăm ra.
Important: Không luồn que thăm vào cổ bình nạp.
Kiểm tra mức dầu trên que thăm.

Nếu mức dầu gần hoặc thấp hơn vạch giới hạn dưới trên que thăm (Hình 34), hãy từ từ đổ lượng dầu động cơ được quy định vào cổ bình nạp dầu (Hình 35) và chờ 3 phút.

Lau que thăm bằng giẻ sạch và lặp lại các bước 3 đến 5 cho đến khi mức dầu động cơ ở vạch giới hạn trên.
Lắp que thăm vào cổ bình nạp dầu và dùng tay siết chặt que thăm.
| Khoảng thời gian Dịch vụ Bảo trì | Quy trình Bảo trì |
|---|---|
| Sau 5 giờ đầu tiên |
|
| 25 giờ một lần |
|
Nếu động cơ nguội, hãy chạy động cơ từ 1 đến 2 phút để làm ấm dầu.
Đảm bảo bình nhiên liệu chứa ít nhiên liệu hoặc không chứa nhiên liệu để nhiên liệu không bị rò rỉ khi bạn lật máy nằm một bên.
Chuẩn bị máy để bảo trì; tham khảo Chuẩn bị Bảo trì.
Tháo que thăm ra khỏi cổ bình nạp dầu và lau que thăm bằng giẻ sạch.
Căn chỉnh chảo xả cạnh bàn cắt ở phía cổ bình nạp dầu của máy và trên mặt đất (Hình 35).

Nghiêng máy sang một bên với cổ bình nạp dầu hướng xuống để xả dầu ra khỏi cổ bình nạp.
Important: Luôn nghiêng máy sang một bên với que thăm hướng xuống. Nếu máy bị lật theo hướng khác, dầu có thể tràn vào bộ truyền động van—cần ít nhất 30 phút để xả.
Đưa máy về vị trí vận hành.
Làm sạch dầu tràn ra khỏi máy.
Note: Thải bỏ đúng cách dầu đã sử dụng tại trung tâm tái chế địa phương.
Dung lượng dầu: 0,40 L (13,5 oz)
Từ từ đổ lượng dầu động cơ được quy định vào cổ bình nạp dầu (Hình 35) và chờ 3 phút.

Lắp que thăm vào cổ bình nạp dầu, sau đó tháo que thăm ra.
Important: Không luồn que thăm vào cổ bình nạp.
Kiểm tra mức dầu trên que thăm dầu (Hình 38).
Note: Nếu bạn đổ tràn dầu vào động cơ, hãy xả hết dầu thừa; tham khảo Xả dầu động cơ.

Nếu mức dầu thấp hơn giới hạn trên, hãy lau que thăm bằng giẻ sạch và lặp lại các bước 1 đến 3 cho đến khi mức dầu động cơ ở vạch giới hạn trên.
Lắp que thăm vào cổ bình nạp dầu và dùng tay siết chặt que thăm.
| Khoảng thời gian Dịch vụ Bảo trì | Quy trình Bảo trì |
|---|---|
| 100 giờ một lần |
|
Thông số kỹ thuật của bugi: Champion RN9YC hoặc tương đương.
Chuẩn bị máy để bảo trì; tham khảo Chuẩn bị Bảo trì.
Làm sạch phần xung quanh bugi.
Tháo bugi ra khỏi đầu xy-lanh.
Important: Thay bugi bị mòn, hư hỏng hoặc bẩn. Không làm sạch các điện cực vì nếu để sạn lọt vào xilanh có thể làm hỏng động cơ.
Điều chỉnh khe khí (Hình 39) giữa điện cực trung tâm và điện cực bên thành 0,76 mm (0,030 inch).

Lắp bugi và miếng đệm.
Tạo mô-men xoắn của bugi đến 20 N∙m (15 ft-lb).
Nối dây vào bugi.
Tắt động cơ, rút chìa khoá (nếu được trang bị) và chờ cho tất cả chuyển động dừng lại trước khi rời khỏi vị trí vận hành. Để máy nguội trước khi điều chỉnh, bảo dưỡng, vệ sinh hoặc cất giữ.
Để động cơ nguội trước khi cất máy vào bất kỳ lớp vỏ nào.
Để động cơ nguội trước khi cất máy vào bất kỳ lớp vỏ nào.
Không bao giờ cất giữ máy hoặc bình chứa nhiên liệu ở nơi có ngọn lửa trần, tia lửa hoặc đèn đánh lửa, chẳng hạn như trên máy nước nóng hoặc trên thiết bị khác.
Loại bỏ cỏ, lá cây và mảnh vụn khỏi bộ triệt tiếng ồn và khoang động cơ để giúp ngăn ngừa hỏa hoạn.
Hơi nhiên liệu có thể phát nổ.
Không lưu trữ nhiên liệu quá 30 ngày.
Không cất giữ máy trong hộp vỏ gần ngọn lửa trần.
Để động cơ nguội trước khi cất giữ.
Vào lần đổ tiếp nhiên liệu cuối cùng của năm, hãy đổ thêm chất ổn định nhiên liệu vào nhiên liệu theo chỉ dẫn của nhà sản xuất động cơ.
Chạy máy cho đến khi động cơ tắt do hết nhiên liệu.
Khởi động lại động cơ và để động cơ chạy cho đến khi tắt. Khi bạn không thể khởi động động cơ được nữa, hệ thống nhiên liệu đã hết.
Ngắt kết nối dây ra khỏi bugi.
Tháo bugi, đổ thêm 30 ml (1 fl oz) dầu qua lỗ bugi, và kéo đầu nắm cần khởi động giật lùi từ từ vài lần để phân phối dầu khắp xilanh.
Lắp bugi và tạo mô-men xoắn đến 20 N∙m (15 ft-lb).
Kiểm tra đĩa cắt có bị mòn hoặc hư hỏng không. Nếu đĩa cắt bị hư hỏng hoặc đường dẫn cắt tỉa bị mòn, hãy thay thế nó.
Siết chặt tất cả các đai ốc, bu lông và vít.
Cất giữ máy ở nơi khô ráo, thoáng mát, sạch sẽ.
| Problem | Possible Cause | Corrective Action |
|---|---|---|
| Động cơ không khởi động. |
|
|
| Động cơ khởi động khó hoặc bị mất nguồn. |
|
|
| Động cơ chạy không đều. |
|
|
| Máy hoặc động cơ rung quá mức. |
|
|
| Có một mẫu cắt không đồng đều. |
|
|