| Intervalo de mantenimiento y servicio | Procedimiento de mantenimiento |
|---|---|
| Cada vez que se utilice o diariamente |
|
Está máquina se ha diseñado para que la usen operarios comerciales contratados para el mantenimiento del césped en pendientes, ondulaciones pronunciadas, áreas cerca del agua o en el borde de búnkers. El uso de este producto para otros fines distintos a los previstos podría ser peligroso para usted y para otras personas.
Lea este manual detenidamente para aprender a utilizar y mantener correctamente su producto, así como para evitar lesiones y daños al producto. Usted es el responsable de operar el producto de forma correcta y segura.
Visite www.toro.com/en-GB para obtener más información, incluidos consejos de seguridad, materiales de formación, información sobre accesorios, ayuda para encontrar a un distribuidor o para registrar su producto.
Cuando necesite asistencia técnica, piezas genuinas Toro o información adicional, póngase en contacto con un Servicio Técnico Autorizado o con Asistencia al Cliente de Toro, y tenga a mano los números de modelo y serie de su producto. Figura 1 identifica la ubicación en el producto de los números de modelo y de serie. Escriba los números en el espacio provisto.
Important: Con su dispositivo móvil, puede escanear el código QR de la calcomanía del número de serie (en su caso) para acceder a información sobre la garantía, las piezas, y otra información sobre el producto.

Anote a continuación los números de modelo y de serie de su producto:
Este manual identifica peligros potenciales y contiene mensajes de seguridad identificados por el símbolo de alerta de seguridad (Figura 2), que señala un peligro que puede causar lesiones graves o la muerte si usted no sigue las precauciones recomendadas.

Este manual utiliza 2 palabras para resaltar información. Importante llama la atención sobre información mecánica especial, y Nota resalta información general que merece una atención especial.
Este producto cumple todas las directivas europeas aplicables. Si desea más detalles, consulte la Declaración de Conformidad (Declaration of Conformity – DOC) de cada producto.
Par bruto o neto: El par bruto o neto de este motor fue calculada por el fabricante del motor con arreglo a lo estipulado en el documento J1940 o J2723 de la Society of Automotive Engineers (Sociedad de Ingenieros del Automóvil – SAE). Debido a que el motor está configurado para cumplir los requisitos de seguridad, emisiones y operación, su potencia real en este tipo de segadora será significativamente menor. Consulte la información del fabricante del motor incluida con la máquina.
Important: Lea detenidamente las instrucciones antes de usar la máquina y consérvelas para futuras referencias.
Este producto es capaz de causar lesiones en manos y pies y de lanzar objetos al aire. Siga siempre todas las instrucciones de seguridad con el fin de evitar lesiones personales graves.
Lea y comprenda el contenido de este Manual del operador antes de arrancar el motor.
No ponga las manos o los pies cerca de los componentes móviles de la máquina.
No utilice la máquina si no están colocados y si no funcionan correctamente todos los protectores y dispositivos de seguridad.
Mantenga a otras personas, especialmente a los niños, alejadas del área de operación. No permita que este vehículo sea utilizado por niños. Sólo permita que manejen la máquina personas responsables, formadas, familiarizadas con las instrucciones y físicamente capaces de utilizar la máquina. La normativa local puede imponer límites sobre la edad del operador.
Apague el motor, retire la llave (en su caso) y espere a que se detenga todo movimiento antes de abandonar el puesto del operador. Deje que se enfríe la máquina antes de hacer trabajos de ajuste, mantenimiento, limpieza o almacenamiento.
El uso o mantenimiento incorrecto de esta máquina puede
causar lesiones. Para reducir el peligro de lesiones, siga estas instrucciones
de seguridad y preste atención siempre al símbolo de
alerta de seguridad
, que significa: Cuidado, Advertencia o Peligro
– instrucción relativa a la seguridad personal. El incumplimiento
de estas instrucciones puede dar lugar a lesiones personales o la
muerte.
![]() |
Las calcomanías e instrucciones de seguridad están a la vista del operador y están ubicadas cerca de cualquier zona de peligro potencial. Sustituya cualquier calcomanía que esté dañada o que falte. |




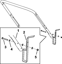
Piezas necesarias en este paso:
| Manillar inferior | 1 |
| Placa de ajuste | 1 |
| Perno (6 x 35 mm) | 1 |
| Arandela (6 mm) | 3 |
| Contratuerca (6 mm) | 1 |
Note: Solo puede usar la placa de ajuste para sujetar el manillar en posición vertical cuando monte el manillar en la posición baja de 103,4 cm.

Determine la altura del manillar cuando la placa de ajuste esté fija en el tope de subida (Figura 3).
Alinee el taladro en la placa de ajuste con el taladro en el manillar inferior (Figura 4).

Monte la placa de ajuste en el manillar con un perno (6 x 35 mm), 3 arandelas (6 mm) y una contratuerca (6 mm).
Apriete la contratuerca y el perno.
Note: Asegúrese de que puede girar la placa de ajuste.
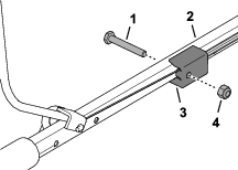
Piezas necesarias en este paso:
| Casquillos en T | 4 |
| Perno (6 x 55 mm) | 2 |
| Arandela (6 mm) | 6 |
| Contratuerca (6 mm) | 2 |
| Pomo | 2 |
| Perno en U | 2 |
| Acoplamiento del manillar | |
| Manillar superior | 1 |
| Perno (¼" x 1¾") | 1 |
| Contratuerca (¼") | 1 |
Monte 5 casquillos en T en las bridas del manillar de la carcasa de corte (Figura 5).

Alinee la placa de ajuste del manillar con el tope de subida en la carcasa (Figura 6).

Alinee el taladro en el manillar con los taladros en los casquillos (Figura 7) y fije el manillar a la máquina con un perno (6 x 55 mm), 2 arandelas (6 mm) y una contratuerca (6 mm).

Repita el paso 3 al otro lado de la máquina.
Alinee los taladros en el manillar superior con los taladros en el manillar inferior (Figura 8).

Monte el manillar superior en el manillar inferior con los 2 pernos en U, 2 arandelas (6 mm) y 2 pomos.
Inserte el acoplamiento del extremo de la cubierta del cable en la toma superior del acoplamiento del manillar (Figura 9).

Apriete la pata de la barra de presencia del operador hasta que pueda retirarla del manillar superior y retire la barra de la máquina (Figura 10).

Inserte el acoplamiento del cable a través del taladro en el soporte de la barra de presencia del operador, tal y como se muestra en la Figura 11.

Inserte el extremo de la barra de presencia del operador en el manillar, apriete ligeramente la otra pata de la barra e inserte la barra en el manillar (Figura 13).

Fije el acoplamiento del manillar en el manillar superior (Figura 14) con el perno (¼" x 1¾" ) y la contratuerca (¼").

Important: Su segadora se suministra sin aceite en el motor. Antes de arrancar el motor, añada aceite al motor.
Clasificación de servicio API: SJ o superior
Viscosidad del aceite: aceite 10W-30
Capacidad de aceite: 0,40 litros
Lleve la máquina a una superficie nivelada.
Retire la varilla del cuello de llenado de aceite y límpiela con un trapo limpio (Figura 14).

Vierta lentamente el aceite de motor especificado en el cuello de llenado de aceite (Figura 15) y espere 3 minutos.

Inserte la varilla en el cuello de llenado de aceite y, a continuación, retire la varilla.
Compruebe el nivel de aceite en la varilla (Figura 16)
Note: Si llena demasiado el motor con aceite, vacíe el exceso; consulte Cómo drenar el aceite del motor.

Si el nivel del aceite se encuentra por debajo del límite superior, limpie la varilla con un paño limpio y repita los pasos 3 a 5 hasta que el nivel del aceite del motor esté en la marca del límite superior.
Inserte la varilla en el cuello de llenado de aceite y apriete a mano la varilla con firmeza.



La barra de presencia del operador (Figura 19) controla el freno del volante y el encendido del motor.
Apriete la barra hacia el manillar para poner en marcha el motor.
Suelte la barra del manillar para apagar el motor.
Utilice la válvula de cierre del combustible (Figura 19) para controlar el flujo de combustible al motor.
Cierre la válvula de cierre del combustible antes de transportar, mantener o almacenar la máquina.
Abra la válvula de cierre del combustible para poner en marcha el motor.
|
Modelo |
Anchura de corte |
Anchura del producto |
|---|---|---|
|
02616 |
457 mm |
574 mm |
Está disponible una selección de aperos y accesorios homologados por Toro que se pueden utilizar con la máquina a fin de potenciar y aumentar sus prestaciones. Póngase en contacto con su Servicio Técnico Autorizado o con su distribuidor autorizado Toro, o visite ://www.Toro.com para obtener una lista de todos los aperos y accesorios homologados.
Para asegurar un rendimiento óptimo y mantener la certificación de seguridad de la máquina, utilice solamente piezas y accesorios genuinos Toro. Las piezas de repuesto y accesorios de otros fabricantes podrían ser peligrosos, y su uso podría invalidar la garantía del producto.
Note: Los lados derecho e izquierdo de la máquina se determinan desde la posición normal del operador.
Apague el motor, retire la llave (en su caso) y espere a que se detenga todo movimiento antes de abandonar el puesto del operador. Deje que se enfríe la máquina antes de hacer trabajos de ajuste, mantenimiento, limpieza o almacenamiento.
Familiarícese con la operación segura del equipo, los controles del operador y las señales de seguridad.
Compruebe que todos los protectores y dispositivos de seguridad están colocados y que funcionan correctamente.
Inspeccione la máquina siempre para asegurarse de que el disco de corte, el perno, los espaciadores y el retenedor no están desgastados o dañados.
Inspeccione el área donde se va a utilizar la máquina y retire cualquier objeto que pudiera interferir con el funcionamiento de la máquina o que pudiera ser arrojado por la máquina.
Al ajustar la altura de corte, podría tocar el disco de corte en movimiento, lo que podría causarle graves lesiones.
Sustituya el silenciador si presenta fallos.
El combustible es extremadamente inflamable y altamente explosivo.Un incendio o una explosión provocados por el combustible puede causarle quemaduras a usted y a otras personas así como daños materiales.
Para evitar que una carga estática incendie el combustible, coloque el recipiente y/o la máquina directamente sobre el suelo antes de repostar, no en un vehículo o sobre otro objeto.
Añada o drene el depósito de combustible en el exterior, en una zona abierta y con el motor frío. Limpie cualquier combustible derramado.
Llene el depósito de combustible en el exterior, en una zona abierta y con el motor frío. Limpie cualquier combustible derramado.
No maneje combustible si está fumando, ni cerca de una llama desnuda o chispas.
No retire el tapón de combustible ni añada combustible al depósito si el motor está caliente o en marcha.
Si se derrama combustible, no intente arrancar el motor. Evite crear una fuente de ignición hasta que los vapores del combustible se hayan disipado.
Almacene el combustible en un recipiente homologado y manténgalo fuera del alcance de los niños.
Vuelva a colocar con firmeza el tapón en el depósito de combustible y de todos los envases de combustible.
El combustible es dañino o mortal si es ingerido. La exposición a largo plazo a los vapores puede causar lesiones y enfermedades graves.
Evite la respiración prolongada de los vapores.
Mantenga las manos y la cara alejadas de la boquilla y de la abertura del depósito de combustible.
Mantenga alejado el combustible de los ojos y la piel.
| Tipo | Gasolina sin plomo |
| Octanaje mínimo | 87 (US) o 91 (RON; fuera de los Estados Unidos) |
| Etanol | No más del 10 % por volumen |
| Metanol | Ninguno |
| MTBE (éter metil tert-butílico) | Menos del 15 % por volumen |
| Aceite | No añadir al combustible |
Utilice solamente combustible limpio y fresco (no más de 30 días de antigüedad) de origen acreditado.
Important: Para reducir los problemas de arranque, añada estabilizador/acondicionador al combustible fresco, siguiendo las indicaciones del fabricante del estabilizador/acondicionador de combustible.
Note: Consulte el manual del propietario del motor si desea más información.
Limpie la zona alrededor del tapón del depósito de combustible y retire el tapón del depósito.
Llene el depósito de combustible con el combustible especificado, tal y como se muestra en la Figura 20.

Coloque el tapón del depósito de combustible.
Lleve ropa adecuada, incluida protección ocular, pantalón largo, calzado resistente y antideslizante y protección auditiva. Si tiene el pelo largo, recójaselo, y no lleve prendas o joyas sueltas.
Preste toda su atención al utilizar la máquina. No realice ninguna actividad que cause distracciones; de lo contrario, podrían producirse lesiones o daños materiales.
No utilice la máquina si está enfermo, cansado, o bajo la influencia de alcohol o drogas.
Desengrane el disco de corte y todos los embragues de la transmisión antes de arrancar el motor.
Arranque el motor siguiendo las instrucciones y con los pies bien alejados del disco de corte.
No incline la máquina más de lo necesario para arrancar el motor y levante únicamente la parte que esté alejada de usted.
Apague el motor, retire la llave (en su caso) y espere a que se detenga todo movimiento antes de abandonar el puesto del operador. Deje que se enfríe la máquina antes de hacer trabajos de ajuste, mantenimiento, limpieza o almacenamiento.
Cuando suelta el control de presencia del operador, el motor debe apagarse y el disco de corte debe detenerse en 3 segundos o menos. Si no, deje de usar la máquina inmediatamente y póngase en contacto con un Servicio Técnico Autorizado.
No permita que entren otras personas, especialmente niños o animales domésticos, en la zona de trabajo. Mantenga a los niños pequeños alejados de la zona de trabajo y bajo la supervisión de un adulto responsable que no esté utilizando la máquina. Pare la máquina si alguien entra en la zona.
Utilice la máquina únicamente con buena visibilidad y en condiciones meteorológicas apropiadas. No use la máquina si hay riesgo de rayos.
La hierba mojada o las hojas mojadas pueden causarle graves lesiones si resbala y toca el disco de corte. Si es posible, evite segar en condiciones húmedas.
Extreme la precaución al acercarse a esquinas ciegas, arbustos, árboles u otros objetos que puedan taparle la vista.
Esté alerta a agujeros, surcos, montículos, rocas u otros objetos ocultos. El terreno irregular podría hacer que pierda el equilibrio.
Si la máquina golpea un objeto o empieza a vibrar, apague inmediatamente el motor, espere a que se detengan todas las piezas en movimiento y desconecte el cable de la bujía antes de examinar la máquina en busca de daños. Haga todas las reparaciones necesarias antes de volver a utilizar la máquina.
No levante o transporte nunca la máquina con el motor en marcha.
Si el motor ha estado en marcha, estará caliente y puede causarle quemaduras graves. Manténgase alejado del motor caliente.
Los gases de escape contienen monóxido de carbono, que resulta letal si se inhala. No haga funcionar el motor dentro de un edificio o en un lugar cerrado.
Utilice únicamente los accesorios y aperos aprobados por Toro.
Las pendientes son una de las principales causas de accidentes por pérdida de control y pueden provocar lesiones graves o la muerte. Usted es responsable de la seguridad cuando trabaja en pendientes. La conducción de la máquina en pendientes requiere extremar la precaución. Antes de usar la máquina en una pendiente, haga lo siguiente:
Revisar y comprender las instrucciones sobre el uso en pendientes incluidas en este manual.
Evaluar las condiciones del lugar y del día para determinar si la pendiente es segura para conducir la máquina. Aplicar siempre el sentido común y un buen criterio a la hora de realizar esta valoración. Los cambios en el terreno, como la humedad, pueden afectar rápidamente al funcionamiento de la máquina en pendientes.
Mire siempre donde pisa y agarre firmemente las empuñaduras. Camine, no corra jamás.
Siegue de lado a lado en pendientes, nunca hacia arriba o hacia abajo.
Preste especial atención al girar en terreno inclinado.
No corte en pendientes pronunciadas.
Extreme las precauciones al ir hacia atrás o al tirar de la máquina hacia usted.
Evite segar el césped mojado. Si no pisa firme, puede resbalar y caerse.
Retire o señale cualquier obstáculo, como zanjas, baches, surcos, montículos, rocas u otros peligros ocultos. La hierba alta puede ocultar obstáculos.
Extreme las precauciones al segar cerca de terraplenes, fosas o taludes.
Al utilizar la máquina, mantenga siempre las dos manos en el manillar.
Al cortar desde la parte superior de una pendiente, si necesita un mayor alcance, use un manillar ampliado homologado.

Gire el mando de la válvula de cierre del combustible hasta la posición horizontal para abrir la válvula.
Gire el mando de la válvula de cierre del combustible hasta la posición vertical para abrir la válvula.
Abra la válvula de cierre del combustible; consulte Válvula de cierre del combustible.
Cierre la barra de presencia del operador contra el manillar.

Ponga el pie sobre la carcasa e incline la máquina hacia usted (Figura 23).

Mientras sostiene la barra de presencia del operador, tire del agarre del arrancador de retroceso.
Note: Si la máquina no arranca después de varios intentos, póngase en contacto con un Servicio Técnico Autorizado o con un distribuidor autorizado Toro.
| Intervalo de mantenimiento y servicio | Procedimiento de mantenimiento |
|---|---|
| Cada vez que se utilice o diariamente |
|
Para apagar el motor, suelte la barra de presencia del operador (Figura 24).
Important: Cuando suelta la barra de presencia del operador, el motor y el disco de corte deben detenerse en 3 segundos o menos. Si no se paran correctamente, deje de usar la máquina inmediatamente y póngase en contacto con un Servicio Técnico Autorizado o con un distribuidor autorizado Toro.

Note: Si ha montado el manillar en la posición inferior de 103,4 cm, utilice la placa de ajuste para sujetar el manillar en posición vertical.

Para liberar el manillar, levante el manillar y gire la placa de ajuste hacia delante (Figura 25)
Para sujetar el manillar, coloque el manillar y gire la placa de ajuste hacia atrás.
| Intervalo de mantenimiento y servicio | Procedimiento de mantenimiento |
|---|---|
| Cada año |
|
Examine el disco de corte cada vez que sustituya el hilo de corte. Si el disco de corte está dañado, sustitúyalo inmediatamente.
Retire el disco de corte, consulte Retirada del disco de corte.
Cambie los hilos de corte existentes por 2 trozos de hilo de corte nuevo de la misma longitud, tal y como se muestra en la Figura 26.

Instale el disco de corte; consulte Instalación del disco de corte.
Al ajustar la altura de corte, podría tocar el disco de corte, lo que podría causarle graves lesiones.
Apague el motor y espere a que se detengan todas las piezas en movimiento.
Lleve guantes de protección al manejar el disco de corte.
Si el motor ha estado en marcha, el silenciador estará muy caliente y puede causarle quemaduras graves.
Manténgase alejado del silenciador si éste está caliente.
Examine el disco de corte cada vez que ajuste la altura de corte. Si el disco de corte está dañado, sustitúyalo inmediatamente.
Retire el disco de corte; consulte Retirada del disco de corte.
Cambie la posición de los espaciadores para ajustar la altura de corte, tal y como se muestra en la Figura 27.
Note: Cada espaciador cambia la altura de corte de 6,3 mm.

Instale el disco de corte; consulte Instalación del disco de corte.
Examine el disco de corte cada vez que retire el disco de corte. Si el disco de corte está dañado, sustitúyalo inmediatamente.
Cierre la válvula de cierre del combustible; consulte Válvula de cierre de combustible.
Desconecte el cable de la bujía.
Coloque la máquina de lado, con la varilla de aceite hacia abajo.
Important: Siempre coloque la máquina de lado con la varilla de aceite hacia abajo. Si la máquina se coloca en otra posición, el tren de válvulas puede llenarse de aceite, lo que tardaría al menos 30 minutos en drenarse.

Registre la posición de los espaciadores.

Utilice la llave suministrada con la máquina para retirar el disco de corte, girando el perno en sentido antihorario (Figura 29), y guarde todos los herrajes de montaje.
Important: Lleve gafas de seguridad y guantes resistentes al corte al retirar el disco de corte.
Important: Necesitará una llave de apriete para instalar correctamente el disco de corte. Si no dispone de una llave de apriete o prefiere no realizar este procedimiento, póngase en contacto con el Servicio Técnico Autorizado o con su distribuidor autorizado Toro.
Monte el retenedor, el disco de corte, los espaciadores y el espaciador cónico en el impulsor con el perno (Figura 30).
Important: Monte siempre el espaciador cónico directamente debajo del impulsor y el retenedor bajo el cabezal del perno.

Apriete el perno a 25 N∙m.
Note: Un perno apretado a 25 N·m queda muy firme. Mientras sostiene el impulsor, aplique toda su fuerza a la llave de apriete y apriete el perno.
Ponga la máquina de pie, conecte el cable de la bujía y abra la válvula de cierre de combustible.
Coloque el aro de la placa de ajuste bajo el tope de subida para aumentar el manejo de la máquina.

Inspeccione la zona en la que va a utilizar la máquina y retire cualquier objeto que pudiera ser arrojado por la máquina.
Evite golpear objetos sólidos con el hilo de corte. No siegue nunca por encima de objeto alguno.
Si la máquina golpea un objeto o empieza a vibrar, pare inmediatamente el motor, desconecte el cable de la bujía e inspeccione la máquina en busca de daños.
Para obtener el mejor rendimiento, instale hilos de corte nuevos antes de que empiece la temporada de siega.
Sustituya el hilo de corte cuanto sea necesario por un hilo de corte de repuesto Toro.
Asegúrese de que el hilo de corte nuevo tiene la misma longitud que el hilo de corte intacto.
Corte solamente un tercio de la hoja de hierba cada vez. No corte con un ajuste inferior a la altura máxima (30 mm) a menos que la hierba sea escasa o a finales del otoño, cuando el ritmo de crecimiento de la hierba empieza a decaer; consulte Ajuste de la altura de corte.
No siegue hierba de más de 15 cm de longitud, porque la máquina puede atascarse o el motor puede calarse.
La hierba mojada y las hojas mojadas tienden a pegarse al suelo, y pueden atascar la máquina o hacer que se cale el motor. Siegue solamente en condiciones secas si es posible.
La hierba mojada o las hojas mojadas pueden causarle graves lesiones si usted resbala y toca el hilo de corte.
Siegue solamente en condiciones secas si es posible.
Esté atento al posible riesgo de incendio en condiciones muy secas, siga todas las advertencias locales para casos de incendio y mantenga la máquina libre de hierba seca y residuos de hojas.
Si el aspecto final del césped no es satisfactorio, pruebe con una o más de las técnicas siguientes:
Inspeccione la unidad de corte y/o cambie el hilo de corte.
Caminar más despacio mientras siega.
Elevar la altura de corte de la máquina.
Cortar el césped con más frecuencia.
Solapar los pasillos de corte en lugar de cortar un pasillo completo en cada pasada.
Después de segar el césped, asegúrese de que la mitad del césped se ve a través de la cobertura de hojas cortadas. Es posible que tenga que hacer más de una pasada por encima de las hojas.
No se recomienda segar hierba de más de 15 cm de largo. Si la cobertura de hojas es demasiado espesa, puede atascar la máquina, haciendo que se cale el motor.
Siegue más despacio si la máquina no corta las hojas suficientemente finas.
Apague el motor, retire la llave (en su caso) y espere a que se detenga todo movimiento antes de abandonar el puesto del operador. Deje que se enfríe la máquina antes de hacer trabajos de ajuste, mantenimiento, limpieza o almacenamiento.
Limpie los recortes de hierba y los residuos de la máquina para ayudar a prevenir incendios. Limpie cualquier aceite o combustible derramado.
No guarde nunca la máquina o un recipiente de combustible cerca de una llama desnuda, chispa o llama piloto, por ejemplo en un calentador de agua u otro electrodoméstico.
Amarre la máquina.
Tenga cuidado al cargar y al descargar la máquina.
| Intervalo de mantenimiento y servicio | Procedimiento de mantenimiento |
|---|---|
| Después de cada uso |
|
La máquina puede soltar material de debajo de la carcasa.
Lleve protección ocular.
Permanezca en la posición de operación (detrás del manillar).
No permita la presencia de otras personas en la zona.
Coloque la máquina de lado, con la varilla de aceite hacia abajo.
Important: Siempre coloque la máquina de lado con la varilla de aceite hacia abajo. Si la máquina se coloca en otra posición, el tren de válvulas puede llenarse de aceite, lo que tardaría al menos 30 minutos en drenarse.
Utilice un cepillo o aire comprimido para eliminar la hierba y los residuos del protector del escape, la cubierta superior y el resto de la carcasa.
Limpie el sistema de refrigeración; retire los recortes de hierba, residuos y suciedad de las aletas de refrigeración del motor y del arrancador.
Note: Limpie el sistema de refrigeración con más frecuencia si hay mucha suciedad o gran cantidad de recortes.
Note: Los lados derecho e izquierdo de la máquina se determinan desde la posición normal del operador.
| Intervalo de mantenimiento y servicio | Procedimiento de mantenimiento |
|---|---|
| Después de las primeras 5 horas |
|
| Cada vez que se utilice o diariamente |
|
| Después de cada uso |
|
| Cada 25 horas |
|
| Cada 100 horas |
|
| Cada año |
|
Apague el motor, retire la llave (en su caso) y espere a que se detenga todo movimiento antes de abandonar el puesto del operador. Deje que se enfríe la máquina antes de hacer trabajos de ajuste, mantenimiento, limpieza o almacenamiento.
Desconecte el cable de la bujía antes de realizar cualquier procedimiento de mantenimiento.
Lleve guantes y protección ocular al realizar el mantenimiento de la máquina.
Inspeccione la máquina regularmente y sustituya cualquier pieza que esté desgastada o dañada. Utilice únicamente los elementos de corte idóneos para su uso a la velocidad de operación de la máquina.
No manipule nunca los dispositivos de seguridad. Compruebe regularmente que funcionan correctamente.
Al inclinar la máquina, puede haber fugas de combustible. El combustible es inflamable y explosivo, y puede causar lesiones personales. Deje funcionar el motor hasta que no quede combustible, o retire la gasolina con una bomba de mano; nunca utilice un sifón.
Mantenga apretadas todas las fijaciones para asegurarse de que la máquina está en condiciones seguras de funcionamiento.
No cambie los ajustes del regulador del motor ni haga funcionar el motor a una velocidad excesiva.
Para garantizar un rendimiento óptimo de la máquina, utilice únicamente piezas de repuesto y accesorios genuinos de Toro. Las piezas de repuesto y accesorios de otros fabricantes podrían ser peligrosos, y su uso podría invalidar la garantía del producto.
Al inclinar la máquina, puede haber fugas de combustible. El combustible es inflamable y explosivo, y puede causar lesiones personales.
Deje el motor en marcha hasta que no quede combustible, o retire el combustible con una bomba de mano; nunca utilice un sifón.
Important: Siempre coloque la máquina de lado con la varilla de aceite hacia abajo. Si la máquina se coloca con la varilla hacia arriba, el tren de válvulas puede llenarse de aceite, lo que tardaría al menos 30 minutos en drenarse.
Apague el motor y espere a que se detengan todas las piezas en movimiento.
Lleve la máquina a una superficie nivelada.
Desconecte el cable de la bujía (Figura 32).

Cierre la válvula de cierre del combustible; consulte Válvula de cierre del combustible.
Important: Si va a reparar la máquina, vacíe el depósito de combustible.
Después de realizar el/los procedimiento(s) de mantenimiento, abra la válvula de combustible y conecte el cable de la bujía.
| Intervalo de mantenimiento y servicio | Procedimiento de mantenimiento |
|---|---|
| Cada año |
|
Presione hacia abajo los cierres de la parte superior de la tapa del filtro de aire (Figura 33).

Retire la tapa.
Retire el elemento del filtro (Figura 33).
Inspeccione el filtro de aire de papel.
Si el filtro está dañado, mojado con aceite o combustible o excesivamente sucio, sustitúyalo.
Si el filtro está sucio, golpéelo varias veces en una superficie dura o pase aire comprimido a menos de 2,07 bar a través del lado del filtro que está frente al motor.
Note: No utilice un cepillo para limpiar el filtro; el cepillado obliga a la suciedad a penetrar en las fibras.
Limpie la base del filtro de aire y la tapa con un paño húmedo. No deje que la suciedad penetre en el conducto de aire.
Instale el filtro en la base del filtro.
Coloque la tapa.
Clasificación de servicio API: SJ o superior
Viscosidad del aceite: aceite 10W-30
| Intervalo de mantenimiento y servicio | Procedimiento de mantenimiento |
|---|---|
| Cada vez que se utilice o diariamente |
|
Prepare la máquina para el mantenimiento; consulte Preparación para el mantenimiento.
Retire la varilla del cuello de llenado de aceite y límpiela con un trapo limpio.
Inserte la varilla en el cuello de llenado de aceite y, a continuación, retire la varilla.
Important: No enrosque la varilla en el cuello de llenado.
Compruebe el nivel de aceite en la varilla.

Si el nivel de aceite está cerca o por debajo de la marca del límite inferior en la varilla (Figura 34), vierta lentamente el aceite de motor especificado en el cuello de llenado de aceite (Figura 35) y espere 3 minutos.

Limpie la varilla con un paño limpio y repita los pasos 3 a 5 hasta que el nivel del aceite del motor esté en la marca del límite superior.
Inserte la varilla en el cuello de llenado de aceite y apriete a mano la varilla con firmeza.
| Intervalo de mantenimiento y servicio | Procedimiento de mantenimiento |
|---|---|
| Después de las primeras 5 horas |
|
| Cada 25 horas |
|
Si el motor está frío, déjelo funcionar entre 1 y 2 minutos para calentar el aceite.
Asegúrese de que el depósito de combustible no contiene combustible (o que contiene muy poco) cuando coloque la máquina de lado.
Prepare la máquina para el mantenimiento; consulte Preparación para el mantenimiento.
Retire la varilla del cuello de llenado de aceite y límpiela con un trapo limpio.
Coloque un recipiente junto a la carcasa en el lateral del cuello de llenado de aceite de la máquina y sobre el suelo (Figura 35).

Coloque la máquina de lado con el cuello de llenado de aceite hacia abajo para drenar el aceite a través del cuello de llenado.
Important: Siempre coloque la máquina de lado con la varilla de aceite hacia abajo. Si la máquina se coloca en otra posición, el tren de válvulas puede llenarse de aceite, lo que tardaría al menos 30 minutos en drenarse.
Ponga la máquina en la posición normal de operación.
Limpie el aceite derramado de la máquina.
Note: Elimine correctamente el aceite usado en un centro de reciclaje homologado.
Capacidad de aceite: 0,40 litros
Vierta lentamente el aceite de motor especificado en el cuello de llenado de aceite (Figura 35) y espere 3 minutos.

Inserte la varilla en el cuello de llenado de aceite y, a continuación, retire la varilla.
Important: No enrosque la varilla en el cuello de llenado.
Compruebe el nivel de aceite en la varilla (Figura 38)
Note: Si llena demasiado el motor con aceite, vacíe el exceso; consulte Cómo drenar el aceite del motor.

Si el nivel del aceite se encuentra por debajo del límite superior, limpie la varilla con un paño limpio y repita los pasos 1 a 3 hasta que el nivel del aceite del motor esté en la marca del límite superior.
Inserte la varilla en el cuello de llenado de aceite y apriete a mano la varilla con firmeza.
| Intervalo de mantenimiento y servicio | Procedimiento de mantenimiento |
|---|---|
| Cada 100 horas |
|
Especificación de la bujía: Champion RN9YC o equivalente.
Prepare la máquina para el mantenimiento; consulte Preparación para el mantenimiento.
Limpie alrededor de la bujía.
Retire la bujía de la culata.
Important: Si la bujía está desgastada, dañada o sucia, cámbiela. No limpie los electrodos, porque cualquier arenilla que entre en el cilindro puede dañar el motor.
Ajuste el espacio (Figura 39) entre el electrodo central y el lateral a 0,76 mm.

Instale la bujía y la junta.
Apriete la bujía a 20 N·m.
Conecte el cable de la bujía.
Apague el motor, retire la llave (en su caso) y espere a que se detenga todo movimiento antes de abandonar el puesto del operador. Deje que se enfríe la máquina antes de hacer trabajos de ajuste, mantenimiento, limpieza o almacenamiento.
Espere a que se enfríe el motor antes de guardar la máquina en un recinto cerrado.
Espere a que se enfríe el motor antes de guardar la máquina en un recinto cerrado.
No guarde nunca la máquina o un recipiente de combustible cerca de una llama desnuda, chispa o llama piloto, por ejemplo en un calentador de agua u otro electrodoméstico.
Retire la hierba, las hojas y los residuos del silenciador y del compartimento del motor para prevenir incendios.
Los vapores del combustible pueden explosionar.
No guarde el combustible durante más de 30 días.
No guarde la máquina en un lugar cerrado cerca de una llama desnuda.
Deje que se enfríe el motor antes de guardarlo.
En el último repostaje del año, añada estabilizador al combustible siguiendo las instrucciones del fabricante del motor.
Haga funcionar la máquina hasta que el motor se apague por haberse quedado sin gasolina.
Arranque el motor de nuevo y deje que funcione hasta que se apague. Cuando ya no pueda arrancar el motor, el sistema de combustible está vacío.
Desconecte el cable de la bujía.
Retire la bujía, añada 30 ml de aceite a través del orificio de la bujía y tire lentamente del agarre del arranque de retroceso varias veces para que se distribuya el aceite por el cilindro.
Instale la bujía y apriétela a 20 N·m.
Inspeccione el disco de corte en busca de desgaste o daños. Si el disco de corte está dañado o el hilo de corte está desgastado, sustitúyalo.
Apriete todos los pernos, tuercas y tornillos.
Almacene la máquina en un lugar fresco, limpio y seco.
| Problem | Possible Cause | Corrective Action |
|---|---|---|
| El motor no arranca. |
|
|
| El motor arranca con dificultad o pierde potencia. |
|
|
| El motor no funciona regularmente. |
|
|
| La máquina o el motor vibra excesivamente. |
|
|
| El patrón de corte es desigual. |
|
|