| Tíðni viðhaldsþjónustu | Viðhaldsferli |
|---|---|
| Fyrir hverja notkun eða daglega |
|
Þessi vél er ætluð til afnota fyrir rekstraraðila til að viðhalda grasi í halla, ójafnar lóðir, svæði nærri vatni eða við grasgryfjur. Notkun þessarar vöru við annað en tilætlaða notkun getur skapað hættu fyrir stjórnanda og nærstadda.
Lesið þessar upplýsingar vandlega til að læra að stjórna og sinna réttu viðhaldi á vörunni og til að koma í veg fyrir meiðsl á fólki og skemmdir á vörunni. Eigandi ber ábyrgð á réttri og öruggri notkun vörunnar.
Á www.https://www.toro.com/en-GB er að finna frekari upplýsingar, þar á meðal öryggisupplýsingar, kennsluefni, upplýsingar um aukabúnað, upplýsingar um söluaðila og vöruskráningu.
Þegar þörf er á þjónustu, varahlutum frá Toro eða frekari upplýsingum skal hafa samband við viðurkenndan þjónustu- og söluaðila eða þjónustuver Toro og hafa tegundar- og raðnúmer vörunnar við höndina. Mynd 1 sýnir hvar tegundar- og raðnúmerin eru á vörunni. Skrifið númerin í kassann hér á síðunni.
Important: Hægt er að nálgast upplýsingar um ábyrgð, varahluti og aðrar vöruupplýsingar með því að skanna QR-kóðann á raðnúmersmerkingunni (ef hann er til staðar) með fartæki.

Skrifið gerð og raðnúmer í reitina hér að neðan:
Í þessari handbók er bent á mögulega hættu og í henni eru öryggismerkingar auðkenndar með öryggistáknum (Mynd 2), sem sýna hættu sem kann að valda alvarlegum meiðslum eða dauða ef ráðlögðum varúðarráðstöfunum er ekki fylgt.

Þessi handbók notar tvö orð til að auðkenna upplýsingar. Mikilvægt“ vekur athygli á sérstökum vélrænum upplýsingum og Athugið“ undirstrikar almennar upplýsingar sem vert er að lesa vandlega.
Þessi vara uppfyllir allar viðeigandi evrópskar tilskipanir. Frekari upplýsingar má finna á aðskildu samræmisyfirlýsingarskjali vörunnar.
Heildar- eða rauntog: Heildar- eða rauntog þessarar vélar var metið af framleiðanda vélarinnar á rannsóknarstofu í samræmi við SAE J1940 eða J2723. Raunverulegt tog vélarinnar í þessum flokki sláttuvéla er mun lægra þegar búið er að stilla hana í samræmi við öryggis-, útblásturs- og vinnslukröfur. Frekari upplýsingar eru í upplýsingum frá framleiðanda vélarinnar sem fylgja með sláttuvélinni.
Important: Lesið þessar leiðbeiningar vandlega fyrir notkun vélarinnar og geymið þær til síðari notkunar.
Þessi vara getur valdið hættu á meiðslum og skotið hlutum frá sér. Fylgið alltaf öryggisleiðbeiningum til að koma í veg fyrir meiðsl á fólki.
Lesið vandlega efni þessara notandahandbókar áður en vélin er gangsett.
Ekki setja hendur eða fætur nærri íhlutum á hreyfingu.
Ekki nota sláttuvélina án hlífa og annars öryggisbúnaðar á sínum stað á sláttuvélinni og í nothæfu ástandi.
Haldið nærstöddum og börnum utan vinnusvæðisins. Ekki leyfa börnum að stjórna sláttuvélinni. Leyfið eingöngu fólki með þroska, þjálfun, þekkingu og líkamlega burði að stjórna vélinni. Gildandi reglur á hverjum stað kunna að setja takmörk við aldur stjórnanda.
Drepið á vélinni, takið lykilinn úr (ef hann er til staðar) og bíðið þar til allir hlutar hafa stöðvast áður en farið er úr ökumannssætinu. Leyfið vinnuvélinni að kólna áður en hún er stillt, unnið að viðhaldi og viðgerðum, hún þrifin eða sett í geymslu.
Röng notkun eða viðhald þessarar sláttuvélar
getur leitt til meiðsla. Til að draga úr slysahættu
skal fara eftir þessum öryggisleiðbeiningum og vera
ávallt vakandi fyrir öryggistákninu
, sem merkir Aðgát“, Viðvörun“
eða Hætta“ – öryggisleiðbeiningar.
Ef ekki er farið eftir þessum leiðbeiningum er hætta
á meiðslum á fólki eða dauða.
![]() |
Öryggismerkingar og leiðbeiningar sjást greinilega og eru hjá öllum svæðum þar sem möguleg hætta er til staðar. Skiptið um skemmdar eða týndar merkingar. |




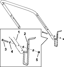
Hlutar sem þarf fyrir þetta verk:
| Neðra handfang | 1 |
| Fótskör | 1 |
| Bolti (6 x 35 mm) | 1 |
| Skífa (6 mm) | 3 |
| Lásró (6 mm) | 1 |
Note: Aðeins er hægt að nota fótskörina til að styðja handfangið í lóðréttri stöðu þegar handfangið er sett saman í lægri stöðu 103,4 cm.

Ákvarðið hæð handfangsins þegar fótskörin er fest í uppfestingu (Mynd 3).
Látið opið á fótskörinni passa við opið á neðra handfanginu (Mynd 4).

Festið fótskörina við handfangið með bolta (6 x 35 mm), 3 skífum (6 mm) og lásró (6 mm).
Herðið lásróna og boltann.
Note: Gangið úr skugga um að hægt sé að snúa fótskörinni.
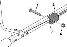
Hlutar sem þarf fyrir þetta verk:
| T-fóðringar | 4 |
| Bolti (6 x 55 mm) | 2 |
| Skífa (6 mm) | 6 |
| Lásró (6 mm) | 2 |
| Hnúður | 2 |
| U-bolti | 2 |
| Tengi fyrir handfang | |
| Efra handfang | 1 |
| Bolti (1/4 x 1-3/4 to.) | 1 |
| Lásró (1/4 tomma) | 1 |
Setjið 2 t-fóðringar í flansa handfangsins á sláttupall (Mynd 5).

Látið fótskör handfangs passa við uppfestingu á palli (Mynd 6).

Látið opið á handfanginu flútta við götin (Mynd 7) og festið handfangið við vélina með bolta (6 x 55 mm), 2 skífum (6 mm) og lásró (6 mm).

Endurtakið skref 3 á hinni hlið vinnuvélarinnar.
Látið opin á efra handfanginu flútta við opin á neðra handfanginu (Mynd 8).

Festið efra handfang við það neðra með 2 U-boltum, 2 skífum (6 mm) og 2 hnúðum.
Festið hakið á enda snúruslíðursins í efra op tengisins (Mynd 9).

Þrýstið á gangstöng þar til hægt er að fjarlægja það frá efra handfanginu og takið það frá (Mynd 10).

Setjið snúruhakið í op festingarinnar á gangstöng eins og sýnt er á Mynd 11.

Setjið enda gangstangar í handfangið og togið í hinn enda stjórnandahandfangsins til að stinga honum inn (Mynd 13).

Festið tengið við efra handfangið (Mynd 14) með boltanum (1/4 x 1-3/4 tommur) og lásró (1/4 tommur).

Important: Sláttuvélin er afhent án olíu á vél. Áður en vélin er gangsett þarf því að hella olíu á hana.
API-þjónustuflokkun: SJ eða hærri
Seigjustig olíu: 10W-30 olía
Olíurúmtak: 0,40 L
Færið sláttuvélina á jafnsléttu.
Takið olíukvarðann úr stútnum og strjúkið af honum með hreinum klút (Mynd 14).

Hellið tilgreindri vélarolíu hægt í áfyllingarstútinn (Mynd 15) og bíðið í 3 mínútur.

Setjið olíukvarðann í stútinn og takið hann aftur úr.
Lesið olíuhæðina af olíukvarðanum (Mynd 16).
Note: Ef vélin er yfirfyllt af olíu skal fjarlægja umframolíuna samkvæmt leiðbeiningum í Aftöppun smurolíu.

Ef olíuhæð er undir neðri mörkum skal þurrka kvarðann með hreinum klút og endurtaka skref 3 til 5 þar til smurolíuhæð er við efri mörk.
Setjið olíukvarðann í stútinn og herðið hann nægilega.



Gangstöng (Mynd 19) stjórnar bremsu kasthjólsins og kveikju vélarinnar.
Togið gangstöngina að handfanginu til að ræsa vélina.
Sleppið gangstönginni til að drepa á vélinni.
Notið afsláttarloka (Mynd 19) til að stjórna flæði eldsneytis til vélarinnar.
Lokið afsláttarloka þegar vélin er flutt, gert er við hana eða hún geymd.
Opnið afsláttarloka eldsneytis til að keyra vélina.
|
Gerð |
Breidd sláttar |
Breidd vöru |
|---|---|---|
|
02616 |
457 mm (18 to.) |
574 mm (22 5/8 tommur) |
Úrval tengitækja og aukabúnaðar sem Toro samþykkir er í boði fyrir sláttuvélina til að auka við afkastagetu hennar. Hafið samband við viðurkenndan þjónustu- og söluaðila eða dreifingaraðila Toro eða farið á www.https://www.toro.com/en-GB þar sem finna má lista yfir öll samþykkt tengitæki og aukabúnað.
Notið eingöngu varahluti og aukabúnað frá Toro til að tryggja hámarksafköst og áframhaldandi öryggisvottun sláttuvélarinnar. Varahlutir og aukabúnaður frá öðrum framleiðendum geta reynst hættulegir og notkun þeirra kann að fella ábyrgðina úr gildi.
Note: Miðið vinstri og hægri hlið sláttuvélarinnar út frá hefðbundinni vinnustöðu.
Drepið á vélinni, takið lykilinn úr (ef hann er til staðar) og bíðið þar til allir hlutar hafa stöðvast áður en farið er úr ökumannssætinu. Leyfið vinnuvélinni að kólna áður en hún er stillt, unnið að viðhaldi og viðgerðum, hún þrifin eða sett í geymslu.
Lærið á örugga notkun búnaðarins, stjórntækin og öryggismerkingarnar.
Gangið úr skugga um að allar hlífar og öryggisbúnaður sé á sínum stað og starfi á réttan hátt.
Skoðið sláttuvélina reglulega til að kanna hvort slit eða skemmdir séu á sláttudisknum, stöðuhólkum og skurðarbúnaðinum.
Skoðið svæðið þar sem nota á sláttuvélina og fjarlægið hluti sem gætu truflað virkni hennar eða sem sláttuvélin gæti kastað til.
Við stillingu skurðarhæðar getur sá sem stillir komist í snertingu við sláttuhnífinn og orðið fyrir alvarlegum meiðslum.
Skiptið út biluðum hljóðkút.
Eldsneyti er mjög eldfimt og mjög sprengifimt. Eldur eða sprenging af völdum eldsneytis getur valdið brunasárum og eignatjóni.
Til að koma í veg fyrir að stöðurafmagn valdi íkveikju í eldsneytinu skal setja ílátið og/eða sláttuvélina beint á jörðina áður en fyllt er á, ekki á ökutæki eða annan hlut.
Fyllið á eldsneytisgeyminn utandyra, á opnu svæði, þegar vélin er köld. Þurrkið upp eldsneytisleka.
Fyllið á eldsneytisgeyminn utandyra, á opnu svæði, með kalda vél. Þurrkið upp eldsneytisleka.
Ekki meðhöndla eldsneyti á meðan reykt er eða nálægt óvörðum loga eða neistaflugi.
Ekki fjarlægja eldsneytislokið eða fylla á geyminn með vélina í gangi eða á meðan hún er heit.
Ekki reyna að gangsetja vélina ef eldsneyti hefur hellst niður. Forðist að mynda aðstæður til íkveikju fyrr en eldsneytisgufur hafa gufað upp.
Geymið eldsneyti í samþykktu íláti og geymið þar sem börn ná ekki til.
Festið lok á eldsneytisgeymi og öllum eldsneytisílátum tryggilega.
Eldsneyti er skaðlegt eða lífshættulegt við inntöku. Langtímaváhrif frá gufum geta valdið alvarlegum meiðslum og veikindum.
Forðist innöndun gufa í langan tíma.
Haldið höndum og andliti í öruggri fjarlægð frá stútnum og opi eldsneytisgeymisins.
Haldið eldsneyti í öruggri fjarlægð frá augum og húð.
| Gerð | Blýlaust bensín |
| Lágmarksoktanatala | 87 (Bandaríkin) eða 91 (oktantala við rannsóknir; utan Bandaríkjanna) |
| Etanól | Ekki yfir 10% |
| Metanól | Ekkert |
| MTBE (metýltertbútýleter) | Ekki yfir 15% |
| Olía | Blandið ekki við eldsneytið |
Notið aðeins hreint, nýtt (ekki eldra en 30 daga) eldsneyti frá áreiðanlegum dreifingaraðila.
Important: Til að lágmarka vandamál við ræsingu skal bæta stöðgara/bætiefni fyrir eldsneyti saman við nýtt eldsneyti, í samræmi við leiðbeiningar framleiðanda stöðgara/bætiefnis.
Note: Frekari upplýsingar eru í notendahandbók vélarinnar.
Hreinsið svæðið í kringum eldsneytislokið og takið lokið af geyminum.
Fyllið á eldsneytisgeyminn með tilgreindu eldsneyti eins og sýnt er á Mynd 20.

Setjið lokið á eldsneytisgeyminn.
Frekari upplýsingar eru í Smurolíuhæð könnuð.
Klæðist viðeigandi klæðnaði, þar á meðal hlífðargleraugum, síðbuxum, sterkum skófatnaði með skrikvörn og heyrnarhlífum. Takið sítt hár í tagl og ekki klæðast víðum fatnaði eða hangandi skartgripum.
Sýnið árvekni á meðan unnið er á sláttuvélinni. Ekki gera neitt sem veldur truflun; slíkt kann að leiða til meiðsla eða eignatjóns.
Notið ekki sláttuvélina veik, þreytt eða undir áhrifum áfengis eða annarra vímuefna.
Aftengið sláttudiskinn og allar drifkúplingar áður en vélin er sett í gang.
Ræsið vélina samkvæmt leiðbeiningum og meðan fótum er haldið vel frá sláttudisk.
Hallið vélinni aldri meira en nauðsynlegt er til að ræsa hana og lyfti aðeins þeim hluta sem er fjær notanda.
Drepið á vélinni, takið lykilinn úr (ef hann er til staðar) og bíðið þar til allir hlutar hafa stöðvast áður en farið er úr ökumannssætinu. Leyfið vinnuvélinni að kólna áður en hún er stillt, unnið að viðhaldi og viðgerðum, hún þrifin eða sett í geymslu.
Þegar losað er um stjórntæki fyrir nærveru stjórnanda ætti vélin að drepa á sér og sláttudiskurinn ætti að stöðvast innan 3 sekúndna. Ef slíkt gerist ekki, skal umsvifalaust hætta notkun sláttuvélarinnar og hafa samband við viðurkenndan þjónustuaðila.
Haldið nærstöddum, einkum börnum og gæludýrum, utan vinnusvæðisins. Haldið smábörnum utan vinnusvæðis og í umsjá fullorðins einstaklings sem ekki er að vinna á sláttuvélinni. Stöðvið sláttuvélina ef einhver kemur inn á svæðið.
Vinnið eingöngu á sláttuvélinni með góða yfirsýn og við viðeigandi veðurskilyrði. Ekki nota sláttuvélina þegar hætta er á eldingum.
Blautt gras eða lauf geta valdið alvarlegum meiðslum ef einstaklingur rennur og kemst í snertingu við skurðarskífuna. Forðist að slá í bleytu, ef hægt er.
Sýnið sérstaka aðgát þegar komið er að blindhornum, runnum, trjám eða öðrum hlutum sem kunna að takmarka útsýnið.
Verið vakandi fyrir holum, skorningum, ójöfnum, grjóti eða öðrum huldum hlutum. Ójafnt undirlag getur leitt til þess að stjórnandi missi jafnvægið eða fótfestu.
Ef sláttuvélin rekst í hlut eða byrjar að titra skal tafarlaust drepa á vélinni, bíða þar til allir hlutar á hreyfingu hafa stöðvast og aftengja vírinn frá kertinu áður en leitað er eftir skemmdum á sláttuvélinni. Sinnið öllum nauðsynlegum viðgerðum áður en vinnu er haldið áfram.
Takið aldrei upp eða berið vél meðan hún er í gangi.
Ef vélin var í gangi er hún heit og getur valdið alvarlegum brunasárum. Haldið öruggri fjarlægð frá heitri vél.
Útblástursgas inniheldur kolsýring sem er banvænn við innöndun. Ekki láta vélina ganga innandyra eða í lokuðum rýmum.
Notið eingöngu aukabúnað og tengitæki sem samþykkt eru af Toro.
Brekkur valda mikilli hættu á stjórnmissi sem leitt getur til alvarlegra meiðsla eða dauða. Stjórnandinn er ábyrgur fyrir öruggri notkun í halla. Sérstaka aðgát þarf að sýna þegar sláttuvélinni er ekið í halla. Áður en sláttuvélinni er ekið í halla þarf að gera eftirfarandi:
Lesið vandlega leiðbeiningar um akstur í halla í þessari handbók.
Metið aðstæður á vinnusvæðinu til að ákvarða hvort hallinn er öruggur til vinnu. Beitið almennu hyggjuviti og sýnið góða dómgreind við matið. Breytingar á undirlagi, svo sem raki, geta haft skjót áhrif á virkni sláttuvélarinnar í halla.
Hafið ávallt trygga fótstöðu og öruggt tak á handfanginu. Gangið; hlaupið aldrei.
Sláið þvert á halla; aldrei upp og niður.
Gætið fyllstu varúðar við stefnubreytingar í halla.
Ekki skal slá í mjög miklum halla.
Gætið fyllstu varúðar þegar bakkað er eða sláttuvélin er dregin í átt að stjórnanda.
Forðist slátt í blautu grasi. Léleg fótfesta getur valdið slysi vegna falls.
Fjarlægið eða merkið hindranir á borð við skurði, holur, hjólför, ójöfnur, grjót eða aðrar duldar hættur. Hátt gras getur hulið hindranir.
Sýnið aðgát þegar slegið er nálægt háum bökkum, skurðum eða vegköntum.
Gætið þess að hafa hendurnar ávallt á handföngunum við notkun.
Þegar slegið er ofan frá í halla og auka þarf skurðarbreiddina skal nota stækkanlegt handfang af réttri gerð.

Snúið handfangi afsláttarloka eldsneytis lárétt til að opna hann.
Snúið handfangi afsláttarloka eldsneytis lóðrétt til að loka honum.
Opnið afsláttarloka eldsneytis; sjá Afsláttarloki eldsneytis.
Togið gangstöngina í átt að handfanginu.

Setjið fótinn á þiljuna og hallið sláttuvélinni að ykkur (Mynd 23).

Haldið gangstönginni inni um leið og togað er í gangsetningarsnúruna.
Note: Hafið samband við viðurkenndan þjónustuaðila eða viðurkenndan dreifingaraðila Toro ef sláttuvélin fer ekki í gang eftir nokkrar tilraunir.
| Tíðni viðhaldsþjónustu | Viðhaldsferli |
|---|---|
| Fyrir hverja notkun eða daglega |
|
Sleppið gangstöng til að drepa á vélinni (Mynd 24).
Important: Þegar gangstöng er sleppt ætti bæði vélin og sláttudiskurinn að stöðvast innan 3 sekúndna. Ef búnaðurinn stöðvast ekki á fullnægjandi hátt skal umsvifalaust hætta notkun og hafa samband við viðurkenndan þjónustuaðila eða viðurkenndan dreifingaraðila Toro.

Note: Ef neðra handfanginu er komið fyrir í stöðunni 103,4 cm skal nota fótskörina til að styðja handfangið í lóðréttri stöðu

Til að losa handfangið skal lyfta því og snúa fótskörinni fram (Mynd 25).
Til að styðja við handfangið skal koma því fyrir og snúa fótskörinni aftur á bak.
| Tíðni viðhaldsþjónustu | Viðhaldsferli |
|---|---|
| Árlega |
|
Skoðið einingu sláttudisks í hvert sinn sem skipt er um sláttulínu. Ef eining sláttudisksins er skemmd skal skipta um hana umsvifalaust.
Fjarlægið sláttudiskinn; sjá Sláttudiskur fjarlægður.
Skiptið út sláttulínum með tveimur jafnlöngum sláttulínum eins og sýnt er á mynd Mynd 26.

Komið sláttudiski fyrir, sjá Uppsetning sláttudisks.
Við stillingu skurðarhæðar getur sá sem stillir komist í snertingu við sláttudiskinn og orðið fyrir alvarlegum meiðslum.
Drepið á vélinni og bíðið þar til allir hlutar á hreyfingu hafa stöðvast.
Notið hlífðarhanska þegar skurðardiskurinn er meðhöndluð.
Hljóðkúturinn kann að vera heitur ef vélin var í gangi og getur valdið alvarlegum brunasárum.
Haldið öruggri fjarlægð frá heitum hljóðkútnum.
Skoðið einingu sláttudisks í hvert sinn sem sláttuhæð er stillt. Ef eining sláttudisksins er skemmd skal skipta um hana umsvifalaust.
Fjarlægið sláttudiskinn; sjá Sláttudiskur fjarlægður.
Breytið staðsetningu stöðuhólkanna til að stilla sláttuhæð eins og sýnt er á (Mynd 27).
Note: Hver stöðuhólkur breytir sláttuhæð um 6,3 mm.

Komið sláttudiski fyrir, sjá Uppsetning sláttudisks.
Skoðið einingu sláttudisks í hvert sinn sem hann er fjarlægður. Ef eining sláttudisksins er skemmd skal skipta um hana umsvifalaust.
Lokið afsláttarloka eldsneytis; sjá Afsláttarloki eldsneytis.
Aftengið vírinn frá kertinu.
Leggið sláttuvélina á hliðina og látið olíukvarðann snúa niður.
Important: Leggið ávallt vélina á hliðina og látið olíukvarðann snúa niður. Þegar sláttuvélinni er hallað í aðra átt kann olía að fylla ventlabúnaðinn og í slíku tilviki tekur um 30 mínútur að tappa olíunni af.

Skoðið stöðu stöðuhólka.

Notið lykilinn sem fylgir með vélinni til að fjarlægja sláttudiskinn með því að snúa boltanum rangsælis (Mynd 29), og haldið öllum búnaði til haga.
Important: Notið hlífðargleraugu og hlífðarhanska þegar sláttudiskurinn er fjarlægður.
Important: Nota þarf herslulykil til að festa einingu sláttudisksins rétt. Ef herslulykill er ekki til staðar eða stjórnandi treystir sér ekki til að sinna þessari vinnu skal hafa samband við viðurkenndan sölu- og þjónustuaðila eða viðurkenndan dreifingaraðila Toro.
Setjið splitti, sláttudisk og keilulaga stöðuhólk við spaðavals með boltanum (Mynd 30).
Important: Setjið alltaf keilulaga stöðuhólk bent fyrir neðan spaðavals og splitti undir boltahaus.

Herðið boltann í 25 N∙m (18 ft-lb).
Note: Bolti sem er hertur með 25 N m (18 ft-lb) hersluátaki er mjög vel hertur. Haldið spaðavalsinum á sínum stað og setjið þyngd á skaftið og herðið þannig boltann.
Setjið vélina í upprétta stöðu, tengið kertisvírinn við kertið og opnið afsláttarlokann.
Setjið gróf á fótskör undir uppfestingu til að bæta meðhöndlun vélarinnar.

Skoðið svæðið þar sem nota á vinnuvélina og fjarlægið hluti sem hún getur skotið frá sér.
Forðist að slá í harða hluti með sláttulínunni. Aldrei ýta/aka sláttuvélinni viljandi yfir hluti.
Ef hnífarnir slást í hlut eða sláttuvélin byrjar að titra skal tafarlaust drepa á vélinni, aftengja vírinn frá kertinu og leita eftir skemmdum á sláttuvélinni.
Virknin verður best ef skipt er um sláttulínur fyrir hvert sláttutímabil.
Skiptið um sláttulínu eins og þörf er á og notið sláttulínu frá Toro.
Gangið úr skugga um að nýja sláttulínan sé af sömu lengd og fyrri sláttulína.
Sláið eingöngu einn þriðja af hæð grass í hvert skipti. Ekki slá gras niður fyrir hæstu stillingu (30 mm eða 1-1,4 tommur) nema það sé gisið eða komið sé fram á haust og grasvöxtur orðinn hægur; sjá Sláttuhæð stillt.
Sláið ekki gras sem er meira en 15 cm (6 tommu) hátt vegna þess að það getur stíflað vélina eða haft áhrif á gang hennar.
Blautt gras eða lauf eiga það til að klessast saman og valda stíflum í sláttuvélinni eða stöðva vélina. Sláið eingöngu þurrt gras, ef slíku er við komið.
Blautt gras eða lauf geta valdið alvarlegum meiðslum ef einstaklingur rennur og kemst í snertingu við hnífinn.
Sláið eingöngu þurrt gras, ef slíku er við komið.
Varist mögulega eldhættu í miklu þurrviðri. Fylgið öllum staðbundnum viðvörunum um eldhættu og losið allt þurrt gras og lauf úr sláttuvélinni.
Ef útlit grassvarðarins er óviðunandi skal reyna eitt eða fleira af eftirfarandi:
Skoðið sláttubúnaðinn og/eða skiptið um sláttulínu.
Farið hægar yfir við slátt.
Hækkið sláttuhæðina.
Sláið grasið oftar.
Tryggið að yfirferðir skarist við slátt.
Að slætti loknum skal ganga úr skugga um að um helmingur grassvarðarins sjáist í gegnum slegið laufþykknið. Hugsanlega þarf að fara oftar en einu sinni yfir lauf.
Ekki er ráðlagt að slá gras sem er hærra en 15 cm. Ef laufblaðsþekjan er of há gæti sláttuvélin stíflast og mótorinn stöðvast.
Farið hægar yfir ef sláttuvélin nær ekki að tæta laufin nógu fínt.
Drepið á vélinni, takið lykilinn úr (ef hann er til staðar) og bíðið þar til allir hlutar hafa stöðvast áður en farið er úr ökumannssætinu. Leyfið vinnuvélinni að kólna áður en hún er stillt, unnið að viðhaldi og viðgerðum, hún þrifin eða sett í geymslu.
Hreinsið gras og óhreinindi af sláttuvélinni til að koma í veg fyrir eldhættu. Hreinsið upp olíu- eða eldsneytisleka.
Aldrei geyma vinnuvélina eða eldsneytisílát nærri óvörðum loga, neistaflugi eða kveikiloga, á borð við vatnshitara eða öðrum heimilistækjum.
Gangið tryggilega frá sláttuvélinni.
Sýnið aðgát þegar sláttuvélin er fermd eða affermd.
| Tíðni viðhaldsþjónustu | Viðhaldsferli |
|---|---|
| Eftir hverja notkun |
|
Sláttuvélin kann að losa um óhreinindi undan vélarhúsinu.
Notið hlífðargleraugu.
Verið áfram í vinnslustöðu (fyrir aftan handfangið).
Ekki leyfa óviðkomandi aðilum að standa á svæðinu.
Leggið sláttuvélina á hliðina og látið olíukvarðann snúa niður.
Important: Leggið ávallt vélina á hliðina og látið olíukvarðann snúa niður. Þegar sláttuvélinni er hallað í aðra átt kann olía að fylla ventlabúnaðinn og í slíku tilviki tekur um 30 mínútur að tappa olíunni af.
Notið bursta eða þrýstiloft til að fjarlægja gras og óhreinindi af útblásturshlífinni, efra skerminum og nálægum þiljum.
Hreinsið kælikerfið, fjarlægið gras og óhreinindi af loftælingu vélarinnar og startara.
Note: Hreinsið kælikerfið oftar ef um mikil óhreinindi er að ræða eða notkun í háu grasi.
Note: Miðið vinstri og hægri hlið sláttuvélarinnar út frá hefðbundinni vinnustöðu.
| Tíðni viðhaldsþjónustu | Viðhaldsferli |
|---|---|
| Eftir fyrstu 5 klukkustundirnar |
|
| Fyrir hverja notkun eða daglega |
|
| Eftir hverja notkun |
|
| Á 25 klukkustunda fresti |
|
| Á 100 klukkustunda fresti |
|
| Árlega |
|
Drepið á vélinni, takið lykilinn úr (ef hann er til staðar) og bíðið þar til allir hlutar hafa stöðvast áður en farið er úr ökumannssætinu. Leyfið vinnuvélinni að kólna áður en hún er stillt, unnið að viðhaldi og viðgerðum, hún þrifin eða sett í geymslu.
Aftengið kertavírinn frá kertinu áður en viðhaldi er sinnt.
Klæðist hönskum og hlífðargleraugum þegar unnið er við sláttuvélina.
Skoðið vélina reglulega og skiptið um eydda eða skemmda hluta. Aðeins má nota sláttueiningar sem henta notkunarhraða vélarinnar.
Aldrei eiga við öryggisbúnað. Kannið hvort hann virki rétt með reglulegu millibili.
Eldsneytisleki getur átt sér stað þegar sláttuvélinni er hallað. Eldsneyti er eldfimt og sprengifimt og getur valdið meiðslum á fólki. Látið vélina ganga þar eldsneyti klárast eða tappið eldsneyti af með handdælu; aldrei sjúga eldsneytið úr geyminum.
Herðið allar festingar til að tryggja viðeigandi ástand vélarinnar.
Ekki má breyta stillingu gangráðs vélarinnar eða setja vélina í yfirsnúning.
Notið eingöngu varahluti og aukabúnað frá Toro til að tryggja hámarksafköst sláttuvélarinnar. Varahlutir og aukabúnaður frá öðrum framleiðendum geta reynst hættulegir og notkun þeirra kann að fella ábyrgðina úr gildi.
Eldsneytisleki getur átt sér stað þegar sláttuvélinni er hallað. Eldsneyti er eldfimt og sprengifimt og getur valdið meiðslum á fólki.
Látið vélina ganga þar eldsneyti klárast eða tappið eldsneyti af með handdælu, aldrei sjúga eldsneytið úr geyminum.
Important: Leggið ávallt vélina á hliðina og látið olíukvarðann snúa niður. Þegar sláttuvélinni er hallað með olíukvarðann upp kann olía að fylla ventlabúnaðinn og í slíku tilviki tekur um 30 mínútur að tappa olíunni af.
Drepið á vélinni og bíðið þar til allir hlutar á hreyfingu hafa stöðvast.
Færið sláttuvélina á jafnsléttu.
Takið kertavírinn úr kertinu (Mynd 32).

Lokið afsláttarloka eldsneytis; sjá Afsláttarloki eldsneytis.
Important: Tæma skal eldsneytistank áður en gert er við vélina.
Að viðhaldi loknu skal opna eldsneytislokann og tengja kertavírinn við kertið.
| Tíðni viðhaldsþjónustu | Viðhaldsferli |
|---|---|
| Árlega |
|
Ýtið niður á klinkuflipana efst á loftsíuhlífinni niður (Mynd 33).

Fjarlægið hlífina.
Fjarlægið síueininguna (Mynd 33).
Skoðið loftsíuna.
Ef sían er skemmd, blaut af olíu eða eldsneyti og óhóflega óhrein skal skipta henni út.
Þegar sían er óhrein skal slá henni í hart yfirborð nokkrum sinnum eða blása þrýstilofti af minni þrýstingi en 207 kPa (30 psi) í gegnum þá hlið síunnar sem snýr að vélinni.
Note: Ekki bursta óhreinindin af síunni, burstun þrýstir óhreinindum inn í trefjarnar.
Hreinsið loftsíusæti og hlíf með rökum klút. Gætið þess að óhreinindi berist ekki í loftrásina þegar þurrkað er.
Komið síunni fyrir í síusæti.
Setjið lokið á.
API-þjónustuflokkun: SJ eða hærri
Seigjustig olíu: 10W-30 olía
| Tíðni viðhaldsþjónustu | Viðhaldsferli |
|---|---|
| Fyrir hverja notkun eða daglega |
|
Búið vinnuvélina undir viðhald; sjá Undirbúningur fyrir viðhaldsvinnu.
Takið olíukvarðann úr stútnum og strjúkið af honum með hreinum klút.
Setjið olíukvarðann í stútinn og takið hann aftur úr.
Important: Þræðið ekki olíukvarðann í áfyllingarstútinn.
Lesið olíuhæðina af olíukvarðanum.

Ef olíuhæðin er nálægt eða undir neðri mörkum kvarðans (Mynd 34) skal hella tilgreindri vélarolíu hægt í áfyllingarstútinn (Mynd 35) og bíða í 3 mínútur.

Þurrkið kvarðann með hreinum klút og endurtakið skref 3 til 5 þar til smurolíuhæð er við efri mörk.
Setjið olíukvarðann í stútinn og herðið hann nægilega.
| Tíðni viðhaldsþjónustu | Viðhaldsferli |
|---|---|
| Eftir fyrstu 5 klukkustundirnar |
|
| Á 25 klukkustunda fresti |
|
Ef vélin er köld skal keyra hana í 1 til 2 mínútur til að hita upp olíuna.
Gangið úr skugga um að eldsneytisgeymirinn innihaldi lítið sem ekkert eldsneyti og að eldsneytið leki ekki þegar sláttuvélin er lögð á hliðina.
Búið vinnuvélina undir viðhald; sjá Undirbúningur fyrir viðhaldsvinnu.
Takið olíukvarðann úr stútnum og strjúkið af honum með hreinum klút.
Setjið afrennslispönnu á jörðina við olíufyllingarhálshlið vélarinnar (Mynd 35).

Leggið sláttuvélina á hliðina og látið áfyllingarstútinn snúa niður til að tappa af olíu um áfyllingarstútinn.
Important: Leggið ávallt vélina á hliðina og látið olíukvarðann snúa niður. Þegar sláttuvélinni er hallað í aðra átt kann olía að fylla ventlabúnaðinn og í slíku tilviki tekur um 30 mínútur að tappa olíunni af.
Komið sláttuvélinni aftur í vinnslustöðu.
Hreinsið olíu sem hefur lekið úr vélinni.
Note: Fargið notaðri olíu á endurvinnslustöð.
Olíurúmtak: 0,40 L
Hellið tilgreindri vélarolíu hægt í áfyllingarstútinn (Mynd 35) og bíðið í 3 mínútur.

Setjið olíukvarðann í stútinn og takið hann aftur úr.
Important: Þræðið ekki olíukvarðann í áfyllingarstútinn.
Lesið olíuhæðina af olíukvarðanum (Mynd 38).
Note: Ef vélin er yfirfyllt af olíu skal fjarlægja umframolíuna samkvæmt leiðbeiningum í Aftöppun smurolíu.

Ef olíuhæð er undir neðri mörkum skal þurrka kvarðann með hreinum klút og endurtaka skref 1 til 3 þar til smurolíuhæð er við efri mörk.
Setjið olíukvarðann í stútinn og herðið hann nægilega.
| Tíðni viðhaldsþjónustu | Viðhaldsferli |
|---|---|
| Á 100 klukkustunda fresti |
|
Forskrift kerta: Champion RN9YC eða samsvarandi
Búið vinnuvélina undir viðhald; sjá Undirbúningur fyrir viðhaldsvinnu.
Hreinsið svæðið í kringum kertið.
Takið kertið úr strokklokinu.
Important: Skiptið um slitin, skemmd eða skítug kerti. Ekki þrífa rafskautin vegna þess að aðskotahlutir sem komast í strokk geta skemmt vélina.
Stillið loftbil (Mynd 39) á milli miðjurafskauts og hliðarrafskauts í 0,76 mm.

Setjið kertið og pakkninguna í.
Herðið kertið í 20 N∙m (15 ft-lb).
Tengið vírinn við kertið.
Drepið á vélinni, takið lykilinn úr (ef hann er til staðar) og bíðið þar til allir hlutar hafa stöðvast áður en farið er úr ökumannssætinu. Leyfið vinnuvélinni að kólna áður en hún er stillt, unnið að viðhaldi og viðgerðum, hún þrifin eða sett í geymslu.
Leyfið vélinni að kólna áður en vinnuvélin er sett í geymslu innandyra.
Leyfið vélinni að kólna áður en vinnuvélin er sett í geymslu innandyra.
Aldrei geyma vinnuvélina eða eldsneytisílát nærri óvörðum loga, neistaflugi eða kveikiloga, á borð við vatnshitara eða öðrum heimilistækjum.
Fjarlægið gras, lauf og óhreinindi af hljóðkút og úr vélarrými til að koma í veg fyrir hættu á íkveikju.
Eldsneytisgufur geta sprungið.
Ekki skal geyma eldsneyti lengur en 30 daga.
Ekki skal geyma vélina á svæði nærri opnum eldi.
Leyfið vélinni að kólna áður en hún er sett í geymslu.
Við síðustu eldsneytisáfyllingu ársins skal setja eldsneytisstöðgara í eldsneytið samkvæmt leiðbeiningum frá framleiðanda vélarinnar.
Látið sláttuvélina ganga þar til eldsneytið klárast og vélin drepur á sér.
Gangsetjið vélina aftur og látið hana ganga þar til hún drepur á sér. Þegar ekki er lengur hægt að gangsetja vélina er eldsneytið alveg búið.
Aftengið vírinn frá kertinu.
Fjarlægið kertið, fyllið 30 ml af smurolíu á kertaopið og togið varlega í startarareipið nokkrum sinnum til að dreifa olíunni um strokkinn.
Setjið kertið í og herðið það með 20 N∙m hersluátaki.
Leitið reglulega eftir sliti eða skemmdum á disknum. Ef sláttudiskurinn er skemmdur eða eyddur skal skipta um hann.
Herðið allar rær, bolta og skrúfur.
Geymið sláttuvélina á svölum, hreinum og þurrum stað.
| Problem | Possible Cause | Corrective Action |
|---|---|---|
| Vélin fer ekki í gang. |
|
|
| Erfitt er að gangsetja vélina eða hún missir afl. |
|
|
| Vélin höktir. |
|
|
| Sláttuvélin eða vélin titrar óeðlilega mikið. |
|
|
| Sláttur er ójafn. |
|
|