| Периодичность технического обслуживания | Порядок технического обслуживания |
|---|---|
| Перед каждым использованием или ежедневно |
|
Данная машина предназначена для использования коммерческими операторами, работающими по найму, для ухода за травяным покровом на склонах, труднодоступных неровных участках, в зонах вблизи водоемов или кромок бункеров. Использование этого изделия не по прямому назначению может быть опасным для пользователя и находящихся рядом людей.
Внимательно прочтите данное Руководство, чтобы знать, как правильно использовать и обслуживать машину, не допуская ее повреждения и травмирования персонала. Вы несете ответственность за правильное и безопасное использование машины.
Посетите www.https://www.toro.com/en-GB для получения дополнительной информации, включая рекомендации по технике безопасности, обучающие материалы, сведения по принадлежностям, а также для получения помощи в поиске дилера или для регистрации вашего изделия.
Для выполнения технического обслуживания, приобретения оригинальных запчастей Toro или получения дополнительной информации обращайтесь в сервисный центр официального дилера или в отдел технического обслуживания компании Toro. Не забудьте при этом указать модель и серийный номер изделия. На Рисунок 1 показано расположение номера модели и серийного номера. Запишите номера в предусмотренном для этого месте.
Important: С помощью мобильного устройства вы можете отсканировать QR-код на табличке с серийным номером (при наличии), чтобы получить информацию по гарантии и запчастям, а также другие сведения об изделии.

Запишите название модели и серийный номер в поля, отведенные для этой цели ниже:
В настоящем руководстве приведены потенциальные опасности и рекомендации по их предотвращению, обозначенные символом (Рисунок 2), который предупреждает об опасности серьезного травмирования или гибели в случае несоблюдения пользователем рекомендуемых мер безопасности.

Для выделения информации в данном руководстве используются два слова. Внимание — привлекает внимание к специальной информации, относящейся к механической части машины, и Примечание — выделяет общую информацию, требующую специального внимания.
Данное изделие отвечает требованиям всех соответствующих европейских директив. Дополнительные сведения можно найти в Декларации соответствия (DOC) конкретного изделия, выпущенной в виде отдельного документа.
Максимальный полезный крутящий момент (нетто): максимальный полезный крутящий момент (нетто) данного двигателя установлен в лабораторных условиях производителем двигателя в соответствии с требованиями J1940 или J2723 Сообщества автомобильных инженеров (SAE). Так как конфигурация двигателя была изменена для удовлетворения требований по безопасности, составу выхлопа и эксплуатации, фактический крутящий момент двигателя газонокосилки этого класса будет значительно ниже. См. информацию производителя двигателя, прилагаемую к машине.
Important: Перед использованием машины внимательно прочитайте данные инструкции и сохраните их для справок в будущем.
При эксплуатации данной машины существует опасность травмирования рук и ног, а также опасность выброса посторонних предметов. Во избежание тяжелых травм следует всегда соблюдать все правила техники безопасности.
Перед запуском двигателя прочтите и усвойте содержание настоящего Руководства оператора.
Запрещается помещать руки и ноги рядом с движущимися компонентами машины.
Запрещается эксплуатировать машину без установленных на ней исправных ограждений и других защитных устройств.
Запрещается допускать посторонних лиц и детей в рабочую зону. Запрещается допускать детей к эксплуатации машины. К эксплуатации данной машины разрешается допускать только ответственных, обученных лиц, знающих инструкции и физически способных управлять машиной. Минимальный возраст оператора устанавливается местными правилами и нормами.
Прежде чем покинуть рабочее место оператора, выключите двигатель, извлеките ключ (при наличии) и дождитесь остановки всех движущихся частей машины. Следует дать машине остыть перед регулировкой, техническим обслуживанием, очисткой или помещением на хранение.
Нарушение правил
эксплуатации или
технического обслуживания
машины может привести
к травме. Чтобы
снизить вероятность
травмирования,
выполняйте правила
техники безопасности
и всегда обращайте
внимание на символы,
предупреждающие
об опасности (
, которые
имеют следующее
значение: «Осторожно!»,
«Предупреждение!»
или «Опасно!» —
указания по обеспечению
личной безопасности.
Несоблюдение данных
инструкций может
стать причиной
травмы или гибели.
![]() |
Предупреждающие наклейки и инструкции по технике безопасности должны быть хорошо видны оператору и установлены во всех местах потенциальной опасности. При отсутствии или повреждении наклейки следует установить новую наклейку. |




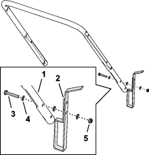
Детали, требуемые для этой процедуры:
| Нижняя рукоятка | 1 |
| Ножной упор | 1 |
| Болт (6 x 35 мм) | 1 |
| Шайба (6 мм) | 3 |
| Контргайка (6 мм) | 1 |
Note: Ножной упор можно использовать только для поддержки в вертикальном положении рукоятки, установленной в нижнее положение на 103,4 см.

Определите высоту рукоятки, когда ножной упор прикреплен к упорному кронштейну верхнего положения (Рисунок 3).
Совместите отверстие в ножном упоре с отверстием в нижней рукоятке (Рисунок 4).

Присоедините ножной упор к рукоятке с помощью болта (6 x 35 мм), 3 шайб (6 мм) и контргайки (6 мм).
Затяните контргайку и болт.
Note: Убедитесь, что вы можете повернуть ножной упор.
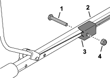
Детали, требуемые для этой процедуры:
| Т-образные втулки | 4 |
| Болт (6 x 55 мм) | 2 |
| Шайба (6 мм) | 6 |
| Контргайка (6 мм) | 2 |
| Ручка | 2 |
| U-образный болт | 2 |
| Фитинг рукоятки | |
| Верхняя рукоятка | 1 |
| Болт (¼ x 1¾ дюйма) | 1 |
| Контргайка (¼ дюйма) | 1 |
Вставьте две Т-образные втулки во фланцы рукоятки деки газонокосилки (Рисунок 5).

Совместите ножной упор рукоятки с упорным кронштейном верхнего положения на деке (Рисунок 6).

Совместите отверстие в рукоятке с отверстиями во втулках (Рисунок 7) и прикрепите рукоятку к машине с помощью болта (6 x 55 мм), двух шайб (6 мм) и контргайки (6 мм).

Повторите действия, описанные в пункте 3, на другой стороне машины.
Совместите отверстия в верхней рукоятке с отверстиями в нижней рукоятке (Рисунок 8).

Прикрепите верхнюю рукоятку к нижней рукоятке с помощью двух U-образных болтов, двух шайб (6 мм) и двух ручек.
Вставьте фитинг на конце оболочки тросика в верхнее гнездо фитинга рукоятки (Рисунок 9).

Нажмите на плечо штанги контроля присутствия оператора так, чтобы его можно было снять с верхней рукоятки, и снимите штангу с машины (Рисунок 10).

Вставьте фитинг тросика в отверстие кронштейна штанги контроля присутствия оператора, как показано на Рисунок 11.

Вставьте конец штанги контроля присутствия оператора в рукоятку, слегка нажмите на другое плечо штанги и установите штангу на рукоятку (Рисунок 13).

Прикрепите фитинг рукоятки к верхней рукоятке (Рисунок 14) с помощью болта (¼ x 1¾ дюйма) и контргайки (¼ дюйма).

Important: При поставке с завода двигатель машины не заправлен маслом. Перед запуском двигателя залейте в него масло.
Уровень эксплуатационной классификации по API: SJ или выше
Вязкость масла: масло 10W-30
Объем масла: 0,40 л
Установите машину на ровную поверхность.
Извлеките щуп из маслозаливной горловины и протрите его чистой ветошью (Рисунок 14).

Медленно залейте масло указанного типа в маслозаливную горловину (Рисунок 15) и подождите 3 минуты.

Вставьте щуп в маслозаливную горловину, затем извлеките его.
Проверьте уровень масла по щупу (Рисунок 16).
Note: В случае переполнения картера двигателя маслом слейте излишнее количество масла; см. раздел Слив масла из двигателя.

Если уровень масла ниже верхнего предела, протрите щуп чистой ветошью и повторяйте действия, указанные в пунктах 3 – 5, пока уровень масла в двигателе не достигнет отметки верхнего предела.
Вставьте щуп в маслозаливную горловину и надежно затяните его от руки.



Штанга контроля присутствия оператора (Рисунок 19) контролирует тормоз маховика и зажигание двигателя.
Прижмите штангу к рукоятке, чтобы запустить двигатель.
Отпустите штангу от рукоятки, чтобы заглушить двигатель.
Используйте клапан отключения подачи топлива (Рисунок 19), чтобы управлять потоком топлива в двигатель.
При транспортировке, техобслуживании или хранении машины закройте клапан отключения подачи топлива.
Откройте клапан отключения подачи топлива для работы двигателя.
|
Модель |
Ширина захвата режущего блока |
Ширина изделия |
|---|---|---|
|
02616 |
457 мм |
574 мм |
Для улучшения и расширения возможностей машины можно использовать ряд утвержденных компанией Toro вспомогательных приспособлений и навесного оборудования. Для получения списка всего утвержденного навесного оборудования и принадлежностей свяжитесь с сервисным центром официального дилера, официальным дистрибьютором компании Toro или посетите сайт www.https://www.toro.com/en-GB.
Для поддержания оптимальных рабочих характеристик машины и регулярного прохождения сертификации безопасности всегда приобретайте только оригинальные запасные части и приспособления компании Toro. Использование запасных частей и приспособлений, изготовленных другими производителями, может быть опасным и привести к аннулированию гарантии на изделие.
Note: Определите левую и правую стороны машины относительно места оператора.
Прежде чем покинуть рабочее место оператора, выключите двигатель, извлеките ключ (при наличии) и дождитесь остановки всех движущихся частей машины. Дайте машине остыть перед регулировкой, техническим обслуживанием, очисткой или помещением на хранение.
Ознакомьтесь с приемами безопасной эксплуатации оборудования, органами управления и знаками безопасности.
Убедитесь, что все ограждения и защитные устройства находятся на своих местах и правильно работают.
Всегда проверяйте машину на наличие износа и повреждений режущего диска, болта, проставок и стопора.
Осмотрите участок, где будет использоваться машина, и удалите все посторонние предметы, которые могут мешать при работе машины или которые могут быть отброшены машиной.
При регулировке высоты скашивания можно коснуться движущегося режущего диска, что может стать причиной серьезной травмы.
Замените неисправный глушитель.
Топливо является легковоспламеняющейся и крайне взрывоопасной жидкостью.Возгорание или взрыв топлива может вызвать ожоги у оператора и находящихся рядом лиц и повреждение имущества.
Чтобы предотвратить воспламенение топлива разрядом статического электричества, перед заправкой устанавливайте емкость с топливом и(или) машину непосредственно на землю, а не на транспортное средство или другой объект.
Доливайте топливо в топливный бак или сливайте топливо вне помещения, на открытом месте, при холодном двигателе. Сразу же вытирайте пролитое топливо.
Заправляйте топливный бак вне помещения, на открытом воздухе и при холодном двигателе. Сразу же вытирайте пролитое топливо.
Не курите при заправке и не заправляйте машину вблизи источников огня или искрения.
Не снимайте крышку топливного бака и не доливайте топливо в бак при работающем или горячем двигателе.
В случае пролива топлива не пытайтесь запустить двигатель. Не допускайте создания источника возгорания, пока пары топлива не испарятся.
Храните топливо в штатной емкости в месте, недоступном для детей.
Надежно закройте крышку топливного бака и крышки всех топливных контейнеров.
Топливо опасно для здоровья и может привести к гибели при проглатывании. Продолжительное воздействие паров топлива может привести к тяжелой травме или заболеванию.
Не вдыхать пары топлива.
Не приближайте лицо и руки к патрубку и отверстию топливного бака.
Не допускайте попадания топлива в глаза и на кожу.
| Тип | Неэтилированный бензин |
| Минимальное октановое число | 87 (США) или 91 (исследовательское октановое число – за пределами США) |
| Содержание этилового спирта | Не более 10% по объему |
| Метанол | Не допускается |
| MTBE (метил-трет-бутиловый эфир) | Менее 15% по объему |
| Масло | Не добавляйте в топливо |
Используйте только чистое, свежее топливо (полученное в течение последних 30 дней) от надежных поставщиков.
Important: Чтобы избежать проблем при запуске, добавьте стабилизирующую/кондиционирующую присадку в свежее топливо, следуя указаниям изготовителя присадки.
Note: См. дополнительную информацию в руководстве по эксплуатации двигателя для вашей машины.
Очистите область вокруг крышки топливного бака и снимите ее.
Заполните топливный бак топливом указанного типа, как показано на Рисунок 20.

Установите крышку на топливный бак.
Используйте подходящую одежду, включая защитные очки, длинные брюки, нескользящую прочную обувь и средства защиты органов слуха. Закрепляйте длинные волосы на затылке и не носите свободную одежду или ювелирные украшения.
При работе на данной машине следует быть предельно внимательным. Во избежание травмирования людей или повреждения имущества запрещается отвлекаться во время работы.
Запрещается управлять машиной в состоянии болезни, усталости, а также под воздействием алкоголя или сильнодействующих лекарственных препаратов.
Перед пуском двигателя отключите режущий диск и все муфты привода.
Запустите двигатель в соответствии с инструкциями, держите ноги на безопасном расстоянии от режущего диска.
Не наклоняйте машину больше, чем это необходимо для пуска двигателя, и поднимайте только ту часть машины, которая находится дальше от вас.
Прежде чем покинуть рабочее место оператора, выключите двигатель, извлеките ключ (при наличии) и дождитесь остановки всех движущихся частей машины. Следует дать машине остыть перед регулировкой, техническим обслуживанием, очисткой или помещением на хранение.
После отпускания штанги контроля присутствия оператора двигатель должен остановиться и режущий диск должен перестать вращаться в течение 3 секунд. Если этого не происходит, незамедлительно прекратите эксплуатацию машины и обратитесь в сервисный центр официального дилера.
Не допускайте посторонних лиц, особенно детей и домашних животных, в рабочую зону. Необходимо следить, чтобы маленькие дети находились за пределами рабочей зоны и под внимательным наблюдением ответственного взрослого человека, который не управляет в данный момент машиной. Останавливайте машину, когда кто-либо входит в рабочую зону.
Эксплуатируйте машину только при наличии хорошего обзора и в подходящих погодных условиях. Запрещается работать на машине, если существует вероятность удара молнией.
Влажная трава и листья могут стать причиной серьезной травмы, если вы поскользнетесь и коснетесь режущего диска. По возможности не косите в условиях повышенной влажности.
Будьте крайне осторожны при приближении к закрытым поворотам, кустарникам, деревьям или другим предметам, которые могут ограничить обзор.
Остерегайтесь ям, выбоин, ухабов, камней и других скрытых препятствий. Работа на неровной поверхности может привести к потере равновесия или устойчивого положения ног оператора.
Если произошел удар машины о какой-либо предмет или машина начала вибрировать, немедленно выключите двигатель, дождитесь остановки всех движущихся частей и отсоедините провод от свечи зажигания, прежде чем приступить к осмотру машины на наличие повреждений. Перед возобновлением работы необходимо устранить все неисправности.
Запрещается приподнимать машину и переносить ее с работающим двигателем.
Если двигатель работал продолжительное время, он будет очень горячим и может вызвать серьезные ожоги. Держитесь на безопасном расстоянии от горячего двигателя.
Выхлопные газы двигателя содержат угарный газ, вдыхание которого может привести к гибели. Запрещается запускать двигатель в помещении или закрытом пространстве.
Используйте только принадлежности и навесное оборудование, утвержденные компанией Toro.
Основная опасность при работе на склонах — потеря управляемости и опрокидывание машины, которое может привести к травме или гибели. Вы несете ответственность за безопасную работу на склонах. Эксплуатация машины на любых склонах требует максимальной осторожности. Перед использованием машины на склоне выполните следующие действия:
Прочитайте и изучите инструкции по работе на склонах, приведенные в руководстве.
Оцените условия на рабочей площадке, чтобы определить, безопасно ли эксплуатировать машину на склоне в этот день. При осмотре площадки всегда руководствуйтесь здравым смыслом и правильно оценивайте ситуацию. Изменения характера поверхности, например влага, могут мгновенно повлиять на работу машины на склоне.
Примите устойчивое положение и крепко держитесь за рукоятки. Двигайтесь шагом; бежать запрещено.
Выполняйте скашивание поперек склонов, никогда не перемещайтесь вверх и вниз.
Будьте крайне осторожны при изменении направления движения на склоне.
Запрещается косить на очень крутых склонах.
Будьте крайне осторожны при изменении направления движения и при перемещении машины на себя.
Не скашивайте влажную траву. Неустойчивое положение ног создает опасность – человек может поскользнуться и упасть.
Удалите или пометьте препятствия, такие как канавы, ямы, колея, ухабы, камни или другие скрытые опасности. Высокая трава может скрывать различные препятствия.
Будьте осторожны при скашивании рядом с обрывами, канавами или насыпями.
При использовании машины всегда держите обе руки на рукоятке.
При скашивании травы с верхней точки склона, когда необходимо увеличить диапазон действия машины, используйте утвержденную к применению удлиненную рукоятку.

Поверните рукоятку клапана отключения подачи топлива в горизонтальное положение, чтобы открыть клапан.
Поверните рукоятку клапана отключения подачи топлива в вертикальное положение, чтобы закрыть клапан.
Откройте клапан отключения подачи топлива; см. раздел Клапан отключения подачи топлива.
Прижмите штангу контроля присутствия оператора к рукоятке.

Поставьте ногу на деку и наклоните машину на себя (Рисунок 23).

Удерживая штангу контроля присутствия оператора, потяните за рукоятку механического стартера.
Note: Если машина не запустится после нескольких попыток, обратитесь в сервисный центр официального дилера или к официальному дистрибьютору компании Toro.
| Периодичность технического обслуживания | Порядок технического обслуживания |
|---|---|
| Перед каждым использованием или ежедневно |
|
Чтобы выключить двигатель, отпустите штангу контроля присутствия оператора (Рисунок 24).
Important: После отпускания штанги контроля присутствия оператора двигатель и режущий диск должны остановиться в течение 3 секунд. Если они не останавливаются надлежащим образом, немедленно прекратите эксплуатацию машины и обратитесь в сервисный центр официального дилера или к официальному дистрибьютору Toro.

Note: Если вы установили рукоятку в нижнее положение 103,4 см, используйте ножной упор, чтобы поддерживать рукоятку в вертикальном положении.

Чтобы отпустить рукоятку, поднимите рукоятку и поверните ножной упор вперед (Рисунок 25).
Чтобы поддерживать рукоятку, установите ее в соответствующее положение и поверните ножной упор назад.
| Периодичность технического обслуживания | Порядок технического обслуживания |
|---|---|
| Ежегодно |
|
Проверяйте узел режущего диска каждый раз при замене режущей лески. Если узел режущего диска поврежден, немедленно замените его.
Снимите режущий диск; см. раздел Снятие режущего диска.
Замените имеющиеся режущие лески 2 отрезками одинаковой длины новой режущей лески, как показано на Рисунок 26.

Установите режущий диск; см. раздел Установка режущего диска.
При регулировке высоты скашивания можно коснуться режущего диска, что может стать причиной серьезной травмы.
Выключите двигатель и дождитесь остановки всех движущихся частей.
Используйте защитные перчатки, чтобы удерживать режущий диск.
Если двигатель работал, глушитель может быть горячим и вызвать серьезные ожоги.
Держитесь на достаточном расстоянии от горячего глушителя.
Проверяйте узел режущего диска каждый раз при регулировке высоты скашивания. Если узел режущего диска поврежден, немедленно замените его.
Снимите режущий диск; см. раздел Снятие режущего диска.
Измените положение проставок, чтобы отрегулировать высоту скашивания, как показано на Рисунок 27.
Note: Каждая проставка изменяет высоту скашивания на 6,3 мм.

Установите режущий диск; см. раздел Установка режущего диска.
Проверяйте узел режущего диска каждый раз при снятии режущего диска. Если узел режущего диска поврежден, немедленно замените его.
Закройте клапан отключения подачи топлива; см. раздел Клапан отключения подачи топлива.
Отсоедините провод от свечи зажигания.
Наклоните машину на сторону таким образом, чтобы масломерный щуп был направлен вниз.
Important: Всегда наклоняйте машину на бок таким образом, чтобы щуп был направлен вниз. Если перевернуть машину на другую сторону, масло может заполнить клапанный механизм, что потребует слива масла как минимум в течение 30 минут.

Запишите расположение проставок.

Используйте ключ, прилагаемый к машине, чтобы снять режущий диск путем вращения болта против часовой стрелки (Рисунок 29); сохраните все крепежные детали.
Important: При снятии режущего диска используйте защитные очки и стойкие к порезам перчатки.
Important: Для правильной установки узла режущего диска потребуется динамометрический ключ. При отсутствии динамометрического ключа или условий, необходимых для выполнения этой процедуры, свяжитесь с сервисным центром официального дилера или официальным дистрибьютором компании Toro.
Установите стопор, режущий диск, проставки и коническую проставку на крыльчатку с помощью болта (Рисунок 30).
Important: Всегда устанавливайте коническую проставку непосредственно под крыльчаткой, а стопор — под головкой болта.

Затяните болт с моментом 25 Н∙м.
Note: Затяжка болта до 25 Н∙м очень тугая. Удерживая крыльчатку, с усилием нажмите на динамометрический ключ, приложив собственный вес, и затяните болт.
Отклоните машину в вертикальное положение, подсоедините провод к свече зажигания и откройте клапан отключения подачи топлива.
Установите петлю ножного упора под верхний упор, чтобы улучшить управление машиной.

Осмотрите участок, где будет использоваться машина, и удалите все посторонние предметы, которые могут быть отброшены машиной.
Избегайте ударов режущей лески о твердые предметы. Запрещается намеренно производить скашивание поверх какого-либо предмета.
Если произошел удар машины о какой-либо предмет или машина начала вибрировать, следует немедленно выключить двигатель, отсоединить провод от свечи зажигания и осмотреть машину на наличие повреждений.
Для получения оптимальных рабочих характеристик устанавливайте новую режущую леску перед началом сезона скашивания.
По мере необходимости заменяйте режущую леску запасной леской производства компании Toro.
Убедитесь в том, что сменная режущая леска имеет длину, соответствующую длине неизношенной лески.
Срезайте только около одной трети высоты травы за один проход. Не срезайте траву ниже самой высокой настройки (30 мм), кроме случаев, когда трава растет рассеянно, или в конце осени, когда рост травы начинает замедляться; см. раздел Регулировка высоты скашивания.
Не скашивайте траву высотой более 15 см, потому что это может привести к засорению механизма машины и остановке двигателя.
Перемещение газонокосилки по слежавшейся листве или траве также может привести к засорению механизма машины и остановке двигателя. По возможности косите только в сухую погоду.
Влажная трава и листья могут стать причиной серьезной травмы, если вы поскользнетесь и коснетесь режущей лески.
По возможности косите только в сухую погоду.
Помните об опасности возникновения пожара в очень сухих условиях, соблюдайте все местные противопожарные правила и очищайте машину от сухой травы и листьев.
Если после скашивания внешний вид газона неудовлетворительный, попробуйте выполнить одно (или несколько) из следующих действий:
Осмотрите режущий блок и/или замените режущую леску.
При скашивании идите медленнее.
Увеличьте высоту скашивания на машине.
Скашивайте траву чаще.
Выполняйте скашивание с частичным перекрытием полос вместо срезания полной полосы за каждый проход.
После скашивания убедитесь, что поверхность газона в достаточной степени видна сквозь слой срезанных листьев. Возможно, потребуются повторные проходы по покрытой листвой поверхности.
Не рекомендуется скашивать траву высотой свыше 15 см. Если слой листьев слишком толстый, это может вызвать заедание машины и привести к останову двигателя.
Если газонокосилка недостаточно мелко перерабатывает листья, уменьшите скорость движения при скашивании.
Прежде чем покинуть рабочее место оператора, выключите двигатель, извлеките ключ (при наличии) и дождитесь остановки всех движущихся частей машины. Следует дать машине остыть перед регулировкой, техническим обслуживанием, очисткой или помещением на хранение.
Для предотвращения возгорания необходимо очищать машину от травы и загрязнений. Удаляйте следы утечек масла или топлива.
Запрещается хранить машину или емкость с топливом вблизи открытого пламени, искр или малых горелок, используемых, например, в водонагревателях или другом оборудовании.
Закрепите машину.
Будьте осторожны при погрузке или выгрузке машины.
| Периодичность технического обслуживания | Порядок технического обслуживания |
|---|---|
| После каждого использования |
|
Материал может выбрасываться из-под корпуса машины при ее работе.
Следует использовать средства защиты глаз.
Оставайтесь в рабочем положении (позади рукоятки).
Запрещается допускать посторонних лиц в рабочую зону.
Наклоните машину на сторону таким образом, чтобы масломерный щуп был направлен вниз.
Important: Всегда наклоняйте машину на бок таким образом, чтобы щуп был направлен вниз. Если перевернуть машину на другую сторону, масло может заполнить клапанный механизм, что потребует слива масла как минимум в течение 30 минут.
Используйте щетку или сжатый воздух для удаления травы или загрязнений из ограждения выхлопа, с верхнего кожуха и из зон вокруг деки.
Очистите систему охлаждения; удалите из ребер воздушного охлаждения двигателя и стартера обрезки травы, мусор или грязь.
Note: При эксплуатации газонокосилки в условиях сильного загрязнения или большого количества сорняков производите очистку системы охлаждения чаще.
Note: Определите левую и правую стороны машины относительно места оператора.
| Периодичность технического обслуживания | Порядок технического обслуживания |
|---|---|
| Через первые 5 часа |
|
| Перед каждым использованием или ежедневно |
|
| После каждого использования |
|
| Через каждые 25 часов |
|
| Через каждые 100 часов |
|
| Ежегодно |
|
Прежде чем покинуть рабочее место оператора, выключите двигатель, извлеките ключ (при наличии) и дождитесь остановки всех движущихся частей машины. Следует дать машине остыть перед регулировкой, техническим обслуживанием, очисткой или помещением на хранение.
Прежде чем выполнять любые процедуры технического обслуживания, отсоедините провод от свечи зажигания.
Используйте перчатки и средства защиты глаз во время технического обслуживания машины.
Регулярно проверяйте машину и заменяйте все изношенные или поврежденные детали. Используйте только режущие элементы, подходящие для использования на соответствующей рабочей скорости машины.
Запрещается изменять конструкцию защитных устройств. Регулярно проверяйте правильность работы таких устройств.
При опрокидывании машины топливо может вытечь. Топливо является легковоспламеняющейся, взрывоопасной жидкостью и может стать причиной травмы. Не выключайте двигатель до полной выработки топлива или откачайте топливо ручным насосом; запрещается использовать перелив сифоном.
Чтобы обеспечить безопасную работу машины, следите, чтобы все крепежные детали были надежно затянуты.
Не изменяйте настройку регулятора оборотов двигателя и не превышайте его допустимую частоту вращения.
Для гарантии оптимальных рабочих характеристик машины используйте только оригинальные запасные части и принадлежности компании Toro. Использование запасных частей и приспособлений, изготовленных другими производителями, может быть опасным и привести к аннулированию гарантии на изделие.
При опрокидывании машины топливо может вытечь. Топливо является воспламеняющейся, взрывоопасной жидкостью и может стать причиной травмы.
Подождите, пока топливо полностью не выработается, или откачайте его ручным насосом; запрещается использовать перелив сифоном.
Important: Всегда наклоняйте машину на бок таким образом, чтобы щуп был направлен вниз. Если перевернуть машину так, что щуп будет направлен вверх, масло может заполнить клапанный механизм, что потребует слива масла как минимум в течение 30 минут.
Выключите двигатель и дождитесь остановки всех движущихся частей.
Установите машину на ровную поверхность.
Отсоедините провод от свечи зажигания (Рисунок 32).

Закройте клапан отключения подачи топлива; см. раздел Клапан отключения подачи топлива.
Important: Если вы ремонтируете машину, слейте топливо из топливного бака.
После выполнения процедуры (процедур) технического обслуживания откройте топливный клапан и подсоедините провод к свече зажигания.
| Периодичность технического обслуживания | Порядок технического обслуживания |
|---|---|
| Ежегодно |
|
Нажмите на язычки защелок, расположенные наверху крышки воздушного фильтра (Рисунок 33).

Снимите крышку.
Снимите элемент фильтра (Рисунок 33).
Осмотрите бумажный воздушный фильтр.
Если фильтр поврежден, смочен маслом, топливом или сильно загрязнен, замените его.
Если воздушный фильтр загрязнен, несколько раз постучите им по твердой поверхности или продуйте сжатым воздухом под давлением не меньше 2,07 бар через боковую сторону фильтра, обращенную к двигателю.
Note: Запрещается счищать грязь с фильтра щеткой; щетка втирает грязь в волокна.
Очистите основание и крышку воздушного фильтра с помощью влажной ветоши. Не допускайте попадания грязи в воздушный канал.
Вставьте фильтр в основание фильтра.
Установите крышку на место.
Уровень эксплуатационной классификации по API: SJ или выше
Вязкость масла: масло 10W-30
| Периодичность технического обслуживания | Порядок технического обслуживания |
|---|---|
| Перед каждым использованием или ежедневно |
|
Подготовьте машину к техническому обслуживанию; см. раздел Подготовка к операциям технического обслуживания.
Извлеките щуп из маслозаливной горловины и протрите его чистой ветошью.
Вставьте щуп в маслозаливную горловину, затем извлеките его.
Important: Не заворачивайте щуп в заливную горловину.
Проверьте уровень масла по щупу.

Если уровень масла около или ниже отметки нижнего предела на щупе (Рисунок 34), медленно залейте моторное масло указанного типа в маслозаливную горловину (Рисунок 35) и подождите 3 минуты.

Протрите щуп чистой ветошью и повторите действия, указанные в пунктах 3 – 5, пока уровень масла в двигателе не достигнет отметки верхнего предела.
Вставьте щуп в маслозаливную горловину и надежно затяните его от руки.
| Периодичность технического обслуживания | Порядок технического обслуживания |
|---|---|
| Через первые 5 часа |
|
| Через каждые 25 часов |
|
Если двигатель холодный, дайте ему поработать в течение 1–2 минут для прогрева масла.
Убедитесь, что в топливном баке мало топлива или нет вообще, чтобы исключить его вытекание при наклоне машины на бок.
Подготовьте машину к техническому обслуживанию; см. раздел Подготовка к операциям технического обслуживания.
Извлеките щуп из маслозаливной горловины и протрите его чистой ветошью.
Поместите сливной поддон рядом с декой на земле со стороны маслозаливной горловины машины (Рисунок 35).

Наклоните машину на бок таким образом, чтобы маслозаливная горловина была направлена вниз, для слива масла.
Important: Всегда наклоняйте машину на бок таким образом, чтобы щуп был направлен вниз. Если перевернуть машину на другую сторону, масло может заполнить клапанный механизм, что потребует слива масла как минимум в течение 30 минут.
Верните машину в рабочее положение.
Очистите машину от пролитого масла.
Note: Удаляйте в отходы использованное масло согласно установленным нормам и правилам в местный пункт по утилизации.
Объем масла: 0,40 л
Медленно залейте масло указанного типа в маслозаливную горловину (Рисунок 35) и подождите 3 минуты.

Вставьте щуп в маслозаливную горловину, затем извлеките его.
Important: Не заворачивайте щуп в заливную горловину.
Проверьте уровень масла по щупу (Рисунок 38).
Note: В случае переполнения картера двигателя маслом слейте излишнее количество масла; см. раздел Слив масла из двигателя.

Если уровень масла ниже верхнего предела, протрите щуп чистой ветошью и повторяйте действия, указанные в пунктах 1 – 3, пока уровень масла в двигателе не достигнет отметки верхнего предела.
Вставьте щуп в маслозаливную горловину и надежно затяните его от руки.
| Периодичность технического обслуживания | Порядок технического обслуживания |
|---|---|
| Через каждые 100 часов |
|
Тип свечи зажигания: Champion RN9YC или эквивалентная.
Подготовьте машину к техническому обслуживанию; см. раздел Подготовка к операциям технического обслуживания.
Очистите поверхность вокруг свечи зажигания.
Выверните свечу зажигания из головки цилиндра.
Important: Замените изношенную, поврежденную или загрязненную свечу зажигания. Не очищайте электроды, поскольку частицы окалины могут попасть в цилиндр и повредить двигатель.
Отрегулируйте зазор (Рисунок 39) между средним и боковым электродами так, чтобы он составлял 0,76 мм.

Установите свечу зажигания и прокладку.
Затяните свечу зажигания с моментом 20 Н∙м.
Присоедините провод к свече зажигания.
Прежде чем покинуть рабочее место оператора, выключите двигатель, извлеките ключ (при наличии) и дождитесь остановки всех движущихся частей машины. Следует дать машине остыть перед регулировкой, техническим обслуживанием, очисткой или помещением на хранение.
Перед постановкой машины на хранение в закрытом пространстве дайте двигателю остыть.
Перед постановкой машины на хранение в закрытом пространстве дайте двигателю остыть.
Запрещается хранить машину или емкость с топливом вблизи открытого пламени, искр или малых горелок, используемых, например, в водонагревателях или другом оборудовании.
Для предотвращения возгораний очистите от травы, листьев и мусора глушитель и двигательный отсек.
Пары топлива могут взорваться.
Не храните топливо более 30 дней.
Не ставьте машину на хранение в помещении, где используется открытый огонь.
Перед постановкой на хранение дайте двигателю остыть.
Согласно рекомендации изготовителя двигателя, перед последней в году заправкой двигателя добавьте в свежее топливо стабилизатор топлива.
Дайте возможность машине поработать до тех пор, пока двигатель не остановится, израсходовав все топливо.
Снова запустите двигатель и дайте ему поработать, пока не остановится. Если двигатель больше не запускается, значит, его топливная система пустая.
Отсоедините провод от свечи зажигания.
Выверните свечу зажигания, долейте 30 мл моторного масла в отверстие для свечи и несколько раз медленно потяните трос стартера для распределения масла по цилиндру.
Установите свечу зажигания на место, затем затяните ее с моментом 20 Н∙м.
Проверьте режущий диск на наличие износа или повреждений. Если режущий диск поврежден или режущая леска изношена, замените их.
Затяните все гайки, болты и винты.
Храните машину в прохладном, чистом и сухом месте.
| Problem | Possible Cause | Corrective Action |
|---|---|---|
| Двигатель не запускается. |
|
|
| Двигатель запускается с трудом или теряет мощность. |
|
|
| Двигатель работает неравномерно. |
|
|
| Чрезмерная вибрация машины или двигателя. |
|
|
| Неровное скашивание травы. |
|
|