| Servisní interval | Postup při údržbě |
|---|---|
| Při každém použití nebo denně |
|
Tento stroj mají používat pracovníci najímaní pro komerční účely k údržbě trávníků na svazích, příkřeji zvlněném terénu, poblíž vodních ploch nebo na okrajích bunkrů. Používání tohoto výrobku pro jiné účely, než ke kterým je určen, může být nebezpečné uživateli i přihlížejícím osobám.
Přečtěte si pečlivě následující informace, abyste věděli, jak máte správně používat a pečovat o svůj výrobek a jak se vyhnout zranění a poškození výrobku. Za správný a bezpečný provoz výrobku nese odpovědnost majitel.
Více informací, včetně bezpečnostních pokynů, podkladů pro školení a údajů o příslušenství, naleznete na stránce www.https://www.toro.com/en-GB. Můžete zde také vyhledat prodejce výrobků nebo zaregistrovat svůj výrobek.
Kdykoli budete potřebovat servis, originální díly Toro nebo doplňující informace, obraťte se na autorizované servisní středisko nebo zákaznický servis Toro a uveďte model a výrobní číslo svého výrobku. Obrázek 1 znázorňuje umístění typového a sériového čísla na výrobku. Vepište sériové číslo do příslušného pole.
Important: Potřebujete-li informace o záruce, náhradních dílech a jiných údajích o výrobku, můžete pomocí mobilního telefonu naskenovat QR kód na štítku sériového čísla (je-li k dispozici).

Vepište typové a sériové číslo výrobku do mezery níže:
Tato příručka identifikuje potenciální rizika a obsahuje bezpečnostní sdělení označená varovným bezpečnostním symbolem (Obrázek 2) signalizujícím riziko, které může způsobit vážný úraz nebo usmrcení, nebudete-li dodržovat doporučená opatření.

V této příručce jsou pro zdůraznění informací používána dvě slova. Důležité upozorňuje na speciální technické informace a Poznámka zdůrazňuje obecné informace, které stojí za zvláštní pozornost.
Tento výrobek splňuje všechny relevantní směrnice Evropské unie. Podrobnosti najdete na příslušném Prohlášení o shodě pro tento výrobek.
Hrubý nebo čistý točivý moment: Hrubý nebo čistý točivý moment tohoto motoru byl laboratorně stanoven výrobcem motoru v souladu se specifikacemi SAE (Society of Automotive Engineers, Asociace automobilových inženýrů) J1940 a J2723. V souladu s bezpečnostními, emisními a provozními požadavky byl efektivní točivý moment motoru u sekačky této třídy nastaven na výrazně nižší hodnotu. Prostudujte si příručku výrobce motoru dodávanou se strojem.
Important: Před použitím stroje si pečlivě přečtěte tuto příručku a uschovejte ji pro budoucí použití.
Tento výrobek může zranit ruce a nohy a odmršťovat předměty. Dodržujte vždy všechny bezpečnostní pokyny, abyste zamezili vážnému úrazu.
Před spuštěním motoru si pozorně přečtěte tuto provozní příručku, abyste porozuměli jejímu obsahu.
Nepřibližujte ruce ani nohy do blízkosti rotujících částí stroje.
Nikdy neprovozujte stroj, pokud nejsou všechny jeho kryty ve správné poloze nebo pokud nejsou řádně funkční další bezpečnostní ochranná zařízení.
Přihlížející osoby a děti se musí zdržovat mimo pracovní prostor. Nikdy nedovolte dětem stroj obsluhovat. Stroj mohou obsluhovat pouze zodpovědné osoby, které byly proškoleny, jsou obeznámeny s pokyny a fyzicky způsobilé. Věková hranice obsluhy může být omezena místními předpisy.
Před opuštěním místa obsluhy vypněte motor, vyjměte klíč (dle výbavy) a počkejte, až se zastaví všechny pohybující se části. Před seřizováním, údržbou, čištěním nebo skladováním nechejte stroj vychladnout.
Nesprávné používání
nebo údržba tohoto stroje mohou vést ke zranění.
Z důvodu snížení možného
rizika zranění dodržujte tyto bezpečnostní
pokyny a vždy věnujte pozornost výstražnému
symbolu
,
který označuje upozornění, výstrahu
nebo nebezpečí – pokyny k zajištění
osobní bezpečnosti. Nedodržení těchto
pokynů může mít za následek zranění
osob nebo jejich usmrcení.
![]() |
Bezpečnostní štítky a pokyny jsou umístěny na místě viditelném obsluhou a v blízkosti každého prostoru představujícího potenciální nebezpečí. V případě ztráty nebo poškození původní nálepky nahraďte nálepku novou. |




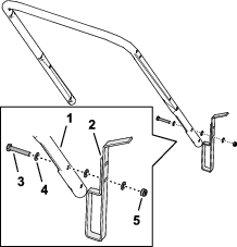
Díly potřebné k provedení tohoto kroku:
| Dolní rukojeť | 1 |
| Nožní zarážka | 1 |
| Šroub (6 x 35 mm) | 1 |
| Podložka (6 mm) | 3 |
| Pojistná matice (6 mm) | 1 |
Note: K podepření rukojeti ve svislé poloze můžete použít nožní zarážku pouze za předpokladu, že rukojeť namontujete do dolní polohy ve výšce 103,4 cm.

Výšku rukojeti určete, když je nožní zarážka připevněna ke konzole horní zarážky (Obrázek 3).
Vyrovnejte otvor v nožní zarážce s otvorem v dolní rukojeti (Obrázek 4).

Namontujte nožní zarážku k rukojeti pomocí šroubu (6 x 35 mm), 3 podložek (6 mm) a pojistné matice (6 mm).
Pojistnou matici a šroub utáhněte.
Note: Přesvědčte se, zda je možné nožní zarážku otočit.
Díly potřebné k provedení tohoto kroku:
| T-pouzdra | 4 |
| Šroub (6 x 55 mm) | 2 |
| Podložka (6 mm) | 6 |
| Pojistná matice (6 mm) | 2 |
| Knoflík | 2 |
| Třmenový šroub | 2 |
| Spojka rukojeti | |
| Horní rukojeť | 1 |
| Šroub (¼ x 1 ¾ in) | 1 |
| Pojistná matice (¼ in) | 1 |
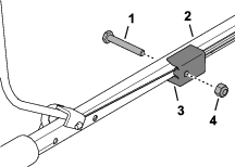
Do přírub rukojeti sekací plošiny namontujte 2 T-pouzdra (Obrázek 5).

Vyrovnejte nožní zarážku rukojeti s konzolou horní zarážky na plošině (Obrázek 6).

Vyrovnejte otvor v rukojeti s otvory v pouzdrech (Obrázek 7) a upevněte rukojeť ke stroji pomocí šroubu (6 x 55 mm), 2 podložek (6 mm) a pojistné matice (6 mm).

Zopakujte krok 3 na opačné straně stroje.
Vyrovnejte otvory v horní rukojeti s otvory v dolní rukojeti (Obrázek 8).

Připevněte horní rukojeť k dolní rukojeti pomocí 2 třmenových šroubů, 2 podložek (6 mm) a 2 knoflíků.
Vložte spojku na konci pláště lanka do horní zdířky spojky rukojeti (Obrázek 9).

Stiskněte nožku ovládací tyče přítomnosti obsluhy tak, abyste ji mohli sejmout z horní rukojeti, a odstraňte ovládací tyč ze stroje (Obrázek 10).

Zasuňte spojku lanka do otvoru v konzole ovládací tyče přítomnosti obsluhy, viz Obrázek 11.

Zasuňte konec ovládací tyče přítomnosti obsluhy do rukojeti, lehce zmáčkněte druhou nožku ovládací tyče a zasuňte ovládací tyč do rukojeti (Obrázek 13).

Upevněte spojku rukojeti na horní rukojeti (Obrázek 14) pomocí šroubu (¼ x 1 ¾ in) a pojistné matice (¼ in).

Important: Vaše sekačka není dodávána s olejem v motoru. Před startováním motoru do něj doplňte olej.
API klasifikace: SJ nebo vyšší
Viskozita oleje: Olej 10W-30
Množství oleje: 0,4 l
Umístěte sekačku na rovnou plochu.
Vytáhněte měrku z plnicího hrdla oleje a otřete ji čistým hadrem (Obrázek 14).

Pomalu nalijte předepsaný motorový olej do plnicího hrdla oleje (Obrázek 15) a 3 minuty počkejte.

Zasuňte měrku do plnicího hrdla oleje a opět ji vyjměte.
Zkontrolujte hladinu oleje na měrce (Obrázek 16).
Note: Pokud motor olejem přeplníte, přebytečné množství oleje vypusťte, viz Vypuštění motorového oleje.

Pokud je hladina oleje pod horním limitem, otřete měrku čistým hadrem a opakujte kroky 3 až 5, dokud hladina motorového oleje nedosáhne horní mezní značky.
Zasuňte měrku do plnicího hrdla oleje a opět ji rukou pevně utáhněte.



Ovládací tyč přítomnosti obsluhy (Obrázek 19) ovládá brzdu setrvačníku a zapalování motoru.
Chcete-li spustit motor, přitáhněte ovládací tyč k rukojeti.
Uvolněním ovládací tyče motor vypnete.
Uzavírací ventil paliva (Obrázek 19) se používá k regulaci toku paliva do motoru.
Před přepravou, údržbou nebo uskladněním stroje uzavírací ventil paliva uzavřete.
Chcete-li spustit motor, uzavírací ventil paliva otevřete.
|
Model |
Šířka žací stopy |
Šířka produktu |
|---|---|---|
|
02616 |
457 mm |
574 mm |
Pro stroj je k dispozici řada přídavných zařízení a příslušenství schválených firmou Toro, která vylepšují a rozšiřují možnosti stroje. Seznam schválených přídavných zařízení a příslušenství vám poskytne autorizovaný prodejce nebo distributor. Seznam je k dispozici také na stránkách www.https://www.toro.com/en-GB.
K zajištění optimální výkonnosti a dodržení požadavků na bezpečnost stroje je nutné používat pouze originální náhradní díly a příslušenství od společnosti Toro. Náhradní díly a příslušenství jiných výrobců mohou být nebezpečné a jejich použití může mít za následek zneplatnění záruky.
Note: Levou a pravou stranu stroje určete z normálního místa obsluhy.
Před opuštěním místa obsluhy vypněte motor, vyjměte klíč (dle výbavy) a počkejte, až se zastaví všechny pohybující se části. Před seřizováním, údržbou, čištěním nebo skladováním nechejte stroj vychladnout.
Dobře se seznamte s bezpečným použitím zařízení, ovládacími prvky a významem bezpečnostních nápisů.
Přesvědčte se, zda jsou všechny ochranné kryty a bezpečnostní prvky na svém místě a zda správně fungují.
Vždy se přesvědčte, zda žací kotouč, šroub, distanční podložky a držák stroje nejsou opotřebené nebo poškozené.
Zkontrolujte prostor, kde budete stroj používat, a odstraňte všechny předměty, jež mohou bránit provozu stroje nebo jež mohou být strojem vymrštěny.
Při nastavování výšky sekání se můžete dostat do kontaktu s žacím kotoučem, který může způsobit vážné zranění.
Vyměňte vadný tlumič výfuku.
Palivo je extrémně hořlavé a vysoce výbušné. Požár nebo výbuch způsobený palivem může popálit vás i jiné osoby a způsobit škody na majetku.
Aby nedošlo ke vznícení paliva od statického náboje, položte před tankováním nádobu s palivem nebo sekačku přímo na zem, nikoli na vozidlo nebo jiný předmět.
Palivo vypouštějte nebo doplňujte do palivové nádrže venku na otevřeném prostranství a při studeném motoru. Rozlité palivo utřete.
Palivo doplňujte do nádrže venku na otevřeném prostranství a při studeném motoru. Rozlité palivo utřete.
Nemanipulujte s palivem v blízkosti otevřeného ohně či jisker, nebo když kouříte.
Nikdy neodstraňujte uzávěr nádrže ani nedoplňujte palivo při spuštěném motoru nebo je-li motor horký.
Pokud rozlijete palivo, nepokoušejte se spustit motor. Dokud se neodpaří palivové výpary, zabraňte vzniku jiskření.
Palivo skladujte ve schválených nádobách a odstraňte je z dosahu dětí.
Znovu pevně nasaďte uzávěr na palivovou nádrž a všechny palivové nádoby.
Požití paliva může vést k vážnému zranění nebo úmrtí. Dlouhodobý styk s výpary může způsobit vážné újmy na zdraví a onemocnění.
Vyhýbejte se delšímu vdechování výparů.
Ruce ani obličej nepřibližujte k trysce a otvoru palivové nádrže.
Dávejte pozor, aby vám palivo nevniklo do očí a nedostalo se do kontaktu s pokožkou.
| Typ | Bezolovnatý benzín |
| Minimální oktanové číslo | 87 (USA) nebo 91 (výzkumné oktanové číslo; mimo USA) |
| Etanol | Ne více než 10 % objemu |
| Metanol | Žádné |
| MTBE (methylterciální butylether) | Méně než 15 % objemu |
| Olej | Nepřidávejte do benzínu |
Používejte pouze čisté čerstvé (ne starší než 30 dní) palivo od důvěryhodného dodavatele.
Important: Abyste předešli problémům při startování, do čerstvého paliva přidejte určité množství stabilizačního aditiva paliva podle pokynů výrobce stabilizačního aditiva paliva.
Note: Dodatečné informace naleznete v návodu k obsluze motoru.
Očistěte okolí uzávěru palivové nádrže a uzávěr odšroubujte.
Naplňte palivovou nádrž předepsaným palivem, viz Obrázek 20.

Nasaďte uzávěr na palivovou nádrž.
Používejte vhodné oblečení a pomůcky, včetně ochranných brýlí, dlouhých kalhot, pevné protiskluzové obuvi a chráničů sluchu. Svažte si dlouhé vlasy a nenoste volný oděv či volně se pohybující šperky.
Při práci se strojem věnujte jeho provozu maximální pozornost. Neprovádějte žádné činnosti, jež by mohly vaši pozornost odvádět. V takovém případě by mohlo dojít ke zranění nebo poškození majetku.
Stroj neobsluhujte, jste-li nemocní, unaveni nebo pod vlivem alkoholu nebo drog.
Před spuštěním motoru vypněte žací kotouč a spojky všech pohonů.
Spusťte motor podle pokynů a stůjte přitom tak, abyste nohy měli v bezpečné vzdálenosti od žacího kotouče.
Ke spuštění motoru nenaklánějte stroj více, než je nutné, a zvedejte pouze část, která je od vás vzdálenější.
Před opuštěním místa obsluhy vypněte motor, vyjměte klíč (dle výbavy) a počkejte, až se zastaví všechny pohybující se části. Před seřizováním, údržbou, čištěním nebo skladováním nechejte stroj vychladnout.
Po uvolnění ovládacího prvku přítomnosti obsluhy by se motor i žací kotouč měly do 3 sekund zastavit. Pokud se nezastaví, přestaňte sekačku okamžitě používat a kontaktujte autorizované servisní středisko.
Přihlížející osoby, především malé děti, a zvířata, se musí zdržovat mimo pracovní prostor. Malé děti se musejí zdržovat v bezpečné vzdálenosti od provozního prostoru a musejí být pod stálým dohledem zodpovědné dospělé osoby, která stroj neobsluhuje. Pokud někdo do tohoto prostoru vstoupí, stroj zastavte.
Pracujte se strojem jen za dobré viditelnosti a za dobrého počasí. Nepracujte se strojem, pokud hrozí nebezpečí zásahu bleskem.
Na mokré trávě nebo listí můžete uklouznout a při kontaktu se žacím kotoučem si přivodit vážné zranění. Pokud je to možné, nesekejte za mokra.
Buďte velmi opatrní, blížíte-li se k nepřehledným zatáčkám, křovinám, stromům nebo jiným objektům, které vám mohou bránit ve výhledu.
Dávejte pozor na díry, vyjeté koleje, hrboly, kameny nebo jiné skryté objekty. Na nerovném terénu můžete ztratit rovnováhu či stabilní postoj.
Pokud sekačka narazí na tvrdý předmět nebo začne vibrovat, okamžitě vypněte motor, počkejte, dokud se nezastaví všechny pohyblivé součásti, odpojte koncovku zapalovací svíčky a zkontrolujte, zda stroj není poškozený. Před obnovením provozu proveďte všechny nezbytné opravy.
Nikdy stroj nezvedejte ani nepřenášejte, je-li spuštěný motor.
Pokud byl spuštěný motor, bude horký a může způsobit vážné popálení. Nepřibližujte se k teplému motoru.
Výfukový plyn motoru obsahuje oxid uhelnatý, který má při vdechnutí smrtelné účinky. Nenechávejte motor běžet v místnostech ani v uzavřených prostorách.
Používejte pouze příslušenství a přídavná zařízení schválená společností Toro.
Svahy jsou významným faktorem při nehodách způsobených ztrátou kontroly. Takové nehody mohou vést k vážnému poranění nebo smrti. Za bezpečný provoz při práci na svahu odpovídáte vy. Práce se strojem na jakémkoli svahu vyžaduje zvýšenou pozornost. Před použitím stroje na svahu proveďte následující opatření:
Důkladně se seznamte s pokyny pro práci ve svahu uvedenými v této příručce.
Vyhodnoťte stav pracoviště v konkrétní den a určete, zda je svah pro práci se strojem bezpečný. Při provádění tohoto vyhodnocení se řiďte zásadami zdravého rozumu. Změny v terénu, jako je vlhkost, mohou rychle ovlivnit provoz stroje na svahu.
Vždy věnujte pozornost místům, kterými procházíte, a pevně držte rukojeti. Při práce kráčejte, nikdy neběhejte.
Sekejte napříč svahem, nikdy nahoru a dolů.
Buďte velmi opatrní při změnách směru pohybu na svazích.
Nesekejte na strmých svazích.
Při couvání nebo tahání stroje směrem k sobě buďte mimořádně opatrní.
Nesekejte mokrou trávu. Pokud při práci nestojíte pevně, můžete uklouznout a spadnout.
Odstraňte nebo vyznačte překážky, jako jsou příkopy, výmoly, koleje, hrboly, kameny nebo jiné skryté nebezpečné předměty. Vysoká tráva může překážky skrýt.
Sekejte opatrně v blízkosti prudkých svahů, příkopů nebo náspů.
Při práci se strojem mějte obě ruce na rukojeti.
Pokud sečete na svahu směrem shora a potřebujete delší dosah, používejte schválenou prodlouženou rukojeť.

Otočením rukojeti uzavíracího ventilu paliva do vodorovné polohy otevřete ventil.
Otočením rukojeti uzavíracího ventilu paliva do svislé polohy ventil zavřete.
Otevřete uzavírací ventil paliva, viz Uzavírací ventil paliva.
Přitáhněte ovládací tyč přítomnosti obsluhy k rukojeti.

Položte nohu na základnu sekačky a nahněte stroj směrem k sobě (Obrázek 23).

Držte ovládací tyč přítomnosti obsluhy v poloze a zatáhněte za rukojeť ručního startéru.
Note: Jestliže stroj nenastartuje ani po několika pokusech, obraťte se na autorizované servisní středisko nebo autorizovaného prodejce Toro.
| Servisní interval | Postup při údržbě |
|---|---|
| Při každém použití nebo denně |
|
Chcete-li vypnout motor, uvolněte ovládací tyč přítomnosti obsluhy (Obrázek 24).
Important: Po uvolnění ovládací tyče přítomnosti obsluhy se motor i žací kotouč musí zastavit do 3 sekund. Pokud se řádně nezastaví, okamžitě přestaňte stroj používat a kontaktujte autorizované servisní středisko nebo autorizovaného prodejce Toro.

Note: Pokud jste namontovali rukojeť do spodní polohy ve výšce 103,4 cm, k podepření rukojeti ve svislé poloze použijte nožní zarážku.

Chcete-li rukojeť uvolnit, zvedněte ji a otočte nožní zarážku dopředu (Obrázek 25).
Chcete-li rukojeť podepřít, umístěte ji do polohy a otočte nožní zarážku dozadu.
| Servisní interval | Postup při údržbě |
|---|---|
| Každý rok |
|
Při každé výměně žací struny zkontrolujte montážní celek žacího kotouče. Je-li montážní celek žacího kotouče poškozen, neprodleně jej vyměňte.
Demontujte žací kotouč, viz Demontáž žacího kotouče.
Nahraďte stávající žací struny dvěma novými, stejně dlouhými žacími strunami, viz Obrázek 26.

Namontujte žací kotouč; viz Montáž žacího kotouče.
Při nastavování výšky sekání se můžete dostat do kontaktu s žacím kotoučem, který může způsobit vážné zranění.
Vypněte motor a počkejte, dokud se všechny pohyblivé součásti nezastaví.
Při manipulaci s žacím kotoučem používejte ochranné rukavice.
Pokud byl spuštěný motor, tlumič výfuku bude žhavý a může způsobit vážné popálení.
Nepřibližujte se ke žhavému tlumiči výfuku.
Při každém nastavení výšky sekání zkontrolujte montážní celek žacího kotouče. Je-li montážní celek žacího kotouče poškozen, neprodleně jej vyměňte.
Demontujte žací kotouč; viz Demontáž žacího kotouče.
Chcete-li nastavit výšku sekání, je třeba upravit polohu vymezovacích podložek (viz Obrázek 27).
Note: Každá vymezovací podložka změní výšku sekání o 6,3 mm.

Namontujte žací kotouč; viz Montáž žacího kotouče.
Při každé demontáži žacího kotouče zkontrolujte montážní celek žacího kotouče. Je-li montážní celek žacího kotouče poškozen, neprodleně jej vyměňte.
Zavřete uzavírací ventil paliva, viz Uzavírací ventil paliva.
Odpojte koncovku zapalovací svíčky.
Stroj naklánějte na stranu vždy tak, aby měrka oleje byla dole.
Important: Stroj překlápějte na stranu vždy tak, aby se měrka oleje nacházela dole. Pokud stroj nakloníte v opačném směru, může olej naplnit ventilové rozvody. Odtečení oleje z rozvodů pak potrvá minimálně 30 minut.

Poznamenejte si polohu vymezovacích podložek.

Pomocí klíče dodaného se strojem demontujte žací kotouč tak, že budete šroubem otáčet doprava (Obrázek 29). Všechny upevňovací prvky si uschovejte.
Important: Při demontáži žacího kotouče používejte ochranné brýle a rukavice odolné proti proříznutí.
Important: Pro správné namontování montážního celku žacího kotouče budete potřebovat momentový klíč. Pokud nemáte momentový klíč nebo si provedením montáže nejste jistí, kontaktujte autorizované servisní středisko nebo autorizovaného prodejce Toro.
Pomocí šroubu (Obrázek 30) namontujte úchyt, žací kotouč, vymezovací podložky a kuželovou vymezovací podložku na oběžné kolo.
Important: Kuželovou vymezovací podložku vždy vložte přímo pod oběžné kolo a úchyt pod hlavu šroubu.

Šroub utáhněte na utahovací moment 25 N·m (18 ft-lb).
Note: Při použití momentu 25 N·m (18 ft-lb) je šroub utažen velmi pevně. Držte lopatkové kolo v poloze a momentovým klíčem šroub utáhněte na správný moment.
Vyklopte stroj nahoru, připojte kabel zapalovací svíčky k zapalovací svíčce a otevřete uzavírací ventil paliva.
Umístěte objímku nožní zarážky pod horní zarážku, abyste si usnadnili manipulaci se strojem.

Zkontrolujte prostor, kde budete stroj používat, a odstraňte všechny předměty, jež mohou být strojem vymrštěny.
Zabraňte kontaktu žacího lanka s tvrdými předměty. Nikdy záměrně nepřejíždějte sekačkou přes žádný předmět.
Pokud sekačka narazí na tvrdý předmět nebo začne vibrovat, okamžitě vypněte motor, odpojte koncovku zapalovací svíčky a zkontrolujte, zda sekačka není poškozená.
K dosažení maximální výkonnosti namontujte před začátkem sezóny nové žací struny.
V případě potřeby vyměňte žací strunu za novou strunu Toro.
Nová žací struna musí být stejně dlouhá jako původní neopotřebená žací struna.
Sekejte najednou vždy pouze asi třetinu výšky trávy. Nenastavujte výšku sekání na méně než nejvyšší nastavení (30 mm), jestliže tráva není řídká nebo pokud není pozdní podzim, kdy se růst trávy zpomaluje; viz Nastavení výšky sekání.
Nesekejte trávu delší než 15 cm, protože by mohlo dojít k ucpání stroje nebo zastavení motoru.
Mokrá tráva a listí mají tendenci tvořit chomáče a mohou ucpat sekačku nebo zastavit motor. Sekejte pouze za sucha, pokud to podmínky umožňují.
Na mokré trávě nebo listí můžete uklouznout, dostat se do kontaktu s žacím lankem a způsobit si vážný úraz.
Sekejte pouze za sucha, pokud to podmínky umožňují.
Za velkého sucha dávejte pozor na riziko vzniku požáru, dodržujte všechny místní protipožární pokyny a odstraňujte ze stroje zbytky suché trávy a listí.
Pokud výsledný vzhled trávníku není uspokojivý, vyzkoušejte následující:
Zkontrolujte žací jednotku a/nebo vyměňte žací strunu.
Pohybujte se při sekání pomaleji.
Nastavte na stroji větší výšku sekání.
Sekejte trávu častěji.
Postupujte v překrývajících se pruzích místo plných pruhů při každém průchodu.
Dbejte na to, aby po sekání tráva polovinou své výšky přesahovala vrstvu listí. Možná budete muset přejet sekačkou přes listí vícekrát.
Nedoporučujeme sekání trávy vyšší než 15 cm. Je-li vrstva listí příliš vysoká, může se stroj ucpat a motor se přetížením zastaví.
Pokud sekačka neseká listí dostatečně najemno, zpomalte.
Před opuštěním místa obsluhy vypněte motor, vyjměte klíč (dle výbavy) a počkejte, až se zastaví všechny pohybující se části. Před seřizováním, údržbou, čištěním nebo skladováním nechejte stroj vychladnout.
Aby nedošlo k požáru, odstraňte ze stroje trávu a nečistoty. Místa potřísněná uniklým olejem nebo palivem vždy očistěte.
Nikdy neskladujte stroj nebo nádobu s palivem v blízkosti otevřeného ohně, zdroje jisker nebo tepla, například ohřívače vody a jiných zařízení.
Zabezpečte stroj.
Při nakládání a vykládání stroje buďte opatrní.
| Servisní interval | Postup při údržbě |
|---|---|
| Po každém použití |
|
Zpod krytu sekačky se může uvolňovat materiál.
Používejte ochranné brýle.
Neopouštějte pozici při provozu (za rukojetí).
Nedovolte, aby v blízkosti sekačky kdokoli stál.
Stroj naklánějte na stranu vždy tak, aby měrka oleje byla dole.
Important: Stroj překlápějte na stranu vždy tak, aby se měrka oleje nacházela dole. Pokud stroj nakloníte v opačném směru, může olej naplnit ventilové rozvody. Odtečení oleje z rozvodů pak potrvá minimálně 30 minut.
Kartáčem nebo stlačeným vzduchem odstraňte trávu a zbytky po sekání z krytu výfuku, horní kapoty a přilehlých oblastí základny.
Vyčistěte chladicí systém a odstraňte zbytky trávy, úlomky a nečistoty z chladicích žeber motoru a startéru.
Note: V podmínkách, kdy je množství nečistot nebo řezanky vyšší, čistěte systém chlazení častěji.
Note: Levou a pravou stranu stroje určete z normálního místa obsluhy.
| Servisní interval | Postup při údržbě |
|---|---|
| Po prvních 5 hodinách |
|
| Při každém použití nebo denně |
|
| Po každém použití |
|
| Po každých 25 hodinách provozu |
|
| Po každých 100 hodinách provozu |
|
| Každý rok |
|
Před opuštěním místa obsluhy vypněte motor, vyjměte klíč (dle výbavy) a počkejte, až se zastaví všechny pohybující se části. Před seřizováním, údržbou, čištěním nebo skladováním nechejte stroj vychladnout.
Před prováděním údržby odpojte koncovku zapalovací svíčky.
Při údržbě stroje používejte rukavice a ochranné brýle.
Pravidelně stroj kontrolujte a měňte veškeré opotřebené nebo poškozené díly. Používejte jen takové žací prvky, jejichž použití je vhodné při provozní rychlosti stroje.
Nikdy nemanipulujte s bezpečnostními zařízeními. Pravidelně kontrolujte jejich řádný provoz.
Naklonění stroje může způsobit vytékání paliva. Palivo je hořlavé a výbušné a může způsobit zranění. Spotřebujte palivo provozem nebo je odčerpejte ručním čerpadlem; nikdy ne násoskou.
Všechny upevňovací prvky udržujte utažené, abyste zajistili bezpečný provozní stav stroje.
Neměňte nastavení regulátoru motoru a nepřekračujte normální otáčky motoru.
K zajištění optimální výkonnosti stroje je nutné používat pouze originální náhradní díly a příslušenství od společnosti Toro. Náhradní díly a příslušenství jiných výrobců mohou být nebezpečné a jejich použití může mít za následek zneplatnění záruky.
Naklonění stroje může způsobit vytékání paliva. Palivo je hořlavé, výbušné a může způsobit zranění.
Spotřebujte palivo provozem nebo je odčerpejte ručním čerpadlem; nikdy násoskou.
Important: Stroj překlápějte na stranu vždy tak, aby se měrka oleje nacházela dole. Pokud stroj nakloníte tak, že měrka oleje směřuje nahoru, může olej naplnit ventilové rozvody. Odtečení oleje z rozvodů pak potrvá minimálně 30 minut.
Vypněte motor a počkejte, dokud se všechny pohyblivé součásti nezastaví.
Umístěte sekačku na rovnou plochu.
Odpojte kabel zapalovací svíčky (Obrázek 32).

Zavřete uzavírací ventil paliva, viz Uzavírací ventil paliva.
Important: Před opravou stroje vyprázdněte palivovou nádrž.
Jakmile dokončíte údržbu, otevřete palivový ventil a znovu připojte kabel zapalovací svíčky ke svíčce.
| Servisní interval | Postup při údržbě |
|---|---|
| Každý rok |
|
Zatlačte na zajišťovací výstupky na horní části krytu vzduchového filtru (Obrázek 33).

Demontujte kryt.
Vyjměte filtrační vložku (Obrázek 33).
Zkontrolujte papírový vzduchový filtr.
Pokud je filtr poškozený, navlhčený olejem nebo palivem a nadměrně znečištěný, vyměňte jej.
Je-li filtr špinavý, poklepejte jím několikrát o tvrdý povrch nebo jej profoukněte stlačeným vzduchem o tlaku nižším než 2,07 bar ze strany filtru směřující k motoru.
Note: Nesnažte se vykartáčovat nečistoty z filtru, kartáčováním by se nečistoty zatlačily do vláken.
Vyčistěte pouzdro a kryt vzduchového filtru pomocí vlhkého hadru. Neutírejte nečistoty směrem do vzduchového vedení.
Vložte filtr do pouzdra filtru.
Upevněte kryt.
API klasifikace: SJ nebo vyšší
Viskozita oleje: Olej 10W-30
| Servisní interval | Postup při údržbě |
|---|---|
| Při každém použití nebo denně |
|
Připravte stroj na údržbu, viz Příprava na údržbu.
Vytáhněte měrku z plnicího hrdla oleje a otřete ji čistým hadrem.
Zasuňte měrku do plnicího hrdla oleje a opět ji vyjměte.
Important: Měrku do plnicího hrdla nezašroubovávejte.
Zkontrolujte hladinu oleje na měrce.

Pokud je hladina oleje v blízkosti dolní značky na měrce nebo pod ní (Obrázek 34), pomalu nalijte předepsaný motorový olej do plnicího hrdla oleje (Obrázek 35) a 3 minuty počkejte.

Otřete měrku čistým hadrem a opakujte kroky 3 až 5, dokud hladina motorového oleje nedosáhne horní mezní značky.
Zasuňte měrku do plnicího hrdla oleje a opět ji rukou pevně utáhněte.
| Servisní interval | Postup při údržbě |
|---|---|
| Po prvních 5 hodinách |
|
| Po každých 25 hodinách provozu |
|
Pokud je motor studený, nechejte jej 1 až 2 minuty pracovat, aby se zahřál olej.
V palivové nádrži nesmí být žádné palivo nebo jen minimální množství, aby při naklonění sekačky na stranu z nádrže nevytékalo.
Připravte stroj na údržbu, viz Příprava na údržbu.
Vytáhněte měrku z plnicího hrdla oleje a otřete ji čistým hadrem.
Vypouštěcí nádobu položte na zem vedle plošiny na straně stroje s plnicím hrdlem oleje (Obrázek 35).

Nakloňte stroj na stranu tak, aby se plnicí hrdlo oleje nacházelo dole, a nechejte z něj olej vytéct.
Important: Stroj překlápějte na stranu vždy tak, aby se měrka oleje nacházela dole. Pokud stroj nakloníte v opačném směru, může olej naplnit ventilové rozvody. Odtečení oleje z rozvodů pak potrvá minimálně 30 minut.
Vraťte sekačku do provozní polohy.
Očistěte rozlitý olej ze stroje.
Note: Použitý olej nechte řádně zlikvidovat v místní recyklační stanici.
Množství oleje: 0,4 l
Pomalu nalijte předepsaný motorový olej do plnicího hrdla oleje (Obrázek 35) a 3 minuty počkejte.

Zasuňte měrku hladiny do plnicího hrdla oleje a opět ji vyjměte.
Important: Měrku do plnicího hrdla nezašroubovávejte.
Zkontrolujte hladinu oleje na měrce (Obrázek 38).
Note: Pokud motor olejem přeplníte, přebytečné množství oleje vypusťte, viz Vypuštění motorového oleje.

Pokud je hladina oleje pod horním limitem, otřete měrku čistým hadrem a opakujte kroky 1 až 3, dokud hladina motorového oleje nedosáhne horní mezní značky.
Zasuňte měrku do plnicího hrdla oleje a opět ji rukou pevně utáhněte.
| Servisní interval | Postup při údržbě |
|---|---|
| Po každých 100 hodinách provozu |
|
Specifikace zapalovací svíčky: Champion RN9YC nebo ekvivalentní.
Připravte stroj na údržbu, viz Příprava na údržbu.
Vyčistěte okolí zapalovací svíčky.
Vytáhněte svíčku z hlavy válce.
Important: Opotřebenou, poškozenou nebo znečištěnou svíčku vyměňte. Nečistěte elektrody, protože nečistoty pronikající do válce by mohly poškodit motor.
Vzdálenost (Obrázek 39) mezi střední a vnější elektrodou nastavte na 0,76 mm.

Namontujte zapalovací svíčku a těsnění.
Utáhněte zapalovací svíčku na utahovací moment 20 N·m (15 ft-lb).
Připojte kabel k zapalovací svíčce.
Před opuštěním místa obsluhy vypněte motor, vyjměte klíč (dle výbavy) a počkejte, až se zastaví všechny pohybující se části. Před seřizováním, údržbou, čištěním nebo skladováním nechejte stroj vychladnout.
Před uskladněním stroje v jakýchkoli uzavřených prostorech nechejte vždy vychladnout motor.
Před uskladněním stroje v jakýchkoli uzavřených prostorech nechejte vždy vychladnout motor.
Nikdy neskladujte stroj nebo nádobu s palivem v blízkosti otevřeného ohně, zdroje jisker nebo tepla, například ohřívače vody a jiných zařízení.
Abyste předešli vzniku požáru, odstraňujte z tlumiče výfuku a prostoru motoru trávu, listí a jiné nečistoty.
Výpary z paliva mohou explodovat.
Palivo neskladujte déle než 30 dní.
Neskladujte sekačku v uzavřeném prostoru poblíž otevřeného ohně.
Před uskladněním sekačky nechte vychladnout motor.
Při posledním tankování v roce přidejte do paliva stabilizátor, jak doporučuje výrobce motoru.
Nechte stroj pracovat, dokud se palivo nespotřebuje a motor se nezastaví.
Spusťte znovu motor a nechte jej pracovat, dokud se sám nezastaví. Pokud již motor nelze spustit, je palivový systém prázdný.
Odpojte koncovku zapalovací svíčky.
Demontujte zapalovací svíčku, do otvoru pro svíčku nalijte 30 ml oleje a několikrát pomalu zatáhněte za rukojeť ručního startéru, aby se olej rozvedl po celém válci.
Namontujte zapalovací svíčku a utáhněte ji na utahovací moment 20 N·m (15 ft-lb).
Zkontrolujte, zda nedošlo k opotřebení nebo poškození žacího kotouče. Pokud je žací kotouč poškozený nebo je opotřebovaná žací struna, vyměňte jej.
Utáhněte všechny matice, šrouby a vruty.
Stroj uskladněte na chladném, čistém a suchém místě.
| Problem | Possible Cause | Corrective Action |
|---|---|---|
| Motor nelze spustit. |
|
|
| Motor obtížně startuje nebo ztrácí výkon. |
|
|
| Motor běží nepravidelně. |
|
|
| Stroj nebo motor nadměrně vibrují. |
|
|
| Sekání je nerovnoměrné. |
|
|