| Интервал на техническо обслужване | Процедура по поддръжка |
|---|---|
| Преди всяка употреба или ежедневно |
|
Тази машина е предназначена за използване от наети лица, търговски оператори за поддържане на тревни площи по склонове, неравни терени, зони в близост до водни басейни или бункери. Използването на продукта за цели, различни от неговото предназначение, може да бъде опасно за Вас и за лица в близост до Вас.
Прочетете внимателно представената тук информация, за да научите как да работите и да поддържате правилно изделието и да избягвате наранявания и повреди. Отговорността за правилната и безопасна работа с изделието е изцяло Ваша.
Посетете www.https://www.toro.com/en-GB за допълнителна информация, включително съвети за безопасна работа, учебни материали, информация за аксесоари, помощ при намиране на дилър, или за регистриране на продукта.
Във всички случаи, когато се нуждаете от сервизно обслужване, от оригинални резервни части на Тoro или от допълнителна информация, свържете се с упълномощен за сервизно обслужване дилър на Тoro или с Центъра за обслужване на клиентите на Тoro, като не забравите да укажете модела и серийните номера на Вашия продукт. Фигура 1 идентифицира мястото на данните за модела и серийните номера на продукта. Запишете номерата в предвиденото за целта място.
Important: За достъп до данни за гаранцията, резервни части и друга информация за продукта можете да сканирате с Вашето мобилно устройство QR кода (ако има) върху стикера със серийния номер.

Изпишете модела на изделието и серийните номера в полето по-долу:
В това ръководство потенциалните опасности са обозначени със съобщения за безопасност и предупредителен символ за опасност (Фигура 2), сигнализиращ опасност, която може да доведе до сериозно нараняване или смърт при неспазване на препоръчаните предпазни мерки.

За подчертаване на информацията в настоящото ръководство се използват 2 думи. Важно привлича вниманието върху специална техническа информация и Забележка, която набляга на общата информация, заслужаваща специално внимание.
Настоящият продукт отговаря на всички съответни Европейски директиви. За по-подробна информация вижте отделния информационен лист, съдържащ конкретната за продукта Декларация за съответствие (DOC).
Общ или полезен въртящ момент: Общият или полезният въртящ момент на този двигател са определени по лабораторен път от производителя на двигателя в съответствие с Дружеството на автомобилните инженери (ДАИ) J1940 или J2723. При конфигурирането на машината в съответствие с изискванията за безопасност, емисии и експлоатация, действителният въртящ момент на двигателя за този клас косачки ще бъде значително по-малък. Моля, направете справка с информацията от производителя на двигателя, доставена с машината.
Important: Прочетете внимателно тези инструкции, преди да използвате машината, и ги запазете за бъдещи справки.
Продуктът може да нарани ръце и крака и да изхвърля предмети. За да предотвратите сериозно нараняване, винаги спазвайте всички инструкции за безопасност.
Прочетете и разберете съдържанието на това Ръководство за оператора“ преди да стартирате машината.
Не поставяйте ръцете или краката си в близост до движещите се компоненти на машината.
Не работете с машината, без да са поставени на място всички предпазители и без другите защитни устройства за безопасност в машината да функционират правилно.
Дръжте страничните лица и децата далеч от работния участък. Не допускайте деца да работят с машината. Разрешавайте само на отговорни, обучени, запознати с инструкциите и физически способни лица да работят с машината. Местните наредби могат да ограничават възрастта на оператора.
Изгасете двигателя, извадете ключа за запалването (ако има такъв) и изчакайте всички движещи се части да спрат, преди да напуснете мястото на оператора. Преди настройка, обслужване, почистване или съхранение на машината оставете време на двигателя да изстине.
Неправилната
употреба или поддръжка
на тази машина може
да доведе до наранявания.
За намаляване на
потенциалната
опасност от нараняване,
спазвайте следните
инструкции за безопасност
и винаги обръщайте
внимание на предупредителния
символ за опасност
, който
означава Внимание“, Предупреждение“
или Опасност“
– инструкции, свързани
с личната безопасност.
Неспазването на
тези инструкции
може да доведе
до нараняване или
смърт.
![]() |
Етикетите с предупреждения и инструкции за безопасност са лесно видими за оператора и са разположени в близост до всеки потенциално опасен участък. Заменяйте повредените или липсващи стикери. |




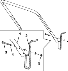
Части, необходими за тази процедура:
| Долно кормило | 1 |
| Крачен ограничител | 1 |
| Болт (6 × 35 мм) | 1 |
| Шайба (6 мм) | 3 |
| Контрагайка (6 мм) | 1 |
Note: Можете да използвате крачния ограничител, за да поддържате кормилото във вертикално положение, когато сглобите кормилото в долното положение 103,4 см.

Определете височината на кормилото, когато крачният ограничител е фиксиран към горната ограничителна скоба (Фигура 3).
Подравнете отвора на крачния ограничител с отвора в долното кормило (Фигура 4).

Съединете крачния ограничител към кормилото с болт (6 × 35 мм), 3 шайби (6 мм) и контрагайка (6 мм).
Затегнете контрагайката и болта.
Note: Уверете се, че можете да завъртите крачния ограничител.
Части, необходими за тази процедура:
| Т-образни втулки | 4 |
| Болт (6 × 55 мм) | 2 |
| Шайба (6 мм) | 6 |
| Контрагайка (6 мм) | 2 |
| Копче | 2 |
| U-образен болт | 2 |
| Монтаж на кормилото | |
| Горно кормило | 1 |
| Болтове (¼ × 1 ¾") | 1 |
| Контрагайка (¼") | 1 |
Монтирайте двете Т-образни втулки във фланците на кормилото на платформата на косачката (Фигура 5).

Подравнете крачния ограничител на кормилото към горната ограничителна скоба на платформата на косачката (Фигура 6).

Подравнете отвора в кормилото с отворите в втулките (Фигура 7) и фиксирайте кормилото към машината с болт (6 × 55 мм), 2 шайби (6 мм) и контрагайка (6 мм).

Повторете стъпка 3 от другата страна на машината.
Подравнете отворите на горното кормило с отворите в долното кормило (Фигура 8).

Сглобете горното кормило към долното кормило с двата U-болта, 2 шайби (6 мм) и 2 гайки.
Поставете фитинга в края на кабелната обвивка в горното гнездо на фитинга на кормилото (Фигура 9).

Притиснете края на ръкохватката за управлението с присъствието на оператор, за да я извадите от горното кормило, и извадете ръкохватката от машината (Фигура 10).

Пъхнете кабелната втулка през отвора в скобата на ръкохватката за контрол с присъствието на оператора, както е показано на Фигура 11.

Поставете края на ръкохватката за управление с присъствието на оператора в кормилото, леко стиснете другия край на ръкохватката и вкарайте ръкохватката в кормилото (Фигура 13).

Фиксирайте фитинга за кормилото към горното кормило (Фигура 14) с болта (¼ × 1¾") и контрагайката (¼").

Important: При доставката на машината в двигателя ѝ няма масло. Преди да стартирате двигателя, добавете масло в двигателя.
Класификация на API за обслужване: SJ или по-висока
Вискозитет на маслото: масло 10W-30
Капацитет за масло: 0,40 л
Преместете машината на хоризонтална повърхност.
Извадете маслоизмервателната щека от отвора за пълнене на масло и я избършете с чиста кърпа (Фигура 14).

Бавно сипете посоченото двигателно масло в отвора за пълнене на масло (Фигура 15) и изчакайте 3 минути.

Вкарайте маслоизмервателната щека в отвора за пълнене, след което я извадете.
Проверете нивото на маслото върху маслоизмервателната щека (Фигура 16).
Note: Ако препълните двигателя с масло, източете излишното масло, като направите справка с Източване на маслото на двигателя.

Ако нивото на маслото е под горната граница, избършете маслоизмервателната щека с чиста кърпа и повторете стъпките от 3 до 5, докато нивото на маслото в двигателя достигне маркировката на горната граница.
Вкарайте маслоизмервателната щека в отвора за пълнене и я затегнете здраво с ръка.



Ръкохватка за управление с присъствие на оператор (Фигура 19) контролира спирачката на маховика и запалването на двигателя.
Натиснете ръкохватката към кормилото, за да запалите двигателя.
Отпуснете ръкохватката към кормилото, за да спрете двигателя.
Използвайте спирателния вентил за гориво (Фигура 19), за да контролирате притока на гориво към двигателя.
Затворете вентила за спиране на притока на гориво, когато транспортирате, извършвате поддръжка или съхранявате машината.
Отворете вентила за гориво, за да запалите двигателя.
|
Модел |
Ширина на рязане |
Ширина на продукта |
|---|---|---|
|
02616 |
457 мм |
574 мм |
Налични са одобрени от Toro приставки и аксесоари за използване с машината, за да се подобрят и разширят възможностите й. Свържете се с упълномощен сервизен дилър или упълномощен дистрибутор на Toro, или посетете www.https://www.toro.com/en-GB за списък с всички одобрени приставки и аксесоари.
За гарантиране на оптимална работа и непрекъснато сертифициране на машината за безопасност, използвайте само оригинални резервни части и принадлежности от Toro. Резервни части и принадлежности, произведени от други производители, могат да бъдат опасни, а тяхната употреба може да анулира гаранцията на продукта.
Note: Определете лявата и дясната страни на машината спрямо нормалното работно положение.
Изгасете двигателя, извадете ключа за запалването (ако има такъв) и изчакайте всички движещи се части да спрат, преди да напуснете мястото на оператора. Преди настройка, обслужване, почистване или съхранение на машината оставете време на двигателя да изстине.
Запознайте се с начините за безопасна експлоатация на оборудването, органите за управление на оператора и предупредителните обозначения за безопасност.
Проверете дали всички предпазители и устройства за безопасност са на местата си и работят правилно.
Винаги инспектирайте машината, за да се уверите, че режещите дискове, болта, дистанционерите и закрепващият елемент не са износени или повредени.
Проверете участъка, в който ще използвате машината, и отстранете всички обекти, които може да пречат на работата на машината или да бъдат изхвърлени от нея.
Регулирането на височината на косене може да доведе до съприкосновение с въртящия се режещ диск, което да причини сериозни наранявания.
Сменете повреден шумозаглушител.
Горивото е изключително запалимо и силно експлозивно. Пожар или експлозия на гориво може да предизвика изгаряния на Вас или други лица и да причини щети на имущество.
За да предотвратите възпламеняването на горивото от статичен заряд, преди зареждане поставете контейнера и/или машината директно върху земята, а не в превозно средство или върху някакъв друг предмет.
Доливайте или източвайте резервоара за гориво навън, на открито, когато двигателят е изключен и студен. Избършете всякакво разлято гориво.
Зареждайте резервоара за гориво навън, на открито, когато двигателят е изключен и студен. Избършете всякакво разлято гориво.
Когато пушите или се намирате в близост до открит пламък или искри, не боравете с гориво.
Не сваляйте капачката за гориво и не доливайте гориво в резервоара, докато двигателят работи или е горещ.
Ако разлеете гориво, не опитвайте да стартирате двигателя. Избягвайте създаване на източник на запалване, докато не се разпръснат изпаренията от горивото.
Съхранявайте горивото в одобрен за целта съд за гориво и далеч от досег с деца.
Поставете и завийте добре капачката на резервоара за гориво, както и на всички съдове за гориво.
Горивото е вредно за здравето и може да има фатални последствия при поглъщане. Излагане на парите му продължително време може да предизвика сериозно увреждане или заболяване.
Избягвайте да вдишвате парите дълго време.
Дръжте ръцете си далеч от дюзата и отвора на резервоара за гориво.
Дръжте горивото далеч от кожата и очите си.
| Вид | Безоловен бензин |
| Минимално октаново число | 87 (САЩ) или 91 (октаново число по метода на изследването; извън САЩ) |
| Етанол | Не повече от 10 обемни% |
| Метанол | Няма |
| MTBE (метил-третичен-бутил-етер) | По-малко от 15 обемни% |
| Масло | Не добавяйте към горивото |
Използвайте само чисто, свежо (не по-старо от 30 дни) гориво от надежден източник.
Important: За да намалите възможните проблеми, добавете необходимото количество стабилизатор/добавка за горивото съгласно насоките на производителя на стабилизатора/добавката за гориво.
Note: Вижте ръководството за притежателя на двигателя за допълнителна информация.
Почистете около капачката на резервоара за гориво и я свалете от резервоара.
Напълнете резервоара за гориво с определеното гориво, както е показано на Фигура 20.

Поставете капачката на резервоара за гориво.
Носете подходящо облекло, включително защита за очите, дълги панталони, стабилни, устойчиви на хлъзгане обувки и защита за слуха. Вържете дългата коса отзад и не носете свободни дрехи или бижута.
Заостряйте вниманието си, когато работите с машината. Не се ангажирайте с дейности, които ще Ви разсейват, в противен случай може да възникне телесно нараняване или имуществени щети.
Не работете с машината, когато сте болни, уморени или под въздействието на алкохол или лекарства/опиати.
Освободете режещия диск и всички съединители на задвижването, преди да стартирате двигателя.
Стартирайте двигателя съгласно инструкциите, като краката Ви трябва непременно да са далеч от режещия диск.
Не накланяйте машината повече от необходимото за стартиране на двигателя и повдигнете само частта, която е далеч от Вас.
Изгасете двигателя, извадете ключа за запалването (ако има такъв) и изчакайте всички движещи се части да спрат, преди да напуснете мястото на оператора. Преди настройка, обслужване, почистване или съхранение на машината оставете време на двигателя да изстине.
Когато освободите органа за контрол на присъствието на оператор, двигателят трябва да изгасне и режещият диск трябва да спре в рамките на 3 секунди. Ако това не стане, веднага преустановете работа с машината и се свържете с упълномощен за сервизно обслужване дилър.
Дръжте околните, особено малките деца и домашните любимци, далече от работния участък. Дръжте малките деца извън от работния участък и под надзора на отговорен възрастен, който не е зает да работи с машината. Спирайте машината, ако някой навлезе в зоната.
Работете с машината само при добра видимост и при добри климатични условия. Не работете с машината, когато има риск от светкавици.
Ако се подхлъзнете по мокра трева и листа и се докоснете до режещия диск, това може да доведе до сериозни телесни наранявания. Избягвайте да косите трева при мокри условия, ако е възможно.
Бъдете много внимателни, когато се приближавате към завои без видимост, храсти, дървета или други обекти, затрудняващи видимостта.
Внимавайте за дупки, коловози, издатини, камъни или други скрити опасности. При работа по неравен терен може да загубите равновесие или да политнете.
Ако машината се удари в някакъв предмет или започне да вибрира, незабавно изгасете двигателя, изчакайте спирането на всички движещи се части и откачете кабела от свещта, преди да проверите машината за повреди. Преди да възобновите работа, извършете необходимите ремонти.
Никога не вдигайте и не пренасяйте машина, чийто двигател работи.
Ако двигателят е работил, той ще е горещ и може сериозно да Ви изгори. Не се доближавайте до горещия двигател.
Отработените газове от двигателя съдържат въглероден оксид, който е смъртоносен при вдишване. Не включвайте двигателя на закрито или в затворени помещения.
Използвайте само принадлежности и приставки, одобрени от Toro.
Склоновете са основен фактор, свързан с инциденти със загуба на управление, които може да доведат до тежки наранявания или смърт. Вие носите отговорност за безопасната работа върху склон. Върху всеки склон работата с машината изисква особено внимание. Преди да използвате машината върху наклон, направете следното:
Да прегледа и да разбере инструкциите за наклонени терени в ръководството.
Оценявайте условията на обекта, за да определите дали наклонът е безопасен за работа с машината. Осланяйте се на здравия разум и добрата преценка при извършване на това оценяване. Промените в терена, като влага, могат бързо да повлияят на работата на машината на наклон.
Винаги трябва да сте сигурни, че сте стъпили стабилно и държите здраво ръкохватките. Ходете, никога не тичайте.
Косете по дължината на склоновете, никога надолу или нагоре.
Бъдете много внимателни, когато променяте посоката по време на работа на склон.
Не косете по много стръмни склонове.
При обръщане на посоката на движението или при дърпане на косачката внимавайте изключително много.
Избягвайте да косите мокра трева. Неравен терен може да причини злополука вследствие на подхлъзване и падане.
Отстранете или маркирайте препятствия като канавки, дупки, коловози, издатини, камъни или други скрити опасности. Високата трева може да крие препятствия.
Косете с повишено внимание в близост до свлачища, канавки или насипи.
Когато използвате машината, винаги дръжте ръкохватката с две ръце.
Когато режете от върха на склон и ви е необходим по-голям обхват, използвайте одобрена удължаваща ръкохватка.

Завъртете дръжката на спирателния вентил за гориво хоризонтално, за да отворите вентила.
Завъртете дръжката на спирателния вентил за гориво вертикално, за да затворите вентила.
Затворете спирателния вентил за гориво, вижте Вентил за спиране на притока на гориво.
Заключете ръкохватка за управление с присъствие на оператор към кормилото.

Поставете крака си на корпуса и наклонете машината към вас (Фигура 23).

Докато задържате ръкохватка за управление с присъствие на оператор, дръпнете ръкохватката за ръчно пускане.
Note: Ако след няколко опита машината не започне да функционира, свържете се с упълномощен дилър за сервизно обслужване или упълномощен дистрибутор на Toro.
| Интервал на техническо обслужване | Процедура по поддръжка |
|---|---|
| Преди всяка употреба или ежедневно |
|
За да изгасите двигателя, освободете ръкохватката за контрол на присъствието на оператор (Фигура 24).
Important: Когато пуснете ръкохватката за управление с присъствие на оператор, както двигателят, така и режещият диск трябва да спрат в рамките на 3 секунди. Ако те не спират по подходящия начин, веднага преустановете работа с машината и се свържете с упълномощен за сервизно обслужване дилър упълномощен дистрибутор на Toro.

Note: Ако сте се сглобили кормилото в ниско положение 103,4 см, използвайте крачния ограничител, за да държите кормилото във вертикално положение

За да освободите кормилото, повдигнете го и завъртете крачния ограничител напред (Фигура 25).
За да задържите кормилото, позиционирайте го и завъртете крачния ограничител назад.
| Интервал на техническо обслужване | Процедура по поддръжка |
|---|---|
| Годишно |
|
Огледайте комплекта на режещия диск, когато сменяте режещата корда. Ако комплектът на режещия диск е повреден, сменете го веднага.
Отстранете режещия диск, вижте Отстраняване на режещия диск.
Заменете съществуващите режещи корди с 2 нови режещи корди с еднаква дължина, както е показано в Фигура 26.

Монтирайте режещия диск; вижте Инсталиране на режещия диск.
Регулирането на височината на косене може да доведе до съприкосновение с режещия диск, което да причини сериозни наранявания.
Спрете двигателя и изчакайте спирането на всички движещи се части.
Носете защитни ръкавици, когато боравите с режещия диск.
Ако двигателят е работил, ауспухът ще е горещ и може сериозно да Ви изгори.
Не се доближавайте до горещ ауспух.
Огледайте комплекта на режещия диск, когато регулирате височината на косене. Ако комплектът на режещия диск е повреден, сменете го веднага.
Отстранете режещия диск, вижте Отстраняване на режещия диск.
Променете позицията на дистанционерите, за да регулирате височината на косене, както е показано на (Фигура 27).
Note: Всеки дистанционер променя височината на косене с 6,3 мм.

Монтирайте режещия диск; вижте Инсталиране на режещия диск.
Огледайте комплекта на режещия диск, когато отстранявате режещия диск. Ако комплектът на режещия диск е повреден, сменете го веднага.
Затворете отсекателния клапан за гориво, вижте Кранче за спиране на притока на гориво.
Откачете кабела от свещта.
Наклонете машината настрани, така че маслоизмервателната щека да сочи надолу.
Important: Винаги накланяйте машината настрани така, че маслоизмервателната щека да е в посока надолу. Ако машината се наклони в друга посока, маслото може да запълни клапанния тракт, което ще изисква поне 30 минути източване.

Запомнете позициите на дистанционерите.

Използвайте гаечния ключ, предоставен с машината, за да отстраните режещия диск, като завъртите болта обратно на часовниковата стрелка (Фигура 29), запазвайки целия комплект монтажни елементи.
Important: Носете предпазни очила и устойчиви на срязване ръкавици, когато отстранявате режещия диск.
Important: За правилния монтаж на режещия диск се нуждаете от динамометричен ключ. Ако нямате такъв ключ или не се чувствате подготвени за изпълнението на подобна процедура, свържете се с упълномощен за сервизно обслужване дилър или упълномощен дистрибутор на Toro.
Сглобете закрепващия елемент, режещия диск, дистанционерите и коничния дистанционер към работното колело с болта (Фигура 30).
Important: Винаги монтирайте коничния дистанционер директно под работното колело и закрепващия елемент под главата на болта.

Затегнете болта с въртящ момент от 25 N∙m.
Note: Затегнатият до 25 N∙m болт е много стегнат. Задържайки работното колело, приложете цялата си тежест върху динамометричния ключ и затегнете добре болта.
Изправете машината, свържете кабела на свещта към свещта и отворете спирателния вентил за гориво.
Поставете скобата на крачния ограничител под горния ограничител за по-добра манипулация на машината.

Проверете участъка, в който ще използвате машината, и отстранете всички обекти, които тя може да изхвърли.
Избягвайте удрянето на режещата корда по твърди обекти. Никога не косете умишлено над който и да е обект.
Ако машината се удари в някакъв обект или започне да вибрира, незабавно изгасете двигателя, откачете кабела от свещта и проверете машината за повреди.
За получаване на възможно най-добри резултати преди началото на сезона за косене монтирайте нови режещи корди.
Сменете режещата корда според необходимостта с резервна режеща корда Toro.
Уверете се, че резервната режеща корда е със същата дължина като непокътната режеща корда.
Косете само до една трета от ножа за трева. Не косете под най-високата настройка (30 мм), освен ако тревата е рядка или е късна есен, когато растежът на тревата се забавя, вижте Регулиране на височината на косене.
Не косете трева с дължина над 15 см, тъй като машината може да се запуши или двигателят да спре.
Мокрите треви и листа имат склонност да се групират на места из двора и могат да задръстят машината или да задавят двигателя. Косете само в сухо време, ако е възможно.
Ако се подхлъзнете по мокра трева и листа и се докоснете до реда с ножове, това може да доведе до сериозни телесни наранявания.
Косете само в сухо време, ако е възможно.
Бъдете нащрек за потенциална опасност при много сухи условия, следвайте всички местни предупреждения за пожар и пазете машината от суха трева и листна маса.
Ако външният вид на окосената тревна площ е незадоволителен, опитайте някой от следните подходи:
Проверете режещия апарат и/или сменете режещата корда.
При косене ходете бавно.
Повдигнете височината на косене на машината си.
Косете тревата по-често.
Припокривайте полосите на тревните откоси, вместо да окосявате една пълна полоса на всеки ход.
След като окосите тревната площ, се убедете, че половината от нея се показва през капака за косене на листа. Може да се наложи да направите още един преход по листата.
Косенето на трева с височина над 15 см не се препоръчва. Ако листното покритие е много гъсто, машината може да се задръсти и двигателят да се задави.
Забавете скоростта си на косене, ако машината не коси достатъчно прецизно листата.
Изгасете двигателя, извадете ключа за запалването (ако има такъв) и изчакайте всички движещи се части да спрат, преди да напуснете мястото на оператора. Преди настройка, обслужване, почистване или съхранение на машината оставете време на двигателя да изстине.
За предотвратяване на пожар, почиствайте машината от треви и отломки. Почистете разливанията на масло или гориво.
Никога не съхранявайте машината или контейнер за гориво на места с открит пламък, искри или където има индикаторни лампи от типа на използваните в бойлери или други уреди.
Обезопасете машината.
Проявете внимание, когато натоварвате и разтоварвате машината.
| Интервал на техническо обслужване | Процедура по поддръжка |
|---|---|
| След всяка употреба |
|
Машината може да изкара материал под корпуса си.
Носете предпазни очила.
Стойте на мястото на оператора (зад машината).
Не допускайте странични наблюдатели в работния участък.
Наклонете машината настрани, така че маслоизмервателната щека да сочи надолу.
Important: Винаги накланяйте машината настрани така, че маслоизмервателната щека да е в посока надолу. Ако машината се наклони в друга посока, маслото може да запълни клапанния тракт, което ще изисква поне 30 минути източване.
Използвайте четка или сгъстен въздух, за да отстраните тревата и отломките от предпазителя за изпускателната тръба, горната част на кожуха и зоните около корпуса.
Почистете охладителната система, отстранете отрезките от окосена трева, боклуците или мръсотията от охлаждащите ребра на двигателя и от стартера.
Note: При тежки условия на работа или при косене на висока трева, почиствайте охлаждащата система по-често.
Note: Определете лявата и дясната страни на машината спрямо нормалното работно положение.
| Интервал на техническо обслужване | Процедура по поддръжка |
|---|---|
| След първите 5 часа |
|
| Преди всяка употреба или ежедневно |
|
| След всяка употреба |
|
| На всеки 25 часа |
|
| На всеки 100 часа |
|
| Годишно |
|
Изгасете двигателя, извадете ключа за запалването (ако има такъв) и изчакайте всички движещи се части да спрат, преди да напуснете мястото на оператора. Преди настройка, обслужване, почистване или съхранение на машината оставете време на двигателя да изстине.
Преди изпълнение на каквито и да било процедури по поддръжка на машината, първо откачете кабела на свещта.
Носете ръкавици и защита за очите при обслужването на машината.
Редовно проверявайте машината и подменяйте всички износени или повредени части. Използвайте само режещите елементи, които са подходящи за използване при работната скорост на машината.
Никога не променяйте функционирането на устройствата за безопасност. Проверявайте редовно правилното им функциониране.
Наклоняването на машината може да предизвика изтичане на гориво. Горивото е лесно запалимо и експлозивно, и може да причини телесни наранявания. Работете с машината, докато бензинът свърши или го източете с ръчна помпа, но никога с фуния.
Дръжте всички крепежни елементи притегнати, за да се гарантира безопасното работно състояние на машината.
Не променяйте настройката на регулатора на двигателя или не превишавайте оборотите на двигателя.
За гарантиране на оптимална работа и непрекъсната сертификация на машината за безопасност, използвайте само оригинални резервни части и принадлежности от Toro. Резервни части и принадлежности, произведени от други производители, могат да бъдат опасни, а тяхната употреба може да анулира гаранцията на продукта.
Наклоняването на машината може да предизвика изтичане на гориво. Горивото е леснозапалима и експлозивна течност, която може да причини телесни наранявания.
Работете с машината, докато горивото свърши, или го източете с ръчна помпа, но никога с фуния.
Important: Винаги накланяйте машината настрани така, че маслоизмервателната щека да е в посока надолу. Ако машината е наклонена с маслоизмервателната щека, сочеща нагоре, маслото може да запълни клапанния тракт, което ще изисква поне 30 минути източване.
Спрете двигателя и изчакайте спирането на всички движещи се части.
Преместете машината на хоризонтална повърхност.
Откачете кабела на запалителната свещ от свещта (Фигура 32).

Затворете отсекателния клапан за гориво, вижте Вентил за спиране на притока на гориво.
Important: Ако ремонтирате машината, изпразнете резервоара за гориво.
След изпълнение на процедурите по поддръжка, отворете вентила за гориво и свържете кабела на запалителната свещ към свещта.
| Интервал на техническо обслужване | Процедура по поддръжка |
|---|---|
| Годишно |
|
Натиснете надолу заключващите палци от горната страна на капака на въздушния филтър (Фигура 33).

Свалете капака.
Свалете филтърния елемент (Фигура 33).
Проверете хартиения елемент на въздушния филтър.
Ако филтърът е повреден, напоен с масло или гориво и прекалено замърсен, сменете го.
Ако филтърът е мръсен, почукайте го няколкократно върху твърда повърхност или го продухайте от страната, сочеща към двигателя, със сгъстен въздух с налягане под 2,07 бара.
Note: Не изчетквайте мръсотията от филтъра; изчеткването ще набие мръсотията във фиброматериала.
Почистете гнездото и капака на въздушния филтър, като използвате влажна кърпа. Не забърсвайте мръсотия във въздуховода.
Поставете филтъра в гнездото му.
Сложете капака.
Класификация на API за обслужване: SJ или по-висока
Вискозитет на маслото: масло 10W-30
| Интервал на техническо обслужване | Процедура по поддръжка |
|---|---|
| Преди всяка употреба или ежедневно |
|
Подгответе машината за поддръжка; направете справка с Подготовка за поддръжка на машината.
Извадете маслоизмервателната щека от отвора за пълнене на масло и я избършете с чиста кърпа.
Вкарайте маслоизмервателната щека в отвора за пълнене, след което я извадете.
Important: Не вкарвайте маслоизмервателната щека в отвора за пълнене.
Проверете нивото на маслото върху маслоизмервателната щека.

Ако нивото на маслото е близо или под долната граница на маслоизмервателната щека (Фигура 34), бавно налейте даденото моторно масло в отвора за пълнене на масло (Фигура 35) и изчакайте 3 минути.

Избършете маслоизмервателната щека с чиста кърпа и повторете стъпките от 3 до 5, докато нивото на маслото в двигателя достигне маркировката на горната граница.
Вкарайте маслоизмервателната щека в отвора за пълнене и я затегнете здраво с ръка.
| Интервал на техническо обслужване | Процедура по поддръжка |
|---|---|
| След първите 5 часа |
|
| На всеки 25 часа |
|
Ако двигателят е студен, пуснете го да работи в продължение на 1 до 2 минути, за да загреете маслото.
Уверете се, че в резервоара за гориво има малко гориво или че той е празен, така че при наклоняването на машината от него да не протече гориво.
Подгответе машината за поддръжка; направете справка с Подготовка за поддръжка на машината.
Извадете маслоизмервателната щека от отвора за пълнене на масло и я избършете с чиста кърпа.
Подравнете съда за източване с платформата от страната на отвора за пълнене на масло на машината на земята (Фигура 35).

Наклонете машината настрани, като отворът за пълнене на масло сочи надолу, за да източите маслото през отвора за пълнене.
Important: Винаги накланяйте машината настрани така, че маслоизмервателната щека да е в посока надолу. Ако машината се наклони в друга посока, маслото може да запълни клапанния тракт, което ще изисква поне 30 минути източване.
Върнете машината в работно положение.
Почистете разлятото масло по машината.
Note: Изхвърлете отработеното масло по правилния начин в местния център за рециклиране на масла.
Капацитет за масло: 0,40 л
Бавно сипете посоченото двигателно масло в отвора за пълнене на масло (Фигура 35) и изчакайте 3 минути.

Вкарайте маслоизмервателната щека в отвора за пълнене, след което я извадете.
Important: Не вкарвайте маслоизмервателната щека в отвора за пълнене.
Проверете нивото на маслото върху маслоизмервателната щека (Фигура 38).
Note: Ако препълните двигателя с масло, източете излишното масло, като направите справка с Източване на маслото на двигателя.

Ако нивото на маслото е под горната граница, избършете маслоизмервателната щека с чиста кърпа и повторете стъпките от 1 до 3, докато нивото на маслото в двигателя достигне маркировката на горната граница.
Вкарайте маслоизмервателната щека в отвора за пълнене и я затегнете здраво с ръка.
| Интервал на техническо обслужване | Процедура по поддръжка |
|---|---|
| На всеки 100 часа |
|
Спецификация на свещта: Champion RN9YC или сходна.
Подгответе машината за поддръжка; направете справка с Подготовка за поддръжка на машината.
Почистете участъка около свещта.
Свалете свещта от главата на цилиндъра.
Important: Ако тя е амортизирана, повредена или замърсена, сменете свещта. Не почиствайте електродите, защото попадналите в цилиндъра песъчинки могат да повредят двигателя.
Настройте въздушната междина (Фигура 39) между централния електрод и страничния електрод на 0,76 мм.

Монтирайте свещта и уплътнението.
Завийте пробката 20 N∙m.
Свържете кабела към свещта.
Изгасете двигателя, извадете ключа за запалването (ако има такъв) и изчакайте всички движещи се части да спрат, преди да напуснете мястото на оператора. Преди настройка, обслужване, почистване или съхранение на машината оставете време на двигателя да изстине.
Преди съхраняване на машината в затворено пространство оставете двигателя да се охлади.
Преди съхраняване на машината в затворено пространство оставете двигателя да се охлади.
Никога не съхранявайте машината или контейнер за гориво на места с открит пламък, искри или където има индикаторни лампи от типа на използваните в бойлери или други уреди.
За предотвратяване на пожар почиствайте ауспуха и отделението на двигателя от треви, листа и остатъци.
Горивните пари могат да експлодират.
Не съхранявайте гориво над 30 дни.
Не съхранявайте машината на закрито място в близост до открит пламък.
Преди съхранението на машината оставете време на двигателя да изстине.
При последното презареждане с гориво през годината, към него добавете стабилизатор на гориво, изпълнявайки указанията на производителя на двигателя.
Оставете машината да работи, докато двигателят ѝ спре поради липса на гориво.
Стартирайте двигателя отново и го оставете да работи, докато изгасне сам. Когато вече не може да стартирате двигателя, горивната система е празна.
Откачете кабела от свещта.
Свалете свещта, добавете 30 мл масло през отвора на свещта и неколкократно дръпнете бавно ръкохватката за стартиране, за да разпределите равномерно маслото в цилиндъра.
Сложете свещта обратно и я затегнете с динамометричен ключ до 20 N∙m.
Проверявайте режещия диск за износване или повреда. Ако режещият диск е повреден или кордата за косене е износена, сменете ги.
Затегнете всички гайки, болтове и винтове.
Съхранявайте машината на хладно, чисто и сухо място.
| Problem | Possible Cause | Corrective Action |
|---|---|---|
| Двигателят не се стартира. |
|
|
| Двигателят стартира трудно или губи мощност. |
|
|
| Двигателят прекъсва. |
|
|
| Машината или двигателят вибрират много. |
|
|
| Формата на окосения участък е неравна. |
|
|