| Bakım Servisi Aralıkları | Bakım Prosedürü |
|---|---|
| Her kullanımdan önce veya günlük |
|
Bu makine, eğimli, sık dalgalanmalı, suya yakın alanlardaki veya depo kenarlarındaki çimlerin bakımı için, işe alınmış, ticari operatörler tarafından kullanılmak üzere tasarlanmıştır. Bu ürünün kullanım amacı dışındaki amaçlar için kullanılması, siz ve çevrenizdeki kişiler için tehlikeli sonuçlar doğurabilir.
Ürününüzü nasıl düzgün şekilde çalıştırıp koruyacağınızı, yaralanmaları ve ürünün hasar görmesini nasıl önleyebileceğinizi öğrenmek için bu bilgileri dikkatlice okuyun. Ürünü düzgün ve güvenli bir şekilde çalıştırmak sizin sorumluluğunuzdur.
Güvenlik ipuçları, eğitim materyalleri, aksesuar bilgileri, bir satıcı bulmakla ilgili yardım veya ürün kaydı gibi konularda daha fazla bilgi için www.https://www.toro.com/en-GB adresini ziyaret edin.
Servis, orijinal Toro parçaları veya ilave bilgilere ihtiyaç duyduğunuzda, bir Yetkili Servis Satıcısı veya Toro Müşteri Hizmetleriyle irtibata geçin ve ürününüzün model ve seri numaralarını hazır bulundurun. Şekil 1 ürünün model ve seri numaralarının yerini tanımlar. Numaraları ilgili yere yazın.
Important: Garanti, yedek parça ve diğer ürün bilgilerine erişmek için, seri numarası etiketindeki QR kodunu (varsa) mobil aygıtınızla taratabilirsiniz.

Ürünün modeli ve seri numaralarını aşağıdaki boş alana yazın:
Bu kılavuz potansiyel tehlikeleri tanımlar, (Şekil 2) güvenlik uyarısı sembolüyle tanımlanan güvenlik mesajlarına sahiptir, bu mesajlar tavsiye edilen önlemlere uymamanız halinde ciddi yaralanma veya ölümle sonuçlanabilecek bir tehlike hakkında uyarı verir.

Bu kılavuzda bilgileri vurgulamak için 2 kelime kullanılır. Önemli kelimesi özel mekanik bilgilere dikkat çekerken, Not kelimesi ise özel dikkat gerektiren genel bilgileri vurgular.
Bu ürün, ilgili tüm Avrupa direktiflerine uygundur. Detaylar için, ayrıca sunulmuş olan, ürüne özel Uygunluk Beyanı (DOC) belgesine bakın.
Brüt veya Net Tork: Bu motorun brüt veya net torku, motor üreticisi tarafından Otomotiv Mühendisleri Derneği (SAE) J1940 veya J2723 testi uygulanarak laboratuvarda saptanmıştır. Güvenlik, emisyon ve çalıştırma gereksinimlerini karşılamak amacıyla ayarlama yapıldığı için, bu sınıftaki çim biçme makinelerinde motorun gerçek torku önemli ölçüde daha düşük olacaktır. Lütfen, motor üreticisinin makineyle birlikte verdiği bilgilere başvurun.
Important: Makineyi kullanmadan önce bu talimatları dikkatle okuyun ve gelecekte başvurmak üzere saklayın.
Bu ürün eller ve ayaklarda yaralanmaya neden olabilir ve cisimleri fırlatabilir. Ciddi kişisel yaralanmaları önlemek için daima tüm güvenlik talimatlarına uyun.
Motoru çalıştırmadan önce bu Kullanıcı Kılavuzunu okuyun ve içeriğini özümseyin.
Ellerinizi veya ayaklarınızı, makinenin hareketli bileşenlerinin yakınına koymayın.
Tüm koruyucular ve diğer güvenlik tertibatları mevcut ve düzgün şekilde işler durumda olmadıkça makineyi çalıştırmayın.
Çevredeki kişilerin ve çocukların çalışma alanına girmelerine izin vermeyin. Çocukların makineyi çalıştırmasına izin vermeyin. Sadece sorumlu, eğitimli, talimatları bilen ve fiziksel olarak makineyi kullanmaya yeterli kişilere izin verin. Yerel yönetmelikler operatörün asgari çalışma yaşını kısıtlayabilir.
Operatör konumundan ayrılmadan önce, motoru kapatın, anahtarı çıkarın (varsa) ve tüm hareketin durmasını bekleyin. Makineyi ayarlamadan, bakım yapmadan, temizlemeden veya depoya kaldırmadan önce soğumasını bekleyin.
Bu makinenin uygunsuz bir şekilde kullanılması
veya uygun bakım işlemlerinin yapılmaması
yaralanmaya yol açabilir. Yaralanma risklerini azaltmak amacıyla
bu emniyet talimatlarına her zaman uyun ve Dikkat, Uyarı
veya Tehlike anlamına gelen emniyet uyarısı sembolüne
çok dikkat edin.
Talimatlara uyulmaması bedensel yaralanmalara veya ölüme
yol açabilir.
![]() |
Güvenlik etiketleri ve talimatlar operatör tarafından kolayca görülebilir ve potansiyel tehlike içeren alanların yakınında bulunur. Hasarlı veya eksik etiketleri değiştirin. |




Bu prosedür için gerekli parçalar:
| Alt tutma çubuğu | 1 |
| Ayak kalkanı | 1 |
| Cıvata (6 x 35 mm) | 1 |
| Rondela (6 mm) | 3 |
| Kilitli somun (6 mm) | 1 |
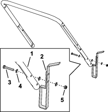
Note: Ayak kalkanını yalnızca tutma çubuğunu alt konuma (103,4 cm) monte ederken dikey konumda desteklemek için kullanabilirsiniz.

Ayak kalkanı üst durdurma braketine sabitlenince tutma çubuğu yüksekliğini belirleyin (Şekil 3).
Ayak kalkanındaki deliği, alt tutma çubuğundaki delikle hizalayın (Şekil 4).

Ayak kalkanını, bir cıvata (6 x 35 mm), 3 rondela (6 mm) ve kilitleme somunu (6 mm) kullanarak tutma çubuğuna monte edin.
Kilit somununu ve cıvatayı sıkın.
Note: Ayak kalkanını döndürebildiğinizden emin olun.
Bu prosedür için gerekli parçalar:
| T-burçlar | 4 |
| Cıvata (6 x 55 mm) | 2 |
| Rondela (6 mm) | 6 |
| Kilitli somun (6 mm) | 2 |
| Düğme | 2 |
| U-cıvata | 2 |
| Tutma çubuğu bağlantı parçası | |
| Üst tutma çubuğu | 1 |
| Cıvata (¼ x 1¾ inç) | 1 |
| Kilit somunu (¼ inç) | 1 |
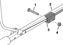
2 T burcu, çim biçme makinesi kesme katının tutma çubuğu flanşlarının içine monte edin (Şekil 5).

Tutma çubuğunun ayak kalkanını, kesme katındaki üst durdurma braketiyle hizalayın (Şekil 6).

Tutma çubuğundaki deliği burçlardaki deliklerle hizalayın (Şekil 7) ve tutma çubuğunu bir adet cıvata (6 x 55 mm), 2 adet rondela (6 mm) ve bir kilit somunu (6 mm) kullanarak makineye sabitleyin.

3. adımı makinenin diğer tarafında da tekrarlayın.
Üst tutma çubuğundaki delikleri alt tutma çubuğundaki deliklerle hizalayın (Şekil 8).

Üst tutma çubuğunu 2 adet U cıvata, 2 adet rondela (6 mm) ve 2 adet kontrol düğmesi kullanarak alt tutma çubuğuna monte edin.
Kablo kılıfının ucundaki bağlantı parçasını tutma çubuğu bağlantı parçasının üst soketinin içine takın (Şekil 9).

Operatör varlığı manivelasının ayağını, üst tutma çubuğundan çıkarabilene kadar sıkın ve manivelayı makineden çıkarın (Şekil 10).

Kablo bağlantı parçasını, Şekil 11 ile gösterildiği gibi operatör varlığı manivelasının braketindeki delikten geçirin.

Operatör varlığı manivelasının ucunu tutma çubuğunun içine sokun, manivelanın diğer ayağını hafifçe sıkın ve manivelayı tutma çubuğunun içine yerleştirin (Şekil 13).

Tutma çubuğu bağlantı parçasını, cıvata (¼ x 1¾ inç) ve kilit somunu (¼ inç) aracılığıyla üst tutma çubuğuna sabitleyin (Şekil 14).

Important: Makineniz motorda yağla birlikte gönderilmez. Motoru çalıştırmadan önce motora yağ ekleyin.
API Servis Sınıflandırması: SJ veya üzeri
Yağ Viskozitesi: 10W-30 yağ
Yağ Kapasitesi: 0,40 L
Makineyi düz bir yüzeye alın.
Yağ çubuğunu yağ dolum boynundan çıkarın ve çubuğu temiz bir bezle temizleyin (Şekil 14).

Yağ dolum boynuna yavaşça belirtilen tipte motor yağı dökün (Şekil 15) ve 3 dakika bekleyin.

Yağ çubuğunu yağ dolum boynuna sokun, ardından çıkarın.
Yağ çubuğundaki yağ seviyesine bakın (Şekil 16).
Note: Motora aşırı miktarda yağ doldurursanız, fazla gelen yağı boşaltın; bkz. Motor Yağının Boşaltılması.

Yağ seviyesi üst sınırın altındaysa yağ çubuğunu temiz bir bezle silin ve 3 - 5 arası adımları motor yağı seviyesi üst sınır işaretinde olana kadar tekrarlayın.
Yağ çubuğunu yağ dolum boynuna sokun ve çubuğu elinizle iyice sıkın.



Operatör varlığı manivelası (Şekil 19), volan frenini ve motor ateşlemesini kontrol eder.
Motoru çalıştırmak için manivelayı tutma çubuğuna doğru sıkın.
Motoru kapatmak için manivelayı tutma çubuğuna doğru serbest bırakın.
Motora giden yakıt akışını kontrol etmek için yakıt kısma vanasını (Şekil 19) kullanın.
Makineyi taşımadan, bakım yapmadan veya depoya kaldırmadan önce yakıt kısma vanasını kapatın.
Motoru çalıştırmak için yakıt kısma vanasını açın.
|
Model |
Kesim genişliği |
Ürün genişliği |
|---|---|---|
|
02616 |
457 mm |
574 mm |
Makine işlevlerini artırmak amacıyla makineyle birlikte kullanılabilecek çok sayıda Toro onaylı ek parça ve aksesuar vardır. Onaylı tüm eklerin ve aksesuarların bir listesi için Yetkili Servis Satıcınızla ya da yetkili Toro distribütörüyle iletişim kurun veya www.https://www.toro.com/en-GB adresini ziyaret edin.
Makinenin optimum performans sergilemesi ve güvenlik sertifikasyonuna sürekli uymasını sağlamak için sadece orijinal Toro yedek parçalarını ve aksesuarlarını kullanın. Başka üreticilere ait yedek parçalar ve aksesuarlar tehlikeli olabilir ve bu tür kullanımlar ürün garantisini geçersiz kılabilir.
Note: Normal çalıştırma konumundan makinenin sol ve sağ tarafını belirleyin.
Operatör konumundan ayrılmadan önce, motoru kapatın, anahtarı çıkarın (varsa) ve tüm hareketin durmasını bekleyin. Makineyi ayarlamadan, bakım yapmadan, temizlemeden veya depoya kaldırmadan önce soğumasını bekleyin.
Ekipmanı güvenli şekilde çalıştırmayı, operatör kontrollerini ve güvenlik işaretlerini öğrenin.
Tüm kalkanların ve güvenlik tertibatlarının yerinde ve düzgün işler halde olduklarından emin olun.
Kesme diski, cıvata, ara parçalar ve tespit elemanının aşınmadığından veya hasar görmediğinden emin olmak için makineyi her zaman kontrol edin.
Makineyi kullanacağınız alanı inceleyin ve makinenin çalışmasını ya da makinenin fırlatacağı nesneleri engelleyebilecek her türlü nesneyi kaldırın.
Kesim yüksekliğini ayarlamak, hareketli kesme diskiyle temas etmenize ve ciddi şekilde yaralanmanıza neden olabilir.
Arızalı bir susturucuyu yenisiyle değiştirin.
Yakıt son derece yanıcı ve son derece de patlayıcıdır. Yakıttan kaynaklanan bir ateş veya patlama sizi ve başkalarını yakabilir ve maddi zarara yol açabilir.
Yakıt ateşlenirken statik yük oluşumunu önlemek için, kabı ve/veya makineyi dolum öncesi bir aracın içine veya cismin üstüne değil, doğrudan yere koyun.
Yakıt deposunu dış mekanda, açık bir havada ve motor soğukken doldurun veya boşaltın. Yakıt dökülürse silin.
Yakıt deposunu dış mekanda, açık havada, motor soğukken doldurun. Yakıt dökülürse silin.
Yakıtı sigara içerken veya bir açık alev veya kıvılcım yakınında taşımayın.
Motor çalışır durumdayken ya da sıcakken yakıt kapağını çıkarmayın ya da depoya yakıt eklemeyin.
Yakıtı dökmeniz durumunda kesinlikle motoru çalıştırmaya kalkışmayın. Yakıt buharı tamamen dağılana kadar herhangi bir ateşleme kaynağı oluşturmaktan kaçının.
Yakıtı onaylanmış bir kapta ve çocukların erişemeyeceği bir yerde saklayın.
Yakıt deposunun kapağını ve tüm kapları sıkıca takıp kapatın.
Yakıt, yutulması halinde zararlı veya öldürücüdür. Buharlara uzun süre maruz kalmak ciddi yaralanma ve hastalıklara neden olabilir.
Buharları uzun süre solumaktan kaçının.
Ellerinizi ve yüzünüzü nozuldan ve yakıt deposu açıklığından uzak tutun.
Yakıtı gözlerinizden ve cildinizden uzak tutun.
| Tip | Kurşunsuz benzin |
| Minimum oktan derecesi | 87 (ABD) veya 91 (seçilebilir oktan ABD dışı) |
| Etanol | Hacmen maksimum %10 |
| Metanol | Hiçbiri |
| MTBE (metil tersiyer bütil eter) | Hacmen %15'ten az |
| Yağ | Yakıta eklemeyin. |
Sadece güvenilir bir satıcıdan alınmış temiz ve yeni (en fazla 30 günlük) yakıt kullanın.
Important: Marş sorunlarını azaltmak için, temiz yakıtın içine, yakıt stabilizatörü/koşullandırıcı üreticisinin belirttiği gibi yakıt stabilizatörü/koşullandırıcı ekleyin.
Note: Daha fazla bilgi için motorun kullanıcı kılavuzuna bakın.
Yakıt deposu kapağının çevresini temizleyin ve deponun kapağını çıkarın.
Yakıt deposuna, Şekil 20 ile gösterildiği gibi belirtilen tipte yakıt doldurun.

Kapağı yakıt deposuna takın.
Göz koruyucusu, uzun pantolon, kaymaz, dayanıklı ayakkabılar ve kulak tıkacı dahil olmak üzere uygun giysiler giyin. Uzun saçlarınızı arkada toplayın ve bol kıyafetler giymeyin veya sarkan takılar takmayın.
Makineyi çalıştırırken dikkatinizi tam olarak bu işe verin. Dikkatinizi dağıtacak aktivitelerden kaçının, aksi halde yaralanma veya hasar riski söz konusu olabilir.
Hasta, yorgun veya alkol/uyuşturucu etkisi altındayken makineyi çalıştırmayın.
Motoru çalıştırmadan önce kesme diskini ve tüm tahrik kavramalarını devre dışı bırakın.
Motoru, talimatlara uygun bir şekilde ve ayaklarınız kesme diskinden yeterince uzak durumdayken çalıştırın.
Makineyi motoru çalıştırmak için gerekenden daha fazla yatırmayın ve sadece size uzak olan tarafı yukarı kaldırın.
Operatör konumundan ayrılmadan önce, motoru kapatın, anahtarı çıkarın (varsa) ve tüm hareketin durmasını bekleyin. Makineyi ayarlamadan, bakım yapmadan, temizlemeden veya depoya kaldırmadan önce soğumasını bekleyin.
Operatör varlığı kontrol kolunu (OPC) bıraktığınızda, motor kapanmalı ve kesme diski 3 saniye içinde durmalıdır. Durmazlarsa, makinenizi kullanmayı derhal bırakın ve bir Yetkili Servis Satıcısıyla irtibata geçin.
Başta çocuklar ve hayvanlar olmak üzere, çevredekileri çalışma alanından uzak tutun. Küçük çocukları çalışma alanından uzakta ve makineyi kullanmayan sorumlu bir yetişkinin gözetimi altında tutun. Biri sahaya girerse makineyi durdurun.
Makineyi yalnızca iyi görüş koşullarında ve uygun hava şartları altında çalıştırın. Yıldırım düşme riski olan zamanlarda makineyi çalıştırmayın.
Islak çim ve yapraklar, kayarak kesme diskiyle temas etmenize ve bu da ciddi yaralanmalara yol açabilir. Mümkünse, ıslak koşullarda biçmekten kaçının.
Görünmeyen köşelere, çalılara, ağaçlara veya görüşünüzü engelleyebilecek diğer cisimlere yaklaşırken son derece dikkatli olun.
Delikler, palet izleri, tümsekler, taşlar veya diğer gizli cisimlere dikkat edin. Düzgün olmayan zemin, dengenizi kaybetmenize veya ayağınızın kaymasına neden olabilir.
Makine bir cisme vurur veya titremeye başlarsa, derhal motoru kapatın, tüm hareketli parçaların durmasını bekleyin ve makinede hasar kontrolü yapmadan önce bujinin kablosunu sökün. Çalışmaya devam etmeden önce gerekli tüm onarımları yapın.
Motor çalışıyorken makineyi asla yukarı kaldırmayın veya taşımayın.
Motor çalışıyorsa sıcak olacaktır ve sizi ciddi şekilde yakabilir. Sıcak motordan uzak durun.
Egzoz gazları, solunduğunda ölümcül bir gaz olan karbon monoksit içerir. Motoru iç mekanlarda veya kapalı bir alanda çalıştırmayın.
Yalnızca Toro tarafından onaylanmış aksesuarlar ve ek parçalar kullanın.
Eğimler makine hakimiyetinin kaybedilmesi sonucu kazalara, bu da ağır yaralanma veya ölüme yol açabilir. Eğimli yüzeylerde emniyetli çalışmak sizin sorumluluğunuzdur. Makineyi eğimli yüzeylerde kullanırken daha da dikkatli olun. Makineyi eğimli bir yüzeyde kullanırken şunları yapın:
Kılavuzda belirtilen eğimli yüzeylerde çalışma talimatlarını okuyup anlayın.
Eğimin makineyle çalışmaya emniyetli olup olmadığını belirlemek için o günkü saha koşullarını değerlendirin. Bu değerlendirmeyi yaparken mantıklı düşünün ve doğru kararlar vermeye dikkat edin. Arazi koşullarındaki değişimler (nem gibi), makinenin eğimli yüzeyde çalışma şeklini hızla etkileyebilir.
Ayaklarınızın yere sağlam bastığından emin olun ve tutamaklara sıkıca tutunun. Yürüyerek çalışın, asla koşmayın.
Eğimli yüzeylerde yatay şekilde çim biçme işlemi yapın, asla yukarı veya aşağı gitmeyin.
Eğimli yüzeylerde yön değiştirirken son derece dikkatli olun.
Dik eğimlerde çim biçmeyin.
Makineyi geriye doğru ilerletirken veya kendinize doğru çekerken çok dikkatli olun.
Islak çimleri biçmekten kaçının. Adımlara dikkat edilmemesi bir kayma ve düşme kazasına yol açabilir.
Hendekler, delikler, tekerlek izleri, tümsekler, kayalar veya diğer gizli tehlikeler gibi engelleri ortadan kaldırın veya işaretleyin. Uzun çimler engelleri gizleyebilir.
Düşük banketler, hendekler veya yapay setlerin yakınında biçme işlemi yaparken dikkatli olun.
Makineyi kullanırken, her iki elinizi de daima tutma kolunda tutun.
Bir eğimin en tepesinde kesim yapıyor ve daha uzağa erişmek istiyorsanız, onaylanmış bir uzatılmış tutma kolu kullanın.

Yakıt kısma vanasını açmak için, vananın kolunu yatay konuma çevirin.
Yakıt kısma vanasını kapatmak için, vananın kolunu dikey konuma çevirin.
Yakıt kısma vanasını açın; bkz. Yakıt Kısma Vanası.
Operatör varlığı manivelasını tutma çubuğuna karşı kapatın.

Ayağınızı kaputun üzerine koyun ve makineyi kendinize doğru yatırın (Şekil 23).

Operatör varlığı manivelasını tutarken bobinli marş elciğini çekin.
Note: Birçok deneme sonrası makine çalışmazsa, yetkili servisle veya yetkili Toro distribütörüyle irtibata geçin.
| Bakım Servisi Aralıkları | Bakım Prosedürü |
|---|---|
| Her kullanımdan önce veya günlük |
|
Motoru kapatmak için operatör varlığı manivelasını bırakın (Şekil 24).
Important: Operatör varlığı manivelasını bıraktığınız zaman, hem motor hem de kesme diski 3 saniye içinde durmalıdır. Düzgün şekilde durmuyorlarsa, makinenizi kullanmayı derhal bırakın ve yetkili servisle ve yetkili Toro distribütörüyle irtibata geçin.

Note: Alt tutma çubuğunu (103,4 cm) monte ettiyseniz, tutma çubuğunu dikey konumda desteklemek için ayak kalkanını kullanın.

Tutma çubuğunu bırakmak için tutma çubuğunu yukarı kaldırın ve ayak kalkanını ileri döndürün (Şekil 25).
Tutma çubuğunu desteklemek için tutma çubuğunu konumlandırın ve ayak kalkanını geri döndürün.
| Bakım Servisi Aralıkları | Bakım Prosedürü |
|---|---|
| Yıllık |
|
Kesme hattını her değiştirdiğinizde kesme diski grubunu inceleyin. Kesme diski tertibatı hasar görmüşse hemen değiştirin.
Kesme diskini yerinden çıkarın, bkz. Kesme Diskinin Yerinden Çıkarılması.
Mevcut kesme hatlarını, Şekil 26 ile gösterildiği gibi eşit uzunlukta 2 yeni kesme hattıyla değiştirin.

Kesme diskini takın, bkz. Kesme Diskinin Takılması.
Kesim yüksekliğini ayarlamak, kesme diskiyle temas etmenize ve ağır yaralanmanıza neden olabilir.
Motoru kapatın ve tüm hareketli parçaların durmasını bekleyin.
Kesme diskini tutarken mutlaka koruyucu eldiven takın.
Motor çalışıyorsa, kıvılcım tutucu sıcak olacaktır ve sizi ciddi şekilde yakabilir.
Sıcak kıvılcım tutucudan uzak durun.
Kesme yüksekliğini her ayarladığınızda kesme diski grubunu inceleyin. Kesme diski tertibatı hasar görmüşse hemen değiştirin.
Kesme diskini yerinden çıkarın, bkz. Kesme Diskinin Yerinden Çıkarılması.
Kesme yüksekliğini ayarlamak için ara parçaların konumlarını Şekil 27 ile gösterildiği gibi değiştirin.
Note: Her bir ara parça, kesim yüksekliğini 6,3 mm değiştirir.

Kesme diskini takın, bkz. Kesme Diskinin Takılması.
Kesme diskini yerinden her çıkarışınızda kesme diski grubunu inceleyin. Kesme diski tertibatı hasar görmüşse hemen değiştirin.
Yakıt kısma vanasını kapatın; bkz. Yakıt Kısma Vanası.
Bujinin kablosunu çıkarın.
Yağ çubuğu içerideyken makineyi yana devirin.
Important: Yağ çubuğu aşağı doğru bakıyorken makineyi daima yana yatırın. Makine başka bir yönde yatırılırsa, yağ valf mekanizmasını doldurabilir ve boşaltılması en az 30 dakika sürebilir.

Ara parçaların yerlerini kaydedin.

Cıvatayı makineyle birlikte verilen anahtarla saatin aksi yönünde döndürerek kesme diskini yerinden çıkarın (Şekil 29) ve tüm montaj donanımını muhafaza edin.
Important: Kesme diskini yerinden çıkarırken koruyucu gözlük ve kesilmeye dayanıklı eldiven takın.
Important: Kesme diski tertibatını düzgün takmak için bir tork anahtarına ihtiyacınız olacaktır. Bir tork anahtarınız yoksa veya bu prosedürü rahat şekilde yürütemiyorsanız, bir Yetkili Servise veya yetkili Toro Distribütörüne danışın.
Cıvatayı kullanarak tespit elemanını, kesme diskini, ara parçaları ve konik ara parçayı pervaneye monte edin (Şekil 30).
Important: Konik ara parçayı her zaman doğrudan pervanenin altına, tespit elemanını ise cıvata başının altına takın.

Cıvatayı 25 N∙m torkla sıkın.
Note: 25 N·m torkla sıkılmış bir cıvata çok sıkıdır. Pervaneyi tutarken, ağırlığınızı tork anahtarının arka kısmına vererek cıvatayı iyice sıkın.
Makinenin ucunu yukarı kaldırın, buji kablosunu bujiye bağlayın ve yakıt kısma vanasını açın.
Makinenin yere tutunmasını güçlendirmek için ayak kalkanının kasnağını üst durdurma elemanının altına yerleştirin.

Makineyi kullanacağınız alanı inceleyin ve makinenin fırlatabileceği tüm nesneleri çıkarın.
Kesme hattıyla katı cisimlere vurmaktan kaçının. Herhangi bir cismin üzerinde asla kasıtlı olarak biçme işlemi yapmayın.
Eğer makine bir cisme vurur veya titremeye başlarsa, derhal motoru kapatın, bujinin telini sökün ve makinede hasar kontrolü yapın.
En iyi performans için, kesme sezonu başlamadan önce yeni kesme hatları takın.
Gerekiyorsa, kesme hattını yedek bir Toro kesme hattıyla değiştirin.
Yedek kesme hattının sağlam kesme hattıyla aynı uzunlukta olmasına dikkat edin.
Çimlerin tek seferde sadece yaklaşık üçte birini kesin. Çimlerin seyrek olduğu durumlarda veya çim büyüme hızının yavaşladığı sonbaharın son aylarında en yüksek ayarın (30 mm) altında kesim yapmayın; bkz. Kesim Yüksekliğini Ayarlama.
Makine tıkanabileceği veya motor boğulabileceği için, 15 cm'den uzun çimleri biçmeyin.
Islak çim ve yapraklar, makine haznesinde kolayca yığınlaşabilir ve makinenin tıkanmasına veya motorun istop etmesine neden olabilir. Mümkünse yalnızca ortam kuruyken biçme işlemi yapın.
Islak çim ve yapraklar, kayıp kesme hattıyla temas etmeniz durumunda ciddi yaralanmaya yol açabilir.
Mümkünse yalnızca ortam kuruyken biçme işlemi yapın.
Çok kuru ortam koşullarında olası yangın tehlikelerine karşı tetikte olun, yerel yangın uyarılarını takip edin ve makineyi kuru ot ve yaprak birikintilerinden uzak tutun.
Eğer tamamlanan bahçenin görünümü tatmin edici değilse, aşağıdakilerden birini veya daha fazlasını deneyin:
Kesme ünitesini inceleyin ve/veya kesme hattını değiştirin.
Biçme işlemi esnasında daha yavaş yürüyün.
Makinenizin kesim yüksekliğini arttırın.
Çimleri daha sık biçin.
Her bir geçişte tam bir biçme alanını kesmek yerine biçme alanlarını örtüştürün.
Bahçeyi biçtikten sonra, bahçenin en az yarısının kesilmiş yaprak örtüsünün altından görülebildiğinden emin olun. Yaprakların üzerinden bir defadan fazla geçmeniz gerekebilir.
Uzunluğu 15 cm'yi aşan çimlerin biçilmesi tavsiye edilmez. Yaprak tabakası çok kalınsa, makine tıkanabilir ve motorun istop etmesine yol açabilir.
Makineniz yaprakları yeterince iyi kesmiyorsa, biçme hızınızı düşürün.
Operatör konumundan ayrılmadan önce, motoru kapatın, anahtarı çıkarın (varsa) ve tüm hareketin durmasını bekleyin. Makineyi ayarlamadan, bakım yapmadan, temizlemeden veya depoya kaldırmadan önce soğumasını bekleyin.
Yangınları önlemek için makinedeki çim ve artıkları temizleyin. Dökülen yağ veya yakıtı temizleyin.
Makineyi veya yakıt kabını asla bir su ısıtıcısı veya diğer cihazlarda bulunan tipte açık alev, kıvılcım veya tutuşturma alevlerinin bulunduğu yerlerde depolamayın.
Makineyi sabitleyin.
Makinede yükleme ve boşaltma yaparken dikkatli olun.
| Bakım Servisi Aralıkları | Bakım Prosedürü |
|---|---|
| Her kullanımdan sonra |
|
Makine gövdesinin altından malzemeler dökülebilir.
Koruyucu gözlük takın.
Çalışma konumunda durun (kolun arkasında).
Alanda izleyenler olmasına izin vermeyin.
Yağ çubuğu içerideyken makineyi yana devirin.
Important: Yağ çubuğu aşağı doğru bakıyorken makineyi daima yana yatırın. Makine başka bir yönde yatırılırsa, yağ valf mekanizmasını doldurabilir ve boşaltılması en az 30 dakika sürebilir.
Bir fırça veya sıkıştırılmış hava kullanarak egzoz kalkanı, üst kapak ve çevresindeki kaporta alanlarında bulunan çim ve kalıntıları temizleyin.
Soğutma sistemini temizleyin; motorun hava soğutma kanatları ve marş birimindeki çim kırpıntıları, kalıntı veya kirleri ortadan kaldırın.
Note: Tozlu veya çok anızlı koşullarda soğutma sistemini daha sık temizleyin.
Note: Normal çalıştırma konumundan makinenin sol ve sağ tarafını belirleyin.
| Bakım Servisi Aralıkları | Bakım Prosedürü |
|---|---|
| İlk 5 saatten sonra |
|
| Her kullanımdan önce veya günlük |
|
| Her kullanımdan sonra |
|
| Her 25 saatte |
|
| Her 100 saatte |
|
| Yıllık |
|
Operatör konumundan ayrılmadan önce, motoru kapatın, anahtarı çıkarın (varsa) ve tüm hareketin durmasını bekleyin. Makineyi ayarlamadan, bakım yapmadan, temizlemeden veya depoya kaldırmadan önce soğumasını bekleyin.
Herhangi bir bakım işlemi yapmadan önce, bujiden buji kablosunu sökün.
Makineye bakım yaparken eldiven ve koruyucu gözlük takın.
Makineyi düzenli olarak kontrol edin ve varsa aşınmış veya hasarlı parçaları yenisiyle değiştirin. Sadece makinenin çalışma hızında kullanmaya uygun kesme elemanları kullanın.
Emniyet tertibatlarının ayarlarıyla asla oynamayın. Düzgün şekilde çalıştıklarını düzenli olarak kontrol edin.
Makineyi yana yatırmak yakıt sızıntısına neden olabilir. Yakıt yanıcı ve patlayıcıdır; bedensel yaralanmaya yol açabilir. Motoru kuru çalıştırın veya yakıtı bir el pompasıyla boşaltın; yakıtı asla sifonla çekmeyin.
Makinenin emniyetli çalışma durumunda olmasını sağlamak için tüm sabitleme elemanlarının sıkı olmasını sağlayın.
Motorun regülatör ayarını değiştirmeyin veya aşırı hızda çalıştırmayın.
Makinenin optimum performans sergilemesi için sadece orijinal Toro yedek parçalarını ve aksesuarlarını kullanın. Başka üreticilere ait yedek parçalar ve aksesuarlar tehlikeli olabilir ve bu tür kullanımlar ürün garantisini geçersiz kılabilir.
Makineyi yana yatırmak yakıt sızıntısına neden olabilir. Yakıt yanıcı ve patlayıcıdır; kişisel yaralanmaya yol açabilir.
Motoru kuru çalıştırın veya yakıtı bir el pompasıyla boşaltın; asla sifonla çekmeyin.
Important: Yağ çubuğu aşağı doğru bakıyorken makineyi daima yana yatırın. Makine yağ çubuğu yukarı bakıyorken yatırılırsa, yağ vana mekanizmasını doldurabilir ve boşaltılması en az 30 dakika sürebilir.
Motoru kapatın ve tüm hareketli parçaların durmasını bekleyin.
Makineyi düz bir yüzeye alın.
Bujiden buji kablosunu çıkarın (Şekil 32).

Yakıt kısma vanasını kapatın; bkz. Yakıt Kısma Vanası.
Important: Makinede onarım yapacaksanız yakıt deposunu boşaltın.
Bakım prosedürlerini yerine getirdikten sonra yakıt vanasını açın ve buji kablosunu bujiye bağlayın.
| Bakım Servisi Aralıkları | Bakım Prosedürü |
|---|---|
| Yıllık |
|
Hava filtresi kapağının tepesindeki mandal tırnaklarına (Şekil 33) aşağı doğru bastırın.

Kapağı çıkarın.
Filtre elemanını çıkarın (Şekil 33).
Kağıt hava filtresini inceleyin.
Filtre hasarlıysa yağ veya yakıtla ıslatın, aşırı kirliyse yenisiyle değiştirin.
Eğer filtre kirliyse, sert bir yüzeye birçok defa hafifçe vurun veya filtrenin motor tarafına bakan yüzüne 2,07 bar'dan düşük basınçlı sıkıştırılmış hava püskürtün.
Note: Filtredeki birikmiş kiri fırçalamayın; fırçalamak kiri liflerin içine doğru iter.
Hava filtresi tabanını ve kapağını nemli bir bezle silin. Kirleri hava kanalının içine süpürmeyin.
Filtreyi filtre tabanının içine sokun.
Kapağı takın.
API Servis Sınıflandırması: SJ veya üzeri
Yağ Viskozitesi: 10W-30 yağ
| Bakım Servisi Aralıkları | Bakım Prosedürü |
|---|---|
| Her kullanımdan önce veya günlük |
|
Makineyi bakıma hazırlayın; bkz. Bakım için Hazırlık.
Yağ çubuğunu yağ dolum boynundan çıkarın ve çubuğu temiz bir bezle temizleyin.
Yağ çubuğunu yağ dolum boynuna sokun, ardından çıkarın.
Important: Yağ çubuğunu yağ dolum boynuna sabitlemeyin.
Yağ çubuğundaki yağ seviyesine bakın.

Yağ seviyesi yağ çubuğundaki alt sınır işaretine yakın veya altındaysa (Şekil 34), yağ dolum boynundan yavaşça belirtilen tipte motor yağı dökün (Şekil 35) ve 3 dakika bekleyin.

Yağ çubuğunu temiz bir bezle silin ve 3 - 5 arası adımları motor yağı seviyesi üst sınır işaretinde olana kadar tekrarlayın.
Yağ çubuğunu yağ dolum boynuna sokun ve çubuğu elinizle iyice sıkın.
| Bakım Servisi Aralıkları | Bakım Prosedürü |
|---|---|
| İlk 5 saatten sonra |
|
| Her 25 saatte |
|
Motor soğuksa, yağı ısıtmak için motoru 1 ila 2 dakika çalıştırın.
Yakıt deposunda çok az veya hiç yakıt bulunmadığından emin olun, bu şekilde makineyi yana yatırdığınız zaman dışarı yakıt sızmaz.
Makineyi bakıma hazırlayın; bkz. Bakım için Hazırlık.
Yağ çubuğunu yağ dolum boynundan çıkarın ve çubuğu temiz bir bezle temizleyin.
Makinenin yağ dolum boynu tarafındaki kesme katının yanına ve yere bir boşaltma kabı yerleştirin (Şekil 35).

Yağ dolum boynu aşağı doğru bakıyorken makineyi yana doğru yatırarak dolum boynundan yağ boşaltın.
Important: Yağ çubuğu aşağı doğru bakıyorken makineyi daima yana yatırın. Makine başka bir yönde yatırılırsa, yağ valf mekanizmasını doldurabilir ve boşaltılması en az 30 dakika sürebilir.
Makineyi çalıştırma konumuna geri getirin.
Makinedeki tüm dökülen yağı giderin.
Note: Eski yağı yerel bir geri dönüşüm merkezinde uygun şekilde atın.
Yağ Kapasitesi: 0,40 L
Yağ dolum boynuna yavaşça belirtilen tipte motor yağı dökün (Şekil 35) ve 3 dakika bekleyin.

Yağ çubuğunu yağ dolum boynuna sokun, ardından çıkarın.
Important: Yağ çubuğunu yağ dolum boynuna sabitlemeyin.
Yağ çubuğundaki yağ seviyesine bakın (Şekil 38).
Note: Motora aşırı miktarda yağ doldurursanız, fazla gelen yağı boşaltın; bkz. Motor Yağının Boşaltılması.

Yağ seviyesi üst sınırın altındaysa yağ çubuğunu temiz bir bezle silin ve 1 - 3 arası adımları motor yağı seviyesi üst sınır işaretinde olana kadar tekrarlayın.
Yağ çubuğunu yağ dolum boynuna sokun ve çubuğu elinizle iyice sıkın.
| Bakım Servisi Aralıkları | Bakım Prosedürü |
|---|---|
| Her 100 saatte |
|
Buji Teknik Özellikleri: Champion RN9YC veya muadili.
Makineyi bakıma hazırlayın; bkz. Bakım için Hazırlık.
Bujinin etrafını temizleyin.
Bujiyi silindir kapağından sökün.
Important: Aşınmış, hasar görmüş veya kirlenmiş bir bujiyi yenisiyle değiştirin. Elektrotları temizlemeyin, çünkü silindire giren tanecikler motora hasar verebilir.
Orta elektrot ile yan elektrot arasındaki hava boşluğunu (Şekil 39) 0,76 mm'ye ayarlayın.

Bujiyi ve contayı takın.
Tapayı 20 N∙m değerinde sıkın.
Kabloyu bujiye bağlayın.
Operatör konumundan ayrılmadan önce, motoru kapatın, anahtarı çıkarın (varsa) ve tüm hareketin durmasını bekleyin. Makineyi ayarlamadan, bakım yapmadan, temizlemeden veya depoya kaldırmadan önce soğumasını bekleyin.
Makineyi herhangi bir kapalı mekanda depolamadan önce motorun soğumasını bekleyin.
Makineyi herhangi bir kapalı mekanda depolamadan önce motorun soğumasını bekleyin.
Makineyi veya yakıt kabını asla bir su ısıtıcısı veya diğer cihazlarda bulunan tipte açık alev, kıvılcım veya tutuşturma alevlerinin bulunduğu yerlerde depolamayın.
Yangın çıkmasını önlemek için, motor bölmesinde ve egzoz susturucuda kalan çim, yaprak ve kirleri giderin.
Yakıt buharları patlayabilir.
Yakıt 30 günden fazla depolamayın.
Makineyi bir açık alevin yakınında bulunan kutu içinde depolamayın.
Depolama öncesinde motorun soğumasını bekleyin.
Yılın son yakıt ikmali esnasında, yakıta motor üreticisinin verdiği talimatlara göre yakıt stabilizatörü ekleyin.
Yakıtı biten motor kapanana kadar makineyi çalıştırın.
Motoru tekrar çalıştırın ve kendi kendine durana kadar bekleyin. Motoru artık çalıştıramıyorsanız yakıt sistemi boştur.
Bujinin kablosunu çıkarın.
Bujiyi sökün, buji deliğinden 30 ml yağ dökün ve bobinli marş elciğini birkaç defa çekerek yağın tüm silindire dağılmasını sağlayın.
Bujiyi takın ve 20 N∙m torkla sıkın.
Kesme diskini aşınma veya hasara karşı kontrol edin. Kesme diski hasarlıysa veya trim hattı aşınmışsa, yenisiyle değiştirin.
Tüm somun, cıvata ve vidaları sıkın.
Makineyi serin, temiz, kuru bir yerde saklayın.
| Problem | Possible Cause | Corrective Action |
|---|---|---|
| Motor çalışmıyor. |
|
|
| Motor zor çalışıyor veya güç kaybediyor. |
|
|
| Motor düzensiz çalışıyor. |
|
|
| Makine veya motor aşırı miktarda titriyor. |
|
|
| Kesme güzergahında eşitsizlik var. |
|
|