| 整備間隔 | 整備手順 |
|---|---|
| 使用するごとまたは毎日 |
|
この製品は専門業務に従事するプロのオペレータが斜面上のターフ、アップダウンの大きなターフ、水際やバンカー脇のターフを刈り込みための機械として設計製造されています。この機械は本来の目的から外れた使用をすると運転者本人や周囲の人間に危険を及ぼす場合があります。
この説明書を読んで製品の運転方法や整備方法を十分に理解し、怪我や製品の損傷を避けるようにしてください。この製品を適切かつ安全に使用するのはお客様の責任です。
安全上の注意事項、トレーニング資料、アクセサリについての情報、代理店の検索、製品のご登録などについては www.https://www.toro.com/en-GB へアクセスしてください。
整備について、また純正部品についてなど、分からないことはお気軽に弊社代理店またはカスタマーサービスにおたずねください。お問い合わせの際には、必ず製品のモデル番号とシリアル番号をお知らせください。図 1に製品のモデル番号とシリアル番号の位置を示します。いまのうちに番号をメモしておきましょう。
Important: シリアル番号デカルについている QR コード(無い場合もあります)をモバイル機器でスキャンすると、製品保証、パーツその他の製品情報にアクセスできます。

いまのうちに番号をメモしておきましょう。
この説明書では、危険についての注意を促すための警告記号(図 2)を使用しております。これらは死亡事故を含む重大な人身事故を防止するための注意ですから、必ずお守りください。

この他に2つの言葉で注意を促しています。重要は製品の構造などについての注意点を、注はその他の注意点を表しています。
この製品は関連するすべての欧州指令に適合しています。詳細については、別添えの規格適合証明書(DOC)をご覧ください。
トルク値(グロス値、ネット値)について: この製品に使用しているエンジンのグロス出力やネット出力は、SAE の J1940 または J2723 規格に則ってエンジンメーカーが実験室にて測定した数値です。安全性、排ガス規制、機能上の要求などに合わせて調整されるため、このクラスの芝刈り機のエンジンの出力(トルク)は、グロス値よりも大幅に下げてあるのが普通です。詳細については、マシンに同梱されているエンジンメーカーからの情報をご参照ください。
Important: この機械をご使用になる前に以下の注意点をよくお読みになり、将来に備えて保管してください。
この機械は手足にけがをさせたり物をはね飛ばしたりする能力があります。重大な人身事故を防ぐため、すべての注意事項を厳守してください。
エンジンを始動する前に必ずこのオペレーターズマニュアルをお読みになり、内容をよく理解してください。
機械の可動部の近くには絶対に手足を近づけないでください。
ガードなどの安全保護機器が正しく機能していない時は、運転しないでください。
作業場所に、無用の大人、子供、ペットなどを近づけないでください。子供に運転させないでください。講習を受けて正しい運転知識を身に着け、運転操作に必要な運動能力があり、責任ある大人のみがこの機械の操作を行ってください。地域によっては機械のオペレータに年齢制限を設けていることがありますのでご注意ください。
エンジンを停止させ、(キー付きの機種では)キーを抜き取り、各部の動作が完全に停止したのを確認してから運転位置を離れるようにしましょう。調整、整備、洗浄、格納などは、機体が十分に冷えてから行う。
間違った使い方や整備不良は人身事故などの原因となります。事故を防止するため、以下に示す安全上の注意や安全注意標識
のついている遵守事項は必ずお守りください 「注意」、「警告」、および「危険」
の記号は、人身の安全に関わる注意事項を示しています。これらの注意を怠ると死亡事故などの重大な人身事故が発生する恐れがあります。
![]() |
以下のラベルや指示は危険な個所の見やすい部分に貼付してあります。破損したりはがれたりした場合は新しいラベルを貼付してください。 |




この作業に必要なパーツ
| 下側ハンドルバー | 1 |
| フットストップ | 1 |
| ボルト(6 x 35 mm) | 1 |
| ワッシャ(6 mm) | 3 |
| ロックナット(6 mm) | 1 |
Note: ハンドルバーを下位置(103.4 cm)に組み立てる場合にのみ、フットストップを使用してハンドルバーを垂直位置で支えることができます。

この作業に必要なパーツ
| T 字ブッシュ | 4 |
| ボルト(6 x 55 mm) | 2 |
| ワッシャ(6 mm) | 6 |
| ロックナット(6 mm) | 2 |
| ノブ | 2 |
| Uボルト | 2 |
| ハンドルバー用フィッティング | |
| 上側ハンドルバー | 1 |
| ボルト(¼ x 1¾") | 1 |
| ロックナット(¼") | 1 |
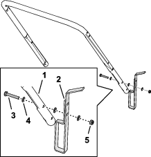
フットストップの穴を、下側ハンドルバーの穴に合わせる(図 8)。

下側ハンドルバーに上側ハンドルバーを取り付ける;Uボルト2本、ワッシャ(6 mm)2枚、ノブ2個を使用する。
Important: エンジンにはオイルが入っておりません。エンジンを始動する前に、エンジンオイルを入れてください。
API 規格:SJ またはそれ以上
オイルの粘度: 10W-30
オイルの量: 0.40 リットル
平らな場所に駐車する。
オイルフィルタの補給口からディップスティックを抜き、ウェスで一度きれいに拭く(図 14)。

オイルフィルタの補給口から所定のエンジンオイルをゆっくりと入れ(図 15)、3 分間待つ。

補給口にディップスティックを差し込み、もう一度抜き取る。
ディップスティックで油量を確認する(図 16)。
Note: オイルを入れすぎてしまった場合には余分なオイルを抜き取ってください;エンジンオイルの抜き取りを参照。

オイル量が少なすぎる場合には、ディップスティックを抜き、ウェスできれいに拭いて、ステップ3ー5を繰り返し、適正量までオイルを入れる。
補給口にディップスティックを差し込み、手締めする。



オペレータベイル(図 19)は、フライホイールのブレーキとエンジンの点火を制御します。
ベイルを握っているとエンジンが作動を続けます。
ベイルから手を離すとエンジンが停止します。
燃料バルブ(図 19)は、エンジンに燃料供給を行うバルブです。
移送、整備、格納保管時は、燃料バルブを閉じてください。
エンジンについている燃料バルブを開く。
|
モデル |
刈り幅 |
製品の幅 |
|---|---|---|
|
02616 |
457 mm |
574 mm |
トロが認定した各種のアタッチメントやアクセサリがそろっており、マシンの機能をさらに広げることができます。詳細は弊社の正規サービスディーラ、または代理店へお問い合わせください;弊社のウェブサイト www.https://www.toro.com/en-GB でもすべての認定アタッチメントとアクセサリをご覧になることができます。
いつも最高の性能と安全性を維持するために、必ずToroの純正部品をご使用ください。他社の部品やアクセサリを御使用になると危険な場合があり、製品保証を受けられなくなる場合がありますのでおやめください。
Note: 前後左右は運転位置からみた方向です。
エンジンを停止させ、(キー付きの機種では)キーを抜き取り、各部の動作が完全に停止したのを確認してから運転位置を離れるようにしましょう。調整、整備、洗浄、格納などは、機体が十分に冷えてから行ってください。
各部の操作方法や本機の正しい使用方法、警告表示などに十分慣れ、安全に運転できるようになりましょう。
使用前に必ず目視点検を行い、ガード類や安全を確保する部材の状態を確認してください。
使用前に必ず、カッティングディスク、ボルト、スペーサ、およびリテーナの点検を行ってください。
これから機械で作業する場所をよく確認し、作業の邪魔になるもの、機械に巻き込まれそうなものはすべて取り除きましょう。
刈高を調整中に刈り込みディスクが作動すると、大怪我を負う危険がある。
破損しているマフラーは交換してください。
燃料は非常に引火・爆発しやすい物質です。発火したり爆発したりすると、やけどや火災などにつながります。
静電気による引火を防止するために、燃料を補給する際には、燃料容器と機械を地面に直接置いて給油するようにし、トラックの荷台などでの給油は行わないようにしましょう。
燃料補給は必ず屋外で、エンジンが冷えた状態で行ってください。こぼれた燃料はふき取る。
燃料補給は必ず屋外で、エンジンが冷えた状態で行う。こぼれた燃料はふき取る。
喫煙しながらや、周囲に火気がある状態で燃料を取り扱わない。
エンジン回転中などエンジンが高温の時に燃料タンクのふたを開けたり給油したりしな。
燃料がこぼれたらエンジンを掛けない。気化した燃料ガスが十分に拡散するまで引火の原因となるものを近づけない。
燃料は安全で汚れのない認可された容器に入れ、子供の手の届かない場所で保管する。
燃料タンクなどの補給キャップはすべて確実に取り付けてください。
燃料を飲み込むと非常に危険で生命に関わる。また気化した燃料に長期間ふれると身体に重篤な症状や疾病を引き起こす。
ガソリン蒸気を長時間吸わないようにする。
ノズルや燃料タンクの注入口には手や顔を近づけないこと。
目や皮膚に燃料が付着しないようにすること。
| 種類 | 無鉛ガソリン |
| 最低オクタン価 | 87(米国内)、91(米国外;リサーチ法オクタン価) |
| エタノール | 体積比で10%未満であること |
| メタノール | なし |
| MTBE(メチルターシャリーブチルエーテル) | 体積比で15%未満であること |
| オイル | 燃料にオイルを混合しないこと |
きれいで新しい(購入後30日以内)燃料を使ってください。
Important: 始動困難トラブル低減のために、新しい燃料にスタビライザー/コンディショナーを、コンディショナメーカーの指示に従って使用してください。
Note: さらに詳しい情報については、エンジンマニュアル をご覧ください。
燃料キャップの周囲をきれいに拭いてからキャップを外す。
図 20のようにして所定の燃料を入れる。

燃料タンクにキャップを取りつける。
エンジンオイルの量を点検するを参照。
作業にふさわしい服装をし、安全めがね、長ズボン、頑丈で滑りにくい安全な靴、および聴覚保護具を着用してください。長い髪は束ねてください。ゆるい装飾品やだぶついた服は身に着けないでください。
この機械を運転する時は常に十分な注意を払ってください。運転中は運転操作に集中してください;注意散漫は怪我や物的損害を発生させる可能性があります。
疲れている時、病気の時、アルコールや薬物を摂取した時は運転しないでください。
エンジンを始動する前に、刈り込みディスクと駆動クラッチをすべて解除してください。
エンジン始動時には、刈り込みディスクから足を十分に離し、定められた手順で始動動作を行ってください。
エンジン始動時に必要以上に機体を傾けないでください。傾ける場合は、身体から遠い側を持ち上げてください。
エンジンを停止させ、(キー付きの機種では)キーを抜き取り、各部の動作が完全に停止したのを確認してから運転位置を離れるようにしましょう。調整、整備、洗浄、格納などは、機体が十分に冷えてから行ってください。
オペレータハンドルから手を離すと、エンジンと刈り込みディスクの両方が 3 秒以内に停止するのが正常です。もし正しく停止しない場合には、直ちに機械の使用を停止し、代理店にご連絡ください。
作業場所に、無用の人間(特に子供)やペットなどを近づけないでください。作業場所に小さな子供を入れないでください。子供たちが周囲にいる時には、オペレータ以外の誰かが責任をもって子供を監視してください。人が近づいてきたら機械を停止させてください。
機械の運転は十分な視界の確保ができる適切な天候条件のもとで行ってください。落雷の危険がある時には運転しないでください。
また、ぬれた芝生や落ち葉の上はスリップしやすく、運転中に転んで刈り込みディスク触れたりすると大けがをする危険もあります。可能であれば、ぬれた芝の刈り込みは避けてください。
見通しの悪い曲がり角や、茂み、立ち木などの障害物の近くや視界のきかない場所では安全に特に注意してください。
穴、わだち、盛り上がり、岩などの見えない障害物に注意しましょう。不整地では、機械が転倒したり、足元が不確かになって運転姿勢が崩れたりする恐れがあります。
機械が何かにぶつかったり、異常な振動を始めたら直ちにエンジンを停止させ、機械各部全ての動作が停止するまで待って点火プラグのコードをはずし、その後に機械の点検を行ってください。異常を発見したら、作業を再開する前にすべて修理してください。
エンジン回転させたままで搬送などを行わないでください。
エンジン停止直後は、高温高圧状態となっていて触れると火傷を負う危険性があります。高音のエンジンに触れないように注意してください。
エンジンの排気ガスには致死性ガスである一酸化炭素が含まれています。屋内や締め切った場所ではエンジンを運転しないでください。
弊社(トロ)が認めた以外のアクセサリやアタッチメントを使用しないでください。
斜面はスリップや転倒などを起こしやすく、これらは重大な人身事故につながります。斜面での安全運転はオペレータの責任です。どんな斜面であっても、通常以上に十分な注意が必要です。斜面で運転する前に、必ず以下を行ってください:
マニュアルに記載されている斜面に関する注意事項を読んで内容をよく理解する。
作業当日に現場の実地調査を行い、安全に作業ができるか判断する。以上の調査においては、常識を十分に働かせてください。同じ斜面上であっても、水分など地表面の条件が変われば運転条件が大きく変わります。
常に足元に十分注意し、ハンドルをしっかりと握ってください。作業中は絶対に走らないでください。
斜面は上り下りしながら作業するようにし、横断しながらの作業は絶対にしないでください。
法面で方向を変える場合には、安全に十二分の注意を払ってください。
急斜面での刈り込みはしないでください。
後退するときや、機械を手前に引くときには安全に十二分の注意を払ってください。
ぬれた芝の刈り込みは避けてください。足元が不十分な場所ではスリップや転倒を起こしやすくなります。
隠れた穴、わだち、盛り上がり、石などの見えない障害は、取り除く、目印を付けるなどして警戒してください。深い芝生に隠れて障害物が見えないことがあります。
段差や溝、大きく盛り上がった場所の近くなどでは十分に注意して作業してください。
使用時は、常時両手でハンドルを握ってください。
急斜面の上から刈り込むためにリーチを長くしたい時は、必ず所定の延長ハンドルを使ってください。

燃料バルブのハンドルを回して水平にするとバルブが開く。
燃料バルブのハンドルを回して垂直にするとバルブが閉じる。
| 整備間隔 | 整備手順 |
|---|---|
| 使用するごとまたは毎日 |
|
エンジンを停止するには、オペレータベイルから手を離します(図 24)。
Important: オペレータベイルから手を離離すと、エンジンと刈り込みディスクの両方が 3 秒以内に停止するのが正常です。もし正しく停止しない場合には、直ちに機械の使用を停止し、代理店または Toro 正規ディストリビュータにご連絡ください。

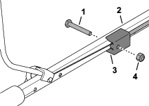
Note: 下部ハンドルバーが低位置(103.4 cm)に取り付けられている場合には、フットストップを使ってマシンを立てることができます。

ハンドルバーを持ち上げてフットストップを前に倒せはハンドルバーが解放されます(図 25)。
ハンドルバーをサポートするには、ハンドルバーを配置し、フットストップを後方に回転させます。
| 整備間隔 | 整備手順 |
|---|---|
| 1年ごと |
|
刈り込みラインを交換する時は、必ず刈り込みディスクアセンブリを点検してください。万一刈り込みディスクアセンブリ破損しているのを発見した場合には直ちに交換してください。
刈り込みディスクを取り外す;刈り込みディスクの取り外しを参照。
刈り込みラインを新しいものに交換する:新しいライン 2 本を同じ長さにして図 26に示すように反対向きに取り付ける。

刈り込みディスク取り付ける;刈り込みディスクの取り付けを参照。
刈高を調整中に刈り込みディスクが作動すると、大怪我を負う危険がある。
エンジンを止め、各部が完全に停止するのを待つこと。
刈り込みディスクの取り扱いは手袋をはめて行う。
エンジン停止直後は、マフラーが高温高圧状態となっていて触れると火傷を負う危険性がある。
高温のマフラーに触れないように注意してください。
刈高を調整する時には、必ず刈り込みディスクアセンブリを点検してください。万一刈り込みディスクアセンブリ破損しているのを発見した場合には直ちに交換してください。
刈り込みディスクを取り外す;刈り込みディスクの取り外しを参照。
図 27のようにスペーサの位置を変更して刈り高を変更する。
Note: スペーサ1枚で、6.3 mm の刈高変更になります。

刈り込みディスク取り付ける;刈り込みディスクの取り付けを参照。
刈り込みディスクを取り外した時には、必ず刈り込みディスクアセンブリを点検してください。万一刈り込みディスクアセンブリ破損しているのを発見した場合には直ちに交換してください。
Important: 刈り込みディスクアセンブリを適切に取り付けるにはトルクレンチが必要です。トルクレンチをお持ちでない場合や、この整備に不安がある場合には、弊社の正規サービスディーラまたは総代理店にご相談ください。
インペラに、リテーナ、刈り込みディスク、スペーサ、円錐形スペーサをボルトで取り付ける(図 30)。
Important: 円錐スペーサはインペラに直接触れるように、リテーナはボルトの頭の下面で押さえられるように、取り付けてください。

ボルトを 25 N·m(37 kg.m = 18 ft-lb)にトルク締めする。
Note: 25 N·m(18 ft-lb)のトルク締めは非常に強い力を必要とします。インペラしっかり保持し、トルクレンチに自分の体重をしっかり掛けてボルトを確実に締め付けてください。
マシンを立てた状態に戻し、点火プラグを取り付け、燃料バルブを開く。
フットストップの輪の部分を上側ストップの下にセットすると楽に操縦できます。

これから機械で作業する場所をよく確認し、機械に巻き込まれそうなものはすべて取り除きましょう。
刈り込み中にラインで硬いものをたたかないように注意してください。障害物があるとわかっている場所は絶対に刈り込まないでください。
機械が何かにぶつかったり、異常な振動を始めたら直ちにエンジンを停止させ、点火プラグのコードをはずし、機械が破損していないか点検してください。
シーズンの始めに刈り込みラインを新しいものに交換することをお奨めします。
また、必要に応じて刈り込みラインを交換してください;交換用にはトロの純正部品をご使用ください。
新しいラインは元と同じ長さにしてください。
一度に刈り込む量は草丈のおよそ 1/3 程度までとしましょう。芝草がまばらにしか生えていない時や、成長が遅い時期(晩秋)以外は、刈高を最高位置(30 mm)より下げないでください;刈高を調整するを参照。
草丈が 15 cm 以上で刈り込みを行うと、草が詰まったりエンジンが停止する可能性があります。
ぬれた芝草やぬれた落ち葉は、あちらこちらにへばりつきやすく、刈り込みユニットに詰まってエンジンを停止させがちです。芝生が乾いているとき以外は、できるだけ刈り込みを控えましょう。
また、ぬれた芝生や落ち葉の上はスリップしやすく、運転中に転んだりすると大けがをする危険もあります。
芝生が乾いているとき以外は、できるだけ刈り込みを控えましょう。
非常に乾燥した日には火災が起きやすくなります。気象警報などに注意し、機械の周囲に乾いた草や葉を放置しないように注意してください。
刈り上がりに満足できない場合には、以下の1つまたはそれ以上をお試しください:
カッティングユニットを点検し、必要に応じてラインを交換する。
刈り込み時の歩く速度を遅くする。
刈り込みデッキの刈高設定を高くする。
刈り込み頻度を増やす。
刈り幅をすこしダブらせるようにしながら刈り込む。
一度刈り込みをした後、芝生の半分程度が落ち葉から隠れない程度になっていることを確認してください。落ち葉の場合には、一回では完全に刈り込めない場合があります。
草丈が 15 cm を超える場所の刈り込みはお奨めできません。草の密度が高すぎると詰まりを起こしてエンジンが停止する場合があります。
落ち葉を十分に細かく切断できない場合には、歩く速度を落としてください。
エンジンを停止させ、(キー付きの機種では)キーを抜き取り、各部の動作が完全に停止したのを確認してから運転位置を離れるようにしましょう。調整、整備、洗浄、格納などは、機体が十分に冷えてから行う。
火災防止のため、機械に刈りかすなどが溜まらないように注意する。オイルや燃料がこぼれた場合はふき取る。
ガス湯沸かし器のパイロット火やストーブなど裸火や火花を発するものがある近くでは、絶対に機械や燃料容器を保管・格納しないでください。
機体を確実に固定してください。
トラックなどへの機械の積み下ろしは十分注意して行ってください。
| 整備間隔 | 整備手順 |
|---|---|
| 使用後毎回 |
|
機械のハウジングの下側には刈かすなどがこびりつきます。
保護メガネ等着用のこと。
正規の運転位置であるハンドルの後ろに立つこと。
近くに人を寄せないこと。
ディップスティック側が下になるようにして機体を傾ける。
Important: 機体を傾けるときには、必ずディップスティックが下になるように横に傾けてください。反対側に傾けると、バルブ内部にオイルが入って、オイルが抜けるまで最低30分間が必要となります。
ブラシまたは圧縮空気で、排気ガード、上部カウル、デッキ周囲部分についているよごれを取り除く。
冷却システムを清掃する;エンジンの冷却フィンやスタータについている刈かす、ごみ、よごれを取り除く。
Note: 汚れやすい環境で使用している場合には冷却をまめに清掃する。
Note: 前後左右は運転位置からみた方向です。
| 整備間隔 | 整備手順 |
|---|---|
| 使用開始後最初の 5 時間 |
|
| 使用するごとまたは毎日 |
|
| 使用後毎回 |
|
| 25運転時間ごと |
|
| 100運転時間ごと |
|
| 1年ごと |
|
エンジンを停止させ、(キー付きの機種では)キーを抜き取り、各部の動作が完全に停止したのを確認してから運転位置を離れるようにしましょう。調整、整備、洗浄、格納などは、機体が十分に冷えてから行ってください。
整備などの前には、必ず点火プラグコードを外してください。
整備を行う時は必ず手袋と保護めがねを着用してください。
定期的に機体を点検し、磨耗したり破損したりしている部品は交換してください。マシンの動作速度に合った刈り込み部品以外は使用しないでください。
絶対に安全装置にいたずらをしないでください。安全装置が適切に作動するかを定期的に点検してください。
機体を傾けると燃料が漏れ出す可能性がある。燃料は非常に引火・爆発しやすく、人身事故の原因となりうる。燃料を口で吸い出さないでください。ポンプで抜きとるかタンクが空になるまで運転してください。
常に機械全体の安全を心掛け、ボルト類が十分に締まっているのを確認してください。
エンジンのガバナの設定を変えたり、エンジンの回転数を上げすぎたりしないでください。
機械の性能を完全に引き出し、かつ安全にお使いいただくために、交換部品やアクセサリは純正品をお使いください。他社の部品やアクセサリを御使用になると危険な場合があり、製品保証を受けられなくなる場合がありますのでおやめください。
機体を傾けると燃料が漏れ出す可能性があります。燃料は非常に引火・爆発しやすく、人身事故の原因となりうる。
燃料タンクが空になるまで運転するか、ポンプを使ってタンクから燃料を抜く;サイホンでくみ出さないこと。
Important: 機体を傾けるときには、必ずディップスティックが下になるように横に傾けてください。ディップスティックを上にして傾けると、バルブ内部にオイルが入って、オイルが抜けるまで最低30分間が必要となります。
| 整備間隔 | 整備手順 |
|---|---|
| 1年ごと |
|
エアフィルタカバーの上部についているラッチのタブを押して下げる(図 33)。

カバーを取り外す。
エレメントを外す(図 33)。
ペーパーエアフィルタを点検する。
フィルタが破損していたり、オイルや燃料で濡れていたり、非常に汚れている場合には交換する。
フィルタが単に汚れているだけの場合は、硬い表面に打ちつけるようにしてほこりを叩き落すか、圧縮空気(2.07 bar = 2.1 kg/cm2)でエンジン側から吹いて清掃する。
Note: ブラシでほこりを落とさないでください;フィルタ繊維の中にほこりが詰まってしまいます。
エアフィルタベースとカバーについている汚れはぬらしたウェスで取り除く。エアダクトの中にほこりを落としてしまわないようにすること。
フィルタベースにフィルタを入れる。
カバーを取り付ける。
API 規格:SJ またはそれ以上
オイルの粘度: 10W-30
| 整備間隔 | 整備手順 |
|---|---|
| 使用するごとまたは毎日 |
|
マシンの整備の準備を行う;整備作業にかかる前にを参照。
オイルフィルタの補給口からディップスティックを抜き、ウェスで一度きれいに拭く。
補給口にディップスティックを差し込み、もう一度抜き取る。
Important: ディップスティックをねじ込まないでください。
ディップスティックで油量を確認する。

オイルのディップスティックの最低マークの近くまたはそれ以下の場合(図 34)は、所定のオイルを補給口(図 35)からゆっくりと追加し、3分間待つ。

ディップスティックをウェスできれいに拭いて、ステップ3ー5を繰り返し、適正量までオイルを入れる。
補給口にディップスティックを差し込み、手締めする。
| 整備間隔 | 整備手順 |
|---|---|
| 使用開始後最初の 5 時間 |
|
| 25運転時間ごと |
|
エンジンが冷えている場合は、1ー2 分間の暖機運転を行う。
燃料タンク内部に燃料が残っていない、あるいはほとんど残っていないこと(機体を倒しても燃料が漏れる心配がないこと)を確認する。
マシンの整備の準備を行う;整備作業にかかる前にを参照。
オイルフィルタの補給口からディップスティックを抜き、ウェスで一度きれいに拭く。
エンジンオイル補給口の側の床にオイル回収用の容器を置く(図 35)。

補給口下になるように機体を横倒しにして補給口からエンジンオイルを抜く。
Important: 機体を傾けるときには、必ずディップスティックが下になるように横に傾けてください。反対側に傾けると、バルブ内部にオイルが入って、オイルが抜けるまで最低30分間が必要となります。
オイルが抜けたら機体を元通りに立てる。
機体に付いたオイルをきれいに拭きとる。
Note: 廃油は地域のリサイクルセンターに持ち込むなど適切な方法で処分する。
オイルの量: 0.40 リットル
オイルフィルタの補給口から所定のエンジンオイルをゆっくりと入れ(図 35)、3 分間待つ。

補給口にディップスティックを差し込み、もう一度抜き取る。
Important: ディップスティックをねじ込まないでください。
ディップスティックで油量を確認する(図 38)。
Note: オイルを入れすぎてしまった場合には余分なオイルを抜き取ってください;エンジンオイルの抜き取りを参照。

オイル量が少なすぎる場合には、ディップスティックを抜き、ウェスできれいに拭いて、ステップ1ー3を繰り返し、適正量までオイルを入れる。
補給口にディップスティックを差し込み、手締めする。
| 整備間隔 | 整備手順 |
|---|---|
| 100運転時間ごと |
|
点火プラグの仕様: Champion RN9YC または同等品
マシンの整備の準備を行う;整備作業にかかる前にを参照。
点火プラグの周囲をきれいにする。
シリンダヘッドから点火プラグを外す。
Important: 磨耗、汚れ、破損など不具合のある点火プラグは交換してください。電極部を磨かないでください。細かいかけらなどがエンジン内部に落ち込んでエンジンを破損させる恐れがあります。
中央電極と側面電極との間のエアギャップ(図 39)を 0.76 mm に調整する。

点火プラグとガスケットを取り付ける。
プラグを 20 N·m (2 kg.m=15 ft-lb)にトルク締めする。
点火コードを接続する。
エンジンを停止させ、(キー付きの機種では)キーを抜き取り、各部の動作が完全に停止したのを確認してから運転位置を離れる。調整、整備、洗浄、格納などは、機体が十分に冷えてから行ってください。
閉めきった場所に本機を保管する場合は、エンジンが十分冷えていることを確認してください。
閉めきった場所に本機を保管する場合は、エンジンが十分冷えていることを確認してください。
ガス湯沸かし器のパイロット火やストーブなど裸火や火花を発するものがある近くでは、絶対に機械や燃料容器を保管・格納しないでください。
火災防止のため、マルファーやエンジンの周囲にほこりなどが溜まらないようにしてください。
気化した燃料は爆発しやすい。
燃料は30日間以上保存しない。
裸火の近くで機械を保管しない。
保管前にエンジンが十分に冷えていることを確認する。
シーズン最後の燃料補給の時に、燃料スタビライザ(品質保持剤;エンジンメーカーが推奨するもの)を添加しておく。
エンジンを始動し、燃料切れで自然に停止するまで放置する。
エンジンを再度始動して自然に停止するまで運転する。エンジンが始動できなくなるまでこれを続ける。
点火コードを取り外す。
点火プラグを外し、30cc のエンジンオイルを、プラグの取り付け穴から流し込み、リコイルスタータをゆっくりと数回引いて、エンジンオイルをシリンダ内部全体にゆきわたらせ、保管期間中の防錆とする。
点火プラグを取り付けて 20 N∙m(0.27 kg.m = 15 ft-lb)にトルク締めする。
刈り込みディスクに磨耗・破損がないか点検する。刈り込みディスクが破損していたり刈り込みラインが磨耗している場合には交換する。
機体各部のゆるみを点検し、必要な締め付けや交換、修理を行う。
保管は、汚れていない乾燥した場所で行う。
| Problem | Possible Cause | Corrective Action |
|---|---|---|
| 始動できない。 |
|
|
| エンジンが掛かりにくい、または力がない。 |
|
|
| エンジンの回転が一定でない. |
|
|
| 機体またはエンジンの振動が大きい。. |
|
|
| 刈り込みパターンが均一でない。 |
|
|