| Karbantartási időköz | Karbantartási intézkedés |
|---|---|
| Minden egyes használat előtt, vagy naponta |
|
A gép bérmunkában dolgozók, kereskedelmi üzemeltetők számára készült a lejtőkön, a talaj keskeny egyenetlenségein, a víz közelében lévő területeken vagy az aknaszegélyeken való munkavégzéshez. A termék nem rendeltetésszerű használata veszélyezteti az Ön és a közelben tartózkodó emberek biztonságát.
Gondosan olvassa el ezt a tájékoztatót, hogy a termék megfelelő üzemeltetését és karbantartását elsajátítva elkerülje a sérüléseket, valamint a termék károsodását. Ön felelős a termék megfelelő és biztonságos üzemeltetéséért.
A www.https://www.toro.com/en-GB weboldalon további információk is találhatók, például munkavédelmi tippek, oktatóanyagok, tartozékokról szóló információk, segítség márkakereskedés kereséséhez, valamint termékregisztráció is végezhető itt.
Ha szervizre, eredeti Toro-alkatrészekre vagy további információkra van szüksége, forduljon hivatalos márkaszervizhez vagy a Toro ügyfélszolgálatához, és tartsa kéznél terméke típus- és sorozatszámát. A(z) Ábra 1 jelzi a típus- és sorozatszám helyét a terméken. Írja a számokat a megfelelő helyre.
Important: Mobileszköze segítségével a sorozatszámot tartalmazó címkén található QR-kódot (ha van) beolvasva elérheti a garanciális, az alkatrészekre vonatkozó és más termékinformációkat.

Írja a termék típus- és sorozatszámát az alábbi helyre:
A kézikönyv feltünteti a lehetséges veszélyeket, és a (Ábra 2) biztonsági figyelmeztető jelzéssel azonosított biztonsági üzeneteket tartalmaz. Ez a jelzés olyan veszélyre hívja fel a figyelmet, amely súlyos sérülést vagy halált okozhat, amennyiben Ön nem követi az ajánlott óvintézkedéseket.

Ez a kézikönyv 2 szót használ az információ kiemelésére. A Fontos speciális műszaki információra hívja fel a figyelmet, a Megjegyzés külön figyelemre érdemes általános információt hangsúlyoz.
A termék az összes vonatkozó európai ajánlásnak megfelel. A részletekért lásd a termékre vonatkozó külön megfelelőségi nyilatkozatot (DOC).
Bruttó vagy nettó nyomaték: A motor bruttó vagy nettó forgatónyomatékát laboratóriumban állapította meg a gyártó az SAE J1940 vagy J2723 szabvány szerint. A biztonsági, károsanyag-kibocsátási és üzemeltetési követelmények teljesítése érdekében a motor tényleges nyomatéka ebben a fűnyíróosztályban jelentősen kisebb. Olvassa el a motorgyártó által a géphez mellékelt információkat.
Important: A gép használatának megkezdése előtt olvassa el körültekintően az útmutatót, és őrizze meg a későbbi használatra.
A fűnyíró kéz- és lábsérülést okozhat, továbbá tárgyakat dobhat ki. A súlyos sérülések elkerülése érdekében mindig kövesse a biztonsági utasításokat.
Olvassa el és minden részletében értse meg a Kezelői kézikönyvet, mielőtt elindítja a motort.
Ne tegye kezét vagy lábát a gép mozgó részei közelébe.
Ne használja a gépet, ha a védőburkolatok és egyéb védőelemek nincsenek a helyükön, és nem működnek.
Tartsa távol a közelben tartózkodó embereket és a gyerekeket a működtetési területtől. Ne engedje, hogy a gépet gyerekek üzemeltessék. Csak olyan személyek dolgozhatnak vele, akik felelősek, képzettek, ismerik az utasításokat, és fizikailag is képesek működtetni a gépet. A helyi szabályozás korlátozhatja a kezelő életkorát.
Állítsa le a motort, vegye ki az indítókulcsot (ha van), és várja meg, amíg az összes mozgó alkatrész leáll, csak ezután hagyja el a kezelőülést. Hagyja lehűlni a gépet, mielőtt beállítási, szervizelési, tisztítási vagy tárolási munkába kezd rajta.
A gép nem megfelelő használata vagy karbantartása
személyi sérüléshez vezethet. A lehetséges
sérülések elkerülése érdekében
kövesse a biztonsági útmutatóban leírtakat,
és mindig ügyeljen a biztonsági figyelmeztető
szimbólumra (
), amelynek jelentése lehet Figyelem, Vigyázat
vagy Veszély – személyes biztonsági utasítások.
Az utasítások be nem tartása súlyos személyi
sérüléshez vagy halálhoz vezethet.
![]() |
A biztonsági címkék és utasítások a gépkezelő számára jól látható helyen, a potenciális veszélyforrás közelében találhatók. Cserélje ki vagy pótolja a megrongálódott vagy hiányzó címkét. |




Ehhez az eljáráshoz szükséges alkatrészek:
| Fogantyú alsó része | 1 |
| Lábütköző | 1 |
| Csavar (6 × 35 mm) | 1 |
| Alátét (6 mm) | 3 |
| Önbiztosító anya (6 mm) | 1 |
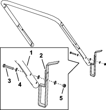
Note: A lábütköző csak arra használható, hogy a fogantyút függőleges helyzetben megtámassza, amikor a fogantyút alsó, 103,4 cm-es helyzetbe szereli.

Határozza meg akkor a fogantyú magasságát, amikor a lábütköző a felütköző konzolhoz rögzült (Ábra 3).
Igazítsa egymáshoz a lábütköző és a fogantyú alsó részének furatát (Ábra 4).

Szerelje fel a lábütközőt a fogantyúra egy csavar (6 × 35 mm), 3 alátét (6 mm) és egy önbiztosító anya (6 mm) segítségével.
Húzza meg az önbiztosító anyát a csavaron.
Note: Ügyeljen arra, hogy a lábütköző elfordulhasson.
Ehhez az eljáráshoz szükséges alkatrészek:
| Peremes perselyek | 4 |
| Csavar (6 × 55 mm) | 2 |
| Alátét (6 mm) | 6 |
| Önbiztosító anya (6 mm) | 2 |
| Gomb | 2 |
| U csavar | 2 |
| Fogantyúszerelvény | |
| Fogantyú felső része | 1 |
| Csavar (¼ × 1¾") | 1 |
| Önbiztosító anya (¼") | 1 |
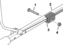
Szereljen be 2 peremes perselyt a nyíróasztal fogantyúrögzítő füleibe (Ábra 5).

Igazítsa a fogantyún a lábütközőt a nyíróasztalon található felütköző konzolhoz (Ábra 6).

Igazítsa össze a fogantyú és a perselyek furatait (Ábra 7), és rögzítse a fogantyút a géphez egy csavar (6 × 55 mm), 2 alátét (6 mm) és egy önbiztosító anya (6 mm) segítségével.

Ismételje meg a 3. lépést a gép másik oldalán.
Igazítsa egymáshoz a fogantyú felső és alsó részének furatait (Ábra 8).

Szerelje össze a fogantyú felső és alsó részét a 2 U csavar, 2 alátét (6 mm) és 2 gomb segítségével.
Illessze be a bovdenköpeny végén levő szerelvényt a fogantyúszerelvény felső foglalatába (Ábra 9).

Nyomja össze a motorleállító kar lábait annyira, hogy kijöjjenek a fogantyú felső részéből, majd távolítsa el a kart a gépről (Ábra 10).

Illessze be a bovdenszerelvényt a motorleállító kar konzoljába a konzolon található furaton át a Ábra 11 szerint.

Illessze be a motorleállító kar végét a fogantyúba, a másik lábát nyomja kissé befelé, majd illessze be azt is a fogantyúba (Ábra 13).

Rögzítse a fogantyúszerelvényt a fogantyú felső részéhez (Ábra 14) a csavar (¼ × 1¾") és az önbiztosító anya (¼") segítségével.

Important: A gépét nem olajjal feltöltött állapotban szállítjuk. A motor beindítása előtt töltsön olajat a motorba.
API-besorolás: SJ vagy magasabb
Olajviszkozitás: 10W-30
Olajmennyiség: 0,40 l
Helyezze a gépet sík felületre.
Vegye ki a nívópálcát a betöltőnyakból, és törölje le egy tiszta ronggyal (Ábra 14).

Öntse be lassan az előírt olajat a betöltőnyakon át (Ábra 15), és várjon 3 percet.

Dugja be a nívópálcát a betöltőnyakba, majd húzza ki.
Ellenőrizze az olajszintet a nívópálcán (Ábra 16).
Note: Ha a motort esetleg túltöltötte olajjal, ürítse le a felesleges olajat, lásd A motorolaj leürítése.

Ha az olajszint a felső szintjelzés alatt látható, törölje le a nívópálcát egy tiszta ronggyal, majd ismételje a 3–5. lépést, amíg az olajszint a felső szintjelzéshez nem kerül.
Dugja be a nívópálcát a betöltőnyakba, majd húzza meg kézzel biztonságosan.



A motorleállító kar (Ábra 19) a lendkerékféket és a motor gyújtását vezérli.
A motor működtetéséhez húzza neki a kart a fogantyúnak.
A motor leállításához engedje el a kart a fogantyútól.
Az üzemanyag-elzáró szelep (Ábra 19) segítségével szabályozható az üzemanyag áramlása a motorhoz.
A gép szállítás, karbantartása vagy tárolása során az üzemanyag-elzáró szelep legyen zárva.
A motor működtetéséhez nyissa meg az üzemanyag-elzáró szelepet.
|
Modell |
Vágásszélesség |
A termék szélessége |
|---|---|---|
|
02616 |
457 mm |
574 mm |
A Toro által jóváhagyott tartozékok és adapterek széles választéka kapható a géphez, melyek javítják és bővítik annak képességeit. A jóváhagyott tartozékok és adapterek listájáért forduljon hivatalos márkaszervizhez, hivatalos Toro-forgalmazóhoz, vagy látogasson el a www.https://www.toro.com/en-GB webhelyre.
Az optimális teljesítmény és a gép folyamatos tanúsított biztonsága érdekében csak eredeti Toro-pótalkatrészeket és -tartozékokat használjon. A más által gyártott pótalkatrészek és tartozékok használata veszélyes lehet, emellett ez a garanciát is érvényteleníti.
Note: A gép jobb és bal oldalát a normál üzemeltetési helyzet alapján határozza meg.
Állítsa le a motort, vegye ki az indítókulcsot (ha van), és várja meg, amíg az összes mozgó alkatrész leáll, csak ezután hagyja el a kezelőülést. Hagyja lehűlni a gépet, mielőtt beállítási, szervizelési, tisztítási vagy tárolási munkába kezd rajta.
Ismerkedjen meg a berendezés biztonságos üzemeltetésével, a kezelőszervekkel és a biztonsági jelzésekkel.
Győződjön meg arról, hogy a védőburkolatok és ez egyéb védőelemek a helyükön vannak, és működőképesek.
Mindig ellenőrizze a gépet, hogy a vágótárcsa, a csavar, a távtartók és a rögzítő nem kopott és nem sérült-e.
Vizsgálja át a területet, ahol a gépet használni fogja, és távolítson el onnan minden olyan tárgyat, amely zavarhatja a munkát, vagy amelyet a gép kidobhat.
A vágási magasság állításakor kapcsolatba kerülhet a mozgó vágótárcsával, amely súlyos sérülést okozhat.
Cserélje ki a hibás kipufogódobot.
Az üzemanyag rendkívül gyúlékony és robbanásveszélyes. Az üzemanyag okozta tűz vagy robbanás megégetheti Önt vagy másokat, és anyagi károkat okozhat.
Annak megakadályozása érdekében, hogy a statikus feltöltődés begyújtsa az üzemanyagot, tankolás előtt a tartályt és/vagy a gépet közvetlenül a földre helyezze, ne járműre vagy tárgyra.
A tankolást és az üzemanyagtartály leürítését kültéren, nyílt területen végezze, amikor a motor hideg. Törölje fel a kiömlött üzemanyagot.
A tankolást kültéren, nyílt területen végezze, amikor a motor hideg. Törölje fel a kiömlött üzemanyagot.
Ne kezeljen üzemanyagot dohányzás közben vagy nyílt láng és szikrák közelében.
Járó vagy meleg motornál ne vegye le a tanksapkát, és ne tankoljon.
Ha az üzemanyag kiömlött, ne kísérelje meg beindítani a motort. Kerülje gyújtóforrás létrehozását, amíg az üzemanyag teljesen el nem párolgott.
Üzemanyagot csak jóváhagyott üzemanyagtartályban tároljon, gyerekek számára nem hozzáférhető helyen.
Tegye vissza a sapkát az üzemanyagtartályra és az összes üzemanyagtartóra biztonságosan.
Az üzemanyag lenyelése sérülést vagy halált okozhat. A gőzök belégzése hosszabb távon súlyos sérülést és megbetegedést okozhat.
Kerülje a gőzök hosszabb távú belégzését.
Tartsa távol arcát és kezeit a fúvókától és az üzemanyag-betöltő nyílástól.
Az üzemanyag szemtől és bőrtől távol tartandó.
| Típus | Ólommentes benzin |
| Minimális oktánszám | 87 (US) vagy 91 (kísérleti oktánszám; nem US) |
| Etanol | Legfeljebb 10 térfogatszázalék |
| Metanol | Nincs |
| MTBE (metil-tercier-butil-éter) | Kevesebb mint 15 térfogatszázalék |
| Olaj | Ne keverjen olajat az üzemanyaghoz. |
Csak tiszta, friss (30 napnál nem régebbi), megbízható forrásból származó üzemanyagot használjon.
Important: Az indítási problémák csökkentése érdekében töltsön a friss üzemanyaghoz stabilizátort/kondicionálót az üzemanyag-stabilizátor/-kondicionáló gyártójának utasításai szerint.
Note: További tudnivalókért lásd a motor kezelői kézikönyvét.
Tisztítsa meg a tanksapka körüli területet, majd vegye le a tanksapkát.
Töltse fel az üzemanyagtartályt a megadott üzemanyaggal a Ábra 20 szerint.

Szerelje fel a sapkát az üzemanyagtartályra.
Viseljen megfelelő öltözéket, beleértve a védőszemüveget, a hosszú szárú nadrágot, a megfelelő, csúszásgátló lábbelit és a hallásvédelmi eszközt is. Hosszú haját kösse hátra, és ne viseljen bő ruházatot vagy ékszert.
A gép használatát teljes odafigyeléssel végezze. Ne bonyolódjon olyan tevékenységbe, amely elvonhatja a figyelmét, különben személyi sérülés vagy anyagi kár lehet a következmény.
Ne üzemeltesse a gépet betegen, fáradtan, illetve alkohol vagy gyógyszer hatása alatt.
A motor beindítása előtt oldja a vágótárcsa és a meghajtás tengelykapcsolóját.
Indítsa be a motort az utasítások szerint, a lábát távol tartva a vágótárcsától.
Ne billentse fel a gépet a szükségesnél jobban a motor beindításához, és csak az Öntől távolabb eső részét emelje meg.
Állítsa le a motort, vegye ki az indítókulcsot (ha van), és várja meg, amíg az összes mozgó alkatrész leáll, csak ezután hagyja el a kezelőülést. Hagyja lehűlni a gépet, mielőtt beállítási, szervizelési, tisztítási vagy tárolási munkába kezd rajta.
Amikor elengedi a motorleállító kart, mind a motornak, mind a vágótárcsának 3 másodpercen belül le kell állnia. Ha nem így történik, azonnal hagyja abba a gép használatát, és lépjen kapcsolatba egy hivatalos márkaszervizzel.
Tartsa távol a közelben tartózkodókat, különösen a gyerekeket és kisállatokat a működtetési területtől. Tartsa a kisgyerekeket a működtetési területen kívül, olyan felelős felnőtt felügyelete alatt, aki nem a gépet kezeli. Ha valaki a területre lép, állítsa le a gépet.
A gépet csak megfelelő időjárás és jó látási körülmények között használja. Ne használja a gépet, ha villámcsapás lehetősége áll fenn.
A nedves fű vagy levelek súlyos sérülést okozhatnak Önnek, ha megcsúszik rajtuk, és hozzáér a vágótárcsához. Amennyiben lehetséges, fűnyírást csak száraz körülmények között végezzen.
Különösen ügyeljen, amikor be nem látható kanyarokhoz, cserjékhez, fákhoz, vagy más olyan tárgyakhoz közelít, amelyek eltakarhatják a kilátást.
Ügyeljen a lyukakra, a keréknyomokra, a zökkenőkre, a kövekre és az egyéb rejtett tárgyakra. Egyenetlen terepen elveszítheti az egyensúlyát.
Ha a gép valamilyen tárgyba ütközik, vagy rázkódni kezd, azonnal állítsa le a motort, várja meg, amíg minden mozgó alkatrész megáll, vegye le a gyújtógyertyáról a gyertyapipát, majd vizsgálja át a gépet, hogy nem sérült-e meg. Az üzemeltetés folytatása előtt végezze el a szükséges javításokat.
Soha ne vegye fel vagy hordozza a gépet, amíg jár a motorja.
Ha járt a motor, forró lehet, és súlyos égési sérülést okozhat. Maradjon távol a forró motortól.
A motor kipufogógázai szén-monoxidot tartalmaznak, amely belélegezve halált okoz. Ne járassa a motort beltérben vagy zárt területen.
Csak a Toro által jóváhagyott tartozékokat vagy adaptereket alkalmazzon.
A lejtők jelentős szerepet játszanak a megcsúszásos balesetekben, amelyek súlyos sérülésekhez vagy halálhoz vezethetnek. A lejtőn történő biztonságos munkavégzésért Ön a felelős. A gép üzemeltetése bármilyen lejtőn különös óvatosságot igényel. Mielőtt a géppel lejtős területre hajtana, végezze el az alábbiakat:
Tekintse át és értelmezze a kézikönyvben található, lejtőre vonatkozó utasításokat.
Értékelje ki a napi helyszíni körülményeket, hogy meghatározza, a lejtő biztonságos-e a gép üzemeltetésére. Használja a józan eszét és ítélőképességét ezen értékelés során. A területen bekövetkező változások, például a nedvesség gyorsan befolyásolhatja a gép lejtőn történő használatát.
Álljon mindig biztosan a lábán, és tartsa szilárdan a fogantyúkat. Mindig sétálva, soha ne futva dolgozzon.
A lejtőkön mindig keresztirányban dolgozzon; soha ne felfelé és lefelé.
Gyakoroljon rendkívüli figyelmet a lejtőkön történő irányváltás közben.
Ne végezzen fűnyírást meredek lejtőkön.
Legyen rendkívül óvatos tolatás közben és akkor, amikor maga felé húzza a gépet.
Kerülje a fűnyírást nedves füvön. A bizonytalan egyensúlyi helyzet megcsúszással és eleséssel járó balesetet okozhat.
Távolítsa el vagy jelölje meg az akadályokat, például árkot, lyukakat, keréknyomot, kiemelkedéseket, köveket és egyéb rejtett veszélyeket. A magas fű akadályokat rejthet.
Fokozott körültekintéssel vágjon füvet átvágások, árkok vagy feltöltések közelében.
A gép használatakor mindig tartsa mindkét kezét a fogantyún.
Lejtős gyepet felülről nyírva, ha hosszabb kinyúlásra van szükség, használjon jóváhagyott meghosszabbított fogantyút.

A szelep kinyitásához fordítsa vízszintes helyzetbe az üzemanyag-elzáró szelep karját.
A szelep elzárásához fordítsa függőleges helyzetbe az üzemanyag-elzáró szelep karját.
Nyissa ki az üzemanyag-elzárószelepet; lásd: Üzemanyag-elzáró szelep.
Húzza a fogantyúhoz a motorleállító kart.

Helyezze lábát a fűnyíróasztalra, és billentse a gépet önmaga felé (Ábra 23).

A motorleállító kart tartva húzza meg a berántózsinór-fogantyút.
Note: Ha a gép néhány próbálkozás után nem indul be, lépjen kapcsolatba egy hivatalos márkaszervizzel vagy hivatalos Toro-forgalmazóval.
| Karbantartási időköz | Karbantartási intézkedés |
|---|---|
| Minden egyes használat előtt, vagy naponta |
|
A motor leállításához engedje el a motorleállító kart (Ábra 24).
Important: Amikor elengedi a motorleállító kart, mind a motornak, mind a vágótárcsának 3 másodpercen belül le kell állnia. Ha nem állnak le megfelelően, azonnal hagyja abba a gép használatát, és lépjen kapcsolatba egy hivatalos márkaszervizzel vagy hivatalos Toro-forgalmazóval.

Note: A fogantyú alsó, 103,4 cm magas helyzetében a lábütköző segítségével tartható meg a fogantyú függőleges helyzetben.

A fogantyú kioldásához hajtsa fel a fogantyút, és fordítsa előre a lábütközőt (Ábra 25).
A fogantyú megtámasztásához állítsa a megfelelő helyzetbe a fogantyút, és fordítsa hátra a lábütközőt.
| Karbantartási időköz | Karbantartási intézkedés |
|---|---|
| Évente |
|
A vágószál cseréje során minden esetben vizsgálja meg a vágótárcsaegységet. Ha a vágótárcsaegység megsérült vagy elrepedt, azonnal cserélje ki.
Távolítsa el a vágótárcsát, lásd: A vágótárcsa eltávolítása.
Cserélje ki a meglévő vágószálakat 2 azonos hosszúságú új vágószálra a Ábra 26 szerint.

Szerelje fel a vágótárcsát, lásd: A vágótárcsa felszerelése.
A vágásmagasság állításakor kapcsolatba kerülhet a mozgó vágótárcsával, amely súlyos sérülést okozhat.
Állítsa le a motort, és várja meg, míg leállnak a mozgó alkatrészek.
Viseljen védőkesztyűt a vágótárcsa kezelésekor.
Ha járt a motor, a kipufogódob forró, ami súlyos égési sérülést okozhat.
Maradjon távol a forró kipufogódobtól.
A vágásmagasság beállítása során minden esetben vizsgálja meg a vágótárcsaegységet. Ha a vágótárcsaegység megsérült vagy elrepedt, azonnal cserélje ki.
Távolítsa el a vágótárcsát, lásd: A vágótárcsa eltávolítása.
A vágásmagasság beállítása a távtartók áthelyezésével történik a Ábra 27 szerint.
Note: Minden távtartó áthelyezése 6,3 mm-rel változtat a vágásmagasságon.

Szerelje fel a vágótárcsát, lásd: A vágótárcsa felszerelése.
A vágótárcsa eltávolítása során minden esetben vizsgálja meg a vágótárcsaegységet. Ha a vágótárcsaegység megsérült vagy elrepedt, azonnal cserélje ki.
Zárja el az üzemanyag-elzárószelepet; lásd Üzemanyag-elzáró szelep.
Vegye le a gyújtógyertyáról a gyertyapipát.
Döntse oldalra a gépet úgy, hogy a nívópálca lefelé nézzen.
Important: A gép oldalra billentésekor a nívópálca nézzen lefelé. Ha a gépet más irányba dönti, az olaj feltöltődhet a vezérműrendszerbe, és a visszafolyás legalább 30 percig tart.

Jegyezze fel a távtartók helyzetét.

A géphez mellékelt kulcs segítségével a csavart az óramutató járásával ellentétesen elforgatva távolítsa el a vágótárcsát (Ábra 29), megőrizve minden kötőelemet.
Important: A vágótárcsa leszerelésekor viseljen védőszemüveget és védőkesztyűt.
Important: A vágótárcsaegység megfelelő felszereléséhez nyomatékkulcs szükséges. Ha nem rendelkezik nyomatékkulccsal, vagy nem szívesen végezné el ezt a műveletet, forduljon hivatalos Toro-forgalmazóhoz vagy márkakereskedéshez.
Szerelje fel a rögzítőt, a vágótárcsát, a távtartókat és a kúpos távtartót a csavarral (Ábra 30).
Important: A kúpos távtartót mindig közvetlenül a járókerék alá, a rögzítőelemet pedig a csavarfej alá helyezze el.

Húzza meg a csavart 25 N·m nyomatékkal.
Note: A 25 N m nyomatékkal meghúzott csavar nagyon szoros. A járókereket megtartva nehezedjen rá a nyomatékkulcsra, és húzza meg így a csavart.
Billentse vissza a gépet, tegye vissza a gyertyapipát a gyújtógyertyára, és nyissa meg az üzemanyag-elzáró szelepet.
A gép kezelhetőségének javítása érdekében akassza be a lábütköző alját a felütköző konzol alá.

Vizsgálja meg a területet, ahol a gépet használni fogja, és távolítson el minden olyan tárgyat, amelyet a gép feldobhat.
Kerülje el, hogy a vágószál szilárd tárgyakba ütközzön. Szándékosan soha ne nyírjon tárgyak felett.
Ha a gép valamilyen tárgyba ütközik, vagy rázkódni kezd, azonnal állítsa le a motort, kösse le a gyújtógyertyáról a kábelét, és vizsgálja át a gépet, nem sérült-e meg.
A legjobb teljesítmény eléréséhez szereljen be új vágószálakat az idény kezdete előtt.
Ha cserélni kell a vágószálat, használjon Toro-vágószálat a cseréhez.
Győződjön meg arról, hogy a tartalék vágószál hossza megegyezik a sértetlen vágószáléval.
Egyszerre a fűszálaknak csak mintegy harmadrészét vágja le. Ne vágjon a legfelső (30 mm-es) beállítás alatt, hacsak nem gyér a fű, vagy késő ősszel, amikor lelassul a fű növekedése; lásd: A vágási magasság állítása.
Ne kezdjen bele 15 cm-nél hosszabb fű nyírásába, mert a gép eltömődhet, vagy a motor lefulladhat.
A nedves fű és levelek hajlamosak összetapadni az udvaron, és a gép eltömődését vagy a motor leállását okozhatják. Amennyiben lehetséges, fűnyírást csak száraz körülmények között végezzen.
A nedves fű vagy levelek súlyos sérülést okozhatnak Önnek, ha megcsúszik, és hozzáér a vágószálhoz.
Amennyiben lehetséges, fűnyírást csak száraz körülmények között végezzen.
Vegye figyelembe a rendkívül száraz időjárás esetén fennálló potenciális tűzveszélyt, kövesse a helyi tűzvédelmi figyelmeztetéseket, és tartsa tisztán a gépet a száraz fűtől és törmelékektől.
Ha nem kielégítő a kész pázsit megjelenése, próbáljon ki egyet vagy akár többet a következő javaslatok közül:
Vizsgálja meg a vágóegységet, és/vagy cserélje ki a vágószálat.
Fűnyírás közben haladjon lassabb ütemben.
Növelje gépén a vágási magasságot.
Nyírja gyakrabban a füvet.
Alkalmazzon átfedést a rendek között, ahelyett, hogy külön minden soron teljes szélességű rendet nyírna.
A pázsit nyírását követően győződjön meg arról, hogy a fű fele kilátszik a levágott levéllepel alól. Lehetséges, hogy egynél többször kell áthaladnia egy soron a levelek felett.
15 cm-nél hosszabb fű nyírását nem javasoljuk. Ha a levéltakaró túl vastag, a gép eltömődhet, és a motor lefulladhat.
Ha a gép nem vágja elég finomra a leveleket, csökkentse a nyírás sebességét.
Állítsa le a motort, vegye ki az indítókulcsot (ha van), és várja meg, amíg az összes mozgó alkatrész leáll, csak ezután hagyja el a kezelőülést. Hagyja lehűlni a gépet, mielőtt beállítási, szervizelési, tisztítási vagy tárolási munkába kezd rajta.
A tűzesetek megelőzése érdekében tisztítsa meg a gépet a fűtől és a törmeléktől. Törölje fel a kiömlött olajat és az üzemanyagot.
Soha ne tárolja a gépet vagy az üzemanyagtartályt olyan helyen, ahol nyílt láng, szikra vagy őrláng fordul elő, mint például vízmelegítőkön vagy más berendezéseken.
Rögzítse a gépet.
Járjon el fokozott körültekintéssel a gép be- és kirakodásakor.
| Karbantartási időköz | Karbantartási intézkedés |
|---|---|
| Minden használat után |
|
A gép burkolata alól szilárd anyag repülhet ki.
Viseljen szemvédő eszközt.
Maradjon az üzemeltetési helyzetben (a fogantyú mögött).
Ne engedjen nézelődőket a területre.
Döntse oldalra a gépet úgy, hogy a nívópálca lefelé nézzen.
Important: A gép oldalra billentésekor a nívópálca nézzen lefelé. Ha a gépet más irányba dönti, az olaj feltöltődhet a vezérműrendszerbe, és a visszafolyás legalább 30 percig tart.
Kefével vagy sűrített levegővel távolítsa el a füvet és a törmeléket a kipufogó védőeleméről, a felső burkolatról és a nyíróasztal körüli területekről.
Tisztítsa meg a hűtési rendszert; távolítsa el a fűkaszálékot, törmeléket, vagy szennyeződést a motor hűtőbordáiról és az indítószerkezetről.
Note: Tisztítsa a hűtőrendszert gyakrabban, ha erősen szennyezett vagy sok szecskával járó körülmények között dolgozik.
Note: A gép jobb és bal oldalát a normál üzemeltetési helyzet alapján határozza meg.
| Karbantartási időköz | Karbantartási intézkedés |
|---|---|
| Az első 5 óra után |
|
| Minden egyes használat előtt, vagy naponta |
|
| Minden használat után |
|
| Minden 25 órában |
|
| Minden 100 órában |
|
| Évente |
|
Állítsa le a motort, vegye ki az indítókulcsot (ha van), és várja meg, amíg az összes mozgó alkatrész leáll, csak ezután hagyja el a kezelőülést. Hagyja lehűlni a gépet, mielőtt beállítási, szervizelési, tisztítási vagy tárolási munkába kezd rajta.
Vegye le a gyertyapipát a gyújtógyertyáról, mielőtt bármilyen karbantartási munkába kezdene.
A gép karbantartása során viseljen védőkesztyűt és védőszemüveget.
Rendszeresen vizsgálja meg a gépet, és cserélje ki a kopott vagy sérült alkatrészeket. Csak olyan vágóelemeket használjon, amelyek alkalmasak a gép üzemi fordulatszámával történő használatra.
Soha ne változtasson a biztonsági berendezéseken. Rendszeresen ellenőrizze megfelelő működésüket.
A gép felbillentése az üzemanyag szivárgását okozhatja. Az üzemanyag gyúlékony, robbanásveszélyes, és személyi sérülést okozhat. Járassa a gépet az üzemanyag kifogyásáig, vagy távolítsa el az üzemanyagot kézi szivattyúval (soha ne használjon leszívócsövet).
Tartsa az összes kötőelemet szorosra húzva, hogy biztos legyen a gép biztonságos üzemállapotában.
Ne változtassa meg a motor szabályozási beállítását, és ne pörgesse túl a motort.
Az optimális teljesítmény érdekében csak eredeti Toro-pótalkatrészeket és -tartozékokat használjon. A más által gyártott pótalkatrészek és tartozékok használata veszélyes lehet, emellett ez a garanciát is érvényteleníti.
A gép felbillentése az üzemanyag szivárgását okozhatja. Az üzemanyag gyúlékony, robbanásveszélyes, és személyi sérülést okozhat.
Járassa a gépet az üzemanyag kifogyásáig, vagy távolítsa el az üzemanyagot kézi szivattyúval, soha ne leszívócsővel.
Important: A gép oldalra billentésekor a nívópálca nézzen lefelé. Ha a gépet úgy dönti meg, hogy a nívópálcája felfelé néz, az olaj feltöltődhet a vezérműrendszerbe, és a visszafolyás legalább 30 percig tart.
Állítsa le a motort, és várja meg, míg leállnak a mozgó alkatrészek.
Helyezze a gépet sík felületre.
Vegye le a gyertyapipát a gyújtógyertyáról (Ábra 32).

Zárja el az üzemanyag-elzárószelepet; lásd Üzemanyag-elzáró szelep.
Important: Ha javítja a gépet, ürítse le előtte az üzemanyagtartályát.
A karbantartás elvégzését követően nyissa ki az üzemanyagszelepet, és tegye vissza a gyertyapipát.
| Karbantartási időköz | Karbantartási intézkedés |
|---|---|
| Évente |
|
Nyomja le a légszűrő tetején található biztosítófüleket (Ábra 33).

Távolítsa el a fedelet.
Távolítsa el a légszűrőbetétet (Ábra 33).
Vizsgálja meg a papír légszűrőt.
Ha a szűrőbetét károsodott, olajtól vagy benzintől nedves vagy nagyon koszos, cserélje ki.
Ha a szűrőbetét szennyezett, ütögesse több alkalommal kemény felülethez, vagy fúvassa át sűrített levegővel a gép felőli oldala felől kevesebb mint 2,07 bar nyomáson.
Note: A szűrőbetétből a szennyeződést ne keféléssel távolítsa el; a kefélés a szennyeződést a rostok közé erőlteti.
Távolítsa el a szennyeződést a légszűrőházból és a fedélről nedves törlőruhával. Ne törölje bele a port a szívócsatornába.
Helyezze vissza a szűrőbetétet a szűrőházba.
Szerelje helyére a fedelet.
API-besorolás: SJ vagy magasabb
Olajviszkozitás: 10W-30
| Karbantartási időköz | Karbantartási intézkedés |
|---|---|
| Minden egyes használat előtt, vagy naponta |
|
Készítse elő a gépet a karbantartáshoz; lásd: Felkészülés karbantartásra.
Vegye ki a nívópálcát a betöltőnyakból, és törölje le egy tiszta ronggyal.
Dugja be a nívópálcát a betöltőnyakba, majd húzza ki.
Important: Ne hajtsa be a nívópálcát a betöltőnyakba.
Ellenőrizze az olajszintet a nívópálcán.

Ha az olajszint a nívópálca alsó jelénél vagy annak közelében látható (Ábra 34), öntsön be lassan az előírt olajból a betöltőnyakon át (Ábra 35), és várjon 3 percet.

Törölje le tiszta ronggyal a nívópálcát, majd ismételje a 3–5. lépést, amíg a motorolaj szintje el nem éri a felső szintjelzést.
Dugja be a nívópálcát a betöltőnyakba, majd húzza meg kézzel biztonságosan.
| Karbantartási időköz | Karbantartási intézkedés |
|---|---|
| Az első 5 óra után |
|
| Minden 25 órában |
|
Ha a motor hideg, az olaj felmelegítéséhez járassa 1–2 percig.
Győződjön meg arról, hogy az üzemanyagtartály kevés üzemanyagot tartalmaz vagy üres, így nem szivárog az üzemanyag, ha a gépet az oldalára billenti.
Készítse elő a gépet a karbantartáshoz; lásd: Felkészülés karbantartásra.
Vegye ki a nívópálcát a betöltőnyakból, és törölje le egy tiszta ronggyal.
Igazítsa a felfogóedényt a nyíróasztal mellé a talajra, az olajbetöltő nyak felőli oldalra (Ábra 35).

Billentse a gépet az oldalára úgy, hogy az olajbetöltő nyak lefelé nézzen, és eressze le a fáradt olajat az olajbetöltő nyakon át.
Important: A gép oldalra billentésekor a nívópálca nézzen lefelé. Ha a gépet más irányba dönti, az olaj feltöltődhet a vezérműrendszerbe, és a visszafolyás legalább 30 percig tart.
Állítsa vissza a gépet az üzemi helyzetébe.
Tisztítsa le a kifolyt olajat a gépről.
Note: A fáradt olaj ártalmatlanítását megfelelő módon végezze egy helyi újrahasznosító központban.
Olajmennyiség: 0,40 l
Öntse be lassan az előírt olajat a betöltőnyakon át (Ábra 35), és várjon 3 percet.

Dugja be a nívópálcát a betöltőnyakba, majd húzza ki.
Important: Ne hajtsa be a nívópálcát a betöltőnyakba.
Ellenőrizze az olajszintet a nívópálcán (Ábra 38).
Note: Ha a motort esetleg túltöltötte olajjal, ürítse le a felesleges olajat, lásd A motorolaj leürítése.

Ha az olajszint a felső szintjelzés alatt látható, törölje le a nívópálcát egy tiszta ronggyal, majd ismételje a 1–3. lépést, amíg az olajszint a felső szintjelzéshez nem kerül.
Dugja be a nívópálcát a betöltőnyakba, majd húzza meg kézzel biztonságosan.
| Karbantartási időköz | Karbantartási intézkedés |
|---|---|
| Minden 100 órában |
|
A gyújtógyertya adatai: Champion RN9YC vagy ezzel egyenértékű.
Készítse elő a gépet a karbantartáshoz; lásd: Felkészülés karbantartásra.
Tisztítsa körbe a gyújtógyertyát.
Szerelje ki a gyújtógyertyát a hengerfejből.
Important: Cserélje ki a kopott, sérült vagy elszennyeződött gyújtógyertyát. Az elektródákat ne tisztítsa, mert a hengerbe bejutó szemcsék a motort károsíthatják.
Állítsa be a középső elektróda és az oldalsó elektróda közti légrést (Ábra 39) 0,76 mm-re.

Szerelje be a gyújtógyertyát a tömítőgyűrűvel együtt.
Húzza meg a gyertyát 20 N m nyomatékkal.
Csatlakoztassa a gyertyapipát a gyújtógyertyára.
Állítsa le a motort, vegye ki az indítókulcsot (ha van), és várja meg, amíg az összes mozgó alkatrész leáll, csak ezután hagyja el a kezelőülést. Hagyja lehűlni a gépet, mielőtt beállítási, szervizelési, tisztítási vagy tárolási munkába kezd rajta.
Zárt térben való tárolás előtt mindig hagyja a gépet lehűlni.
Zárt térben való tárolás előtt mindig hagyja a gépet lehűlni.
Soha ne tárolja a gépet vagy az üzemanyagtartályt olyan helyen, ahol nyílt láng, szikra vagy őrláng fordul elő, mint például vízmelegítőkön vagy más berendezéseken.
Távolítsa le a füvet, a leveleket és a törmeléket a tűzveszély megelőzése érdekében a hangtompítóról és a motortérből.
Az üzemanyag gőzei robbanást okozhatnak.
Ne tároljon üzemanyagot 30 napnál tovább.
Ne tárolja a gépet nyílt láng közelében.
Tárolás előtt hagyja a gépet lehűlni.
Az év utolsó tankolásakor adjon az üzemanyaghoz stabilizálót a motorgyártó utasításainak megfelelően.
Járassa addig a gépet, amíg az üzemanyag elfogyasztása miatt a motor le nem áll.
Indítsa be a motort, és hagyja járni, amíg le nem áll. Ha már nem képes újraindítani a motort, akkor az üzemanyagrendszer kiürült.
Vegye le a gyújtógyertyáról a gyertyapipát.
Szerelje ki a gyújtógyertyát, töltsön be 30 ml olajat a gyújtógyertya furatán keresztül, és húzza meg a berántózsinórt lassan, több alkalommal, hogy eloszlassa az olajat a henger körül.
Szerelje be a gyújtógyertyát, és húzza meg 20 N m nyomatékkal.
Ellenőrizze a vágótárcsát kopás és sérülés szempontjából. Ha a vágótárcsa megsérült vagy a vágószál elkopott, cserélje ki.
Húzzon meg minden csavart és csavaranyát.
A gépet hűvös, tiszta, száraz helyen tárolja.
| Problem | Possible Cause | Corrective Action |
|---|---|---|
| A motor nem indul. |
|
|
| A motor nehezen indul, vagy veszít az erejéből. |
|
|
| A motor egyenetlenül jár. |
|
|
| A gép vagy a motor túlzottan remeg. |
|
|
| Egyenetlen a vágásminta. |
|
|