| Huoltoväli | Huoltotoimenpide |
|---|---|
| Aina ennen käyttöä tai päivittäin |
|
Tämä kone on tarkoitettu kaupalliseen ammattikäyttöön. Se on tarkoitettu nurmen hoitoon jyrkillä rinteillä ja kummuilla sekä vesistöjen ja hiekkaesteiden lähellä. Tuotteen käyttäminen muuhun kuin sen aiottuun käyttötarkoitukseen voi olla vaarallista käyttäjälle ja sivullisille.
Lue nämä tiedot huolellisesti, jotta opit käyttämään ja huoltamaan laitetta asianmukaisesti sekä välttämään tapaturmia ja tuotevaurioita. Olet itse vastuussa tuotteen asianmukaisesta ja turvallisesta käytöstä.
Osoitteessa www.https://www.toro.com/en-GB on lisätietoja, jos tarvitset esimerkiksi turvallisuuteen liittyviä vinkkejä, käyttökoulutukseen liittyviä materiaaleja, tietoja lisävarusteista tai lähimmästä jälleenmyyjästä tai jos haluat rekisteröidä tuotteesi.
Aina kun tarvitset huoltoa, alkuperäisiä Toro-varaosia tai lisätietoja, ota yhteys valtuutettuun huoltoliikkeeseen tai Toron asiakaspalveluun. Ota tällöin tuotteesi malli- ja sarjanumerot valmiiksi esiin. Kuva 1 osoittaa laitteen malli- ja sarjanumeron sijainnin. Kirjoita numerot annettuun tilaan.
Important: Skannaa sarjanumerokilvessä (jos varusteena) oleva QR-koodi mobiililaitteella, niin saat tuotetietoja sekä takuu- ja varaosatietoja.

Kirjoita tuotteen malli- ja sarjanumerot alla olevaan tilaan:
Tässä käyttöoppaassa esiintyvä varoitusmerkintä (Kuva 2) ilmaisee vaaratilannetta, josta saattaa olla seurauksena vakava tapaturma tai jopa kuolema, jos suositellut varotoimenpiteet laiminlyödään.

Tässä käyttöoppaassa käytetään kahta termiä tietojen korostamiseksi. Tärkeää kiinnittää huomiota mekaanisiin erikoistietoihin ja Huomautus korostaa erityishuomion ansaitsevia yleistietoja.
Tämä tuote on asiaankuuluvien eurooppalaisten direktiivien mukainen. Lisätietoja on erillisessä tuotekohtaisessa vaatimustenmukaisuusvakuutuksessa.
Brutto- tai nettovääntö: Moottorin valmistaja on mitannut tämän moottorin brutto- tai nettoväännön laboratoriossa SAE J1940:n tai J2723:n mukaisesti. Tämän luokan leikkurin moottorin todellinen vääntö on huomattavasti alhaisempi, koska se on säädetty turvallisuuteen, päästöihin ja käyttöön liittyvien vaatimusten mukaisesti. Tutustu koneen mukana toimitettuihin moottorin valmistajan tietoihin.
Important: Lue nämä ohjeet huolellisesti ennen koneen käyttöä ja säilytä ne myöhempää tarvetta varten.
Tämä tuote voi vahingoittaa käsiä ja jalkoja sekä singota esineitä. Noudata aina kaikkia turvallisuusohjeita, jotta vakavilta loukkaantumisilta vältytään.
Lue ja sisäistä tämän käyttöoppaan sisältö ennen moottorin käynnistämistä.
Älä laita käsiä tai jalkoja koneen liikkuvien osien lähelle.
Älä käytä konetta ilman paikallaan olevia ja asianmukaisesti toimivia suojuksia ja muita suojalaitteita.
Älä päästä sivullisia ja lapsia käyttöalueelle. Lapset eivät saa käyttää konetta. Anna vain vastuullisten, koulutettujen, ohjeisiin perehtyneiden ja fyysisesti konetta käyttämään kykenevien aikuisten käyttää konetta. Paikalliset säännökset saattavat asettaa rajoituksia käyttäjän iälle.
Sammuta moottori, irrota virta-avain (jos varusteena) ja odota, että kaikki liikkuvat osat pysähtyvät, ennen kuin poistut käyttäjän paikalta. Anna koneen jäähtyä ennen säätöä, huoltoa, puhdistusta tai varastointia.
Laitteen asiaton käyttö tai huolto voi aiheuttaa tapaturman.
Vähennä loukkaantumisriskiä noudattamalla näitä
turvallisuusohjeita ja huomioimalla aina varoitusmerkki
, joka tarkoittaa varoitusta,
vaaraa tai hengenvaaraa – henkilöturvallisuusohjeet. Ohjeiden
laiminlyönti saattaa johtaa henkilövahinkoon tai kuolemaan.
![]() |
Turva- ja ohjetarrat on sijoitettu hyvin näkyville paikoille mahdollisten vaara-alueiden lähettyville. Korvaa vioittuneet tai kadonneet tarrat uusilla. |




Vaiheeseen tarvittavat osat:
| Alempi kahva | 1 |
| Jalkapysäytin | 1 |
| Pultti (6 × 35 mm) | 1 |
| Aluslaatta (6 mm) | 3 |
| Lukkomutteri (6 mm) | 1 |
Note: Jalkapysäytintä voi käyttää kahvan tukemiseen pystyasentoon vain, kun kahva asennetaan ala-asentoon 103,4 cm:iin.

Määritä kahvan korkeus, kun jalkapysäytin on asennettu ylärajoittimen kannattimeen (Kuva 3).
Kohdista jalkapysäyttimen reikä alemman kahvan reikään (Kuva 4).

Asenna jalkapysäytin kahvaan pultilla (6 × 35 mm), kolmella aluslaatalla (6 mm) ja lukkomutterilla (6 mm).
Kiristä lukkomutteri ja pultti.
Note: Varmista, että voit kääntää jalkapysäytintä.
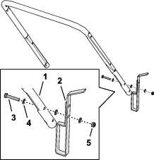
Vaiheeseen tarvittavat osat:
| T-holkit | 4 |
| Pultti (6 × 55 mm) | 2 |
| Aluslaatta (6 mm) | 6 |
| Lukkomutteri (6 mm) | 2 |
| Nuppi | 2 |
| U-pultti | 2 |
| Kahvan liitin | |
| Ylempi kahva | 1 |
| Pultti (¼ × 1-¾ tuumaa) | 1 |
| Lukkomutteri (¼ tuumaa) | 1 |
Asenna kaksi T-holkkia leikkuupöydän kahvan laippoihin (Kuva 5).

Kohdista kahvan jalkapysäytin leikkuupöydän ylärajoittimen kannattimeen (Kuva 6).

Kohdista kahvan reikä holkkien reikiin (Kuva 7) ja asenna kahva koneeseen pultilla (6 × 55 mm), kahdella aluslaatalla (6 mm) ja lukkomutterilla (6 mm).

Toista vaihe 3 koneen toisella puolella.
Kohdista ylemmän kahvan reiät alemman kahvan reikiin (Kuva 8).

Kiinnitä ylempi kahva alempaan kahvaan kahdella U-pultilla, kahdella aluslaatalla (6 mm) ja kahdella nupilla.
Aseta kaapelin suojuksen päässä oleva liitin kahvan liittimen ylempään liitäntään (Kuva 9).

Purista käyttäjän pitosangan jalkaa, kunnes se voidaan irrottaa ylemmästä kahvasta, ja irrota sanka koneesta (Kuva 10).

Aseta kaapelin liitin käyttäjän pitosangan kannattimen reiän läpi kuvan mukaisesti (Kuva 11).

Aseta käyttäjän pitosangan pää kahvaan, purista kevyesti sangan toista jalkaa ja työnnä sanka kahvaan (Kuva 13).

Kiinnitä kahvan liitin ylempään kahvaan (Kuva 14) pultilla (¼ × 1-¾ tuumaa) ja lukkomutterilla (¼ tuumaa).

Important: Laitteen moottorissa ei ole öljyä toimitettaessa. Lisää öljyä moottoriin ennen moottorin käynnistämistä.
API-huoltoluokitus: SJ tai korkeampi
Öljyn viskositeetti: 10W-30-öljy
Öljymäärä: 0,40 l
Siirrä laite tasaiselle alustalle.
Poista mittatikku öljyn täyttökaulasta ja pyyhi mittatikku puhtaalla liinalla (Kuva 14).

Lisää määritettyä moottoriöljyä hitaasti öljyn täyttökaulaan (Kuva 15) ja odota kolme minuuttia.

Työnnä mittatikku öljyn täyttökaulaan ja vedä se takaisin ulos.
Tarkista öljymäärä mittatikusta (Kuva 16).
Note: Jos lisäät öljyä liikaa, valuta ylimääräinen öljy pois. Katso kohta Moottoriöljyn tyhjennys.

Jos öljyn pinta on ylärajan alapuolella, pyyhi mittatikku puhtaalla liinalla ja toista vaiheet 3–5, kunnes moottoriöljyn pinta on ylärajamerkin tasalla.
Aseta mittatikku öljyn täyttökaulaan ja kiristä mittatikku käsin.



Käyttäjän pitosangalla (Kuva 19) ohjataan vauhtipyörän jarrua ja moottorin käynnistystä.
Käynnistä moottori puristamalla kahvan sankaa.
Sammuta moottori vapauttamalla kahvan sanka.
Ohjaa polttoaineen virtausta moottoriin polttoaineen sulkuventtiilin avulla (Kuva 19).
Sulje polttoaineen sulkuventtiili, kun kuljetat, huollat tai varastoit konetta.
Avaa polttoaineen sulkuventtiili, jotta moottori voidaan käynnistää.
|
Malli |
Leikkuuleveys |
Tuotteen leveys |
|---|---|---|
|
02616 |
457 mm |
574 mm |
Koneeseen on saatavana valikoima Toron hyväksymiä lisälaitteita ja -varusteita, joiden avulla voidaan parantaa ja laajentaa sen ominaisuuksia. Ota yhteys valtuutettuun huoltoliikkeeseen tai valtuutettuun Toro-jälleenmyyjään tai siirry osoitteeseen www.https://www.toro.com/en-GB, jossa on luettelo hyväksytyistä lisälaitteista ja -varusteista.
Käytä vain aitoja Toro-varaosia ja -lisävarusteita, jotta kone toimisi parhaalla mahdollisella tavalla ja sen turvasertifiointi pysyisi voimassa. Muiden valmistajien varaosat ja lisävarusteet voivat osoittautua vaarallisiksi, ja niiden käyttö voi johtaa tuotteen takuun raukeamiseen.
Note: Koneen vasen ja oikea puoli määritellään normaalista käyttöasennosta käsin.
Sammuta moottori, irrota virta-avain (jos varusteena) ja odota, että kaikki liikkuvat osat pysähtyvät, ennen kuin poistut käyttäjän paikalta. Anna koneen jäähtyä ennen säätöä, huoltoa, puhdistusta tai varastointia.
Tutustu laitteen turvallisen käytön ohjeisiin, ohjauslaitteisiin ja turvamerkintöihin.
Varmista, että kaikki suojukset ja turvalaitteet ovat paikoillaan ja että ne toimivat oikein.
Tarkasta aina, että leikkuukiekko, pultti, välikappaleet ja kiinnike eivät ole kuluneet tai vaurioituneet.
Tarkasta koneen käyttöalue ja poista siltä kaikki esineet, jotka voivat haitata koneen käyttöä tai joita kone voi singota.
Leikkuukorkeutta säädettäessä kädet ja jalat saattavat joutua kosketuksiin liikkuvan leikkuukiekon kanssa, mikä voi aiheuttaa vakavia vammoja.
Vaihda viallinen äänenvaimennin.
Polttoaine on hyvin tulenarkaa ja räjähdysherkkää.Polttoaineen aiheuttama tulipalo tai räjähdys voi aiheuttaa palovammoja ja omaisuusvahinkoja.
Aseta säiliö tai laite suoraan maahan ennen polttoaineen lisäystä. Älä aseta niitä ajoneuvoon tai minkään esineen päälle. Muutoin staattinen purkaus voi sytyttää polttoaineen.
Lisää tai tyhjennä polttoainetta polttoainesäiliöön ulkona avoimessa tilassa, kun moottori on jäähtynyt. Pyyhi läikkynyt polttoaine pois.
Täytä polttoainesäiliö ulkona avoimessa tilassa, kun moottori on jäähtynyt. Pyyhi läikkynyt polttoaine pois.
Älä käsittele polttoainetta tupakoidessasi tai avotulen tai kipinöiden lähellä.
Älä irrota polttoainesäiliön korkkia tai lisää polttoainetta säiliöön moottorin ollessa käynnissä tai kuuma.
Jos polttoainetta läikkyy, älä yritä käynnistä moottoria. Vältä luomasta kipinälähteitä, ennen kuin polttoainehöyryt ovat hälvenneet.
Polttoainetta tulee säilyttää hyväksytyssä polttoaineastiassa, joka tulee pitää poissa lasten ulottuvilta.
Asenna polttoainesäiliön korkki ja kaikki polttoaineastiat tiukasti paikoilleen.
Polttoaine on haitallista tai tappavaa nieltynä. Pitkäaikainen altistuminen höyryille voi aiheuttaa vakavan tapaturman ja sairauksia.
Vältä höyryjen hengittämistä.
Pidä kasvot ja kädet etäällä jakelupistoolista ja polttoainesäiliöstä.
Älä päästä polttoainetta silmiin tai iholle.
| Tyyppi | Lyijytön bensiini |
| Vähimmäisoktaaniluku | 87 (USA) tai 91 (tutkimusoktaani [RON]; Yhdysvaltojen ulkopuolella) |
| Etanoli | Enintään 10 % tilavuudesta |
| Metanoli | Ei mitään |
| MTBE (metyylitertiääributyylieetteri) | Alle 15 % tilavuudesta |
| Öljy | Älä lisää polttoaineeseen |
Käytä vain puhdasta ja uutta, korkeintaan 30 päivää vanhaa polttoainetta, joka on peräisin luotettavalta toimittajalta.
Important: Vähennä käynnistysongelmia lisäämällä uuteen polttoaineeseen stabilointi-/lisäainetta stabilointi-/lisäaineen valmistajan ohjeiden mukaisesti.
Note: Lisätietoja on moottorin käyttöoppaassa.
Puhdista polttoainesäiliön korkin ympäristö ja irrota korkki.
Täytä polttoainesäiliö määritetyllä polttoaineella kuvan mukaisesti (Kuva 20).

Asenna korkki polttoainesäiliöön.
Katso kohta Moottorin öljymäärän tarkistus.
Pukeudu asianmukaisesti. Käytä silmäsuojaimia, pitkälahkeisia housuja, tukevia liukastumisen estäviä kenkiä ja kuulosuojaimia. Sido pitkät hiukset. Älä käytä löysiä vaatteita tai riippuvia koruja.
Koneen käyttö vaatii käyttäjän täyden huomion. Jos käyttäjän huomio keskittyy muualle, saattaa seurata henkilö- tai omaisuusvahinko.
Älä käytä konetta sairaana, väsyneenä tai alkoholin tai huumaavien aineiden vaikutuksen alaisena.
Siirrä leikkuukiekko ja kaikki käyttölaitteiden kytkimet vapaalle ennen moottorin käynnistämistä.
Käynnistä moottori ohjeiden mukaan jalat kaukana leikkuukiekosta.
Kallista konetta vain sen verran kuin on välttämätöntä moottorin käynnistystä varten ja nosta vain sitä osaa, joka on sinusta poispäin.
Sammuta moottori, irrota virta-avain (jos varusteena) ja odota, että kaikki liikkuvat osat pysähtyvät, ennen kuin poistut käyttäjän paikalta. Anna koneen jäähtyä ennen säätöä, huoltoa, puhdistusta tai varastointia.
Kun vapautat käyttäjän pitokytkimen, moottori sammuu ja leikkuukiekko pysähtyy kolmen sekunnin kuluessa. Jos näin ei tapahdu, lopeta koneen käyttö välittömästi ja ota yhteys valtuutettuun huoltoliikkeeseen.
Älä päästä sivullisia ja erityisesti lapsia ja lemmikkejä käyttöalueelle. Pienten lasten on oltava konetta käyttämättömän aikuisen vastuuhenkilön valvonnassa ja pysyteltävä pois käyttöalueelta. Pysäytä kone, jos alueelle tulee ihmisiä.
Käytä laitetta vain, kun näkyvyys on hyvä ja kun sääolosuhteet ovat hyvät. Älä käytä konetta ukonilman aikana.
Kostea ruoho tai lehdet voivat aiheuttaa vakavan loukkaantumisen, jos liukastut ja kosketat leikkuukiekkoa. Vältä leikkaamasta ruohoa märissä olosuhteissa, jos mahdollista.
Ole erityisen varovainen lähestyessäsi kulmia, joissa on huono näkyvyys, pensaita, puita tai muita esteitä, jotka voivat haitata näkyvyyttä.
Varo kuoppia, uria, töyssyjä, kiviä ja muita piileviä vaaroja. Epätasainen maasto voi aiheuttaa tasapainon tai jalansijan menettämisen.
Jos laite törmää esteeseen tai alkaa täristä, sammuta moottori välittömästi, odota, kunnes kaikki liikkuvat osat ovat pysähtyneet, irrota sytytystulpan johto ja tarkasta laite vaurioiden varalta. Suorita tarvittavat korjaukset ennen koneen käytön jatkamista.
Älä nosta tai kanna laitetta moottorin ollessa käynnissä.
Jos moottori on juuri sammutettu, se on kuuma ja voi aiheuttaa vakavia palovammoja. Pysy etäällä kuumasta moottorista.
Moottorin pakokaasu sisältää häkää, joka on hengenvaarallinen hengitettäessä. Älä käytä moottoria sisällä tai suljetussa tilassa.
Käytä vain Toron hyväksymiä lisälaitteita ja -varusteita.
Rinteissä on huomattava koneen hallinnan menettämisen vaara, mikä voi aiheuttaa vakavan tapaturman tai kuoleman. Käyttäjä on vastuussa turvallisesta käytöstä rinteissä. Koneen käyttö rinteissä edellyttää erityistä huolellisuutta. Suorita seuraavat toimenpiteet ennen koneen käyttöä rinteessä:
Lue ja sisäistä käyttöoppaassa olevat rinnekäytön ohjeet.
Arvioi leikkuupaikan olosuhteet ja määritä niiden perusteella, onko rinne turvallinen koneen käyttöön. Tee arviointi huolellisesti ja harkiten. Maaston olosuhteiden muutokset, kuten kosteus, saattavat vaikuttaa nopeasti koneen toimintaan rinteessä.
Varmista, että pysyt pystyssä, ja pidä kahvoista kunnolla kiinni. Käytä laitetta kävellen, älä juokse.
Leikkaa rinteet poikittaissuunnassa, ei ylös ja alas.
Noudata erittäin suurta varovaisuutta vaihtaessasi suuntaa rinteillä.
Älä yritä leikata ruohoa jyrkissä rinteissä.
Ole erittäin varovainen vaihtaessasi suuntaa tai vetäessäsi konetta itseäsi kohti.
Vältä märän ruohon leikkuuta. Epävakaalla alustalla on helppo liukastua ja kaatua.
Poista tai merkitse esteet, kuten ojat, kuopat, urat, töyssyt, kivet tai muut piilevät vaarat. Korkea ruoho voi peittää esteet.
Ole varovainen leikatessasi ruohoa pudotusten, ojien tai vallien lähettyvillä.
Pidä koneen käytön aikana molemmat kädet kiinni kahvassa.
Kun leikkaat rinteen harjalta ja sinun tarvitsee ylettyä pidemmälle, käytä hyväksyttyä pidennettyä kahvaa.

Avaa venttiili kääntämällä polttoaineen sulkuventtiilin kahvaa vaaka-asentoon.
Sulje venttiili kääntämällä polttoaineen sulkuventtiilin kahvaa pystyasentoon.
Avaa polttoaineen sulkuventtiili. Katso kohta Polttoaineen sulkuventtiili.
Sulje käyttäjän pitosanka painamalla sitä kahvaa vasten.

Aseta jalka leikkuupöydälle ja kallista konetta itseäsi kohti (Kuva 23).

Vedä narukäynnistimen kahvaa pitäen samalla käyttäjän pitosankaa painettuna.
Note: Jos laite ei käynnisty usean yrityksen jälkeen, ota yhteys valtuutettuun huoltoliikkeeseen tai valtuutettuun Toro-jälleenmyyjään.
| Huoltoväli | Huoltotoimenpide |
|---|---|
| Aina ennen käyttöä tai päivittäin |
|
Sammuta moottori vapauttamalla käyttäjän pitosanka (Kuva 24).
Important: Kun vapautat käyttäjän pitosangan, moottori ja leikkuukiekko pysähtyvät kolmen sekunnin kuluessa. Jos ne eivät pysähdy, lopeta laitteen käyttö välittömästi ja ota yhteys valtuutettuun huoltoliikkeeseen tai valtuutettuun Toro-jälleenmyyjään.

Note: Jos asensit kahvan ala-asentoon 103,4 cm:iin, tue kahva pystyasentoon jalkapysäyttimellä.

Vapauta kahva nostamalla kahvaa ja kääntämällä jalkapysäytintä eteenpäin (Kuva 25).
Tue kahvaa asettamalla kahva ja kääntämällä jalkapysäytintä taaksepäin.
| Huoltoväli | Huoltotoimenpide |
|---|---|
| Vuosittain |
|
Tarkista leikkuukiekon kokoonpano aina, kun vaihdat leikkuusiiman. Jos leikkuukiekon kokoonpano on vaurioitunut, vaihda se heti.
Irrota leikkuukiekko. Katso kohta Leikkuukiekon irrotus.
Vaihda nykyiset leikkuusiimat kahteen uuteen samanpituiseen leikkuusiimaan kuvan mukaisesti (Kuva 26).

Asenna leikkuukiekko. Katso kohta Leikkuukiekon asennus.
Leikkuukorkeutta säädettäessä kädet ja jalat saattavat joutua kosketuksiin leikkuukiekon kanssa, mikä voi aiheuttaa vakavia vammoja.
Sammuta moottori ja odota, kunnes kaikki liikkuvat osat ovat pysähtyneet.
Käytä suojakäsineitä, kun käsittelet leikkuukiekkoa.
Jos moottori on juuri sammutettu, äänenvaimennin on kuuma ja voi aiheuttaa vakavia palovammoja.
Pysy etäällä kuumasta äänenvaimentimesta.
Tarkista leikkuukiekon kokoonpano aina, kun säädät leikkuukorkeutta. Jos leikkuukiekon kokoonpano on vaurioitunut, vaihda se heti.
Irrota leikkuukiekko. Katso kohta Leikkuukiekon irrotus.
Säädä leikkuukorkeutta vaihtamalla välikappaleiden sijoitusta kuvan mukaisesti (Kuva 27).
Note: Kukin välikappale muuttaa leikkuukorkeutta 6,3 mm.

Asenna leikkuukiekko. Katso kohta Leikkuukiekon asennus.
Tarkista leikkuukiekon kokoonpano aina, kun irrotat leikkuukiekon. Jos leikkuukiekon kokoonpano on vaurioitunut, vaihda se heti.
Sulje polttoaineen sulkuventtiili. Katso kohta Polttoaineen sulkuventtiili.
Irrota johto sytytystulpasta.
Kallista laite kyljelleen siten, että mittatikku osoittaa alaspäin.
Important: Kallista kone kyljelleen aina siten, että mittatikku osoittaa alaspäin. Jos konetta kallistaa toiseen suuntaan, venttiilikoneistoon saattaa valua öljyä, ja sen valuttaminen pois kestää vähintään 30 minuuttia.

Kirjaa ylös välikappaleiden sijainti.

Irrota leikkuukiekko kääntämällä pulttia vastapäivään koneen mukana toimitettavalla kiintoavaimella (Kuva 29). Säästä kaikki kiinnitystarvikkeet.
Important: Leikkuukiekon irrotuksen aikana on käytettävä suojalaseja ja viilloilta suojaavia käsineitä.
Important: Leikkuukiekon kokoonpanon asentamiseen tarvitaan momenttiavain. Jos sinulla ei ole momenttiavainta tai et halua suorittaa toimenpidettä itse, ota yhteys valtuutettuun huoltoliikkeeseen tai valtuutettuun Toro-jälleenmyyjään.
Asenna kiinnike, leikkuukiekko, välikappaleet ja kartiomainen välikappale siipipyörään pultilla (Kuva 30).
Important: Kiinnitä kartiomainen välikappale aina heti siipipyörän ja kiinnittimen alle ja kiinnike pultin pään alle.

Kiristä pultti momenttiin 25 N·m.
Note: 25 N·m:n momenttiin kiristetty pultti on erittäin tiukalla. Pidä siipipyörää paikoillaan, aseta painosi momenttiavaimen taakse ja kiristä pultti.
Kallista kone pystysuoraan, kytke sytytystulpan johto sytytystulppaan ja avaa polttoaineen sulkuventtiili.
Aseta jalkapysäyttimen lenkki ylärajoittimen alle koneen hallittavuuden lisäämiseksi.

Tarkasta laitteen käyttöalue ja poista siltä kaikki esineet, joita kone voi singota.
Älä iske leikkuusiimaa kiinteisiin esineisiin. Älä koskaan aja ruohonleikkurilla tahallasi minkään esteen yli.
Jos laite törmää esteeseen tai alkaa täristä, sammuta moottori välittömästi, irrota sytytystulpan johto ja tarkasta laite vaurioiden varalta.
Jotta ruohonleikkuri toimisi parhaalla mahdollisella tavalla, asenna uudet leikkuusiimat ennen leikkuukauden alkamista.
Vaihda leikkuusiima tarvittaessa Toro-leikkuusiimaan.
Varmista, että korvaava leikkuusiima on samanpituinen kuin ehjä leikkuusiima.
Leikkaa vain noin kolmasosa ruohon pituudesta kerrallaan. Älä leikkaa ruohoa 30 mm:n asetusta lyhyemmäksi, paitsi jos ruoho on harvaa tai on myöhäinen syksy, jolloin ruohon kasvu alkaa hidastua. Katso kohta Leikkuukorkeuden säätö.
Älä leikkaa yli 15 cm pitkää ruohoa, koska kone voi tukkeutua tai moottori pysähtyä.
Kostea ruoho ja lehdet paakkuuntuvat nurmikolle ja voivat tukkia laitteen tai pysäyttää moottorin. Leikkaa vain ruohon ollessa kuivaa, jos mahdollista.
Kostea ruoho tai lehdet voivat aiheuttaa vakavan loukkaantumisen, jos liukastut ja kosketat leikkuusiimaa.
Leikkaa vain ruohon ollessa kuivaa, jos mahdollista.
Huomioi palovaara erittäin kuivissa olosuhteissa, noudata kaikkia paikallisia palovaroituksia ja pidä laite puhtaana kuivasta ruohosta ja lehdistä.
Jos leikattu nurmikko ei näytä hyvältä, kokeile yhtä tai useampaa seuraavista toimenpiteistä:
Tarkasta leikkuuyksikkö ja/tai vaihda leikkuusiima.
Kävele hitaammin leikatessasi.
Nosta laitteen leikkuukorkeutta.
Leikkaa ruoho useammin.
Kulje aina osaksi edellisen leikkuukaistan päällä; älä leikkaa kokonaan uutta kaistaa.
Kun nurmikko on leikattu, tarkista, että puolet ruohosta näkyy lehtikerroksen läpi. Joudut ehkä leikkaamaan lehdet vielä kerran tai useamminkin.
Yli 15 cm pituisen ruohon leikkuuta ei suositella. Jos lehtikerros on liian paksu, laite saattaa tukkeutua ja moottori pysähtyä.
Hidasta leikkuunopeutta, jos laite ei leikkaa lehtiä tarpeeksi hienoksi.
Sammuta moottori, irrota virta-avain (jos varusteena) ja odota, että kaikki liikkuvat osat pysähtyvät, ennen kuin poistut käyttäjän paikalta. Anna koneen jäähtyä ennen säätöä, huoltoa, puhdistusta tai varastointia.
Ehkäise tulipalovaara puhdistamalla kone ruohosta ja leikkuujätteistä. Puhdista öljy- ja polttoaineroiskeet.
Älä säilytä konetta tai polttoainesäiliötä tilassa, jossa on avotuli, kipinöitä tai varmistusliekki (esimerkiksi vedenlämmitin tai muu vastaava laite).
Kiinnitä kone.
Ole varovainen lastatessasi ja purkaessasi konetta.
| Huoltoväli | Huoltotoimenpide |
|---|---|
| Jokaisen käytön jälkeen |
|
Leikkuujätettä saattaa irrota laitteen kotelon alta.
Käytä silmäsuojaimia.
Pysy käyttäjän paikalla (kahvan takana).
Älä päästä sivullisia alueelle.
Kallista laite kyljelleen siten, että mittatikku osoittaa alaspäin.
Important: Kallista kone kyljelleen aina siten, että mittatikku osoittaa alaspäin. Jos konetta kallistaa toiseen suuntaan, venttiilikoneistoon saattaa valua öljyä, ja sen valuttaminen pois kestää vähintään 30 minuuttia.
Poista ruoho ja roskat äänenvaimentimen suojuksesta, moottorin yläsuojuksesta ja ympäröivästä leikkuupöydästä harjan tai paineilman avulla.
Puhdista jäähdytysjärjestelmä; poista leikkuujätteet, roskat ja lika moottorin jäähdytysrivoista ja käynnistimestä.
Note: Puhdista jäähdytysjärjestelmä tavallista useammin likaisissa tai roskaisissa olosuhteissa.
Note: Koneen vasen ja oikea puoli määritellään normaalista käyttöasennosta käsin.
| Huoltoväli | Huoltotoimenpide |
|---|---|
| 5 ensimmäisen käyttötunnin jälkeen |
|
| Aina ennen käyttöä tai päivittäin |
|
| Jokaisen käytön jälkeen |
|
| 25 käyttötunnin välein |
|
| 100 käyttötunnin välein |
|
| Vuosittain |
|
Sammuta moottori, irrota virta-avain (jos varusteena) ja odota, että kaikki liikkuvat osat pysähtyvät, ennen kuin poistut käyttäjän paikalta. Anna koneen jäähtyä ennen säätöä, huoltoa, puhdistusta tai varastointia.
Irrota sytytystulpan johto sytytystulpasta ennen huoltotöiden suorittamista.
Käytä käsineitä ja silmäsuojaimia konetta huoltaessasi.
Tarkasta kone säännöllisesti ja vaihda kaikki kuluneet tai vaurioituneet osat. Käytä vain leikkuuelementtejä, jotka soveltuvat käytettäväksi koneen käyttönopeudella.
Älä koskaan peukaloi turvalaitteita. Tarkista säännöllisesti, että ne toimivat asianmukaisesti.
Konetta kallistettaessa saattaa valua polttoainetta. Polttoaine on tulenarkaa ja räjähdysherkkää ja voi aiheuttaa henkilövahingon. Käytä moottoria, kunnes polttoaine loppuu, tai poista polttoaine käsipumpulla, älä koskaan lapolla.
Huolehdi, että kaikki kiinnitysosat ovat tiukasti kiinni, jotta laitetta on turvallista käyttää.
Älä muuta moottorin kierrosnopeuden säätimen asetuksia tai käytä moottoria ylikierroksilla.
Käytä vain Toro-alkuperäisvaraosia ja -lisävarusteita, jotta kone toimii parhaalla mahdollisella tavalla. Muiden valmistajien varaosat ja lisävarusteet voivat osoittautua vaarallisiksi, ja niiden käyttö voi johtaa tuotteen takuun raukeamiseen.
Konetta kallistettaessa saattaa valua polttoainetta. Polttoaine on tulenarkaa ja räjähdysherkkää ja voi aiheuttaa henkilövahingon.
Käytä moottoria, kunnes polttoaine loppuu, tai poista polttoaine käsipumpulla, älä koskaan lapolla.
Important: Kallista kone kyljelleen aina siten, että mittatikku osoittaa alaspäin. Jos konetta kallistetaan, kun mittatikku on ylhäällä, venttiilikoneistoon saattaa valua öljyä, ja sen valuttaminen pois kestää vähintään 30 minuuttia.
Sammuta moottori ja odota, kunnes kaikki liikkuvat osat ovat pysähtyneet.
Siirrä laite tasaiselle alustalle.
Irrota sytytystulpan johto sytytystulpasta (Kuva 32).

Sulje polttoaineen sulkuventtiili. Katso kohta Polttoaineen sulkuventtiili.
Important: Jos korjaat konetta, tyhjennä polttoainesäiliö.
Avaa polttoaineventtiili ja kytke sytytystulpan johto sytytystulppaan huoltotöiden jälkeen.
| Huoltoväli | Huoltotoimenpide |
|---|---|
| Vuosittain |
|
Paina ilmansuodattimen suojuksen päällä olevat salvat alas (Kuva 33).

Irrota suojus.
Irrota suodatinelementti (Kuva 33).
Tarkista paperinen ilmansuodatin.
Vaihda suodatin, jos se on vaurioitunut, öljyn tai polttoaineen kastelema tai erittäin likainen.
Jos suodatin on likainen, napauta sitä kovaa pintaa vasten useita kertoja tai puhalla paineilmaa (alle 2,07 bar) suodattimen moottorin puoleisen sivun läpi.
Note: Älä harjaa likaa irti suodattimesta, sillä harjaaminen työntää lian kuituihin.
Puhdista ilmansuodattimen kanta ja suojus kostealla liinalla. Älä pyyhi likaa ilmakanavaan.
Aseta suodatin suodattimen kantaan.
Asenna kansi.
API-huoltoluokitus: SJ tai korkeampi
Öljyn viskositeetti: 10W-30-öljy
| Huoltoväli | Huoltotoimenpide |
|---|---|
| Aina ennen käyttöä tai päivittäin |
|
Valmistele kone huoltoa varten. Katso Valmistelu huoltoa varten.
Poista mittatikku öljyn täyttökaulasta ja pyyhi mittatikku puhtaalla liinalla.
Työnnä mittatikku öljyn täyttökaulaan ja vedä se takaisin ulos.
Important: Älä kierrä mittatikkua täyttökaulaan.
Tarkista öljymäärä mittatikusta.

Jos öljymäärä on lähellä mittatikun alarajamerkkiä tai sen alla (Kuva 34), lisää määritettyä moottoriöljyä hitaasti öljyn täyttökaulaan (Kuva 35) ja odota kolme minuuttia.

Pyyhi mittatikku puhtaalla liinalla ja toista vaiheet 3–5, kunnes moottoriöljyn pinta on ylärajamerkin tasalla.
Aseta mittatikku öljyn täyttökaulaan ja kiristä mittatikku käsin.
| Huoltoväli | Huoltotoimenpide |
|---|---|
| 5 ensimmäisen käyttötunnin jälkeen |
|
| 25 käyttötunnin välein |
|
Jos moottori on kylmä, käytä sitä 1–2 minuutin ajan, jotta öljy lämpenee.
Varmista, että polttoainesäiliössä on vain vähän tai ei yhtään polttoainetta, jotta polttoainetta ei vuoda, kun laite kallistetaan kyljelleen.
Valmistele kone huoltoa varten. Katso Valmistelu huoltoa varten.
Poista mittatikku öljyn täyttökaulasta ja pyyhi mittatikku puhtaalla liinalla.
Aseta tyhjennysastia maahan leikkuupöydän viereen koneen öljyn täyttökaulan puolelle (Kuva 35).

Valuta öljy täyttökaulasta kallistamalla laite kyljelleen siten, että öljyn täyttökaula osoittaa alaspäin.
Important: Kallista kone kyljelleen aina siten, että mittatikku osoittaa alaspäin. Jos konetta kallistaa toiseen suuntaan, venttiilikoneistoon saattaa valua öljyä, ja sen valuttaminen pois kestää vähintään 30 minuuttia.
Palauta kone käyttöasentoon.
Puhdista läikkynyt öljy koneesta.
Note: Toimita käytetty öljy paikallisen jälleenkäsittelylaitoksen hävitettäväksi.
Öljymäärä: 0,40 l
Lisää määritettyä moottoriöljyä hitaasti öljyn täyttökaulaan (Kuva 35) ja odota kolme minuuttia.

Työnnä mittatikku öljyn täyttökaulaan ja vedä se takaisin ulos.
Important: Älä kierrä mittatikkua täyttökaulaan.
Tarkista öljymäärä mittatikusta (Kuva 38).
Note: Jos lisäät öljyä liikaa, valuta ylimääräinen öljy pois. Katso kohta Moottoriöljyn tyhjennys.

Jos öljyn pinta on ylärajan alapuolella, pyyhi mittatikku puhtaalla liinalla ja toista vaiheet 1–3, kunnes moottoriöljyn pinta on ylärajamerkin tasalla.
Aseta mittatikku öljyn täyttökaulaan ja kiristä mittatikku käsin.
| Huoltoväli | Huoltotoimenpide |
|---|---|
| 100 käyttötunnin välein |
|
Sytytystulpan tiedot: Champion RN9YC tai vastaava.
Valmistele kone huoltoa varten. Katso Valmistelu huoltoa varten.
Puhdista sytytystulpan ympäristö.
Irrota sytytystulppa sylinterinkannesta.
Important: Vaihda kulunut, vaurioitunut tai likainen sytytystulppa. Älä puhdista elektrodeja, koska niistä voi irrota sylinteriin karstaa, jolloin moottori voi vaurioitua.
Säädä keski- ja sivuelektrodien kärkiväliksi 0,76 mm (Kuva 39).

Asenna sytytystulppa ja tiiviste.
Kiristä sytytystulppa momenttiin 20 N·m.
Kytke johto sytytystulppaan.
Sammuta moottori, irrota virta-avain (jos varusteena) ja odota, että kaikki liikkuvat osat pysähtyvät, ennen kuin poistut käyttäjän paikalta. Anna koneen jäähtyä ennen säätöä, huoltoa, puhdistusta tai varastointia.
Anna moottorin jäähtyä, ennen kuin varastoit laitteen suljettuun tilaan.
Anna moottorin jäähtyä, ennen kuin varastoit laitteen suljettuun tilaan.
Älä säilytä konetta tai polttoainesäiliötä tilassa, jossa on avotuli, kipinöitä tai varmistusliekki (esimerkiksi vedenlämmitin tai muu vastaava laite).
Vähennä tulipalon vaaraa poistamalla ruoho, lehdet ja leikkuujäte äänenvaimentimesta ja moottoritilasta.
Polttoainehöyryt voivat räjähtää.
Älä säilytä polttoainetta yli 30 päivän ajan.
Älä varastoi laitetta suljettuun tilaan lähelle avotulta.
Anna moottorin jäähtyä ennen varastointia.
Lisää polttoaineeseen stabilointiainetta moottorin valmistajan ohjeiden mukaan vuoden viimeisellä polttoainesäiliön täyttökerralla.
Käytä laitetta, kunnes moottori sammuu polttoaineen loppumisen vuoksi.
Käynnistä moottori uudelleen ja anna sen käydä, kunnes se sammuu. Kun et enää saa moottoria käyntiin, polttoainejärjestelmä on tyhjä.
Irrota johto sytytystulpasta.
Irrota sytytystulppa, lisää 30 ml öljyä sytytystulpan aukkoon ja vedä narukäynnistimen kahvaa hitaasti useita kertoja, jotta öljy leviää kaikkialle sylinteriin.
Asenna sytytystulppa ja kiristä momenttiin 20 N·m.
Tarkista leikkuukiekko kulumisen ja vaurioiden varalta. Vaihda vaurioitunut leikkuukiekko tai kulunut leikkuusiima.
Kiristä kaikki mutterit, pultit ja ruuvit.
Varastoi laite viileään, puhtaaseen ja kuivaan paikkaan.
| Problem | Possible Cause | Corrective Action |
|---|---|---|
| Moottori ei käynnisty. |
|
|
| Moottori käynnistyy huonosti tai menettää tehoa. |
|
|
| Moottori käy epätasaisesti. |
|
|
| Laite tai moottori tärisee liikaa.. |
|
|
| Leikkuujälki on epätasaista.. |
|
|