| Vedligeholdelsesintervaller | Vedligeholdelsesprocedure |
|---|---|
| Hver anvendelse eller dagligt |
|
Denne maskine er beregnet til brug af ansatte, kommercielle operatører til vedligeholdelse af græs på skråninger, meget kuperet terræn, områder nær vand eller bunkerkanter. Brug af dette produkt til andre formål end det tiltænkte kan udsætte dig selv og omkringstående for fare.
Læs denne vejledning omhyggeligt, så du kan lære at betjene og vedligeholde produktet korrekt samt undgå person- og produktskade. Det er dit ansvar at betjene produktet korrekt og sikkert.
Besøg www.https://www.toro.com/en-GB for at få flere oplysninger, herunder sikkerhedstip, undervisningsmaterialer, oplysninger om tilbehør, hjælp til at finde en forhandler eller for at registrere dit produkt.
Når du har brug for service, originale Toro-dele eller yderligere oplysninger, bedes du kontakte en autoriseret serviceforhandler eller Toros kundeservice samt have produktets model- og serienummer parat. Figur 1 angiver, hvor model- og serienummeret er placeret på produktet. Skriv numrene, hvor der er gjort plads til dette.
Important: Du kan scanne QR-koden på serienummermærkaten (hvis udstyret hermed) med din mobilenhed for at få adgang til garanti, reservedele og andre produktoplysninger.

Skriv produktets model- og serienummer på linjerne herunder:
Denne vejledning advarer dig om mulige farer og giver dig særlige sikkerhedsoplysninger ved hjælp af advarselssymbolet (Figur 2), der angiver en fare, som kan forårsage alvorlig personskade eller død, hvis du ikke følger de anbefalede forholdsregler.

Denne betjeningsvejledning bruger to ord til at fremhæve oplysninger. Vigtigt henleder opmærksomheden på særlige mekaniske oplysninger, og Bemærk angiver generel information, som det er værd at lægge særligt mærke til.
Dette produkt overholder alle relevante EU-direktiver. Yderligere oplysninger fås på den separate produktspecifikke overensstemmelseserklæring.
Brutto- eller nettomotormoment: Denne maskines brutto- eller nettokraftmoment er fastsat af motorfabrikanten på et laboratorium i henhold til Society of Automotive Engineers (SAE) J1940 eller J2723. På grund af de ændringer, der er foretaget for at overholde diverse sikkerheds-, emissions- og driftskrav, vil motormomentet på denne plæneklippertype reelt være betydeligt lavere. Se de oplysninger fra motorproducenten, som følger med maskinen.
Important: Læs denne vejledning grundigt igennem, før maskinen tages i brug, og gem den til senere brug.
Dette produkt kan påføre hænder og fødder skader og udslynge genstande. Følg altid sikkerhedsanvisningerne for at undgå alvorlig personskade.
Læs og forstå indholdet i denne betjeningsvejledning, før du starter motoren.
Hold hænder og fødder væk fra bevægelige maskinkomponenter.
Betjen ikke maskinen, uden at alle afskærmninger og øvrige sikkerhedsanordninger sidder og fungerer korrekt på maskinen.
Hold omkringstående og børn væk fra arbejdsområdet. Lad aldrig børn betjene maskinen. Maskinen må kun betjenes af personer, som er ansvarsbevidste, uddannede, fortrolige med anvisningerne og fysisk i stand til det. Vær opmærksom på, at lokale forskrifter kan angive en mindstealder for operatøren.
Sluk for motoren, tag nøglen ud (hvis udstyret hermed), og vent, til al bevægelse standser, inden du forlader førersædet. Lad maskinen køle af inden justering, eftersyn og rengøring af maskinen, eller inden den stilles til opbevaring.
Forkert brug eller forkert vedligeholdelse af maskinen kan medføre
personskade. Operatøren skal altid følge sikkerhedsanvisningerne
og være opmærksom på advarselssymbolet
, der betyder Forsigtig,
Advarsel eller Fare – personlig sikkerhedsanvisning, for at
nedsætte risikoen for personskade. Hvis disse forskrifter ikke
følges, kan det medføre personskade eller død.
![]() |
Sikkerheds- og instruktionsmærkaterne kan nemt ses af operatøren, og er placeret tæt på potentielle risikoområder. Beskadigede eller bortkomne mærkater skal udskiftes. |




Dele, der skal bruges til dette trin:
| Nederste styrebøjle | 1 |
| Fodstopper | 1 |
| Bolt (6 x 35 mm) | 1 |
| Spændeskive (6 mm) | 3 |
| Låsemøtrik (6 mm) | 1 |
Note: Du kan kun bruge fodstopperen til at understøtte styrebøjlen i lodret position, når du samler styrebøjlen til at være i den lave position på 103,4 cm fra jorden.

Bestem styrebøjlens højde, når fodstopperen er fastgjort til stopklodsbeslaget (Figur 3).
Ret hullet i fodstopperen ind efter hullet i den nederste styrebøjle (Figur 4).

Monter fodstopperen på styrebøjlen med en bolt (6 x 35 mm), 3 spændeskiver (6 mm) og en låsemøtrik (6 mm).
Tilspænd låsemøtrikken og bolten.
Note: Sørg for, at du kan dreje fodstopperen.
Dele, der skal bruges til dette trin:
| T-bøsninger | 4 |
| Bolt (6 x 55 mm) | 2 |
| Spændeskive (6 mm) | 6 |
| Låsemøtrik (6 mm) | 2 |
| Knap | 2 |
| Bøjleskrue | 2 |
| Styrebøjlefitting | |
| Øverste styrebøjle | 1 |
| Bolt (¼" x 1¾") | 1 |
| Låsemøtrik (¼") | 1 |
Monter 2 T-bøsninger i styrebøjleflangerne, der sidder på plæneklipperskjoldet (Figur 5).

Ret styrebøjlens fodstopper ind efter stopklodsbeslaget på skjoldet (Figur 6).

Ret hullet i styrebøjlen ind efter hullerne i bøsningerne (Figur 7), og fastgør styrebøjlen til maskinen med en bolt (6 x 55 mm), 2 spændeskiver (6 mm) og en låsemøtrik (6 mm).

Gentag trin 3 på den anden side af maskinen.
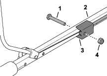
Ret hullerne på den øverste styrebøjle ind efter hullerne i den nederste styrebøjle (Figur 8).

Monter den øverste styrebøjle på den nederste styrebøjle med de 2 bøjleskruer, 2 spændeskiver (6 mm) og 2 greb.
Sæt fittingen for enden af kabelmantlen ind i den øverste fatning på styrebøjlefittingen (Figur 9).

Klem benet på dødemandsbøjlen, indtil du kan fjerne den fra den øverste styrebøjle, og fjern dødemandsbøjlen fra maskinen (Figur 10).

Før kabelfittingen gennem hullet i dødemandsbøjlens beslag som vist i Figur 11.

Sæt enden af dødemandsbøjlen ind i styrebøjlen, og klem let det andet ben på dødemandsbøjlen, så du kan sætte den i styrebøjlen (Figur 13).

Fastgør styrebøjlefittingen på den øverste styrebøjle (Figur 14) med bolten (¼" x 1¾") og låsemøtrikken (¼").

Important: Din maskine leveres ikke med motorolie påfyldt. Før motoren startes, skal der fyldes olie på motoren.
API-serviceklassifikation: SJ eller højere
Olieviskositet: 10 W-30-olie
Oliekapacitet: 0,40 liter
Parker maskinen på en plan overflade.
Fjern målepinden fra oliepåfyldningsstudsen, og tør målepinden af med en ren klud (Figur 14).

Hæld langsomt den angivne motorolie i oliepåfyldningsstudsen (Figur 15), og vent 3 minutter.

Stik målepinden ned i oliepåfyldningsstudsen, og tag den ud igen.
Kontroller oliestanden på målepinden (Figur 16).
Note: Hvis du fylder for meget olie på motoren, skal du fjerne den overskydende olie. Se Aftapning af motorolien.

Hvis oliestanden er under den øverste grænse, skal du tørre målepinden af med en ren klud og gentage trin 3 til 5, indtil motoroliestanden er ved det øverste grænsemærke.
Sæt målepinden i oliepåfyldningsstudsen, og skru den forsvarligt fast med hånden.



Dødemandsbøjlen (Figur 19) styrer svinghjulsbremsen og motorens tænding.
Klem dødemandsbøjlen mod styrebøjlen for at starte motoren.
Slip dødemandsbøjlen for at slukke motoren.
Brug brændstofafbryderventilen (Figur 19) til at styre brændstoftilførslen til motoren.
Luk brændstofafbryderventilen, når du transporterer eller vedligeholder maskinen eller stiller den til opbevaring.
Åbn brændstofafbryderventilen for at køre motoren.
|
Model |
Klippebredde |
Produktbredde |
|---|---|---|
|
02616 |
457 mm |
574 mm |
Der kan fås en række forskelligt Toro-godkendt redskaber og tilbehør til brug sammen med maskinen, som gør den bedre og mere alsidig. Kontakt en autoriseret serviceforhandler eller en autoriseret Toro-forhandler, eller gå ind på www.https://www.toro.com/en-GB for at få en liste over alt godkendt udstyr og tilbehør.
Brug kun originale Toro-reservedele og tilbehør for at sikre optimal ydelse og sikre, at maskinen fortsat overholder sikkerhedscertificeringen. Reservedele og tilbehør, der er fremstillet af andre producenter, kan være farlige, og brug heraf kan gøre garantien ugyldig.
Note: Maskinens venstre og højre side er som set fra den normale betjeningsposition.
Sluk for motoren, tag nøglen ud (hvis udstyret hermed), og vent, til al bevægelse standser, inden du forlader førersædet. Lad maskinen køle af inden justering, eftersyn og rengøring af maskinen, eller inden den stilles til opbevaring.
Bliv fortrolig med anvisningerne for sikker betjening af udstyret samt med betjeningsanordningerne og sikkerhedssymbolerne.
Kontroller, at alle afskærmninger og sikkerhedsanordninger er på plads og fungerer korrekt.
Efterse altid maskinen for at sikre, at skæreskiven, bolten, afstandsbøsningerne og holderen ikke er slidte eller beskadigede.
Efterse området, hvor maskinen skal bruges, og fjern alle objekter, som kan forstyrre betjeningen af maskinen, eller som maskinen kan risikere at udslynge.
Når du justerer klippehøjden, kan du komme i kontakt med den roterende skæreskive, hvilket kan medføre alvorlig personskade.
Udskift en defekt lydpotte.
Brændstof er meget brandfarligt og yderst eksplosivt.En brand eller eksplosion forårsaget af brændstof kan give dig eller omkringstående forbrændinger samt medføre tingsskade.
For at undgå at en statisk ladning antænder brændstoffet, skal beholderen og/eller maskinen placeres direkte på jorden, før de fyldes. De må ikke stå i et køretøj eller på andre genstande.
Fyld eller fjern brændstof i/fra tanken udendørs i et åbent område, når motoren er kold. Tør eventuelt spildt brændstof op.
Fyld tanken udendørs i et åbent område, når motoren er kold. Tør eventuelt spildt brændstof op.
Håndter ikke brændstof, mens du ryger eller i nærheden af åben ild eller gnister.
Fjern ikke brændstofdækslet, og fyld ikke brændstof på brændstoftanken, mens motoren kører eller er varm.
Hvis du spilder brændstof, må du ikke forsøge at starte motoren. Foretag dig ikke noget, der kan antænde brændstoffet, før dampene er spredt.
Opbevar brændstof i en godkendt beholder og utilgængeligt for børn.
Sæt dækslet på brændstoftanken og alle brændstofbeholdere sikkert på igen.
Brændstof er farligt og kan være dødbringende, hvis det indtages. Længere tids udsættelse for dampe kan forårsage alvorlige skader og sygdomme.
Undgå længere tids indånding af dampe.
Hold hænder og ansigt væk fra dysen og brændstoftankens åbning.
Undgå at få brændstof i øjnene eller på huden.
| Type | Blyfri benzin |
| Minimum oktantal | 87 (US) eller 91 (research-oktantal, uden for USA) |
| Ethanol | Højst 10 volumenprocent |
| Methanol | Ingen |
| MTBE (metyl-tertiær-butylæter) | Mindre end 15 volumenprocent |
| Olie | Fyld ikke i brændstoffet |
Brug kun ren, frisk (højst 30 dage gammelt) brændstof fra en kilde med godt omdømme.
Important: Tilsæt brændstofstabilisator til frisk brændstof som anvist af producenten af brændstofstabilisatoren for at reducere opstartsproblemer.
Note: Se betjeningsvejledningen til motoren for at få yderligere oplysninger.
Rengør området omkring brændstoftankens dæksel, og fjern dækslet fra tanken.
Fyld brændstoftanken med det angivne brændstof som vist i Figur 20.

Sæt dækslet på brændstoftanken.
Bær korrekt beklædning, herunder beskyttelsesbriller, lange bukser, skridsikkert, kraftigt fodtøj og høreværn. Sæt langt hår op, og bær ikke løstsiddende tøj eller smykker.
Betjening af maskinen kræver din fulde opmærksomhed. Betjen ikke maskinen samtidig med andre distraherende aktiviteter, da dette kan medføre personskade eller tingsskade.
Betjen ikke maskinen, hvis du er syg, træt eller påvirket af alkohol eller medicin.
Udkobl skæreskiven og alle drivkoblinger, inden du starter motoren.
Start motoren i overensstemmelse med anvisningerne og med dine fødder langt væk fra skæreskiven.
Vip ikke maskinen mere end nødvendigt for at starte motoren, og løft kun den del, der peger væk fra dig.
Sluk for motoren, tag nøglen ud (hvis udstyret hermed), og vent, til al bevægelse standser, inden du forlader førersædet. Lad maskinen køle af inden justering, eftersyn og rengøring af maskinen, eller inden den stilles til opbevaring.
Når du udløser dødemandsgrebet, stopper motoren, og skæreskiven bør standse inden for 3 sekunder. Hvis den ikke standser, bør du straks holde op med at bruge maskinen og kontakte en autoriseret serviceforhandler.
Hold omkringstående, især børn og kæledyr, væk fra arbejdsområdet. Hold små børn væk fra arbejdsområdet, og lad dem være under årvågen opsyn af en ansvarlig voksen, som ikke betjener maskinen. Stop maskinen, hvis nogen kommer ind på området.
Betjen kun maskinen i god sigtbarhed og gode vejrforhold. Betjen ikke maskinen, når der er risiko for lynnedslag.
Vådt græs eller blade kan forårsage alvorlig personskade, hvis du glider og kommer i berøring med skæreskiven. Undgå om muligt at klippe under våde forhold.
Vær ekstremt forsigtig, når du nærmer dig blinde hjørner, buske, træer eller andre genstande, der kan blokere dit udsyn.
Hold udkig efter huller, hjulspor, bump, sten eller andre skjulte genstande. Ujævnt terræn kan medføre, at du mister balance eller fodfæste.
Hvis maskinen rammer en genstand eller begynder at ryste, skal du straks slukke for motoren, vente, indtil alle bevægelige dele standser, og frakoble tændrørskablet fra tændrøret, før du efterser maskinen for skader. Foretag alle nødvendige reparationer, inden driften genoptages.
Saml aldrig maskinen op, og bær den ikke med motoren kørende.
Hvis motoren lige har kørt, vil den være varm og kan forårsage alvorlige forbrændinger. Hold afstand til den varme motor.
Motorudstødning indeholder kulilte, som er dødbringende ved indånding. Lad ikke motoren køre inden døre eller i et indelukket område.
Brug kun tilbehør og redskaber, der er godkendt af Toro.
Skråninger er en væsentlig årsag til, at operatøren mister herredømmet. Sådanne ulykker kan medføre alvorlige personskader, i værste tilfælde med døden til følge. Du er ansvarlig for sikker betjening på skråninger. Det kræver ekstra forsigtighed at betjene maskinen på alle former for skråninger. Før maskinen betjenes på en skråning, skal du gøre følgende:
Gennemgå og forstå anvisningerne, der vedrører skråninger, i vejledningen.
Evaluer forholdene på stedet på den pågældende dag for at fastslå, om skråningen er sikker at betjene maskinen på. Brug sund fornuft og god dømmekraft, når du foretager denne evaluering. Ændringer i terrænet, såsom fugt, kan hurtigt påvirke maskinens funktion på en skråning.
Sørg altid for at have ordentligt fodfæste, og hold godt fast i håndtagene. Gå – løb aldrig.
Trim på tværs af skråninger, aldrig op og ned.
Vær yderst forsigtig, når du skifter retning på skråninger.
Anvend ikke maskinen på stejle skrænter.
Udvis største forsigtighed, når du bakker eller trækker maskinen mod dig selv.
Undgå at klippe vådt græs. Dårligt fodfæste kan medføre en faldulykke.
Fjern eller afmærk forhindringer, såsom grøfter, huller, hjulspor, bump, sten eller andre skjulte farekilder. Højt græs kan skjule forhindringer.
Klip med forsigtighed i nærheden af bratte afsatser, grøfter eller volde.
Når du bruger maskinen, skal du altid have begge hænder på styrebøjlen.
Når du klipper fra toppen af en skråning, og du har brug for længere rækkevidde, skal du bruge en godkendt, forlænget styrebøjle.

Drej håndtaget på brændstofafbryderventilen til vandret position for at åbne ventilen.
Drej håndtaget på brændstofafbryderventilen til lodret position for at lukke ventilen.
Åbn brændstofafbryderventilen. Se Brændstofafbryderventil.
Luk dødemandsbøjlen mod styrebøjlen.

Placer din fod på skjoldet, og vip maskinen hen mod dig selv (Figur 23).

Træk i startsnorens greb, mens du holder i dødemandsbøjlen.
Note: Hvis maskinen ikke starter efter flere forsøg, bedes du kontakte en autoriseret serviceforhandler eller en autoriseret Toro-forhandler.
| Vedligeholdelsesintervaller | Vedligeholdelsesprocedure |
|---|---|
| Hver anvendelse eller dagligt |
|
Slip dødemandsbøjlen for at slukke motoren (Figur 24).
Important: Når du slipper dødemandsbøjlen, bør både motoren og skæreskiven standse inden for 3 sekunder. Hvis de ikke standser, som de skal, bør du straks holde op med at bruge maskinen og kontakte en autoriseret serviceforhandler eller en autoriseret Toro-forhandler.

Note: Hvis du samlede styrebøjlen til at være i den lave position på 103,4 cm over jorden, skal du bruge fodstopperen til at understøtte styrebøjlen i den lodrette position.

For at frigøre styrebøjlen skal du løfte styrebøjlen op og dreje fodstopperen fremad (Figur 25).
For at understøtte styrebøjlen skal du sætte styrebøjlen i den lodrette position og dreje fodstopperen bagud.
| Vedligeholdelsesintervaller | Vedligeholdelsesprocedure |
|---|---|
| Årlig |
|
Undersøg skæreskiveenheden, hver gang du udskifter klippelinen. Hvis skæreskiveenheden beskadiges, skal den øjeblikkeligt udskiftes.
Afmonter skæreskiven. Se Afmontering af skæreskiven.
Udskift de eksisterende klippeliner med 2 nye klippeliner i samme længde som vist i Figur 26.

Monter skæreskiven. Se Montering af skæreskiven.
Når du justerer klippehøjden, kan du komme i kontakt med skæreskiven, hvilket kan medføre alvorlig personskade.
Stop motoren, og vent, til alle bevægelige dele er standset.
Bær beskyttelseshandsker, når du håndterer skæreskiven.
Hvis motoren lige har kørt, er lydpotten meget varm, og den kan forårsage alvorlige forbrændinger.
Hold afstand til den varme lydpotte.
Undersøg skæreskiveenheden, hver gang du justerer klippehøjden. Hvis skæreskiveenheden beskadiges, skal den øjeblikkeligt udskiftes.
Afmonter skæreskiven. Se Afmontering af skæreskiven.
Skift afstandsbøsningernes placering for at justere klippehøjden som vist i (Figur 27).
Note: Hver afstandsbøsning ændrer klippehøjden med 6,3 mm.

Monter skæreskiven. Se Montering af skæreskiven.
Undersøg skæreskiveenheden, hver gang du afmonterer skæreskiven. Hvis skæreskiveenheden beskadiges, skal den øjeblikkeligt udskiftes.
Luk brændstofafbryderventilen. Se Brændstofafbryderventil.
Kobl tændrørskablet fra tændrøret.
Tip maskinen over på siden med målepinden nedad.
Important: Vip altid maskinen over på siden med målepinden rettet nedad. Hvis maskinen vippes i en anden retning, kan olien fylde ventilerne, som det vil tage mindst 30 minutter at dræne.

Registrer afstandsbøsningernes placering.

Brug den nøgle, der leveres sammen med maskinen, til at afmontere skæreskiven ved at dreje bolten mod uret (Figur 29), og gem alle fastgørelsesanordninger.
Important: Bær sikkerhedsbriller og skærefaste handsker, når du afmonterer skæreskiven.
Important: Du skal bruge en momentnøgle for at montere skæreskiveenheden korrekt. Hvis du ikke har en momentnøgle eller ikke føler dig tryg ved at udføre dette arbejde, kan du kontakte en autoriseret serviceforhandler eller en autoriseret Toro-forhandler.
Monter holderen, skæreskiven, afstandsbøsningerne og den kegleformede afstandsbøsning på rotoren ved hjælp af bolten (Figur 30).
Important: Monter altid den kegleformede afstandsbøsning lige under rotoren, og monter altid holderen under boltens hoved.

Tilspænd bolten med et moment på 25 Nm.
Note: En bolt, der er spændt til et moment på 25 Nm, sidder meget stramt. Mens du holder rotoren fast, skal du lægge al din vægt bag momentnøglen og spænde bolten.
Tip maskinen op i opretstående position, slut tændrørskablet til tændrøret, og åbn brændstofafbryderventilen.
Placer fodstopperens ring under stopklodsen for bedre håndtering af maskinen.

Efterse området, hvor maskinen skal bruges, og fjern alle objekter, som maskinen kan risikere at udslynge.
Undgå at ramme faste genstande med klippelinen. Klip aldrig med vilje hen over en genstand.
Hvis maskinen rammer en genstand eller begynder at ryste, skal du straks slukke motoren, frakoble tændrørskablet fra tændrøret og efterse maskinen for skader.
Monter nye klippeliner før klippesæsonens start for at opnå den bedst mulige ydeevne.
Udskift klippelinen med en ny Toro-klippeline efter behov.
Sørg for, at den nye klippeline har den samme længde som den intakte klippeline.
Klip kun ca. en tredjedel af græsstråets længde af ad gangen. Klip ikke under den højeste indstilling (30 mm), medmindre græsset er tyndt, eller det er sent på efteråret, og græsset er begyndt at vokse langsommere. Se Justering af klippehøjden.
Slå ikke græs, der er over 15 cm langt, da maskinen kan blive tilstoppet, eller motoren kan sætte ud.
Vådt græs og blade har en tendens til at klumpe sig sammen i haven og kan forårsage, at maskinen tilstoppes, eller at motoren sætter ud. Om muligt bør du kun benytte plæneklipperen under tørre forhold.
Vådt græs eller blade kan forårsage alvorlig personskade, hvis du glider og kommer i berøring med klippelinen.
Om muligt bør du kun benytte plæneklipperen under tørre forhold.
Vær opmærksom på den mulige brandfare, når det er meget tørt. Følg alle lokale brandadvarsler, og hold maskinen fri for tørt græs og bladaffald.
Hvis den færdigklippede plæne ikke ser tilfredsstillende ud, kan du forsøge en eller flere af følgende ting:
Efterse klippeenheden, og/eller udskift klippelinen.
Gå langsommere, når du slår græs.
Hæv klippehøjden på maskinen.
Slå græsset hyppigere.
Lad klippebanerne overlappe i stedet for at klippe en fuld bane for hver omgang.
Når du har klippet plænen, skal du sikre dig, at halvdelen af plænen kan ses gennem det øverste dække af findelte blade. Du er muligvis nødt til at køre hen over bladene mere end én gang.
Det anbefales ikke at klippe græs, der er over 15 cm lang. Hvis bladdækket er for tykt, kan maskinen blive tilstoppet og resultere i, at motoren sætter ud.
Sæt klippehastigheden ned, hvis maskinen ikke klipper bladene fint nok.
Sluk for motoren, tag nøglen ud (hvis udstyret hermed), og vent, til al bevægelse standser, inden du forlader førersædet. Lad maskinen køle af inden justering, eftersyn og rengøring af maskinen, eller inden den stilles til opbevaring.
Rengør græs og affald fra maskinen for at forhindre brand. Tør spildt olie eller brændstof op.
Opbevar aldrig maskinen eller brændstofbeholderen på steder, hvor der er åben ild, gnister eller vågeblus, som f.eks på en vandvarmer eller på andre apparater.
Sørg for at sikre maskinen.
Vær forsigtig ved lastning og aflastning af maskinen.
| Vedligeholdelsesintervaller | Vedligeholdelsesprocedure |
|---|---|
| Efter hver anvendelse |
|
Maskinen kan løsgøre materiale, der sidder fast under maskinens hus.
Bær beskyttelsesbriller.
Bliv altid i betjeningspositionen (bag håndtaget).
Lad ikke andre personer komme ind på klippeområdet.
Tip maskinen over på siden med målepinden nedad.
Important: Vip altid maskinen over på siden med målepinden rettet nedad. Hvis maskinen vippes i en anden retning, kan olien fylde ventilerne, som det vil tage mindst 30 minutter at dræne.
Brug en børste eller trykluft til at fjerne græs og snavs fra udstødningsværnet, overhætten og områderne omkring skjoldet.
Rengør kølesystemet. Fjern græsafklip, affald eller snavs fra motorens luftkøleribber og startmotoren.
Note: Rengør kølesystemet oftere under snavsede forhold, eller når der forefindes mange avner på arbejdsområdet.
Note: Maskinens venstre og højre side er som set fra den normale betjeningsposition.
| Vedligeholdelsesintervaller | Vedligeholdelsesprocedure |
|---|---|
| Efter de første 5 timer |
|
| Hver anvendelse eller dagligt |
|
| Efter hver anvendelse |
|
| For hver 25 timer |
|
| For hver 100 timer |
|
| Årlig |
|
Sluk for motoren, tag nøglen ud (hvis udstyret hermed), og vent, til al bevægelse standser, inden du forlader førersædet. Lad maskinen køle af inden justering, eftersyn og rengøring af maskinen, eller inden den stilles til opbevaring.
Kobl tændrørskablet fra tændrøret, før du udfører nogen form for vedligeholdelsesarbejde.
Bær handsker og beskyttelsesbriller ved vedligeholdelse og reparation af maskinen.
Undersøg jævnligt maskinen, og udskift alle slidte eller beskadigede dele. Brug kun de skæreelementer, der er egnede til brug ved maskinens driftshastighed.
Pil aldrig ved sikkerhedsanordningerne. Efterse regelmæssigt, at de fungerer korrekt.
Når du tipper maskinen, kan der løbe brændstof ud. Brændstof er brandfarligt og eksplosivt og kan forårsage personskade. Lad motoren køre tør, eller fjern brændstoffet med en håndpumpe. Tøm aldrig tanken med en hævert.
Hold alle fastgørelsesanordninger tilspændte for at sikre, at maskinen er i sikker driftsmæssig stand.
Lav ikke om på motorens regulatorindstilling, og kør ikke motoren ved for høj hastighed.
Brug kun originale Toro-reservedele og -tilbehør for at sikre optimal ydeevne fra maskinen. Reservedele og tilbehør, der er fremstillet af andre producenter, kan være farlige, og brug heraf kan gøre garantien ugyldig.
Når du tipper maskinen, kan der løbe brændstof ud. Brændstof er brandfarligt og eksplosivt og kan forårsage personskade.
Lad motoren køre tør, eller fjern brændstoffet med en håndpumpe. Tøm aldrig tanken med en hævert.
Important: Vip altid maskinen over på siden med målepinden rettet nedad. Hvis maskinen vippes i en anden retning, kan olien fylde ventilerne, som vil tage mindst 30 minutter at dræne.
Sluk motoren, og vent, til alle bevægelige dele er standset.
Parker maskinen på en plan overflade.
Kobl tændrørskablet fra tændrøret (Figur 32).

Luk brændstofafbryderventilen. Se Brændstofafbryderventil.
Important: Tøm brændstoftanken, hvis du reparerer maskinen.
Når du har udført vedligeholdelsesarbejdet, skal du åbne brændstofventilen igen og koble tændrørskablet til tændrøret.
| Vedligeholdelsesintervaller | Vedligeholdelsesprocedure |
|---|---|
| Årlig |
|
Tryk nedad på låsetapperne oven på luftfilterdækslet (Figur 33).

Fjern dækslet.
Fjern filterelementet (Figur 33).
Efterse papirluftfilteret.
Udskift filteret, hvis det er beskadiget, vædet med olie eller brændstof og meget snavset.
Hvis filteret er snavset, skal det bankes mod en hård overflade flere gange, eller der skal blæses trykluft med mindre end 2,07 bar gennem den side af filteret, som vender mod motoren.
Note: Børst ikke snavset af filteret, da børstning tvinger snavs ind i fibrene.
Rens luftfilterbasen og -dækslet med en fugtig klud. Tør ikke snavs ind i luftkanalen.
Sæt filteret i filterbasen.
Monter dækslet.
API-serviceklassifikation: SJ eller højere
Olieviskositet: 10 W-30-olie
| Vedligeholdelsesintervaller | Vedligeholdelsesprocedure |
|---|---|
| Hver anvendelse eller dagligt |
|
Gør maskinen klar til vedligeholdelsesarbejde. Se Klargøring til vedligeholdelsesarbejde.
Fjern målepinden fra oliepåfyldningsstudsen, og tør målepinden af med en ren klud.
Stik målepinden ned i oliepåfyldningsstudsen, og tag den ud igen.
Important: Undlad at skrue målepinden fast på påfyldningsstudsen.
Kontroller oliestanden på målepinden.

Hvis oliestanden er tæt på eller under det nederste grænsemærke på målepinden (Figur 34), skal du langsomt hælde den angivne motorolie i oliepåfyldningsstudsen (Figur 35) og vente 3 minutter.

Tør målepinden af med en ren klud, og gentag trin 3 til 5, indtil motoroliestanden er ved det øverste grænsemærke.
Sæt målepinden i oliepåfyldningsstudsen, og skru den forsvarligt fast med hånden.
| Vedligeholdelsesintervaller | Vedligeholdelsesprocedure |
|---|---|
| Efter de første 5 timer |
|
| For hver 25 timer |
|
Hvis motoren er kold, skal du køre den i 1-2 minutter for at opvarme olien.
Sørg for, at brændstoftanken kun indeholder lidt eller intet brændstof, så der ikke løber brændstof ud, når du vipper maskinen om på siden.
Gør maskinen klar til vedligeholdelsesarbejde. Se Klargøring til vedligeholdelsesarbejde.
Fjern målepinden fra oliepåfyldningsstudsen, og tør målepinden af med en ren klud.
Placer en dræningsbakke på jorden ved siden af klippeskjoldet og på den side af maskinen, hvor oliepåfyldningsstudsen er placeret (Figur 35).

Vip maskinen over på siden med oliepåfyldningsstudsen nedad, så olien kan løbe ud gennem påfyldningsstudsen.
Important: Vip altid maskinen over på siden med målepinden rettet nedad. Hvis maskinen vippes i en anden retning, kan olien fylde ventilerne, som det vil tage mindst 30 minutter at dræne.
Sæt maskinen tilbage i betjeningsposition.
Fjern spildt olie fra maskinen.
Note: Bortskaf den brugte olie på korrekt vis på et lokalt genbrugsanlæg.
Oliekapacitet: 0,40 liter
Hæld langsomt den angivne motorolie i oliepåfyldningsstudsen (Figur 35), og vent 3 minutter.

Stik målepinden ned i oliepåfyldningsstudsen, og tag den ud igen.
Important: Undlad at skrue målepinden fast på påfyldningsstudsen.
Kontroller oliestanden på målepinden (Figur 38).
Note: Hvis du fylder for meget olie på motoren, skal du fjerne den overskydende olie. Se Aftapning af motorolien.

Hvis oliestanden er under den øverste grænse, skal du tørre målepinden af med en ren klud og gentage trin 1 til 3, indtil motoroliestanden er ved det øverste grænsemærke.
Sæt målepinden i oliepåfyldningsstudsen, og skru den forsvarligt fast med hånden.
| Vedligeholdelsesintervaller | Vedligeholdelsesprocedure |
|---|---|
| For hver 100 timer |
|
Tændrørsspecifikation: Champion RN9YC eller tilsvarende.
Gør maskinen klar til vedligeholdelsesarbejde. Se Klargøring til vedligeholdelsesarbejde.
Rengør området rundt om tændrøret.
Fjern tændrøret fra topstykket.
Important: Udskift tændrøret, hvis det er slidt, beskadiget eller snavset. Rengør ikke elektroderne, da partikler, der kommer ind i cylinderen, kan forårsage motorskade.
Juster gnistgabet (Figur 39) mellem den midterste elektrode og sideelektroden til 0,76 mm.

Monter tændrøret og pakningen.
Tilspænd tændrøret med et moment på 20 Nm.
Sæt tændrørskablet på tændrøret.
Sluk for motoren, tag nøglen ud (hvis udstyret hermed), og vent, til alle bevægelige dele er standset, inden du forlader førersædet. Lad maskinen køle af inden justering, eftersyn og rengøring af maskinen, eller inden den stilles til opbevaring.
Lad motoren køle af, før du opbevarer maskinen på et lukket sted.
Lad motoren køle af, før du opbevarer maskinen på et lukket sted.
Opbevar aldrig maskinen eller brændstofbeholderen, hvor der er åben ild, gnister eller vågeblus som f.eks på en vandvarmer eller på andre apparater.
Fjern græs, blade og andet affald fra lydpotte- og motorrummet for at forhindre brand.
Brændstofdampe kan eksplodere.
Opbevar ikke brændstof i mere end 30 dage.
Opbevar ikke maskinen på et lukket sted i nærheden af åben ild.
Lad motoren køle af, før den stilles til opbevaring.
Tilsæt brændstofstabilisator til brændstoffet som foreskrevet af motorfabrikanten ved årets sidste påfyldning.
Lad maskinen køre, indtil motoren standser som følge af brændstofmangel.
Start motoren igen, og lad den køre, indtil den slukker. Når du ikke længere kan starte motoren, betyder det, at brændstofsystemet er tomt.
Kobl kablet fra tændrøret.
Fjern tændrøret, hæld 30 ml olie ned i tændrørshullet, og træk langsomt i startsnorens greb flere gange for at fordele olien i hele cylinderen.
Monter tændrøret, og tilspænd den til et moment på 20 Nm.
Efterse skæreskiven for slid og skader. Hvis skæreskiven er beskadiget, eller beskæringslinjen er slidt, skal den udskiftes.
Spænd alle møtrikker, bolte og skruer.
Opbevar maskinen på et køligt, rent og tørt sted.
| Problem | Possible Cause | Corrective Action |
|---|---|---|
| Motoren starter ikke. |
|
|
| Motoren er svær at starte eller mister kraft. |
|
|
| Motoren kører ujævnt. |
|
|
| Maskinen eller motoren ryster overdrevent. |
|
|
| Klippemønsteret er ujævnt. |
|
|