| Περιοδικότητα εργασιών συντήρησης | Διαδικασία συντήρησης |
|---|---|
| Πριν από κάθε χρήση ή καθημερινά |
|
Το παρόν μηχάνημα προορίζεται για χρήση από επαγγελματίες χειριστές σε εμπορικές εφαρμογές για τη συντήρηση χλοοτάπητα σε επικλινή εδάφη, εδάφη με έντονο κυματοειδές ανάγλυφο, περιοχές κοντά σε νερό ή παρυφές αμμοπαγίδων. Η χρήση αυτού του προϊόντος για άλλους σκοπούς πέραν του προβλεπόμενου ενδέχεται να ενέχει κινδύνους για εσάς και για τους διερχομένους.
Διαβάστε αυτές τις πληροφορίες προσεκτικά για να ενημερωθείτε για τη σωστή λειτουργία και συντήρηση του προϊόντος σας, καθώς και για την αποφυγή τραυματισμών και πρόκλησης ζημιών στο προϊόν. Είστε υπεύθυνοι για τη σωστή και ασφαλή λειτουργία του προϊόντος.
Επισκεφτείτε τη διεύθυνση www.https://www.toro.com/en-GB για περισσότερες πληροφορίες, όπως συμβουλές ασφαλείας ή εκπαιδευτικό υλικό, ή για να βρείτε τον πλησιέστερο αντιπρόσωπο και να καταχωρίσετε το προϊόν σας.
Για σέρβις, γνήσια ανταλλακτικά Toro ή πρόσθετες πληροφορίες μπορείτε να επικοινωνείτε με έναν εξουσιοδοτημένο αντιπρόσωπο σέρβις ή την Εξυπηρέτηση Πελατών της Toro αναφέροντας τον αριθμό μοντέλου και τον σειριακό αριθμό του προϊόντος σας. Στο Σχήμα 1 παρουσιάζεται η θέση στην οποία θα βρείτε την ετικέτα με το μοντέλο και τον σειριακό αριθμό του προϊόντος. ναγράψτε τους αριθμούς στο παρεχόμενο πεδίο.
Important: Με την κινητή σας συσκευή, μπορείτε να σαρώσετε τον κωδικό QR (αν υπάρχει) στην ετικέτα με τον σειριακό αριθμό σας για να δείτε πληροφορίες για την εγγύηση, τα ανταλλακτικά, καθώς και άλλες πληροφορίες για το προϊόν.

Γράψτε τον αριθμό μοντέλου και τον σειριακό αριθμό του προϊόντος στο παρακάτω πεδίο:
Στο παρόν εγχειρίδιο προσδιορίζονται οι πιθανοί κίνδυνοι και παρατίθενται μηνύματα ασφάλειας. Τα μηνύματα αυτά αναγνωρίζονται από το προειδοποιητικό σύμβολο (Σχήμα 2), το οποίο δηλώνει έναν κίνδυνο που ενδέχεται να προκαλέσει σοβαρό τραυματισμό ή θάνατο εάν δεν ληφθούν οι συνιστώμενες προφυλάξεις.

Στο παρόν εγχειρίδιο χρησιμοποιούνται οι εξής 2 λέξεις για την επισήμανση συγκεκριμένων πληροφοριών. Σημαντικό εφιστά την προσοχή σε σημαντικές πληροφορίες μηχανολογικού ενδιαφέροντος και Σημείωση υπογραμμίζει πληροφορίες γενικού ενδιαφέροντος που χρήζουν ιδιαίτερης προσοχής.
Το παρόν προϊόν είναι σε συμμόρφωση με όλες τις σχετικές Ευρωπαϊκές οδηγίες. Για λεπτομέρειες, ανατρέξτε στη Δήλωση Συμμόρφωσης κάθε προϊόντος.
Μικτή ή καθαρή ροπή: Η μικτή ή καθαρή ροπή του κινητήρα είναι εργαστηριακά διαβαθμισμένη από τον κατασκευαστή του κινητήρα σύμφωνα με το πρότυπο J1940 ή J2723 της μερικανικής Ένωσης Μηχανικών υτοκινήτων (Society of Automotive Engineers, SAE). Η πραγματική ροπή κινητήρα για αυτή την κατηγορία χλοοκοπτικών μηχανημάτων θα είναι σημαντικά χαμηλότερη, καθώς έχει προσαρμοστεί ώστε να πληροί τις απαιτήσεις ασφάλειας, εκπομπών και λειτουργίας. νατρέξτε στις πληροφορίες του κατασκευαστή του κινητήρα που παρέχονται με το μηχάνημα.
Important: Διαβάστε προσεκτικά αυτές τις οδηγίες πριν χρησιμοποιήσετε το μηχάνημα και φυλάξτε τες για να ανατρέχετε σε αυτές στο μέλλον.
υτό το προϊόν είναι ικανό να προκαλέσει τραυματισμούς άκρων και να εκτοξεύσει αντικείμενα. Να ακολουθείτε πάντοτε όλες τις οδηγίες ασφαλείας για να αποφύγετε σοβαρό τραυματισμό.
Διαβάστε και κατανοήστε το περιεχόμενο του παρόντος Εγχειριδίου Χειριστή πριν θέσετε τον κινητήρα σε λειτουργία.
Μην πλησιάζετε τα χέρια ή τα πόδια σας κοντά στα κινούμενα εξαρτήματα του μηχανήματος.
Μη θέτετε το μηχάνημα σε λειτουργία αν όλα τα προστατευτικά καλύμματα και οι άλλες προστατευτικές διατάξεις ασφαλείας δεν είναι στη θέση τους ή δεν λειτουργούν κανονικά.
Κρατήστε τους διερχομένους και τα παιδιά μακριά από τον χώρο λειτουργίας του μηχανήματος. Μην επιτρέπετε τον χειρισμό του μηχανήματος από παιδιά. Να επιτρέπετε τον χειρισμό του μηχανήματος μόνο από υπεύθυνα, εκπαιδευμένα άτομα που είναι εξοικειωμένα με τις οδηγίες και διαθέτουν την απαιτούμενη σωματική ικανότητα. άσει του εθνικού κανονιστικού πλαισίου ενδέχεται να τίθενται περιορισμοί όσον αφορά την ηλικία του χειριστή.
Σβήστε τον κινητήρα, αφαιρέστε το κλειδί (αν διατίθεται) και περιμένετε να ακινητοποιηθούν όλα τα κινούμενα μέρη προτού απομακρυνθείτε από τη θέση χειριστή. Πριν προβείτε σε ρύθμιση, σέρβις, καθαρισμό ή αποθήκευση του μηχανήματος, αφήστε το μηχάνημα να κρυώσει.
Η ακατάλληλη
χρήση ή συντήρηση
του μηχανήματος
μπορεί να οδηγήσει
σε τραυματισμό.
Για να μειώσετε
τις πιθανότητες
τραυματισμού, ακολουθείτε
τις παρούσες οδηγίες
για την ασφάλεια
και δίνετε πάντα
προσοχή στο προειδοποιητικό
σύμβολο
, το οποίο
συνοδεύει οδηγίες
για την προσωπική ασφάλεια
με τις ενδείξεις
Προσοχή, Προειδοποίηση
ή Κίνδυνος. Η μη
συμμόρφωση με αυτές
τις οδηγίες μπορεί
να προκαλέσει
σωματικές βλάβες
ή θάνατο.
![]() |
Οι ετικέτες προειδοποίησης και οδηγιών ασφάλειας είναι εύκολα αναγνώσιμες από τον χειριστή και βρίσκονται κοντά σε κάθε πηγή δυνητικού κινδύνου. ντικαθιστάτε τις τυχόν φθαρμένες ή αποκολλημένες ετικέτες. |




Εξαρτήματα που απαιτούνται για αυτή τη διαδικασία:
| Κάτω μέρος χειρολαβής | 1 |
| Στόπερ ποδιού | 1 |
| Μπουλόνι (6 x 35 mm) | 1 |
| Ροδέλα (6 mm) | 3 |
| σφαλιστικό παξιμάδι (6 mm) | 1 |
Note: Μπορείτε να χρησιμοποιείτε το στόπερ ποδιού για τη στερέωση της χειρολαβής στην κατακόρυφη θέση μόνο όταν συναρμολογείτε τη χειρολαβή στη χαμηλή θέση (103,4 cm).

Ρυθμίστε το ύψος της χειρολαβής όταν το στόπερ ποδιού είναι ασφαλισμένο στον βραχίονα του αναστολέα (Σχήμα 3).
Ευθυγραμμίστε την οπή του στόπερ ποδιού με την οπή του κάτω μέρους χειρολαβής (Σχήμα 4).

Συναρμολογήστε το στόπερ ποδιού στη χειρολαβή χρησιμοποιώντας ένα μπουλόνι (6 x 35 mm), 3 ροδέλες (6 mm) και ένα ασφαλιστικό παξιμάδι (6 mm).
Σφίξτε το ασφαλιστικό παξιμάδι και το μπουλόνι.
Note: εβαιωθείτε ότι το στόπερ ποδιού μπορεί να περιστραφεί γύρω από τον άξονά του.
Εξαρτήματα που απαιτούνται για αυτή τη διαδικασία:
| Δακτύλιος τύπου Τ | 4 |
| Μπουλόνι (6 x 55 mm) | 2 |
| Ροδέλα (6 mm) | 6 |
| σφαλιστικό παξιμάδι (6 mm) | 2 |
| Στρόφιγγα | 2 |
| ναβολέας | 2 |
| Εξάρτημα χειρολαβής | |
| Πάνω μέρος χειρολαβής | 1 |
| Μπουλόνι (¼" x 1¾") | 1 |
| σφαλιστικό παξιμάδι (¼") | 1 |
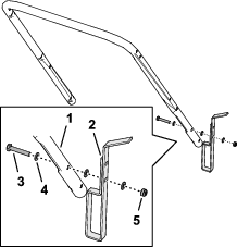
Συναρμολογήστε τους 2 δακτυλίους τύπου Τ στις φλάντζες στερέωσης της χειρολαβής στο δάπεδο του χλοοκοπτικού (Σχήμα 5).

Ευθυγραμμίστε το στόπερ ποδιού της χειρολαβής με τον βραχίονα του αναστολέα στο δάπεδο του χλοοκοπτικού (Σχήμα 6).

Ευθυγραμμίστε την οπή της χειρολαβής με τις οπές των δακτυλίων (Σχήμα 7) και στερεώστε τη χειρολαβή στο μηχάνημα χρησιμοποιώντας ένα μπουλόνι (6 x 55 mm), 2 ροδέλες (6 x 55 mm) και ένα ασφαλιστικό παξιμάδι (6 mm).

Επαναλάβετε το βήμα 3 στην άλλη πλευρά του μηχανήματος.
Ευθυγραμμίστε τις οπές του πάνω μέρους χειρολαβής με τις οπές του κάτω μέρους χειρολαβής (Σχήμα 8).

Συναρμολογήστε το πάνω μέρος χειρολαβής με το κάτω μέρος χειρολαβής χρησιμοποιώντας τους 2 αναβολείς, 2 ροδέλες (6 mm) και 2 στρόφιγγες.
Τοποθετήστε τον σύνδεσμο που βρίσκεται στην απόληξη της επένδυσης του καλωδίου στο εσωτερικό του εξαρτήματος χειρολαβής, στην πάνω υποδοχή (Σχήμα 9).

Συμπιέστε το ένα σκέλος της ράβδου ελέγχου παρουσίας χειριστή όσο χρειάζεται για να την αποσπάσετε από το πάνω μέρος χειρολαβής, και αφαιρέστε τη ράβδο από το μηχάνημα (Σχήμα 10).

Περάστε το ακραίο εξάρτημα του καλωδίου μέσα από το εξάρτημα στερέωσης της ράβδου ελέγχου παρουσίας χειριστή, όπως φαίνεται στο Σχήμα 11.

Εισάγετε το άκρο της ράβδου ελέγχου παρουσίας χειριστή στη χειρολαβή και συμπιέστε ελαφρά το άλλο σκέλος της ράβδου ώστε η ράβδος να εισέλθει στη χειρολαβή (Σχήμα 13).

Στερεώστε το εξάρτημα χειρολαβής στο πάνω μέρος χειρολαβής (Σχήμα 14) με το μπουλόνι (¼" x 1¾") και το ασφαλιστικό παξιμάδι (¼").

Important: Το μηχάνημα δεν είναι εφοδιασμένο με λάδι κινητήρα. Προτού θέσετε τον κινητήρα σε λειτουργία, προσθέστε λάδι στον κινητήρα.
Ταξινόμηση απόδοσης API: SJ ή υψηλότερη
Ιξώδες λαδιού: 10W-30
Χωρητικότητα λαδιού: 0,40 L
Μετακινήστε το μηχάνημα σε επίπεδη επιφάνεια.
φαιρέστε τον δείκτη στάθμης από το στόμιο πλήρωσης και σκουπίστε τον με ένα καθαρό πανί (Σχήμα 14).

Προσθέστε αργά το προβλεπόμενο λάδι στο στόμιο πλήρωσης (Σχήμα 15) και περιμένετε 3 λεπτά.

Εισάγετε τον δείκτη στάθμης λαδιού στο στόμιο πλήρωσης λαδιού και, στη συνέχεια, αφαιρέστε τον δείκτη στάθμης λαδιού.
Ελέγξτε τη στάθμη του λαδιού πάνω στον δείκτη (Σχήμα 16).
Note: Εάν υπερπληρώσετε τον κινητήρα με λάδι, αποστραγγίστε την επιπλέον ποσότητα λαδιού· ανατρέξτε στην ενότητα ποστράγγιση του λαδιού κινητήρα.

Εάν η στάθμη λαδιού είναι κάτω από το όριο υψηλότερης στάθμης, σκουπίστε τον δείκτη στάθμης λαδιού με ένα καθαρό πανί και επαναλάβετε τα βήματα 3 έως 5 μέχρι η στάθμη του λαδιού να φτάσει στο όριο υψηλότερης στάθμης.
Εισάγετε τον δείκτη στάθμης λαδιού στο στόμιο πλήρωσης λαδιού και σφίξτε τον καλά με το χέρι.



Η ράβδος ελέγχου παρουσίας χειριστή (Σχήμα 19) ελέγχει το φρένο σφονδύλου και την έναυση του κινητήρα.
Πιέστε τη ράβδο προς τη χειρολαβή για να λειτουργήσει ο κινητήρας.
φήστε ελεύθερη τη ράβδο για να σβήσετε τον κινητήρα.
Ο διακόπτης καυσίμου (Σχήμα 19) χρησιμοποιείται για τον έλεγχο της ροής καυσίμου στον κινητήρα.
Κλείνετε τον διακόπτη καυσίμου κατά τη μεταφορά, συντήρηση ή αποθήκευση του μηχανήματος.
νοίξτε τον διακόπτη καυσίμου για να λειτουργήσει ο κινητήρας.
|
Μοντέλο |
Πλάτος κοπής |
Πλάτος μηχανήματος |
|---|---|---|
|
02616 |
457 mm |
574 mm |
Για τη βελτίωση και διεύρυνση των δυνατοτήτων του μηχανήματός σας διατίθενται επιλεγμένα παρελκόμενα και εξαρτήματα που είναι εγκεκριμένα από την Toro. Για τον πλήρη κατάλογο όλων των εγκεκριμένων παρελκομένων και εξαρτημάτων, επικοινωνήστε με έναν εξουσιοδοτημένο αντιπρόσωπο σέρβις ή εξουσιοδοτημένο διανομέα της Toro ή επισκεφτείτε τη διεύθυνση: https://www.toro.com/en-GB.
Για να εξασφαλίσετε τις μέγιστες δυνατές επιδόσεις και τη συνεχή πιστοποίηση ασφαλείας του μηχανήματος, χρησιμοποιείτε μόνο γνήσια ανταλλακτικά και εξαρτήματα Toro. Τα ανταλλακτικά και τα εξαρτήματα άλλων κατασκευαστών ενδέχεται να αποβούν επικίνδυνα και η χρήση τους να ακυρώσει την εγγύηση του προϊόντος σας.
Note: Καθορίστε την αριστερή και δεξιά πλευρά του μηχανήματος από την κανονική θέση χειρισμού.
Σβήστε τον κινητήρα, αφαιρέστε το κλειδί (αν διατίθεται) και περιμένετε να ακινητοποιηθούν όλα τα κινούμενα μέρη προτού απομακρυνθείτε από τη θέση χειριστή. Πριν προβείτε σε ρύθμιση, σέρβις, καθαρισμό ή αποθήκευση του μηχανήματος, αφήστε το μηχάνημα να κρυώσει.
Εξοικειωθείτε με τον ασφαλή χειρισμό του εξοπλισμού, τα χειριστήρια, καθώς και τα σήματα ασφαλείας.
Ελέγξτε ότι όλα τα προστατευτικά καλύμματα και οι διατάξεις ασφαλείας είναι στη θέση τους και λειτουργούν σωστά.
Επιθεωρείτε πάντα το μηχάνημα για να βεβαιώνεστε ότι ο δίσκος κοπής, τα μπουλόνια, οι αποστάτες και η βάση δεν είναι φθαρμένα ή κατεστραμμένα.
Επιθεωρήστε τον χώρο όπου πρόκειται να χρησιμοποιήσετε το μηχάνημα και απομακρύνετε όλα τα αντικείμενα που θα μπορούσαν να παρεμποδίσουν τη λειτουργία του μηχανήματος ή τα οποία θα μπορούσε να εκτοξεύσει το μηχάνημα.
Κατά τη ρύθμιση του ύψους κοπής ενδέχεται να έρθετε σε επαφή με τον κινούμενο δίσκο κοπής, με αποτέλεσμα σοβαρό τραυματισμό.
ν ο σιγαστήρας παρουσιάσει βλάβη, αντικαταστήστε τον.
Τα καύσιμα είναι εξαιρετικά εύφλεκτα και ιδιαίτερα εκρηκτικά. Η εκδήλωση πυρκαγιάς ή έκρηξης από καύσιμα μπορεί να προκαλέσει υλικές ζημιές και εγκαύματα σε εσάς ή άλλα άτομα.
Για την αποφυγή στατικού φορτίου από την ανάφλεξη του καυσίμου, τοποθετήστε το δοχείο ή/και το μηχάνημα απευθείας στο έδαφος πριν από το γέμισμα, και όχι σε όχημα ή πάνω σε κάποιο αντικείμενο.
Τόσο ο ανεφοδιασμός όσο και η αποστράγγιση καυσίμου από το ρεζερβουάρ πρέπει να γίνεται σε υπαίθριο, ανοικτό χώρο, όταν ο κινητήρας είναι κρύος. ν χυθεί καύσιμο, καθαρίστε το.
Γεμίστε το ρεζερβουάρ σε υπαίθριο, ανοικτό χώρο, όταν ο κινητήρας είναι κρύος. ν χυθεί καύσιμο, καθαρίστε το.
Μην χειρίζεστε καύσιμα όταν καπνίζετε ή κοντά σε γυμνή φλόγα ή σπινθήρες.
Μην αφαιρείτε την τάπα καυσίμου και μην γεμίζετε το ρεζερβουάρ ενώ ο κινητήρας είναι σε λειτουργία ή δεν έχει κρυώσει.
ν χυθεί καύσιμο, μην επιχειρήσετε να θέσετε τον κινητήρα σε λειτουργία. ποφύγετε τη δημιουργία πηγής ανάφλεξης μέχρι να εξατμιστούν οι ατμοί του καυσίμου.
ποθηκεύστε το καύσιμο σε εγκεκριμένο δοχείο και φυλάξτε το μακριά από παιδιά.
Μην ξεχνάτε να τοποθετείτε ξανά την τάπα στο ρεζερβουάρ και να κλείνετε καλά τα δοχεία καυσίμου.
Σε περίπτωση κατάποσης, το καύσιμο μπορεί να αποβεί επιβλαβές ή απειλητικό για τη ζωή. Η μακροχρόνια έκθεση στις αναθυμιάσεις μπορεί να προκαλέσει σοβαρό τραυματισμό και ασθένεια.
ποφύγετε την παρατεταμένη εισπνοή αναθυμιάσεων.
Κρατάτε τα χέρια και τα πρόσωπο σας μακριά από την αντλία και το άνοιγμα του ρεζερβουάρ.
Κρατάτε το καύσιμο μακριά από τα μάτια και το δέρμα.
| Τύπος | μόλυβδη βενζίνη |
| Ελάχιστος αριθμός οκτανίων | 87 (ΗΠ) ή 91 (οκτάνια έρευνας· εκτός ΗΠ) |
| ιθανόλη | Όχι άνω του 10% κατ’ όγκο |
| Μεθανόλη | Ουδέν |
| MTBE (μεθυλοτριτοταγής βουτυλαιθέρας) | Λιγότερο από 15% κατ’ όγκο |
| Λάδι | Μην προσθέτετε λάδι στο καύσιμο |
Χρησιμοποιείτε μόνο καθαρό, φρέσκο καύσιμο (το πολύ 30 ημερών), από αξιόπιστη πηγή.
Important: Για να μειώσετε τα προβλήματα εκκίνησης, προσθέστε σε φρέσκο καύσιμο σταθεροποιητικό/συντηρητικό όπως υποδεικνύει ο κατασκευαστής του.
Note: Για περισσότερες πληροφορίες, ανατρέξτε στο εγχειρίδιο χρήστη του κινητήρα σας.
Καθαρίστε την περιοχή γύρω από την τάπα του ρεζερβουάρ καυσίμου και αφαιρέστε την τάπα από το ρεζερβουάρ.
Γεμίστε το ρεζερβουάρ με το προβλεπόμενο καύσιμο, όπως φαίνεται στο Σχήμα 20.

Τοποθετήστε ξανά την τάπα στο ρεζερβουάρ.
νατρέξτε στην ενότητα Έλεγχος στάθμης λαδιού κινητήρα.
Να φοράτε κατάλληλη ενδυμασία η οποία θα περιλαμβάνει προστατευτικά για τα μάτια, μακρύ παντελόνι, κατάλληλα αντιολισθητικά υποδήματα, καθώς και μέσα προστασίας της ακοής. Δένετε πίσω τα μαλλιά σας και μη φοράτε φαρδιά ρούχα ή κοσμήματα.
Ο χειρισμός του μηχανήματος απαιτεί την πλήρη προσοχή σας. Μην ασχολείστε με δραστηριότητες που σας αποσπούν την προσοχή, καθώς αυτό θα μπορούσε να οδηγήσει σε τραυματισμό ή υλικές βλάβες.
Μη χειρίζεστε το μηχάνημα εάν είστε άρρωστοι, κουρασμένοι ή βρίσκεστε υπό την επήρεια αλκοόλ ή φαρμάκων.
ποσυμπλέξτε τον δίσκο κοπής και όλους τους συμπλέκτες μετάδοσης κίνησης προτού θέσετε σε λειτουργία τον κινητήρα.
άλτε μπρος τον κινητήρα σύμφωνα με τις οδηγίες χρήσης και κρατώντας τα πόδια σας μακριά από τον δίσκο κοπής.
Μην δίνετε περισσότερη κλίση στο μηχάνημα από όση χρειάζεται για να θέσετε τον κινητήρα σε λειτουργία και μην το ανασηκώνετε από την πλευρά που είναι προς το μέρος σας.
Σβήστε τον κινητήρα, αφαιρέστε το κλειδί (αν διατίθεται) και περιμένετε να ακινητοποιηθούν όλα τα κινούμενα μέρη προτού απομακρυνθείτε από τη θέση χειριστή. Πριν προβείτε σε ρύθμιση, σέρβις, καθαρισμό ή αποθήκευση του μηχανήματος, αφήστε το μηχάνημα να κρυώσει.
Όταν αφήνετε ελεύθερο το χειριστήριο ελέγχου παρουσίας χειριστή (OPC), ο κινητήρας θα πρέπει να σβήνει και ο δίσκος κοπής θα πρέπει να ακινητοποιείται εντός 3 δευτερολέπτων. Σε αντίθετη περίπτωση, διακόψτε αμέσως τη χρήση του μηχανήματος και επικοινωνήστε με εξουσιοδοτημένο αντιπρόσωπο σέρβις.
Κρατήστε τους διερχομένους, ιδίως τα μικρά παιδιά και τα κατοικίδια, μακριά από τον χώρο λειτουργίας του μηχανήματος. Κρατήστε τα μικρά παιδιά μακριά από τον χώρο λειτουργίας του μηχανήματος και υπό την επιτήρηση υπεύθυνου ενήλικα ο οποίος δεν χειρίζεται το μηχάνημα. κινητοποιήστε το μηχάνημα αν κάποιος εισέλθει στον χώρο εργασίας.
Χρησιμοποιείτε το μηχάνημα μόνον όταν υπάρχει καλή ορατότητα και κατάλληλες καιρικές συνθήκες. Μη θέτετε το μηχάνημα σε λειτουργία όταν υπάρχει κίνδυνος κεραυνού.
Το βρεγμένο χορτάρι και τα βρεγμένα φύλλα μπορούν να οδηγήσουν σε σοβαρό τραυματισμό αν γλιστρήσετε και έρθετε σε επαφή με τον δίσκο κοπής. ποφύγετε την κοπή σε βρεγμένο χώρο αν είναι δυνατόν.
Να είστε ιδιαίτερα προσεκτικοί όταν πλησιάζετε σε στροφές χωρίς ορατότητα, θάμνους, δέντρα ή άλλα αντικείμενα που μπορεί να περιορίζουν την ορατότητά σας.
Έχετε το νου σας για λακκούβες, αυλάκια, προεξοχές, βράχους ή άλλα κρυμμένα αντικείμενα. Το ανώμαλο έδαφος μπορεί να σας κάνει να χάσετε την ισορροπία ή το πάτημά σας.
Εάν το μηχάνημα κτυπήσει κάποιο αντικείμενο ή εάν παρατηρήσετε κραδασμούς, σβήστε αμέσως τον κινητήρα, περιμένετε να ακινητοποιηθούν όλα τα κινούμενα μέρη και αποσυνδέστε το καλώδιο του μπουζί προτού εξετάσετε το μηχάνημα για τυχόν ζημιές. Εκτελέστε όλες τις απαιτούμενες επισκευές πριν το θέσετε ξανά σε λειτουργία.
Μην σηκώνετε και μην κουβαλάτε το μηχάνημα στα χέρια ενώ ο κινητήρας βρίσκεται σε λειτουργία.
Εάν ο κινητήρας βρισκόταν σε λειτουργία, θα έχει υψηλή θερμοκρασία και μπορεί να σας προκαλέσει σοβαρά εγκαύματα. Μην πλησιάζετε τον κινητήρα όταν έχει υψηλή θερμοκρασία.
Τα καυσαέρια περιέχουν μονοξείδιο του άνθρακα, το οποίο είναι θανατηφόρο σε περίπτωση εισπνοής. Μην λειτουργείτε τον κινητήρα σε εσωτερικό ή κλειστό χώρο.
Χρησιμοποιείτε μόνο εξαρτήματα και παρελκόμενα εγκεκριμένα από την Toro.
Τα επικλινή εδάφη είναι ένας παράγοντας που συνδέεται σε μεγάλο βαθμό με ατυχήματα που αφορούν απώλεια ελέγχου, τα οποία μπορεί να οδηγήσουν σε σοβαρό τραυματισμό ή θάνατο. Είστε υπεύθυνοι για την ασφαλή λειτουργία του προϊόντος σε επικλινή εδάφη. Ο χειρισμός του μηχανήματος σε επικλινές έδαφος απαιτεί ιδιαίτερη προσοχή. Πριν χρησιμοποιήσετε το μηχάνημα σε επικλινές έδαφος, κάντε τις ακόλουθες ενέργειες:
Μελετήστε και κατανοήστε τις οδηγίες που περιέχει το παρόν εγχειρίδιο σχετικά με τον χειρισμό σε επικλινή εδάφη.
ξιολογήστε τις συνθήκες του χώρου ώστε να κρίνετε αν το έδαφος είναι ασφαλές για χρήση του μηχανήματος. Κατά την αξιολόγηση αυτή θα πρέπει πάντα να χρησιμοποιείτε κοινή λογική και ορθή κρίση. Οι μεταβολές στις εδαφικές συνθήκες, όπως π.χ. στο επίπεδο υγρασίας, μπορεί να προκαλέσουν διαφορετική συμπεριφορά του μηχανήματος σε επικλινή εδάφη.
Να έχετε πάντα σταθερό πάτημα και να κρατάτε γερά τη χειρολαβή. Όταν χρησιμοποιείτε το μηχάνημα πρέπει να βαδίζετε – σε καμία περίπτωση δεν πρέπει να τρέχετε.
Κινείτε το μηχάνημα από τη μία πλευρά του επικλινούς εδάφους προς την άλλη και ποτέ κατακόρυφα (προς τα πάνω ή προς τα κάτω).
Η αλλαγή κατεύθυνσης σε επικλινές έδαφος απαιτεί ιδιαίτερη προσοχή.
Μην χρησιμοποιείτε το μηχάνημα σε εδάφη με πολύ απότομη κλίση.
Να είστε ιδιαίτερα προσεκτικοί όταν κινείστε προς τα πίσω με το μηχάνημα ή όταν τραβάτε το μηχάνημα προς το μέρος σας.
ποφύγετε την κοπή σε βρεγμένο γρασίδι. Η ανεπαρκής σταθερότητα μπορεί να οδηγήσει σε ατύχημα με ολίσθηση και πτώση.
πομακρύνετε ή επισημάνετε εμπόδια όπως χαντάκια, λακκούβες, αυλάκια, προεξοχές, βράχους ή άλλους κρυμμένους κινδύνους. ν το γρασίδι είναι ψηλό, μπορεί να μη φαίνονται τα εμπόδια.
Χειρίζεστε προσεκτικά το μηχάνημα κοντά σε χώρους απόρριψης, χαντάκια και αναχώματα.
Όταν χρησιμοποιείτε το μηχάνημα, έχετε πάντοτε και τα δύο χέρια στη χειρολαβή.
Όταν εκτελείτε κοπή σε επικλινές έδαφος κινούμενοι από την κορυφή προς τη βάση του πρανούς και χρειάζεστε μεγαλύτερη χειρολαβή, χρησιμοποιείτε εγκεκριμένη προέκταση χειρολαβής.

Για να ανοίξετε τον διακόπτη καυσίμου περιστρέψτε τη λαβή του ώστε να έρθει σε οριζόντια θέση.
Για να κλείσετε τον διακόπτη καυσίμου περιστρέψτε τη λαβή του ώστε να έρθει σε κάθετη θέση.
νοίξτε τον διακόπτη καυσίμου· ανατρέξτε στην ενότητα Διακόπτης καυσίμου.
Πιέστε τη ράβδο ελέγχου παρουσίας χειριστή προς τη χειρολαβή.

Τοποθετήστε το πόδι σας πάνω στο δάπεδο του μηχανήματος και γείρετέ το προς το μέρος σας (Σχήμα 23).

Κρατώντας πατημένη τη ράβδο ελέγχου παρουσίας χειριστή, τραβήξτε το κορδόνι εκκίνησης από τη λαβή του.
Note: Εάν το μηχάνημα δεν πάρει μπρος μετά από αρκετές προσπάθειες, επικοινωνήστε με έναν εξουσιοδοτημένο αντιπρόσωπο σέρβις ή εξουσιοδοτημένο διανομέα της Toro.
| Περιοδικότητα εργασιών συντήρησης | Διαδικασία συντήρησης |
|---|---|
| Πριν από κάθε χρήση ή καθημερινά |
|
Για να σβήσει ο κινητήρας, αφήστε ελεύθερη τη ράβδο ελέγχου παρουσίας χειριστή (Σχήμα 24).
Important: Όταν αφήνετε ελεύθερη τη ράβδο ελέγχου παρουσίας χειριστή, τόσο ο κινητήρας όσο και ο δίσκος κοπής θα πρέπει να σταματούν να λειτουργούν εντός 3 δευτερολέπτων. Σε αντίθετη περίπτωση, διακόψτε αμέσως τη χρήση του μηχανήματος και επικοινωνήστε με έναν εξουσιοδοτημένο αντιπρόσωπο σέρβις ή εξουσιοδοτημένο διανομέα της Toro.

Note: ν έχετε συναρμολογήσει τη χειρολαβή στη χαμηλή θέση (103,4 cm), μπορείτε να χρησιμοποιείτε το στόπερ ποδιού για τη στερέωση της χειρολαβής στην κατακόρυφη θέση

Για να απελευθερώσετε τη χειρολαβή, ανασηκώστε τη χειρολαβή και περιστρέψτε το στόπερ ποδιού προς τα εμπρός (Σχήμα 25).
Για να στερεώσετε τη χειρολαβή, τοποθετήστε τη χειρολαβή στη θέση της και περιστρέψτε το στόπερ ποδιού προς τα πίσω.
| Περιοδικότητα εργασιών συντήρησης | Διαδικασία συντήρησης |
|---|---|
| Κάθε χρόνο |
|
Ελέγχετε το συγκρότημα του δίσκου κοπής κάθε φορά που αντικαθιστάτε τη μεσινέζα. Εάν το συγκρότημα του δίσκου κοπής έχει υποστεί ζημιά, αντικαταστήστε το αμέσως.
φαιρέστε τον δίσκο κοπής, ανατρέξτε στην ενότητα φαίρεση του δίσκου κοπής.
ντικαταστήστε τις υπάρχουσες μεσινέζες με 2 καινούριες ίσου μήκους, όπως φαίνεται στο Σχήμα 26.

Εγκαταστήστε τον δίσκο κοπής, ανατρέξτε στην ενότητα Εγκατάσταση του δίσκου κοπής.
Κατά τη ρύθμιση του ύψους κοπής ενδέχεται να έρθετε σε επαφή με τον δίσκο κοπής, με αποτέλεσμα σοβαρό τραυματισμό.
Σβήστε τον κινητήρα και περιμένετε να ακινητοποιηθούν όλα τα κινούμενα μέρη.
Φοράτε προστατευτικά γάντια κατά τον χειρισμό του δίσκου κοπής.
Εάν ο κινητήρας βρισκόταν σε λειτουργία, ο σιγαστήρας θα έχει υψηλή θερμοκρασία και μπορεί να σας προκαλέσει σοβαρά εγκαύματα.
Μην πλησιάζετε τον σιγαστήρα όταν έχει υψηλή θερμοκρασία.
Ελέγχετε το συγκρότημα του δίσκου κοπής κάθε φορά που ρυθμίζετε το ύψος κοπής. Εάν το συγκρότημα του δίσκου κοπής έχει υποστεί ζημιά, αντικαταστήστε το αμέσως.
φαιρέστε τον δίσκο κοπής, ανατρέξτε στην ενότητα φαίρεση του δίσκου κοπής.
Για να ρυθμίσετε το ύψος κοπής αλλάξτε τη θέση των αποστατών, όπως φαίνεται στο (Σχήμα 27).
Note: Κάθε αποστάτης αλλάζει το ύψος κοπής κατά 6,3 mm (1/4’’).

Εγκαταστήστε τον δίσκο κοπής, ανατρέξτε στην ενότητα Εγκατάσταση του δίσκου κοπής.
Ελέγχετε το συγκρότημα του δίσκου κοπής κάθε φορά που αφαιρείτε τον δίσκο κοπής. Εάν το συγκρότημα του δίσκου κοπής έχει υποστεί ζημιά, αντικαταστήστε το αμέσως.
Κλείστε τον διακόπτη καυσίμου· ανατρέξτε στην ενότητα Διακόπτης καυσίμου.
ποσυνδέστε το καλώδιο του μπουζί.
Γυρίστε το μηχάνημα στο πλάι, με τον δείκτη στάθμης κατεβασμένο.
Important: Γυρίζετε πάντα το μηχάνημα στο πλάι με τον δείκτη στάθμης παράλληλα προς το έδαφος. Εάν γείρετε το μηχάνημα προς άλλη κατεύθυνση, το συγκρότημα των βαλβίδων μπορεί να γεμίσει λάδι και να χρειαστούν τουλάχιστον 30 λεπτά για να αποστραγγιστεί.

Σημειώστε τη θέση των αποστατών.

Χρησιμοποιήστε το κλειδί που παρέχεται μαζί με το μηχάνημα για να αφαιρέσετε τον δίσκο κοπής, περιστρέφοντας το μπουλόνι αριστερόστροφα (Σχήμα 29) και φυλάξτε όλα τα εξαρτήματα στερέωσης.
Important: Κατά την αφαίρεση του δίσκου κοπής να φοράτε γυαλιά ασφαλείας και γάντια προστασίας από κοπή.
Important: Για να τοποθετήσετε σωστά το συγκρότημα του δίσκου κοπής θα χρειαστείτε ροπόκλειδο. Εάν δεν διαθέτετε ροπόκλειδο ή, γενικότερα, αν προτιμάτε να εκτελέσει κάποιος άλλος αυτή τη διαδικασία, επικοινωνήστε με έναν εξουσιοδοτημένο αντιπρόσωπο σέρβις ή έναν εξουσιοδοτημένο διανομέα της Toro.
Συναρμολογήστε τη βάση, τον δίσκο κοπής, τους αποστάτες και τον κωνικό αποστάτη στη φτερωτή χρησιμοποιώντας το μπουλόνι (Σχήμα 30).
Important: Ο κωνικός αποστάτης θα πρέπει να βρίσκεται πάντοτε ακριβώς κάτω από τη φτερωτή και η βάση κάτω από την κεφαλή του μπουλονιού.

Σφίξτε το μπουλόνι με ροπή 25 N∙m.
Note: Ένα μπουλόνι που σφίγγεται με ροπή 25 N∙m είναι πολύ σφιχτό. Κρατώντας τη φτερωτή σταθερή, ρίξτε όλο το βάρος σας στο ροπόκλειδο και σφίξτε καλά το μπουλόνι.
Επαναφέρετε το μηχάνημα σε όρθια θέση, συνδέστε το καλώδιο του μπουζί και ανοίξτε τον διακόπτη καυσίμου.
Τοποθετήστε τη «στεφάνη» του στόπερ ποδιού κάτω από την εγκοπή του βραχίονα του αναστολέα για να βελτιώσετε τον χειρισμό του μηχανήματος.

Επιθεωρήστε τον χώρο όπου πρόκειται να χρησιμοποιήσετε το μηχάνημα και απομακρύνετε όλα τα αντικείμενα που θα μπορούσε να εκτοξεύσει το μηχάνημα.
ποφύγετε την πρόσκρουση σταθερών αντικειμένων με τη μεσινέζα. Μην περνάτε ποτέ σκοπίμως το μηχάνημα πάνω από κάποιο αντικείμενο.
Εάν το μηχάνημα κτυπήσει κάποιο αντικείμενο ή εάν παρατηρήσετε κραδασμούς, σβήστε αμέσως τον κινητήρα, αποσυνδέστε το καλώδιο του μπουζί και εξετάστε το μηχάνημα για τυχόν ζημιές.
Για βέλτιστη απόδοση, τοποθετήστε καινούριες μεσινέζες πριν από την έναρξη της περιόδου κοπής.
ντικαθιστάτε τη μεσινέζα όποτε χρειάζεται με ανταλλακτική μεσινέζα της Toro.
εβαιωθείτε ότι η ανταλλακτική μεσινέζα έχει το ίδιο μήκος με μια καινούρια, άθικτη μεσινέζα.
Κόβετε μόνο περίπου το ένα τρίτο του ύψους του γρασιδιού κάθε φορά. Μην κόβετε το γρασίδι σε ύψος χαμηλότερο από 30 mm (όσο δηλ. η υψηλότερη ρύθμιση), παρά μόνο αν το γρασίδι είναι αραιό ή κατά τους όψιμους φθινοπωρινούς μήνες κατά τους οποίους η ανάπτυξή του αρχίζει να επιβραδύνεται εάν χρειάζεται· ανατρέξτε στην ενότητα Ρύθμιση του ύψους κοπής.
Μην κόβετε γρασίδι με ύψος άνω των 15 cm, γιατί το μηχάνημα μπορεί να βουλώσει ή να προκληθεί ρετάρισμα του κινητήρα.
Τα υγρά χόρτα ή φύλλα έχουν την τάση να συσσωματώνονται και μπορεί να βουλώσουν το μηχάνημα ή να προκαλέσουν ρετάρισμα του κινητήρα. Πραγματοποιείτε κοπή μόνο σε στεγνό χώρο αν είναι δυνατόν.
Το βρεγμένο χορτάρι και τα βρεγμένα φύλλα μπορούν να οδηγήσουν σε σοβαρό τραυματισμό αν γλιστρήσετε και έρθετε σε επαφή με τη μεσινέζα.
Πραγματοποιείτε κοπή μόνο σε στεγνό χώρο αν είναι δυνατόν.
Έχετε το νου σας για ενδεχόμενο πυρκαγιάς σε πολύ ξηρές συνθήκες, τηρείτε όλες τις τοπικές προειδοποιήσεις κινδύνου πυρκαγιάς και διατηρείτε το μηχάνημα καθαρό από ξερά χόρτα και φύλλα.
Εάν η τελική εμφάνιση του γκαζόν δεν είναι ικανοποιητική, δοκιμάστε 1 ή περισσότερα από τα εξής:
Ελέγξτε τη μονάδα κοπής ή/και αντικαταστήστε τη μεσινέζα.
Κινηθείτε με πιο αργό ρυθμό κατά την κοπή.
υξήστε το ύψος κοπής του μηχανήματος.
Κόβετε το γρασίδι πιο συχνά.
Φροντίστε να υπάρχει αλληλοεπικάλυψη στις σειρές κομμένου χόρτου αντί να περνάτε μια ολόκληρη σειρά κάθε φορά.
φού κόψετε το γκαζόν, βεβαιωθείτε ότι είναι ορατό το μισό γρασίδι μέσα από τα κομμένα φύλλα που το καλύπτουν. Μπορεί να χρειαστεί να περάσετε τα φύλλα αρκετές φορές με το μηχάνημα.
Η κοπή γρασιδιού με ύψος άνω των 15 cm δεν συνιστάται. Εάν τα κομμένα φύλα σχηματίζουν πολύ παχύ στρώμα, το μηχάνημα μπορεί να βουλώσει και να προκληθεί ρετάρισμα του κινητήρα.
Επιβραδύνετε τον ρυθμό κοπής αν το μηχάνημα δεν κόβει τα φύλλα αρκετά ψιλά.
Σβήστε τον κινητήρα, αφαιρέστε το κλειδί (αν διατίθεται) και περιμένετε να ακινητοποιηθούν όλα τα κινούμενα μέρη προτού απομακρυνθείτε από τη θέση χειριστή. Πριν προβείτε σε ρύθμιση, σέρβις, καθαρισμό ή αποθήκευση του μηχανήματος, αφήστε το μηχάνημα να κρυώσει.
Καθαρίστε τα χόρτα και τα ξένα υλικά από το μηχάνημα, για να αποτρέψετε τον κίνδυνο πυρκαγιάς. ν έχει χυθεί λάδι ή καύσιμο, καθαρίστε το.
Μην αποθηκεύετε ποτέ το μηχάνημα ή τα δοχεία καυσίμων σε χώρους με γυμνές φλόγες, σπινθήρες ή φλόγα-πιλότο (π.χ. σε καυστήρα, λέβητα ή άλλες συσκευές).
Στερεώστε καλά το μηχάνημα.
Να είστε προσεκτικοί κατά τη φορτοεκφόρτωση του μηχανήματος.
| Περιοδικότητα εργασιών συντήρησης | Διαδικασία συντήρησης |
|---|---|
| Μετά από κάθε χρήση |
|
Ενδέχεται να εκτοξευτούν υλικά από την κάτω πλευρά του περιβλήματος του μηχανήματος.
Χρησιμοποιείτε προστατευτικά για τα μάτια.
Σταθείτε στη θέση χειριστή (πίσω από τη χειρολαβή).
Μην επιτρέπετε την παρουσία άλλων ατόμων στον χώρο.
Γυρίστε το μηχάνημα στο πλάι, με τον δείκτη στάθμης κατεβασμένο.
Important: Γυρίζετε πάντα το μηχάνημα στο πλάι με τον δείκτη στάθμης παράλληλα προς το έδαφος. Εάν γείρετε το μηχάνημα προς άλλη κατεύθυνση, το συγκρότημα των βαλβίδων μπορεί να γεμίσει λάδι και να χρειαστούν τουλάχιστον 30 λεπτά για να αποστραγγιστεί.
Χρησιμοποιήστε βούρτσα ή πεπιεσμένο αέρα για να απομακρύνετε χόρτα και ξένα υλικά από το προστατευτικό της εξάτμισης, την επάνω καλύπτρα και τα πλαϊνά της πλατφόρμας.
Καθαρίζετε το σύστημα ψύξης: απομακρύνετε κομμένα χόρτα, χώματα ή άλλα ξένα υλικά από τα πτερύγια ψύξης του κινητήρα και την κορδονιέρα.
Note: Καθαρίζετε το σύστημα ψύξης πιο συχνά σε περιβάλλον με πολλά χώματα και άγανα.
Note: Καθορίστε την αριστερή και δεξιά πλευρά του μηχανήματος από την κανονική θέση λειτουργίας.
| Περιοδικότητα εργασιών συντήρησης | Διαδικασία συντήρησης |
|---|---|
| Μετά τις πρώτες 5 ώρες |
|
| Πριν από κάθε χρήση ή καθημερινά |
|
| Μετά από κάθε χρήση |
|
| SΚάθε 25 ώρες |
|
| Κάθε 100 ώρες |
|
| Κάθε χρόνο |
|
Σβήστε τον κινητήρα, αφαιρέστε το κλειδί (αν διατίθεται) και περιμένετε να ακινητοποιηθούν όλα τα κινούμενα μέρη προτού απομακρυνθείτε από τη θέση χειριστή. Πριν προβείτε σε ρύθμιση, σέρβις, καθαρισμό ή αποθήκευση του μηχανήματος, αφήστε το μηχάνημα να κρυώσει.
ποσυνδέστε το καλώδιο του μπουζί προτού εκτελέσετε οποιαδήποτε εργασία συντήρησης.
Κατά το σέρβις του μηχανήματος, φοράτε γάντια και προστατευτικά για τα μάτια.
Επιθεωρείτε το μηχάνημα τακτικά και αντικαταστήστε κάθε εξάρτημα που έχει φθαρεί ή υποστεί ζημιά. Να χρησιμοποιείτε μόνο στοιχεία κοπής που είναι κατάλληλα για χρήση στην ταχύτητα λειτουργίας του μηχανήματος.
Μην πειράζετε ποτέ τις διατάξεις ασφαλείας. Ελέγχετε τακτικά αν λειτουργούν σωστά.
Το αναποδογύρισμα του μηχανήματος ενδέχεται να οδηγήσει σε διαρροή καυσίμου. Το καύσιμο είναι εύφλεκτο και εκρηκτικό και μπορεί να οδηγήσει σε τραυματισμό. φήστε τον κινητήρα σε λειτουργία μέχρι να τελειώσει το καύσιμο ή αποστραγγίστε το καύσιμο με χειροκίνητη αντλία· μην αποστραγγίζετε ποτέ το καύσιμο με αυτοσχέδια αντλία.
εβαιωθείτε ότι όλα τα εξαρτήματα σύνδεσης είναι πάντοτε καλά σφιγμένα ώστε το μηχάνημα να λειτουργεί με ασφάλεια.
Μην αλλάζετε τη ρύθμιση του ρυθμιστή στροφών του κινητήρα και μην αυξάνετε υπερβολικά τις στροφές του κινητήρα.
Για να εξασφαλίσετε τις μέγιστες δυνατές επιδόσεις του μηχανήματος, χρησιμοποιείτε μόνο γνήσια ανταλλακτικά και εξαρτήματα Toro. Τα ανταλλακτικά και τα εξαρτήματα άλλων κατασκευαστών ενδέχεται να αποβούν επικίνδυνα και η χρήση τους να ακυρώσει την εγγύηση του προϊόντος σας.
Το αναποδογύρισμα του μηχανήματος ενδέχεται να οδηγήσει σε διαρροή καυσίμου. Το καύσιμο είναι εύφλεκτο, εκρηκτικό και μπορεί να οδηγήσει σε τραυματισμό.
φήστε τον κινητήρα σε λειτουργία μέχρι να τελειώσει το καύσιμο ή αποστραγγίστε το καύσιμο με χειροκίνητη αντλία· μην αποστραγγίζετε ποτέ το καύσιμο με αυτοσχέδια αντλία.
Important: Γυρίζετε πάντα το μηχάνημα στο πλάι με τον δείκτη στάθμης παράλληλα προς το έδαφος. Εάν γείρετε το μηχάνημα με τον δείκτη στάθμης κάθετα προς το έδαφος, το συγκρότημα των βαλβίδων μπορεί να γεμίσει λάδι και να χρειαστούν τουλάχιστον 30 λεπτά για να αποστραγγιστεί.
Σβήστε τον κινητήρα και περιμένετε να ακινητοποιηθούν όλα τα κινούμενα μέρη.
Μετακινήστε το μηχάνημα σε επίπεδη επιφάνεια.
ποσυνδέστε το καλώδιο του μπουζί (Σχήμα 32).

Κλείστε τον διακόπτη καυσίμου· ανατρέξτε στην ενότητα Διακόπτης καυσίμου.
Important: Εάν επισκευάζετε το μηχάνημα, αδειάστε το ρεζερβουάρ καυσίμου.
φού ολοκληρώσετε τις εργασίες συντήρησης, ανοίξτε τον διακόπτη καυσίμου και συνδέστε το καλώδιο στο μπουζί.
| Περιοδικότητα εργασιών συντήρησης | Διαδικασία συντήρησης |
|---|---|
| Κάθε χρόνο |
|
Πιέστε τις γλωττίδες ασφάλισης που βρίσκονται στο πάνω μέρος του καλύμματος του φίλτρου αέρα (Σχήμα 33).

φαιρέστε το κάλυμμα.
φαιρέστε το στοιχείο φίλτρου αέρα (Σχήμα 33).
Ελέγξτε το χάρτινο φίλτρο αέρα.
Εάν το φίλτρο είναι φθαρμένο ή έχει διαβραχεί με λάδι ή καύσιμο και είναι υπερβολικά λερωμένο, αντικαταστήστε το.
ν το φίλτρο είναι λερωμένο, χτυπήστε το αρκετές φορές σε σκληρή επιφάνεια ή φυσήξτε το με πεπιεσμένο αέρα πίεσης κάτω των 2,07 bar από την πλευρά του φίλτρου που κοιτά τον κινητήρα.
Note: Μην επιχειρείτε να καθαρίσετε τις βρωμιές με βούρτσα. Με το βούρτσισμα οι βρωμιές εισχωρούν στις ίνες του φίλτρου.
Καθαρίστε τη βάση και το κάλυμμα του φίλτρου αέρα με υγρό πανί. Κατά τον καθαρισμό, προσέξτε να μην εισχωρήσουν βρομιές στον αεραγωγό.
Τοποθετήστε το φίλτρο στη βάση φίλτρου.
Τοποθετήστε το κάλυμμα.
Ταξινόμηση απόδοσης API: SJ ή υψηλότερη
Ιξώδες λαδιού: 10W-30
| Περιοδικότητα εργασιών συντήρησης | Διαδικασία συντήρησης |
|---|---|
| Πριν από κάθε χρήση ή καθημερινά |
|
Προετοιμάστε το μηχάνημα για συντήρηση· ανατρέξτε στην ενότητα Προετοιμασία για συντήρηση.
φαιρέστε τον δείκτη στάθμης από το στόμιο πλήρωσης και σκουπίστε τον με ένα καθαρό πανί.
Εισάγετε τον δείκτη στάθμης λαδιού στο στόμιο πλήρωσης λαδιού και, στη συνέχεια, αφαιρέστε τον δείκτη στάθμης λαδιού.
Important: Μην «βιδώνετε» τον δείκτη στάθμης λαδιού στο στόμιο πλήρωσης λαδιού.
Ελέγξτε τη στάθμη του λαδιού πάνω στον δείκτη.

Εάν η στάθμη λαδιού είναι κοντά ή κάτω από το όριο χαμηλότερης στάθμης (Σχήμα 34), προσθέστε αργά το προβλεπόμενο λάδι στο στόμιο πλήρωσης (Σχήμα 35) και περιμένετε 3 λεπτά.

Σκουπίστε τον δείκτη στάθμης λαδιού με ένα καθαρό πανί και επαναλάβετε τα βήματα 3 έως 5 μέχρι η στάθμη του λαδιού να φτάσει στο όριο υψηλότερης στάθμης.
Εισάγετε τον δείκτη στάθμης λαδιού στο στόμιο πλήρωσης λαδιού και σφίξτε τον καλά με το χέρι.
| Περιοδικότητα εργασιών συντήρησης | Διαδικασία συντήρησης |
|---|---|
| Μετά τις πρώτες 5 ώρες |
|
| SΚάθε 25 ώρες |
|
Εάν ο κινητήρας είναι κρύος, αφήστε τον σε λειτουργία για 1 με 2 λεπτά για να ζεσταθεί το λάδι.
εβαιωθείτε ότι το ρεζερβουάρ καυσίμου είναι εντελώς ή σχεδόν άδειο, ώστε να μην χυθούν καύσιμα όταν γυρίσετε το μηχάνημα στο πλάι.
Προετοιμάστε το μηχάνημα για συντήρηση· ανατρέξτε στην ενότητα Προετοιμασία για συντήρηση.
φαιρέστε τον δείκτη στάθμης από το στόμιο πλήρωσης και σκουπίστε τον με ένα καθαρό πανί.
Τοποθετήστε ένα δοχείο συλλογής στο έδαφος δίπλα από το δάπεδο του χλοοκοπτικού στην πλευρά του μηχανήματος στην οποία βρίσκεται το στόμιο πλήρωσης λαδιού (Σχήμα 35).

Γυρίστε το μηχάνημα στο πλάι με το στόμιο πλήρωσης λαδιού προς τα κάτω για να αποστραγγίσετε το λάδι διαμέσου του στόμιου.
Important: Γυρίζετε πάντα το μηχάνημα στο πλάι με τον δείκτη στάθμης παράλληλα προς το έδαφος. Εάν γείρετε το μηχάνημα προς άλλη κατεύθυνση το συγκρότημα των βαλβίδων μπορεί να γεμίσει λάδι και να χρειαστούν τουλάχιστον 30 λεπτά για να αποστραγγιστεί.
Επαναφέρετε το μηχάνημα στη θέση λειτουργίας.
ν χυθεί λάδι στο μηχάνημα, καθαρίστε το.
Note: πορρίψτε κατάλληλα το μεταχειρισμένο λάδι σε τοπικό κέντρο ανακύκλωσης.
Χωρητικότητα λαδιού: 0,40 L
Προσθέστε αργά το προβλεπόμενο λάδι στο στόμιο πλήρωσης (Σχήμα 35) και περιμένετε 3 λεπτά.

Εισάγετε τον δείκτη στάθμης λαδιού στο στόμιο πλήρωσης λαδιού και, στη συνέχεια, αφαιρέστε τον δείκτη στάθμης λαδιού.
Important: Μην «βιδώνετε» τον δείκτη στάθμης λαδιού στο στόμιο πλήρωσης λαδιού.
Ελέγξτε τη στάθμη του λαδιού πάνω στον δείκτη (Σχήμα 38).
Note: Εάν υπερπληρώσετε τον κινητήρα με λάδι, αποστραγγίστε την επιπλέον ποσότητα λαδιού· ανατρέξτε στην ενότητα ποστράγγιση του λαδιού κινητήρα.

Εάν η στάθμη λαδιού είναι κάτω από το όριο υψηλότερης στάθμης, σκουπίστε τον δείκτη στάθμης λαδιού με ένα καθαρό πανί και επαναλάβετε τα βήματα 1 έως 3 μέχρι η στάθμη του λαδιού να φτάσει στο όριο υψηλότερης στάθμης.
Εισάγετε τον δείκτη στάθμης λαδιού στο στόμιο πλήρωσης λαδιού και σφίξτε τον καλά με το χέρι.
| Περιοδικότητα εργασιών συντήρησης | Διαδικασία συντήρησης |
|---|---|
| Κάθε 100 ώρες |
|
Προδιαγραφή μπουζί: Champion RN9YC ή αντίστοιχο.
Προετοιμάστε το μηχάνημα για συντήρηση· ανατρέξτε στην ενότητα Προετοιμασία για συντήρηση.
Καθαρίστε τον χώρο γύρω από το μπουζί.
φαιρέστε το μπουζί από την κυλινδροκεφαλή.
Important: ντικαταστήστε το μπουζί αν έχει φθαρεί, έχει υποστεί ζημιά ή είναι λερωμένο. Μην καθαρίζετε τα ηλεκτρόδια διότι, αν εισέλθουν ακαθαρσίες στον κύλινδρο, μπορεί να προκληθεί βλάβη στον κινητήρα.
Ρυθμίστε το διάκενο αέρα (Σχήμα 39) ανάμεσα στο κεντρικό ηλεκτρόδιο και το πλευρικό ηλεκτρόδιο στα 0,76 mm (0,03 ").

Τοποθετήστε το μπουζί και τη φλάντζα.
Σφίξτε το μπουζί με ροπή 20 N∙m.
Συνδέστε το καλώδιο στο μπουζί.
Σβήστε τον κινητήρα, αφαιρέστε το κλειδί (αν διατίθεται) και περιμένετε να ακινητοποιηθούν όλα τα κινούμενα μέρη προτού απομακρυνθείτε από τη θέση χειριστή. Πριν προβείτε σε ρύθμιση, σέρβις, καθαρισμό ή αποθήκευση του μηχανήματος, αφήστε το μηχάνημα να κρυώσει.
φήστε τον κινητήρα να κρυώσει προτού αποθηκεύσετε το μηχάνημα σε εσωτερικό χώρο.
φήστε τον κινητήρα να κρυώσει προτού αποθηκεύσετε το μηχάνημα σε εσωτερικό χώρο.
Μην αποθηκεύετε ποτέ το μηχάνημα ή τα δοχεία καυσίμων σε χώρους με γυμνές φλόγες, σπινθήρες ή φλόγα-πιλότο (π.χ. σε καυστήρα, λέβητα ή άλλες συσκευές).
φαιρέστε κομμένα χόρτα, φύλλα και ξένα υλικά από τον σιγαστήρα και τον χώρο του κινητήρα για να αποτρέψετε τον κίνδυνο πυρκαγιάς.
Οι ατμοί του καυσίμου μπορούν να προκαλέσουν έκρηξη.
Μην αποθηκεύετε καύσιμο για πάνω από 30 ημέρες.
Μην αποθηκεύετε το μηχάνημα σε κλειστό χώρο κοντά σε γυμνή φλόγα.
φήνετε τον κινητήρα να κρυώσει προτού το αποθηκεύσετε.
Κατά τον τελευταίο ανεφοδιασμό καυσίμου για το έτος, προσθέστε σταθεροποιητικό καυσίμου στο καύσιμο σύμφωνα με τις οδηγίες που αναγράφονται στην ετικέτα του προϊόντος.
φήστε το μηχάνημα σε λειτουργία μέχρι να τελειώσει το καύσιμο και να σβήσει ο κινητήρας.
Ξαναβάλτε μπρος τον κινητήρα και αφήστε τον σε λειτουργία μέχρι να σβήσει. Όταν δεν μπορείτε πλέον να θέσετε τον κινητήρα σε λειτουργία, το σύστημα καυσίμου είναι άδειο.
ποσυνδέστε το καλώδιο του μπουζί.
φαιρέστε το μπουζί, προσθέστε 30 ml λαδιού μέσω της υποδοχής του μπουζί και τραβήξτε αργά και αρκετές φορές το κορδόνι εκκίνησης από τη λαβή ώστε το λάδι να κατανεμηθεί σε όλον τον κύλινδρο.
Τοποθετήστε το μπουζί και σφίξτε το με ροπή 20 N∙m.
Ελέγξτε τον δίσκο κοπής για ενδείξεις φθοράς ή ζημιάς. Εάν ο δίσκος κοπής έχει φθορές/βλάβες ή έχει φθαρεί η μεσινέζα, αντικαταστήστε τα.
Σφίξτε όλα τα παξιμάδια, τα μπουλόνια και τις βίδες.
ποθηκεύετε το μηχάνημα σε δροσερό, καθαρό και στεγνό χώρο.
| Problem | Possible Cause | Corrective Action |
|---|---|---|
| Ο κινητήρας δεν παίρνει μπρος. |
|
|
| Ο κινητήρας παίρνει μπρος με δυσκολία ή παρουσιάζει απώλειες ισχύος. |
|
|
| Ο κινητήρας λειτουργεί με δυσκολία. |
|
|
| Στο μηχάνημα ή στον κινητήρα παρατηρούνται υπερβολικοί κραδασμοί. |
|
|
| Η κοπή δεν είναι ομοιόμορφη. |
|
|