| Intervalo de assistência | Procedimento de manutenção |
|---|---|
| Em todas as utilizações ou diariamente |
|
Esta máquina destina-se a ser utilizada por operadores comerciais contratados para manutenção de relvado em declives, ondulações acentuadas, áreas perto de água ou obstáculos. Se a máquina for utilizada com qualquer outro propósito, poderá pôr em perigo o utilizador ou outras pessoas.
Leia estas informações cuidadosamente para saber como utilizar e efetuar a manutenção do produto de forma adequada, bem como evitar ferimentos e danos no produto. A utilização correta e segura do produto é da exclusiva responsabilidade do utilizador.
Visite www.https://www.toro.com/en-GB para obter mais informações, incluindo sugestões de segurança, materiais de formação, informações sobre acessórios, obter ajuda a localizar um representante ou para registar o seu produto.
Sempre que necessitar de assistência, peças genuínas Toro ou informações adicionais, entre em contacto com um representante autorizado ou o serviço de assistência Toro, indicando os números de modelo e de série do produto. Figura 1 identifica a localização dos números de série e de modelo no produto. Escreva os números no espaço disponível.
Important: Com o seu dispositivo móvel, pode ler o código QR no autocolante com o número de série (se existente) para aceder a informações sobre garantia, peças e outros produtos.

Escreva os números de modelo e de série do produto nos espaços em baixo:
Este manual identifica potenciais perigos e tem mensagens de segurança identificadas pelo símbolo de alerta de segurança (Figura 2), que identifica perigos que podem provocar ferimentos graves ou mesmo a morte, se não respeitar as precauções recomendadas.

Neste manual são utilizados duas palavras para identificar informações importantes. Importante identifica informações especiais de ordem mecânica e Nota sublinha informações gerais que requerem especial atenção.
Este produto cumpre todas as diretivas europeias aplicáveis. Para mais informações consultar a folha de Declaração de conformidade (DOC) em separado, específica do produto.
Binário bruto ou útil: O binário bruto ou útil deste motor foi classificado em laboratório pelo fabricante do motor em conformidade com a Society of Automotive Engineers (SAE) J1940 ou J2723. Com a configuração para obedecer aos requisitos de segurança, emissões e funcionamento, o binário real do motor nesta classe de cortador será substancialmente inferior. Consulte as informações do fabricante do motor incluídas com a máquina.
Important: Leia atentamente estas instruções antes de utilizar a máquina e guarde-as para referência futura.
Este produto pode provocar ferimentos nas mãos e pés e a projeção de objetos. Respeite sempre todas as instruções de segurança, de modo a evitar ferimentos pessoais graves.
Leia e compreenda o conteúdo deste Manual de utilizador antes de ligar o motor.
Não coloque as mãos ou os pés perto de componentes em movimento da máquina.
Não opere a máquina sem que todos os resguardos e outros dispositivos protetores de segurança estejam instalados e a funcionar corretamente na máquina.
Mantenha as pessoas e as crianças pequenas afastadas da área de operação. Não permita que crianças utilizem a máquina. Permita apenas pessoas responsáveis, formadas, familiarizadas com as instruções e fisicamente capazes de utilizar a máquina. Os regulamentos locais podem determinar restrições relativamente à idade do utilizador.
Desligue o motor, retire a chave (se equipada) e aguarde que todas as partes em movimento parem antes de sair da posição do operador. Deixe a máquina arrefecer antes de a ajustar, lhe fazer a manutenção, limpar ou armazenar.
O uso e manutenção impróprios deste equipamento
pode resultar em ferimentos. Para reduzir o risco de lesões,
respeite estas instruções de segurança e preste
sempre atenção ao símbolo de alerta de segurança
, que indica: Cuidado, Aviso
ou Perigo – instruções de segurança pessoal.
O não cumprimento destas instruções pode resultar
em ferimentos pessoais ou mesmo em morte.
![]() |
Os autocolantes de segurança e de instruções são facilmente visíveis e situam-se próximo das zonas de potencial perigo. Substitua todos os autocolantes danificados ou perdidos. |




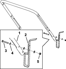
Peças necessárias para este passo:
| Pega inferior | 1 |
| Batente | 1 |
| Parafuso (6 x 35 mm) | 1 |
| Anilha (6 mm) | 3 |
| Porca de bloqueio (6 mm) | 1 |
Note: Só pode utilizar o batente para apoiar a pega na posição vertical ao montar a pega na posição inferior 103,4 cm.

Determine a altura da pega quando o batente é fixado ao suporte superior (Figura 3).
Alinhe o furo no batente com o furo da pega inferior Figura 4.

Monte o batente na pega com um parafuso (8 x 35 mm), três anilhas (6 mm) e uma porca de bloqueio (6 mm).
Aperte a porca de bloqueio e o parafuso.
Note: Certifique-se de que pode inclinar o batente.
Peças necessárias para este passo:
| Casquilhos em T | 4 |
| Parafuso (6 x 55 mm) | 2 |
| Anilha (6 mm) | 6 |
| Porca de bloqueio (6 mm) | 2 |
| Manípulo | 2 |
| Cavilha em U | 2 |
| União da pega | |
| Barra da pega superior | 1 |
| Parafuso (¼ x 1¾ pol.) | 1 |
| Porca de bloqueio (¼ pol.) | 1 |
Monte os dois casquilhos em T nas flanges da pega da plataforma do cortador (Figura 5).

Alinhe o batente da pega com o suporte de paragem superior na plataforma (Figura 6).

Alinhe o furo na pega com os furos nos casquilhos (Figura 7), e fixe a pega à máquina com um parafuso (6 x 55 mm), 2 anilhas (6 mm), e uma porca de bloqueio (6 mm).

Repita o passo 3 no outro lado da máquina.
Alinhe os furos na pega superior com os furos da pega inferior Figura 8.

Monte a pega superior na pega inferior com os 2 cavilhas em U, 2 anilhas (6 mm), e 2 manípulos.
Insira a união na extremidade da bainha do cabo na tomada superior da união da pega (Figura 9).

Aperte a perna do manípulo de presença do operador até o poder retirar da pega superior, e retire o manípulo da máquina (Figura 10).

Insira a união do cabo através do orifício no suporte do manípulo de presença do operador, como se mostra na Figura 11.

Insira a extremidade do manípulo de presença do operador na pega, aperte ligeiramente a outra perna do manípulo e insira o manípulo na pega (Figura 13).

Prenda a união da pega à pega superior (Figura 14) com o parafuso (¼ x 1¾ pol.) e uma porca de bloqueio (¼ pol.).

Important: A sua máquina não é entregue com óleo dentro do motor. Antes de ligar o motor, adicione óleo ao motor.
Classificação de serviço API: SJ ou superior
Viscosidade do óleo: óleo 10W-30
Capacidade de óleo: 0,40 litros
Leve a máquina para uma superfície nivelada.
Retire a vareta do tubo de enchimento de óleo e limpe-a com um pano limpo (Figura 14).

Verta lentamente o óleo do motor especificado para o tubo de enchimento de óleo (Figura 15) e aguarde 3 minutos.

Insira a vareta no tubo de enchimento de óleo e, em seguida, retire-a.
Verifique o nível de óleo na vareta (Figura 16).
Note: Se encher demasiado o motor com óleo, drene o óleo em excesso; consulte Drenagem do óleo do motor.

Se o nível de óleo estiver abaixo do limite superior, limpe a vareta com um pano limpo e repita os passos 3 a 5 até o nível de óleo de motor estar na marca do limite superior.
Insira a vareta no tubo de enchimento de óleo e aperte a vareta à mão até ficar bem segura.



O manípulo de presença do operador (Figura 19) controla o travão do volante e a ignição do motor.
Aperte o manípulo em direção à pega para fazer funcionar o motor.
Solte o manípulo para desligar o motor.
Utilize a válvula de corte de combustível (Figura 19) para controlar o fluxo de combustível para o motor.
Feche a válvula de corte de combustível quando transportar, fizer manutenção ou armazenar a máquina.
Abra a válvula de corte de combustível para o motor funcionar.
|
Modelo |
Largura de corte |
Largura do produto |
|---|---|---|
|
02616 |
457 mm |
574 mm |
Está disponível uma seleção de acessórios aprovados pela Toro para utilização com a máquina, para melhorar e expandir as suas capacidades. Contacte o seu distribuidor ou representante de assistência autorizado ou vá a www.https://www.toro.com/en-GB para obter uma lista de todos os engates e acessórios aprovados.
Para assegurar o desempenho ideal e certificação de segurança continuada da máquina, utilize sempre peças de substituição e acessórios genuínos Toro. As peças de substituição e acessórios fabricados por outros fabricantes podem ser perigosos e essa utilização anula a garantia.
Note: Determine os lados direito e esquerdo da máquina a partir da posição normal de utilização.
Desligue o motor, retire a chave (se equipada) e aguarde que todas as partes em movimento parem antes de sair da posição do operador. Deixe a máquina arrefecer antes de fazer ajustes, manutenção, limpeza ou a armazenar.
Familiarize-se com o funcionamento seguro do equipamento, com os comandos do utilizador e com os sinais de segurança.
Certifique-se de que todos os resguardos e dispositivos de segurança estão colocados e a funcionar corretamente.
Inspecione sempre a máquina para assegurar que o disco de corte, parafuso, espaçadores e retentor não estão gastos ou danificados.
Inspecione a área em que vai utilizar a máquina e remova todos os objetos que podem interferir no funcionamento da máquina ou que a máquina possa projetar.
Quando está a ajustar a altura de corte pode tocar no disco de corte em movimento, provocando ferimentos graves.
Substitua um escape defeituoso.
O combustível é extremamente inflamável e explosivo. Um incêndio ou explosão provocada por combustível pode resultar em queimaduras e danos materiais.
Para evitar que uma descarga de eletricidade estática provoque a ignição do combustível, coloque o contentor e/ou a máquina diretamente no chão antes de encher, não dentro de um veículo ou sobre um objeto.
Adicione ou drene combustível ao/do depósito de combustível no exterior, num espaço aberto, quando o motor estiver frio. Remova todo o combustível que se tenha derramado.
Encha o depósito de combustível no exterior, num espaço aberto, quando o motor estiver frio. Remova todo o combustível que se tenha derramado.
Não manuseie combustível quando estiver a fumar ou junto de uma chama aberta ou faíscas.
Não retire o tampão do combustível nem adicione combustível enquanto o motor estiver a trabalhar ou quente.
Se derramar combustível, não tente ligar o motor. Evite criar uma fonte de ignição até que os vapores do combustível se tenham dissipado.
Guarde o combustível num recipiente aprovado e mantenha-o fora do alcance das crianças.
Substitua, com segurança, a tampa do depósito de combustível e todos os recipientes de combustível.
O combustível pode ser prejudicial ou mesmo fatal quando ingerido. A exposição prolongada a vapores pode provocar lesões graves ou doenças.
Evite inalar vapores durante muito tempo.
Mantenha as mãos e rosto afastados do bico e abertura do depósito de combustível.
Mantenha o combustível afastado dos olhos e da pele.
| Tipo | Gasolina sem chumbo |
| Classificação mínima de octanas | 87 (EUA) ou 91 (pesquisa de octanas; fora dos EUA) |
| Etanol | Não superior a 10% de volume |
| Metanol | Nenhum |
| MTBE (éter-metil-tercio-butílico) | Inferior a 15% de volume |
| Óleo | Não adicione ao combustível |
Utilize apenas combustível limpo e fresco (com menos de 30 dias) de uma origem fiável.
Important: Para reduzir os problemas de arranque, adicione estabilizador/condicionador de combustível ao combustível novo conforme indicado pelo fabricante do estabilizador/condicionador do combustível.
Note: Consulte o manual do motor para obter informações adicionais.
Limpe a zona em redor da tampa do depósito de combustível e retire a tampa do depósito.
Encha o depósito de combustível com o combustível especificado, como se mostra na Figura 20.

Coloque a tampa do depósito de combustível.
Consulte Verificação do nível de óleo do motor.
Utilize vestuário adequado, incluindo proteção visual, calças compridas, calçado resistente antiderrapante e proteções para os ouvidos. Prenda cabelo comprido e não utilize vestuário solto ou joias pendentes.
Tenha total atenção durante a utilização da máquina. Não exerça qualquer atividade que provoque distração; caso contrário podem ocorrer ferimentos ou danos materiais.
Não utilize a máquina quando estiver doente, cansado ou se encontrar sob o efeito de álcool ou drogas.
Desengate o disco de corte e todas as embraiagens de tração antes de ligar o motor.
Ligue o motor de acordo com as instruções e com os pés bem afastados do disco de corte.
Não incline a máquina mais do que o necessário para ligar o motor, e levante apenas a peça que se encontra longe de si.
Desligue o motor, retire a chave (se equipada) e aguarde que todas as partes em movimento parem antes de sair da posição do operador. Deixe a máquina arrefecer antes de fazer ajustes, manutenção, limpeza ou a armazenar.
Quando soltar o controlo da presença do operador, o motor deve desligar e o disco de corte deve parar passados 3 segundos. Se não pararem de forma adequada, pare imediatamente de utilizar a máquina e contacte um representante de assistência autorizado.
Mantenha as pessoas, especialmente as crianças, e animais de estimação afastados da área de operação. Mantenha as crianças pequenas afastadas da área de operação e sob vigilância de um adulto responsável que não esteja a operar a máquina. Desligue a máquina se alguém entrar na área.
Opere a máquina apenas em condições de boa visibilidade e condições atmosféricas adequadas. Nunca opere a máquina quando existir a possibilidade de trovoadas.
A relva e as folhas molhadas podem provocar ferimentos graves se escorregar e tocar no disco de corte. Evite cortar em condições de humidade, se possível.
Tome todas as precauções adicionais necessárias quando se aproximar de esquinas sem visibilidade, arbustos, árvores ou outros objetos que possam obstruir a visibilidade.
Esteja atento a buracos, carreiras, elevações, pedras ou outros objetos ocultos. O terreno desnivelado pode fazer com que perca o equilíbrio ou a posição.
Se a máquina atingir um objeto ou começar a vibrar, pare imediatamente o motor, espere que todas as peças móveis parem e desligue o fio da vela antes de inspecionar a máquina para ver se está danificada. Efetue todas as reparações necessárias antes de retomar o funcionamento.
Nunca levante nem transporte a máquina enquanto o motor está a funcionar.
Se o motor tiver estado a trabalhar, vai estar quente e pode provocar-lhe queimaduras graves. Afaste-se do motor quente.
Os gases de exaustão contêm monóxido de carbono, que é letal se inalado. Nunca ligue o motor num espaço fechado.
Utilize apenas acessórios e engates aprovados pela Toro.
Os declives são um importante fator relacionado com acidentes com perda de controlo, o que pode resultar em ferimentos graves ou morte. Você é responsável pelo funcionamento seguro em declives. Operar a máquina em qualquer declive exige cuidado adicional. Antes de utilizar a máquina num declive, faça o seguinte:
Leia e compreenda as instruções relativas a declives no manual.
Avalie as condições no local no próprio dia para determinar se o declive é seguro para o funcionamento da máquina. Utilize o bom senso e capacidade crítica ao efetuar esta avaliação. Alterações no terreno, como humidade, podem afetar rapidamente o funcionamento da máquina num declive.
Certifique-se sempre de que está bem apoiado e segure firmemente nas pegas. Ande, nunca corra.
Em declives, apare na transversal, nunca para cima e para baixo.
Tome todas as precauções necessárias quando alterar a direção quando se encontrar numa inclinação.
Não corte a relva em inclinações demasiado pronunciadas.
Tenha muito cuidado ao fazer marcha-atrás ou puxar a máquina na sua direção.
Evite cortar relva molhada. A má colocação dos pés pode provocar um acidente por escorregar e cair.
Remova ou assinale obstáculos como valas, buracos, sulcos, lombas, pedras ou outros perigos escondidos. A relva alta pode esconder diversos obstáculos.
Corte com cuidado perto de depressões, valas ou bancos de areia.
Quando utilizar a máquina, mantenha sempre ambas as mãos na pega.
Ao cortar a partir do topo de um declive e necessitar de um maior alcance, utilize um cabo prolongado aprovado.

Rode a pega da válvula de corte de combustível na horizontal para abrir a válvula.
Rode a pega da válvula de corte de combustível na vertical para fechar a válvula.
Abra a válvula de corte do combustível; consulte Válvula de corte do combustível.
Feche o manípulo de presença do operador contra a pega.

Coloque o pé na plataforma e incline a máquina para si (Figura 23).

Enquanto segura o manípulo de presença do operador, puxe a alavanca do arranque manual com cordão.
Note: Se o cortador não arrancar após várias tentativas, contacte um representante de assistência autorizado ou distribuidor Toro autorizado.
| Intervalo de assistência | Procedimento de manutenção |
|---|---|
| Em todas as utilizações ou diariamente |
|
Para desligar o motor, solte o manípulo da presença do operador (Figura 24).
Important: Quando soltar o manípulo de presença do operador, tanto o motor como o disco de corte devem parar passados 3 segundos. Se não pararem de forma adequada, pare imediatamente de utilizar a máquina e contacte um representante de assistência autorizado ou distribuidor Toro autorizado.

Note: Se tiver montado na posição de pega inferior, 103,4 cm, use o batente para apoiar a pega na posição vertical

Para libertar a pega, levante a pega e rode o batente para a frente (Figura 25).
Para apoiar a pega, posicione a pega e rode o batente para trás.
| Intervalo de assistência | Procedimento de manutenção |
|---|---|
| Anualmente |
|
Examine a montagem do disco de corte sempre que substituir a linha de corte. Se a montagem do disco de corte estiver danificada, substitua-a imediatamente.
Retire o disco de corte, consulte Remoção do disco de corte.
Substitua as linhas de corte existentes com dois comprimentos iguais da nova linha de corte oposta uma à outra, como se mostra na Figura 26.

Instale o disco de corte; consulte Instalação do disco de corte.
Quando está a ajustar a altura de corte pode tocar no disco de corte, provocando ferimentos graves.
Desligue o motor e espere que todas as peças em movimento parem.
Use luvas enquanto manusear o disco de corte.
Se o motor tiver estado a trabalhar, o coletor vai estar quente e pode provocar-lhe queimaduras graves.
Afaste-se da panela quente.
Examine a montagem do disco de corte sempre que ajustar a altura de corte. Se a montagem do disco de corte estiver danificada, substitua-a imediatamente.
Retire o disco de corte; consulte Remoção do disco de corte.
Altere a posição dos espaçadores para ajustar a altura de corte, como se mostra na (Figura 27).
Note: Cada espaçador altera a altura de corte 6,3 mm.

Instale o disco de corte; consulte Instalação do disco de corte.
Examine a montagem do disco de corte sempre que remover o disco de corte. Se a montagem do disco de corte estiver danificada, substitua-a imediatamente.
Feche a válvula de corte do combustível; consulte Válvula de corte de combustível.
Desligue o cabo da vela de ignição.
Incline a máquina para o lado com a vareta para baixo.
Important: Incline sempre a máquina para o lado com a vareta alinhada para baixo. Se a máquina for inclinada noutra direção, o óleo pode encher o comando das válvulas, exigindo, pelo menos, 30 minutos para drenar.

Registe a posição dos espaçadores.

Utilize a chave fornecida com a máquina para remover o disco de corte rodando o parafuso no sentido contrário ao dos ponteiros do relógio (Figura 29), guardando todas as ferragens de montagem.
Important: Use óculos de segurança e luvas resistentes aos cortes ao retirar o disco de corte.
Important: Precisará de uma chave de aperto para instalar a montagem do disco de corte de forma adequada. Se não tiver uma chave de aperto ou se não se sentir à vontade para executar este procedimento, contacte um representante de assistência autorizado ou distribuidor Toro autorizado.
Monte o retentor, disco de corte, espaçadores e espaçador cónico na hélice com o parafuso (Figura 30).
Important: Monte sempre o espaçador cónico diretamente abaixo da hélice e o retentor sob a cabeça do parafuso.

Aperte o parafuso com 25 N∙m.
Note: Um parafuso com um torque de 25 N·m é muito apertado. Enquanto segura na hélice, coloque o seu peso por trás da chave e aperte o parafuso.
Incline a máquina para cima, ligue o fio da vela de ignição à vela e abra a válvula de corte de combustível.
Coloque o aro do batente sob o topo para aumentar a manipulação da máquina.

Inspecione a área em que vai utilizar a máquina e remova todos os objetos que a máquina possa projetar.
Evite atingir objetos sólidos com a linha de corte. Nunca corte a relva deliberadamente por cima de um objeto.
Se a máquina atingir um objeto ou começar a vibrar, pare imediatamente o motor, desligue o fio da vela e inspecione a máquina para ver se está danificada.
Para um melhor desempenho, instale novas linhas de corte antes de começar a estação de corte.
Substitua a linha de corte sempre que necessário por uma linha de corte de substituição da Toro.
Certifique-se de que a linha de corte substituída tem o mesmo comprimento que a linha de corte intacta.
Corte apenas cerca de um terço da lâmina de relva de cada vez. Não corte abaixo da definição mais alta (30 mm), a menos que a relva seja escassa ou quando se está no fim do outono e a relva começa a crescer mais devagar; consulte Ajuste da altura de corte.
Não corte relva com mais de 15 cm de comprimento porque a máquina pode ligar ou o motor pode ir abaixo.
A relva e as folhas molhadas tendem a acumular-se no jardim e podem fazer com a máquina encrave e o motor vá abaixo. Corte apenas quando estiver seca, se possível.
A relva e as folhas molhadas podem provocar ferimentos graves se escorregar e tocar na linha de corte.
Corte apenas quando estiver seca, se possível.
Tenha em atenção o perigo de incêndio em condições muito secas, siga todos os avisos locais de incêndio e mantenha a máquina sem relva seca e detritos.
Se, depois de cortar, o aspeto do relvado não for satisfatório, tente fazer o seguinte:
Inspecione a unidade de corte e/ou substitua a linha de corte.
Caminhe mais devagar quando estiver a cortar.
Aumente a altura de corte na máquina.
Corte a relva com mais frequência.
Sobreponha as filas de corte em vez de cortar uma fila inteira em cada passagem.
Depois de cortar o relvado certifique-se de que metade do relvado se vê através da cobertura de folhas cortadas. Pode ter que passar mais de que uma vez por cima das folhas.
Cortar a relva com mais de 15 cm não é recomendado. Se a cobertura de folhas for demasiado espessa, a máquina pode encravar e fazer com que o motor vá abaixo.
Reduza a velocidade de corte se a máquina não cortar as folhas suficientemente finas.
Desligue o motor, retire a chave (se equipada) e aguarde que todas as partes em movimento parem antes de sair da posição do operador. Deixe a máquina arrefecer antes de fazer ajustes, manutenção, limpeza ou a armazenar.
Elimine todos os vestígios de relva e detritos da máquina de modo a evitar qualquer risco de incêndio. Limpe as zonas que tenham óleo ou combustível derramado.
Nunca guarde a máquina ou o recipiente de combustível num local onde existe uma fonte de fogo, faísca ou luz piloto, como junto de uma caldeira ou outros eletrodomésticos.
Fixe a máquina.
Tome todas as precauções necessárias quando colocar e retirar a máquina de um atrelado.
| Intervalo de assistência | Procedimento de manutenção |
|---|---|
| Após cada utilização |
|
A máquina pode deslocar material de debaixo da caixa da máquina.
Proteja devidamente os olhos.
Mantenha-se na posição de operação (atrás da pega).
Não autorize a presença de pessoas na área.
Incline a máquina para o lado com a vareta para baixo.
Important: Incline sempre a máquina para o lado com a vareta alinhada para baixo. Se a máquina for inclinada noutra direção, o óleo pode encher o comando das válvulas, exigindo, pelo menos, 30 minutos para drenar.
Utilize uma escova ou ar comprimido para remover relva e detritos da cobertura do escape, do resguardo superior e das áreas da plataforma envolventes.
Limpe o sistema de refrigeração; retire aparas de relva, detritos ou sujidade das aletas de arrefecimento do ar do motor e do arrancador.
Note: Limpe com maior frequência o sistema de arrefecimento em condições com maior sujidade.
Note: Determine os lados direito e esquerdo da máquina a partir da posição normal de utilização.
| Intervalo de assistência | Procedimento de manutenção |
|---|---|
| Após as pimeiras 5 horas |
|
| Em todas as utilizações ou diariamente |
|
| Após cada utilização |
|
| A cada 25 horas |
|
| A cada 100 horas |
|
| Anualmente |
|
Desligue o motor, retire a chave (se equipada) e aguarde que todas as partes em movimento parem antes de sair da posição do operador. Deixe a máquina arrefecer antes de fazer ajustes, manutenção, limpeza ou a armazenar.
Desligue o fio da vela da ignição da vela da ignição antes de executar qualquer procedimento de manutenção.
Use luvas e proteção visual durante a manutenção da máquina.
Examine regularmente a máquina e substitua as partes gastas ou danificadas. Utilize apenas os elementos de corte adequados para utilização à velocidade de funcionamento da máquina.
Nunca altere os dispositivos de segurança. Verifique regularmente o funcionamento adequado.
Inclinar a máquina pode fazer com que o combustível derrame. O combustível é inflamável, explosivo e pode provocar ferimentos pessoais. Ponha o motor a funcionar até se gastar o combustível ou remova o combustível com uma bomba manual; nunca com um sifão.
Mantenha todos os fixadores firmemente apertados para se assegurar de que a máquina funcionará em perfeitas condições.
Não altere os valores do regulador do motor, nem acelere o motor excessivamente.
Para assegurar um desempenho ótimo da máquina, utilize apenas peças de substituição e acessórios genuínos Toro. As peças de substituição e acessórios fabricados por outros fabricantes podem ser perigosos e essa utilização anula a garantia.
Inclinar a máquina pode fazer com que o combustível derrame. O combustível é inflamável, explosivo e pode provocar ferimentos pessoais.
Ponha o motor a funcionar até se gastar a gasolina ou remova a gasolina com uma bomba manual; nunca com um sifão.
Important: Incline sempre a máquina para o lado com a vareta alinhada para baixo. Se a máquina for inclinada com a vareta alinhada para cima, o óleo pode encher o comando das válvulas, exigindo, pelo menos, 30 minutos para drenar.
Desligue o motor e espere que todas as peças em movimento parem.
Leve a máquina para uma superfície nivelada.
Desligue o fio da vela da ignição da vela da ignição (Figura 32).

Feche a válvula de corte do combustível; consulte Válvula de corte do combustível.
Important: Se estiver a reparar a máquina, esvazie o depósito de combustível.
Depois de efetuar o(s) procedimento(s) de manutenção, abra a válvula de combustível e ligue o fio da vela de ignição à vela.
| Intervalo de assistência | Procedimento de manutenção |
|---|---|
| Anualmente |
|
Pressione as patilhas do trinco na parte superior da tampa do filtro de ar (Figura 33).

Retire a tampa.
Retire o elemento do filtro (Figura 33).
Verifique o elemento de papel do filtro de ar.
Se o filtro estiver danificado, molhado com óleo ou combustível, e excessivamente sujo, substitua-o.
Se o filtro estiver sujo, bata com ele numa superfície dura várias vezes ou sopre ar comprimido a menos de 2,07 bar pelo lado do filtro que está voltado para o motor.
Note: Não escove a sujidade do filtro; ao escovar força a sujidade a entrar nas fibras.
Limpe a base e a tampa do filtro de ar com um pano humedecido. Não limpe a sujidade para a conduta do ar.
Introduza o filtro na base do filtro de ar.
Coloque a tampa.
Classificação de serviço API: SJ ou superior
Viscosidade do óleo: óleo 10W-30
| Intervalo de assistência | Procedimento de manutenção |
|---|---|
| Em todas as utilizações ou diariamente |
|
Prepare a máquina para manutenção; consulte Preparação para a manutenção.
Retire a vareta do tubo de enchimento de óleo e limpe-a com um pano limpo.
Insira a vareta no tubo de enchimento de óleo e, em seguida, retire-a.
Important: Não enrosque a vareta no tubo de enchimento.
Verifique o nível de óleo na vareta.

Se o nível de óleo estiver próximo ou abaixo da marca do limite inferior da vareta (Figura 34), despeje lentamente o óleo do motor especificado no tubo de enchimento de óleo (Figura 35) e aguarde 3 minutos.

Limpe a vareta com um pano limpo e repita os passos 3 a 5 até o nível de óleo de motor estar na marca do limite superior.
Insira a vareta no tubo de enchimento de óleo e aperte a vareta à mão até ficar bem segura.
| Intervalo de assistência | Procedimento de manutenção |
|---|---|
| Após as pimeiras 5 horas |
|
| A cada 25 horas |
|
Se o motor estiver frio, faça-o funcionar 1 a 2 minutos para aquecer o óleo.
Certifique-se de que o depósito de combustível contém pouco ou nenhum combustível de forma a não haver fuga de combustível quando colocar a máquina de lado.
Prepare a máquina para manutenção; consulte Preparação para a manutenção.
Retire a vareta do tubo de enchimento de óleo e limpe-a com um pano limpo.
Alinhe um recipiente de drenagem junto à plataforma no lado do tubo de enchimento de óleo da máquina e no chão (Figura 35).

Incline a máquina para o lado com o tubo de enchimento de óleo para baixo para drenar o óleo para fora do tubo de enchimento.
Important: Incline sempre a máquina para o lado com a vareta alinhada para baixo. Se a máquina for inclinada noutra direção, o óleo pode encher o comando das válvulas, exigindo, pelo menos, 30 minutos para drenar.
Volte a colocar a máquina para a posição de funcionamento.
Limpe os salpicos de óleo na máquina.
Note: Deverá eliminar o óleo usado de forma adequada num centro de reciclagem local.
Capacidade de óleo: 0,40 litros
Verta lentamente o óleo do motor especificado para o tubo de enchimento de óleo (Figura 35) e aguarde 3 minutos.

Insira a vareta no tubo de enchimento de óleo e, em seguida, retire-a.
Important: Não enrosque a vareta no tubo de enchimento.
Verifique o nível de óleo na vareta (Figura 38).
Note: Se encher demasiado o motor com óleo, drene o óleo em excesso; consulte Drenagem do óleo do motor.

Se o nível de óleo estiver abaixo do limite superior, limpe a vareta com um pano limpo e repita os passos 1 a 3 até o nível de óleo de motor estar na marca do limite superior.
Insira a vareta no tubo de enchimento de óleo e aperte a vareta à mão até ficar bem segura.
| Intervalo de assistência | Procedimento de manutenção |
|---|---|
| A cada 100 horas |
|
Especificação da vela: Champion RN9YC ou equivalente.
Prepare a máquina para manutenção; consulte Preparação para a manutenção.
Limpe em torno da vela.
Retire a vela da cabeça do cilindro.
Important: Substitua uma vela que se encontre partida, danificada ou suja. Não limpe os elétrodos porque as limalhas podem entrar no cilindro e danificar o motor.
Ajuste a folga (Figura 39) existente entre o elétrodo central e o elétrodo lateral para 0,76 mm.

Coloque a vela de ignição e a junta.
Aperte o tampão com 20 N·m.
Ligue o fio à vela de ignição.
Desligue o motor, retire a chave (se equipada) e aguarde até que todo o movimento pare antes de sair da posição do operador. Deixe a máquina arrefecer antes de fazer ajustes, manutenção, limpeza ou a armazenar.
Espere que o motor arrefeça antes de armazenar a máquina em ambiente fechado.
Espere que o motor arrefeça antes de armazenar a máquina em ambiente fechado.
Nunca guarde a máquina ou o recipiente de combustível num local onde existe uma fonte de fogo, faísca ou luz piloto, como junto de uma caldeira ou outros eletrodomésticos.
Remova todos os vestígios de relva, folhas e detritos do escape e compartimento do motor, de modo a evitar qualquer risco de incêndio.
Os vapores do combustível podem explodir.
Não guarde o combustível mais do que 30 dias.
Não guarde a máquina num espaço fechado perto de uma fonte de calor.
Deixe o motor arrefecer antes de o guardar.
Na último abastecimento de gasolina do ano, adicione estabilizador de combustível ao combustível conforme indicado pelo fabricante do motor.
Ponha a máquina a trabalhar até que o motor pare por falta de combustível.
Ligue o motor novamente e deixe-o trabalhar até parar. Quando já não se pode ligar o motor, o sistema de combustível está vazio.
Desligue o cabo da vela de ignição.
Retire a vela de ignição, adicione 30 ml de óleo através do orifício da vela de ignição e puxe o cabo do arrancador lentamente várias vezes para distribuir óleo pelo cilindro.
Instale a vela e aperte com 20 N·m.
Inspecione se o disco de corte apresenta sinais de desgaste ou danos. Se o disco de corte estiver danificado ou se a linha de corte estiver gasta, substitua.
Aperte todas as porcas, cavilhas e parafusos.
Guarde a máquina num local fresco, limpo e seco.
| Problem | Possible Cause | Corrective Action |
|---|---|---|
| O motor não arranca. |
|
|
| O motor arranca dificilmente ou perde potência. |
|
|
| O motor trabalha de forma irregular. |
|
|
| O cortador ou o motor vibra de forma excessiva. |
|
|
| Existe um padrão de corte irregular. |
|
|