El Kit de pistola de fumigación es un apero para un vehículo de fumigación del césped, y está diseñado para ser usado por operadores profesionales contratados en aplicaciones comerciales. Está diseñado principalmente para fumigar césped bien mantenido en parques, campos de golf, campos deportivos y zonas verdes comerciales.
Puede ponerse en contacto directamente con Toro en www.Toro.com si desea materiales de formación y seguridad, información sobre accesorios, localizar a un distribuidor o registrar su producto.
Asegúrese de que la máquina está vacía de fluidos. Si se han utilizado productos químicos en la máquina, enjuague el sistema a fondo con agua limpia y drene el agua; consulte las instrucciones del Manual del operador de su vehículo.
Desconecte el terminal del cable negativo del borne de la batería.
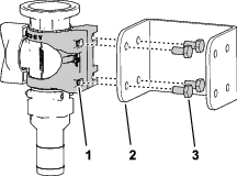
Piezas necesarias en este paso:
| Gancho de la manguera | 1 |
| Contratuerca con arandela prensada (3/8 pulgada) | 4 |
| Contratuerca con arandela prensada (5/16") | 4 |
| Perno de cuello cuadrado (3/8" x 3/4") | 4 |
| Perno de cuello cuadrado (5/16" x 1") | 4 |
| Abrazadera en R | 2 |
| Soporte de la pistola de fumigación | 1 |
Piezas necesarias en este paso:
| Tapa hembra | 2 |
| Válvula de cierre | 2 |
Retire la horquilla de retención que sujeta el actuador al distribuidor de la válvula de sección o la válvula de agitación.
Note: Apriete las dos patas de la horquilla mientras la empuja hacia abajo.
Note: Guarde el actuador y la horquilla de retención.

Retire el actuador de la válvula multivía.
Retire las horquillas de retención que sujetan el conjunto de válvulas de desvío, la tapa terminal, el acoplamiento y la manguera, como se muestra en la Figura 4.
Note: No se utilizará la tapa terminal, pero guarde la junta tórica de la tapa.

Gire el conjunto de válvulas de desvío 180 grados, según se muestra en Figura 5.

Instale el conjunto de válvulas de desvío, la tapa hembra, las juntas tóricas, la válvula de cierre, el acoplamiento y la manguera con las horquillas de retención que retiró anteriormente, tal y como se muestra en la Figura 6.

Retire la tapa terminal del distribuidor y sustitúyala por una tapa hembra. Fije la tapa con la horquilla de retención.

Retire la horquilla de retención que sujeta la manguera al extremo del distribuidor.

Instale la válvula de cierre en la manguera y en la máquina. Sujétela con las horquillas de retención.

Piezas necesarias en este paso:
| Consulte la Tabla de piezas | 0 |
| Pieza | 5800 | 1750 | Workman | |||||
|---|---|---|---|---|---|---|---|---|
| Cant. | 2023 y anteriores | 2024 y posteriores sin GeoLink | 2024 y posteriores con GeoLink | 2023 y anteriores | 2024 y posteriores sin GeoLink | 2024 y posteriores con GeoLink | 2023 y anteriores | 2024 y posteriores |
| Válvula de control | 1 | 1 | 1 | 1 | 1 | |||
| Válvula de control (con tapa terminal bridada) | 1 | 1 | 1 | |||||
| Manija de la válvula de control | 1 | 1 | 1 | 1 | 1 | 1 | 1 | 1 |
| Acoplamiento recto | 1 | 1 | 1 | 1 | 1 | 1 | 1 | 1 |
| Soporte de la válvula | 1 | 1 | 1 | 2 | 2 | 2 | ||
| Escuadra de la válvula de control (2023) | 1 | |||||||
| Escuadra de la válvula de control (con orificio) | 1 | 1 | ||||||
| Escuadra de la válvula de control(sin orificio) | 1 | 1 | 1 | |||||
| Válvula de cierre | 1 | 1 | 2 | 1 | 1 | |||
| Codo de 90 grados | 1 | 1 | ||||||
| Acoplamiento en T | 1 | |||||||
| Acoplamiento en Tdel distribuidor | 1 | 1 | 1 | 1 | ||||
| Junta de cierre | 1 | 1 | 1 | |||||
| Perno (M6 × 12 mm) | 4 | 8 | 4 | 8 | 8 | 8 | ||
| Perno de cuello cuadrado (¼"-20 × ⅝") | 2 | 2 | ||||||
| Perno de cabeza hexagonal (¼"-20 × ⅝") | 4 | 2 | 2 | |||||
| Contratuerca (¼") | 4 | 2 | 2 | 2 | 2 | |||
Monte la manija verde y el acoplamiento recto en la válvula de control.

Retire la abrazadera para bridas que sujeta la tapa terminal y el racor al orificio del manómetro.

Retire el racor de la tapa terminal.
Instale el conjunto de la válvula de control.
Instale el racor en el orificio abierto del acoplamiento de 90 grados.
Note: En el Multi Pro 1750 y el Multi Pro WM, el orificio del lateral del acoplamiento de 90 grados se encuentra en la parte delantera (no ilustrada) del acoplamiento.
Conecte la manguera de suministro del carrete de la manguera a la válvula de control con una abrazadera.
Desconecte el conector hembra de 3 vías del transductor de presión.

Retire la abrazadera para bridas que sujeta el transductor de presión al acoplamiento de 90° y retire el transductor, la junta y la abrazadera.

Retire la abrazadera para bridas que sujeta el acoplamiento de 90° al acoplamiento de 90° con conector para el tubo del sensor, y retire el acoplamiento de 90°, la junta y la abrazadera.
Monte el soporte de la válvula en la válvula de control, como se muestra en la Figura 14, A.

Sujete el soporte de la válvula a la válvula de control con el tornillo con arandela prensada (N.º 6), y apriete el tornillo a mano (Figura 14, B).
Monte el soporte de la válvula en la escuadra de la válvula de control con los 4 pernos (6 × 12 mm) y 4 arandelas planas; apriete los pernos a 10-12 N·m.

Alinee la brida del acoplamiento en T con la brida de la válvula de control.

Sujete provisionalmente el acoplamiento en T a la válvula de control con una junta y una abrazadera para bridas.
Alinee la brida del transductor de presión con la brida del acoplamiento en T.

Monte el transductor de presión en el acoplamiento en T con una junta y una brida de fijación, y apriete la brida a mano (Figura 17).
Alinee la brida del acoplamiento de T con la brida del acoplamiento de 90° con conector para el tubo del sensor.

Ensamble provisionalmente el acoplamiento de T y el acoplamiento de 90° con una junta y una abrazadera para bridas.
Note: Gire la escuadra de la válvula de control según sea necesario hasta que esté enrasada con la superficie del soporte de la válvula.
Usando la escuadra de la válvula de control como plantilla, marque la posición de los orificios de la escuadra en la superficie del soporte del distribuidor.

Retire la abrazadera, la junta y el acoplamiento en T con brida del codo de 90° con conector para el tubo del sensor.
Señale con un punzón las posiciones que marcó en el soporte del distribuidor en el paso 3.
Perfore 4 taladros de 6 mm en el soporte del distribuidor en las marcas que hizo en el paso 5.

Alinee la brida del acoplamiento de T con la brida del acoplamiento de 90° con conector para el tubo del sensor.

Ensamble provisionalmente el acoplamiento de T y el acoplamiento de 90° con una junta y una abrazadera para bridas.
Monte la escuadra de la válvula de control en el soporte del distribuidor con 4 pernos con arandela prensada (¼" × ⅝") y 4 tuercas con arandela prensada (6 mm); apriete los pernos a 10-12 N·m.
Apriete a mano la abrazadera para bridas que sujeta la válvula de control y el acoplamiento en T y la abrazadera para bridas que sujeta el acoplamiento en T al codo de 90° con conector para el tubo del sensor.
Conecte el conector hembra de 3 vías del transductor de presión.

Monte la manija y el acoplamiento recto en la válvula de control.

Monte el soporte de la válvula en la válvula de control, como se muestra en la Figura 14, A.

Sujete el soporte de la válvula a la válvula de control con el tornillo con arandela prensada (N.º 6), y apriete el tornillo a mano (Figura 14, B).
Sujete el conjunto de la válvula de control a la escuadra con 4 pernos (M6)

Retire las fijaciones existentes como se muestra en la Figura 26.

Sujete la escuadra a la máquina usando las fijaciones existentes.

Sujete la parte superior de la escuadra usando 4 pernos (M6).

Instale el acoplamiento en T del distribuidor en la válvula de control.

Sujete el conjunto a la escuadra con 4 pernos (M6).

Monte el soporte de la válvula en la válvula de cierre y sujételo a la escuadra usando 4 pernos (M6).




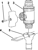
Piezas necesarias en este paso:
| Conjunto de pistola de fumigación | 1 |
| Acoplamiento dentado recto | 1 |
| Abrazadera | 2 |
| Manguera | 1 |
Note: Utilice cinta PTFE para sellar los acoplamientos de rosca cónica.
Sujete el acoplamiento dentado recto al extremo abierto de la manguera de suministro del carrete de la manguera con una abrazadera.

Sujete el extremo de la manguera a la válvula de control con una abrazadera.

Enrolle la manguera sobrante alrededor del gancho del depósito, y coloque la pistola de fumigación en el soporte.
Conecte el cable negativo a la batería.
Calibre el conjunto de válvulas de desvío; consulte el Manual del operador de su máquina.
El fluido bajo presión puede penetrar en la piel y causar lesiones.
Mantenga el cuerpo y las manos alejados de boquillas que liberan fluido a alta presión.
No dirija el fumigador contra personas o animales.
Asegúrese de que todas las mangueras y los tubos de fluidos están en buenas condiciones, y que todos los acoplamientos y conectores están apretados, antes de aplicar presión al sistema.
Utilice un cartón o un papel para buscar fugas.
Alivie de manera segura toda presión en el sistema antes de realizar trabajo alguno en el mismo.
Busque atención médica inmediatamente si el fluido penetra en la piel.
Los líquidos y productos químicos calientes también pueden causar quemaduras u otros daños.
Important: Bajo ciertas condiciones, el calor que proviene del motor, del radiador y del tubo de escape puede dañar el césped cuando se utiliza el fumigador en modo estacionario. Los modos estacionarios incluyen la agitación del depósito, la fumigación manual o el uso de un brazo manual.
Tome las siguientes precauciones:
Evite la fumigación estacionaria en condiciones de mucho calor o de muy baja humedad, puesto que el césped puede sufrir más estrés durante estos periodos.
Evite estacionar sobre el césped durante actividades de fumigación estacionaria. Estacione en un camino para vehículos siempre que sea posible.
Minimice el tiempo durante el cual la máquina recorre una zona de césped determinada. Tanto el tiempo como la temperatura afectan al grado de posible daño al césped.
Ponga la velocidad del motor en el ajuste más bajo posible para obtener la presión y el caudal deseados. De esta forma se minimiza el calor generado y la velocidad del aire del ventilador de refrigeración.
Deje que el calor se escape hacia arriba desde el compartimento del motor elevando los conjuntos del protector del motor/asiento durante la operación estacionaria, en lugar de obligarlo a salir por debajo del vehículo. Consulte en su Manual del operador la manera de elevar el conjunto del asiento.
Note: Coloque una manta antitérmica debajo del vehículo durante la operación estacionaria si desea obtener protección adicional contra el calor. Póngase en contacto con su Distribuidor Autorizado Toro para adquirir un kit de manta antitérmica Toro para fumigadores de césped.
Pare la máquina, desactive los brazos y ponga el freno de estacionamiento.
Si conduce mientras utiliza el fumigador manual podría perder el control, con resultado de lesiones o muerte. No utilice el fumigador manual mientras conduce.
En la parte trasera de la máquina, asegúrese de que está puesto el seguro del gatillo de la pistola de fumigación.
Gire la palanca verde de la válvula de control 90 grados.
En el puesto del operador, encienda la bomba.
Ponga el brazo principal en posición de ACTIVADO.
Ajuste el motor a la velocidad deseada, luego active el bloqueo de la velocidad en punto muerto del motor.
Important: No utilice una presión de más de 10,34 bar con el fumigador manual.
Gire la palanca verde de la válvula de control 90 grados.
Dirija la boquilla de la pistola de fumigación a una zona en la que la fumigación no suponga problemas, quite el seguro del gatillo y apriete el gatillo hasta vaciar la manguera de todo el fluido restante, luego ponga el seguro del gatillo.
Vuelva a colocar la pistola de fumigación en el soporte.
Vuelva a poner el motor en velocidad de ralentí.
Pare la bomba.
Important: Asegúrese de limpiar la pistola de fumigación con agua limpia y fresca durante su rutinaria de limpieza diaria (consulte el Manual del operador del fumigador). Una falta de limpieza correcta de la pistola de fumigación puede degradar el rendimiento y la fiabilidad de la pistola de fumigación.
Utilice el interruptor de caudal para ajustar la presión de fumigación que desee.