Le kit lance de pulvérisation est un accessoire pour véhicule pulvérisateur destiné auxutilisateurs professionnels et temporaires employés à des applications professionnelles. Il est principalement conçu pour la pulvérisation des pelouses entretenues régulièrement dans les parcs, les terrains de golf, les terrains de sport et les espaces verts professionnels.
Vous pouvez contacter Toro directement sur le site www.Toro.com pour tout renseignement concernant la sécurité des produits, pour vous procurer du matériel de formation, des renseignements sur les accessoires, pour trouver un concessionnaire ou pour enregistrer votre produit.
Vérifiez que la machine ne contient aucun liquide. Si la machine a été utilisée avec des produits chimiques, rincez soigneusement le système à l'eau propre, puis vidangez l'eau ; voir les instructions du Manuel de l'utilisateur du véhicule.
Débranchez la borne négative de la batterie.
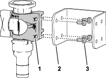
Pièces nécessaires pour cette opération:
| Crochet de tuyau | 1 |
| Contre-écrou à embase (⅜") | 4 |
| Contre-écrou à embase (5/16") | 4 |
| Boulon de carrosserie (⅜" x ¾") | 4 |
| Boulon de carrosserie (5/16" x 1") | 4 |
| Collier en R | 2 |
| Support de pistolet pulvérisateur | 1 |
Pièces nécessaires pour cette opération:
| Bouchon femelle | 2 |
| Vanne de coupure | 2 |
Retirez l'étrier qui fixe l'actionneur à la valve du collecteur pour la vanne de section ou la vanne d'agitation.
Note: Rapprochez les 2 jambes de l'étrier de fixation tout en le poussant vers le bas.
Note: Conservez l'actionneur et l'étrier de fixation.

Déposez l'actionneur de la valve du collecteur.
Déposez les étriers de fixation du bloc de réglage de dérivation, le bouchon d'extrémité et l'ensemble raccord et flexible, comme montré à la Figure 4.
Note: Le bouchon d'extrémité ne servira pas, mais laissez le joint torique qui se trouve dessus.

Tournez le bloc de réglage de dérivation de 180 degrés, comme montré à la Figure 5.

Montez le bloc de réglage de dérivation, le bouchon femelle, les joints toriques, la vanne de coupure et l'ensemble raccord et flexible au moyen des étriers de fixation retirés précédemment, comme montré à la Figure 6.

Retirez le bouchon à l'extrémité du collecteur et remplacez-le par un bouchon femelle. Fixez le bouchon en place avec l'étrier.

Retirez l'étrier qui fixe le flexible à l'extrémité du collecteur.

Montez la vanne de coupure sur le flexible et la machine. Fixez-la en place avec les étriers.

Pièces nécessaires pour cette opération:
| Voir le tableau des pièces | 0 |
| Pièce | 5800 | 1750 | Workman | |||||
|---|---|---|---|---|---|---|---|---|
| Qté | Jusqu'à 2023 compris | 2024 et après sans GeoLink | 2024 et après avec GeoLink | Jusqu'à 2023 compris | 2024 et après sans GeoLink | 2024 et après avec GeoLink | Jusqu'à 2023 compris | 2024 et après |
| Vanne de commande | 1 | 1 | 1 | 1 | 1 | |||
| Vanne de commande (avec bouchon d'extrémité à bride) | 1 | 1 | 1 | |||||
| Poignée à oreilles de la vanne de commande | 1 | 1 | 1 | 1 | 1 | 1 | 1 | 1 |
| Raccord droit | 1 | 1 | 1 | 1 | 1 | 1 | 1 | 1 |
| Support de vanne | 1 | 1 | 1 | 2 | 2 | 2 | ||
| Patte de fixation de vanne de commande (2023) | 1 | |||||||
| Patte de fixation de vanne de commande (avec trou) | 1 | 1 | ||||||
| Support de vanne de commande(sans trou) | 1 | 1 | 1 | |||||
| Robinet d'arrivée de carburant | 1 | 1 | 2 | 1 | 1 | |||
| Raccord coudé à 90° | 1 | 1 | ||||||
| Raccord en T | 1 | |||||||
| Raccord en T de collecteur | 1 | 1 | 1 | 1 | ||||
| Collier de joint | 1 | 1 | 1 | |||||
| Boulon (M6 x 12 mm) | 4 | 8 | 4 | 8 | 8 | 8 | ||
| Boulon de carrosserie (¼"-20 x ⅝") | 2 | 2 | ||||||
| Boulon à tête hexagonale (¼"-20 x ⅝") | 4 | 2 | 2 | |||||
| Contre-écrou (¼") | 4 | 2 | 2 | 2 | 2 | |||
Montez la poignée à oreilles verte et le raccord droit sur la vanne de commande.

Détachez le collier à bride qui fixe le bouchon d'extrémité et le raccord d'accouplement à la prise du manomètre.

Déposez le raccord d'accouplement du bouchon d'extrémité.
Montez la vanne de commande.
Insérez le raccord d'accouplement dans l'orifice libre du raccord à 90 degrés.
Note: La prise dans le côté du raccord à 90 degrés du Multi Pro 1750 et du Multi Pro WM se trouve à l'avant (non représenté) du raccord.
Raccordez le flexible d'alimentation du dévidoir à la vanne de commande au moyen d'un collier.
Débranchez le connecteur à 3 douilles du transducteur de pression.

Retirez le collier à bride qui fixe le transducteur de pression au raccord à 90° et déposez le transducteur, le joint et le collier à bride.

Retirez le collier à bride qui fixe le raccord à 90° au raccord à 90° doté d'un connecteur pour le tube de détection, et déposez le raccord à 90°, le joint et le collier à bride.
Assemblez le support de vanne sur la vanne de commande, comme montré à la Figure 14.

Fixez le support de montage sur la vanne de commande à l'aide d'une vis à embase (nº 6), puis serrez la vis à la main (B de Figure 14).
Montez le support de vanne sur la patte de fixation de la vanne de commande à l'aide de 4 boulons (6 x 12 mm) et 4 rondelles plates ; serrez les boulons à un couple de 10 à 12 N·m.

Alignez la bride du raccord en T sur la bride de la vanne de commande.

Fixez légèrement le raccord en T sur la vanne de commande avec un joint et un collier à bride.
Alignez la bride du transducteur de pression sur la bride du raccord en T.

Montez le transducteur de pression sur le raccord en T à l'aide du collier à bride et serrez le collier à la main (Figure 17).
Alignez la bride du raccord en T sur la bride du raccord à 90° doté d'un connecteur pour le tube de détection.

Fixez légèrement le raccord en T et le raccord à 90° avec un joint et un collier à bride.
Note: Tournez la patte de fixation de la vanne de commande autant que nécessaire pour qu'elle soit au même niveau que la surface du support de vanne.
En vous servant de la patte de fixation de la vanne de commande comme gabarit, repérez l'emplacement des trous de la patte sur la surface du support du collecteur.

Retirez le collier, le joint et le raccord en T avec la bride du raccord à 90° doté d'un connecteur pour le tube de détection.
Marquez au pointeau les repères sur le support de collecteur que vous avez effectués à l'opération 3.
Percez 4 trous de 6 mm dans le support de collecteur aux emplacements marqués au pointeau à l'opération 5.

Alignez la bride du raccord en T sur la bride du raccord à 90° doté d'un connecteur pour le tube de détection.

Fixez légèrement le raccord en T et le raccord à 90° avec un joint et un collier à bride.
Fixez la patte de fixation de la vanne de commande au support du collecteur à l'aide de 4 boulons à tête hexagonale (¼" x ⅝") et de 4 contre-écrous à embase (6 mm) ; serrez les boulons à un couple de 10 à 12 N·m.
Serrez à la main le collier à bride qui fixe la vanne de commande et le raccord en T, et le collier à bride qui fixe le raccord en T au raccord à 90° doté d'un connecteur pour le tube de détection.
Branchez le connecteur à 3 douilles du transducteur de pression.

Fixez la vanne de commande sur la patte de fixation avec 4 boulons (M6)

Retirez les fixations existantes, comme montré à la Figure 26.

Fixez la patte de fixation sur la machine avec les fixations existantes.

Fixez le haut de la patte de fixation avec 4 boulons (M6).

Montez le raccord en T du collecteur sur la vanne de commande.

Fixez l'ensemble sur la patte de fixation avec 4 boulons (M6).

Montez le support sur la vanne de coupure et fixez-le à la patte de fixation avec 4 boulons (M6).




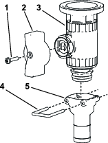
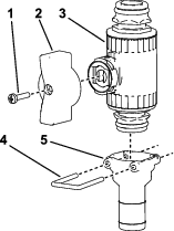
Pièces nécessaires pour cette opération:
| Pistolet-pulvérisateur | 1 |
| Raccord cannelé droit | 1 |
| Collier | 2 |
| Flexible | 1 |
Note: Utilisez du ruban PTFE pour étanchéifier les raccords filetés de tuyaux coniques.
Fixez le raccord cannelé droit à l'extrémité ouverte du flexible d'alimentation sur le dévidoir au moyen d'un collier.

Fixez l'extrémité du flexible sur la vanne de commande avec un collier.

Enroulez l'excédent de flexible autour du crochet sur la cuve, et rangez le pistolet-pulvérisateur dans son support.
Connectez le câble négatif de la batterie à la batterie.
Étalonnez le bloc de réglage de dérivation ; voir le Manuel de l'utilisateur de la machine.
Les liquides sous pression peuvent transpercer la peau et causer des blessures graves.
N'approchez pas les mains ou d'autres parties du corps des gicleurs d'où sort du liquide sous haute pression.
Ne dirigez jamais le pistolet pulvérisateur vers des personnes ou des animaux.
Vérifiez l'état de tous les flexibles et conduits de liquide, ainsi que le serrage de tous les raccords et branchements avant de mettre le circuit sous pression.
Utilisez un morceau de papier ou de carton pour détecter les fuites.
Dépressurisez soigneusement le système avant de travailler dessus.
Consultez immédiatement un médecin si du liquide est injecté sous la peau.
Les liquides chauds et les produits chimiques peuvent causer des brûlures et des blessures.
Important: Dans certains cas, la chaleur produite par le moteur, le radiateur et le silencieux peut endommager l'herbe quand vous pulvérisez sur place. Les modes de fonctionnement « sur place » comprennent l'agitation de la cuve, la pulvérisation manuelle et l'utilisation d'une rampe ambulante.
Prenez les précautions suivantes :
Évitez de pulvériser sur place par temps chaud et/ou sec, car l'herbe peut être plus fragile dans ces conditions.
Évitez de garer la machine sur la pelouse quand vous pulvérisez sur place. Garez-vous sur une piste pour voiturette dans la mesure du possible.
Minimisez le temps pendant lequel la machine reste sur place, moteur en marche. La durée d'immobilisation et la température ont toutes deux un effet sur l'état de l'herbe.
Réglez le régime moteur aussi bas que possible pour obtenir la pression et le débit voulus. Cela minimise la chaleur produite et la vitesse de l'air provenant du ventilateur de refroidissement.
Quand vous travaillez sur place, laissez la chaleur s'échapper vers le haut du compartiment moteur, en soulevant les ensembles protection du moteur/siège, au lieu de l'expulser sous le véhicule. Consultez le Manuel de l'utilisateur pour plus de précision sur le soulèvement des ensembles siège.
Note: Pour mieux protéger l'herbe de la chaleur, étalez une couverture anti-chaleur sous le véhicule lorsque vous le faites fonctionner sur place. Contactez un concessionnaire Toro agréé pour vous procurer un kit couverture anti-chaleur Toro pour le travail avec les pulvérisateurs.
Arrêtez la machine, coupez les rampes et serrez le frein de stationnement.
Si vous conduisez tout en utilisant la lance de pulvérisation, vous risquez de perdre le contrôle de la machine et vous blesser gravement ou mortellement. N'utilisez pas la lance de pulvérisation en conduisant.
À l'arrière de la machine, vérifiez que le verrou de la gâchette du pistolet pulvérisateur est fermé.
Tournez la poignée verte de la vanne de commande de 90 degrés.
Mettez la pompe en marche depuis la position d'utilisation.
Placez la commande générale des rampes en position de MARCHE.
Réglez le moteur au régime voulu, puis engagez la commande de blocage du régime au point mort.
Important: Ne réglez pas la pression au-dessus de 10,34 bar quand vous utilisez la lance de pulvérisation.
Tournez la poignée verte de la vanne de commande de 90 degrés.
Pointez le pistolet pulvérisateur vers un endroit ne présentant aucun risque, débloquez le verrou de la gâchette et actionnez la gâchette jusqu'à ce qu'il ne reste plus de liquide dans le flexible. Bloquez ensuite la gâchette avec le verrou.
Remettez le pistolet-pulvérisateur dans son support.
Rétablissez le régime de ralenti du moteur.
Arrêtez la pompe.
Important: Veillez à rincer le pistolet pulvérisateur à l'eau douce propre pendant les opérations du nettoyage quotidien (voir le Manuel de l'utilisateur du pulvérisateur). Si vous ne nettoyez pas le pistolet-pulvérisateur correctement, ses performances et sa fiabilité peuvent se dégrader.
Utilisez la commande de débit pour obtenir la pression voulue.