| Wartungsintervall | Wartungsmaßnahmen |
|---|---|
| Bei jeder Verwendung oder täglich |
|
Dieser Aufsitzrasenmäher mit Messerspindeln sollte nur von geschulten Lohnarbeitern in gewerblichen Anwendungen eingesetzt werden. Er ist hauptsächlich für das Mähen von Gras auf gepflegten Grünflächen gedacht. Wenn diese Maschine für einen anderen Zweck als vorgesehen eingesetzt wird, kann das für Sie und andere Personen gefährlich sein.
Lesen Sie diese Informationen sorgfältig durch, um sich mit dem ordnungsgemäßen Einsatz und der Wartung des Geräts vertraut zu machen und Verletzungen und eine Beschädigung des Geräts zu vermeiden. Sie tragen die Verantwortung für einen ordnungsgemäßen und sicheren Einsatz des Geräts.
Besuchen Sie www.Toro.com für weitere Informationen, einschließlich Sicherheitstipps, Schulungsunterlagen, Zubehörinformationen, Standort eines Händlers oder Registrierung des Produkts.
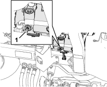
Wenden Sie sich an Ihren autorisierten Service-Vertragshändler oder Exmark-Kundendienst, wenn Sie eine Serviceleistung, Exmark Originalersatzteile oder zusätzliche Informationen benötigen. Halten Sie hierfür die Modell- und Seriennummern Ihres Produkts griffbereit. In Bild 1 ist angegeben, wo an dem Produkt die Modell- und die Seriennummer angebracht sind. Tragen Sie hier die Modell- und Seriennummern des Geräts ein.
Important: Scannen Sie mit Ihrem Mobilgerät den QR-Code auf der Seriennummernplatte (falls vorhanden), um auf Garantie-, Ersatzteil- oder andere Produktinformationen zuzugreifen.

Dieses Produkt entspricht allen relevanten europäischen Richtlinien. Weitere Angaben finden Sie in der separaten produktspezifischen Konformitätsbescheinigung.
Entsprechend dem California Public Resource Code Section 4442 oder 4443 ist der Einsatz des Motors in bewaldeten oder bewachsenen Gebieten ohne richtig gewarteten und funktionsfähigen Funkenfänger, wie in Section 4442 definiert, oder ohne einen Motor verboten, der nicht für die Brandvermeidung konstruiert, ausgerüstet und gewartet ist.
Die beiliegende Motoranleitung enthält Angaben zu den Abgasbestimmungen der amerikanischen Environmental Protection Agency (EPA) und den Kontrollvorschriften von Kalifornien zu Abgasanlagen, der Wartung und Garantie. Sie können einen Ersatz beim Motorhersteller anfordern.
KALIFORNIEN
Warnung zu Proposition 65
Die Dieselauspuffgase und einige Bestandteile wirken laut den Behörden des Staates Kalifornien krebserregend, verursachen Geburtsschäden oder andere Defekte des Reproduktionssystems
Batteriepole, -klemmen und -zubehör enthalten Blei und Bleibestandteile. Dies sind Chemikalien, die laut den Behörden des Staates Kalifornien krebserregend sind und zu Erbschäden führen können. Waschen Sie sich nach dem Umgang mit diesen Materialien die Hände.
Bei Verwendung dieses Produkts sind Sie ggf. Chemikalien ausgesetzt, die laut den Behörden des Staates Kalifornien krebserregend wirken, Geburtsschäden oder andere Defekte des Reproduktionssystems verursachen.
Dieses Produkt kann Hände und Füße amputieren und Gegenstände aufschleudern.
Lesen und verstehen Sie vor dem Anlassen des Motors den Inhalt dieser Bedienungsanleitung.
Konzentrieren Sie sich immer bei der Verwendung der Maschine. Tun Sie nichts, was Sie ablenken könnte, sonst können Verletzungen oder Sachschäden auftreten.
Halten Sie Hände und Füße von beweglichen Teilen fern.
Bedienen Sie die Maschine niemals, wenn nicht alle Schutzvorrichtungen und Abdeckungen angebracht und funktionstüchtig sind.
Halten Sie Unbeteiligte und Kinder vom Arbeitsbereich fern. Die Maschine darf niemals von Kindern betrieben werden.
Stellen Sie vor dem Verlassen des Fahrersitzes den Motor ab, ziehen Sie den Schlüssel ab und warten Sie, bis alle beweglichen Teile zum Stillstand gekommen sind. Lassen Sie die Maschine abkühlen, bevor Sie diese einstellen, warten, reinigen oder einlagern.
Dieses Sicherheitswarnsymbol (Bild 2) in diesem Handbuch und an der Maschine weißt auf wichtige Sicherheitshinweise hin, die Sie beachten müssen, um Unfälle zu vermeiden.

Das Sicherheitswarnsymbol wird über Information dargestellt, die Sie vor unsicheren Handlungen oder Situationen warnen, gefolgt von dem Wort GEFAHR, WARNUNG oder VORSICHT.
GEFAHR bezeichnet eine unmittelbar drohende Gefahr. Wenn sie nicht gemieden wird, sind Tod oder schwerste Verletzungen die Folge.
WARNUNG bezeichnet eine möglicherweise drohende Gefahr. Wenn sie nicht gemieden wird, können Tod oder schwerste Verletzungen die Folge sein.
VORSICHT bezeichnet eine möglicherweise drohende Gefahr. Wenn sie nicht gemieden wird, können leichte oder geringfügige Verletzungen die Folge sein.
In dieser Anleitung werden zwei weitere Begriffe zur Hervorhebung von Informationen verwendet. Wichtig weist auf spezielle mechanische Informationen hin, und Hinweis hebt allgemeine Informationen hervor, die Ihre besondere Beachtung verdienen.
![]() |
Die Sicherheits- und Bedienungsaufkleber sind für den Bediener gut sichtbar und befinden sich in der Nähe der möglichen Gefahrenbereiche. Tauschen Sie beschädigte oder verloren gegangene Aufkleber aus. |














Note: Bestimmen Sie die linke und rechte Seite der Maschine anhand der üblichen Einsatzposition.
Für diesen Arbeitsschritt erforderliche Teile:
| Montage des Vorderrads | 2 |
| Hinterrad | 1 |
Important: Die Felge und der Reifen des Hinterrads sind schmaler als die der vorderen beiden Felgen und Reifen.
Montieren Sie ein Rad auf die Radnabe, wobei der Ventilschaft nach außen gerichtet sein muss.
Befestigen Sie das Rad mit den Radmuttern an der Nabe und ziehen die Muttern über Kreuz auf ein Drehmoment von 61 bis 88 N∙m an.
Wiederholen Sie die Schritte 1 und 2 für die anderen Räder.
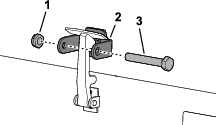
Für diesen Arbeitsschritt erforderliche Teile:
| Lenkrad | 1 |
| Lenkradkappe | 1 |
| Scheibe (groß) | 1 |
| Klemmmutter | 1 |
| Schraube | 1 |
Die Akkuflüssigkeit enthält Schwefelsäure, die ein tödliches Gift ist und starke chemische Verbrennungen verursacht.
Trinken Sie nie Akkusäure und vermeiden Sie den Kontakt mit Haut, Augen und Kleidungsstücken. Tragen Sie eine Schutzbrille und Gummihandschuhe.
Füllen Sie den Akku an einem Ort, an dem immer klares Wasser zum Spülen der Haut verfügbar ist.
Entfernen Sie die beiden Drehknöpfe, mit denen die Akkufachabdeckung an der Maschine befestigt ist, und nehmen Sie die Abdeckung ab (Bild 4).

Messen Sie die Akkuspannung.
Note: Wenn Sie 12,4 V oder mehr messen, ist der Akku geladen.
Wenn Sie 12,3 V oder weniger messen, laden Sie den Akku 4 bis 8 Stunden lang mit 3 bis 4 A auf.
Beim Laden des Akkus werden Gase erzeugt, die explodieren können.
Halten Sie Funken und Flammen vom Akku fern.
Rauchen Sie nie in der Nähe des Akkus.
Wenn der Akku ganz aufgeladen ist, ziehen Sie den Netzstecker des Ladegeräts ab und klemmen dieses von den Akkupolen ab.
Verbinden Sie das Pluskabel (rot) mit dem Pluspol (+) des Akkus und befestigen Sie das Kabel mit der T-Schraube und Mutter (Bild 5).
Note: Stellen Sie sicher, dass die Plusklemme (+) vollständig auf den Pluspol aufgezogen und das Kabel fest an den Akku angeklemmt ist.
Important: Das Kabel darf die Akkuabdeckung nicht berühren.
Verbinden Sie das Minuskabel (schwarz) am Minuspol (–) des Akkus und befestigen Sie das Kabel mit der T-Schrauben und Muttern (Bild 5).
Das unsachgemäße Verlegen des Akkukabels kann zu Schäden am Traktor und den Kabeln führen, und es können Funken erzeugt werden. Funken können zum Explodieren der Akkugase führen, was Verletzungen zur Folge haben kann.
Trennen Sie immer das Minuskabel (Schwarz) ab, bevor Sie das Pluskabel (Rot) abtrennen.
Schließen Sie immer das Pluskabel (rot) des Akkus an, bevor Sie das Minuskabel (schwarz) anschließen.

Important: Achten Sie beim Entfernen des Akkus darauf, dass die Akkuklemmschrauben mit den Kopfschrauben an der Unterseite und den Muttern an der Oberseite montiert werden. Wenn die Klemmschrauben umgekehrt montiert werden, können sie die Hydraulikschläuche berühren, wenn die Mähwerke verlagert werden.
Überziehen Sie beide Akkupole mit Grafo 112X-Fett (Exmark-Bestellnr. 505-47) oder mit leichtem Schmierfett, um einer Korrosion vorzubeugen.
Ziehen Sie den Gummischuh über den Pluspol, um Kurzschlüssen vorzubeugen.
Bringen Sie die Akkufachabdeckung wieder an.
Für diesen Arbeitsschritt erforderliche Teile:
| Überrollbügel | 1 |
| Bundkopfschraube | 4 |
| Sicherungsmutter | 4 |
| Schlauchklemme | 1 |
Wenn Sie die Maschine mit einem modifizierten oder beschädigten Überrollbügel betreiben, sind Sie möglicherweise nicht ausreichend geschützt, was bei einem Überschlag zu Verletzungen oder zum Tod führen kann.
Montieren Sie keinen beschädigten oder veränderten Überrollbügel an der Maschine.
Ersetzen Sie einen beschädigten Überrollbügel. Führen Sie keine Reparatur oder Überarbeitung am Überrollbügel aus.
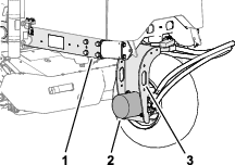
Senken Sie den Überrollbügel auf die Befestigungshalterungen der Zugmaschine ab und fluchten Sie die Befestigungslöcher aus. Achten Sie darauf, dass das Entlüftungsrohr am Überrollbügel an der linken Seite der Maschine ist (Bild 6).

Befestigen Sie jede Seite des Überrollbügels mit zwei Bundkopfschrauben und zwei Sicherungsmuttern an den Befestigungshalterungen (Bild 6). Ziehen Sie die Befestigungen bis auf ein Drehmoment von 81 N∙m an.
Befestigen Sie den Entlüftungsschlauch der Kraftstoffleitung mit der Schlauchklemme am Entlüftungsrohr des Überrollbügels.
Vor dem Anlassen des Motors den Entlüftungsschlauch der Kraftstoffleitung am Entlüftungsrohr anschließen, sonst fließt Kraftstoff vom Schlauch, wodurch eine hohe Brand- und Explosionsgefahr entsteht. Feuer und Explosionen durch Kraftstoff können Sie und Unbeteiligte verletzen und Sachschäden verursachen.
Befestigen Sie den Entlüftungsschlauch der Kraftstoffleitung am Entlüftungsrohr, bevor Sie den Motor anlassen.
Für diesen Arbeitsschritt erforderliche Teile:
| Hubarm-Kit (optionales Kit – separat bestellen) | 1 |
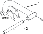
Setzen Sie eine Gelenkstange in jeden Hubarm ein und fluchten Sie die Befestigungslöcher aus (Bild 7).

Befestigen Sie die Gelenkstangen mit zwei Schrauben (5/16" x ⅞") an den Hubarmen.
Ziehen Sie die Schrauben bis auf 37-45 N∙m an.
Entfernen Sie die beiden Bundkopfschrauben (½" x 2") an der Vorderseite der Maschine, mit denen die Gelenkwellenverbindung an den Gelenkwellen des Hubarms befestigt ist, und nehmen Sie die Verbindung ab (Bild 8).
Note: Bewahren Sie die Gelenkwellenverbindung und die Kopfschrauben auf.

Montieren Sie die Hubarme auf die Hubarm-Gelenkwellen, wie in Bild 9 dargestellt.

Befestigen Sie die Gelenkwellenverbindung mit den beiden Bundkopfschrauben (½" x 2"), die Sie in Vorbereiten des Einbaus der Hubarme entfernt haben, an den Gelenkwellen der Hubarme (Bild 9).
Ziehen Sie die Kopfschrauben auf ein Drehmoment von 95 N∙m an.
Schmierfettsorte: Nr. 2 Allzweckschmierfett auf Lithiumbasis
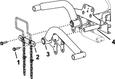
Richten Sie das Kappenende des Hubzylinders auf die Löcher in den linken Hubarmflanschen aus (Bild 10).

Montieren Sie den Zylinder mit dem Befestigungsstift und den beiden Sprengringen an den Flanschen (Bild 10).
Tragen Sie Lithiumfett Nr. 2 auf die Schmiernippel des Hubarms und des Hydraulikzylinders auf (Bild 10).
Schmierfettsorte: Nr. 2 Allzweckschmierfett auf Lithiumbasis
Stellen Sie eine Auffangwanne unter die Hydraulik-Anschlussstücke des Hubzylinders (Bild 11).

Lösen Sie am Hubzylinder das gerade Schwenk-Anschlussstück des Rücklaufschlauchs und das 90° Schwenk-Anschlussstück des Hubschlauchs (Bild 12).

Wickeln Sie einen Lappen um die Schlauchanschlüsse.
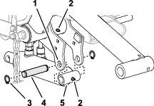
Bewegen Sie die Hubzylinderstange langsam, bis sie mit den Löchern in den rechten Hubarmflanschen fluchtet (Bild 13).
Important: Wenn Sie die Hubzylinderstange bewegen, wird etwas Hydraulikflüssigkeit an den Schlauchanschlüssen herausgedrückt.

Montieren Sie die Stange mit dem Befestigungsstift, zwei Distanzstücken und zwei Sprengringen an den Flanschen (Bild 13).
Tragen Sie Lithiumfett Nr. 2 auf die Schmiernippel des Hubarms und des Hydraulikzylinders auf (Bild 13).
Ziehen Sie die Schwenk-Anschlussstücke an den Rücklauf- und Hubschläuchen auf ein Drehmoment von 37 bis 45 N∙m an.

Entfernen Sie vertropftes oder verschüttetes Hydrauliköl von der Maschine.
Für diesen Arbeitsschritt erforderliche Teile:
| Mähwerk (optionales Teil – separat bestellen) | 3 |
Nehmen Sie die Mähwerke aus den Kartons heraus.
Stellen Sie die Mähwerke gemäß den Anweisungen in der Bedienungsanleitung der Mähwerke ein.
Note: Die vorderen Trägerrahmen sind Teil des optionalen Hubarm-Kits.
Richten Sie die Löcher in den Platten des vorderen Trägerrahmens auf die Löcher in den Montageplatten des Mähwerks aus (Bild 15).

Legen Sie eine Unterlegscheibe zwischen der Trägerplatte und dem Lenker ein (Bild 15) und montieren Sie die Platten und das Distanzstück lose mit einer Schlossschraube ⅜" x 2¼"), einer Unterlegscheibe und einer Sicherungsbundmutter (⅜“).
Note: Wenn Sie mit der Montage auf der Rückseite des Mähwerk beginnen, verwenden Sie das mittlere Loch der Platte.
Wiederholen Sie Schritt 2 an den anderen Plattenlöchern und Lenkern.
Ziehen Sie die Sicherungsbundmuttern bis auf ein Drehmoment von 37-45 N∙m an.
Wiederholen Sie die Schritte 1 bis 4 für das andere Frontmähwerk und den Trägerrahmen.
Note: Der hintere Trägerrahmen ist Teil des optionalen Hubarm-Kits.
Richten Sie die Löcher in den Platten des hintere Trägerrahmens auf die Löcher in den Montageplatten des Mähwerks aus

Legen Sie eine Unterlegscheibe zwischen der Trägerplatte und dem Lenker ein (Bild 16) und montieren Sie die Platten und das Distanzstück lose mit einer Schlossschraube ⅜" x 2¼"), einer Unterlegscheibe und einer Sicherungsbundmutter (⅜“).
Note: Wenn Sie mit der Montage auf der Rückseite des Mähwerk beginnen, verwenden Sie das mittlere Loch der Platte.
Wiederholen Sie Schritt 2 an den anderen Plattenlöchern und Lenkern.
Ziehen Sie die Sicherungsbundmuttern bis auf ein Drehmoment von 37-45 N∙m an.
Note: Die vorderen Trägerrahmen sind Teil des optionalen Hubarm-Kits.
Richten Sie die Löcher in den Platten des vorderen Trägerrahmens auf die Löcher in den Montageplatten des Mähwerks aus (Bild 17).

Legen Sie ein Distanzstück zwischen der Trägerplatte und der Montageplatte ein (Bild 17) und befestigen Sie die Platten und das Distanzstück lose mit einer Schlossschraube (⅜" x 1¼") und einer Sicherungsbundmutter (⅜").
Note: Wenn Sie mit der Montage auf der Rückseite des Mähwerks beginnen, verwenden Sie die mittleren Löcher der jeweiligen Platte.
Wiederholen Sie Schritt 2 an den anderen Plattenlöchern.
Ziehen Sie die Sicherungsbundmuttern bis auf ein Drehmoment von 37-45 N∙m an.
Wiederholen Sie die Schritte 1 bis 4 für das andere Frontmähwerk und den Trägerrahmen.
Note: Der hintere Trägerrahmen ist Teil des optionalen Hubarm-Kits.
Richten Sie die Löcher in den Platten des vorderen Trägerrahmens auf die Löcher in den Montageplatten des Mähwerks aus (Bild 13).

Legen Sie ein Distanzstück zwischen der Trägerplatte und der Montageplatte ein (Bild 14) und befestigen Sie die Platten und das Distanzstück lose mit einer Schlossschraube (⅜" x 1¼") und einer Sicherungsbundmutter (⅜").
Note: Wenn Sie mit der Montage auf der Rückseite des Mähwerks beginnen, verwenden Sie die mittleren Löcher der jeweiligen Platte.
Wiederholen Sie Schritt 2 an den anderen Plattenlöchern.
Ziehen Sie die Sicherungsbundmuttern bis auf ein Drehmoment von 37-45 N∙m an.
Schieben Sie eine Druckscheibe auf die Gelenkstange jedes vorderen Hubarms.
Schieben Sie den Trägerrahmen des Mähwerks auf die Gelenkstange und befestigen sie mit einem Klappstecker (Bild 19).
Note: Legen Sie die Druckscheibe am Heckmähwerk zwischen das hintere Ende des Trägerrahmens und dem Klappstecker.

Fetten Sie alle Gelenkpunkte am Hubarm und am Trägerrahmen ein.
Important: Vergewissern Sie sich, dass keine Schläuche verdreht oder stark geknickt sind. Die Schläuche des Heckmähwerks müssen, wie in Bild 20 abgebildet, verlegt werden. Heben Sie die Mähwerke an und bewegen Sie sie nach links (Modell 03171). Die Schläuche des Heckmähwerks dürfen die Halterung des Fahrantriebskabels nicht berühren. Ändern Sie ggf. die Position der Anschlussstücke und/oder der Schläuche.

Verlegen Sie eine Kippkette durch den Schlitz am Ende jedes Trägerrahmens. Befestigen Sie die Kippkette mit einer Schraube, einer Scheibe und einer Sicherungsmutter oben am Trägerrahmen (Bild 21).

Stellen Sie die Mähwerke vor die Gelenkstangen des Hubarms.
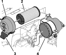
Nehmen Sie den Ballast und den O-Ring (Bild 22) vom inneren Ende des rechten Mähwerks ab.

Nehmen Sie die Abdeckung vom Lagergehäuse außen am rechten Mähwerk ab und bauen Sie den Ballast und die Dichtung ein.
Nehmen Sie an den restlichen Mähwerken die Versandabdeckung von den Lagergehäusen ab.
Setzen Sie den O-Ring (mit dem Mähwerk geliefert) am Flansch des Antriebsmotors ein (Bild 23).

Montieren Sie den Motor am Antriebsende des Mähwerks und befestigen Sie ihn mit den zwei Kopfschrauben, die dem Mähwerk beiliegen (Bild 23).
Anlassen des Motors.
Anheben der Mähwerke.
Messen Sie an den vorderen Mähwerken den Abstand zwischen dem linken Hubarm und der Bodenplattenhalterung sowie dem rechten Hubarm und der Bodenplattenhalterung (Bild 24).
Note: Der richtige Abstand sollte 5 mm bis 8 mm betragen. Wenn der Abstand nicht in diesem Bereich liegt, stellen Sie den Hubzylinder des Mähwerks ein; siehe Einstellen des Hubarmspiels und Anschlagschrauben des Hubarms einstellen.
Important: Ein zu geringer Abstand an der vorderen Plattenhalterung könnte die Hubarme beschädigen.

Messen Sie am hinteren Mähwerk den Abstand zwischen dem Verschleißbands an der Oberseite der Verschleißleiste des hinteren Mähwerks und dem Anschlag des Stoßfängers (Bild 25).
Note: Der richtige Abstand beträgt 0,51 mm bis 2,54 mm. Wenn der Abstand nicht in diesem Bereich liegt, stellen Sie den Hubzylinder des Mähwerks ein; siehe Abstand zum hinteren Mähwerk einstellen.
Important: Ein zu geringer Abstand an der hinteren Verschleißleiste kann das Schneidwerk beschädigen.

Starten Sie den Motor, senken Sie die Mähwerke ab, schalten Sie den Motor aus, ziehen Sie den Schlüssel ab und warten Sie, bis alle beweglichen Teile zum Stillstand gekommen sind.
Lösen Sie auf jeder Seite der Maschine die Kontermuttern und entfernen Sie die Anschlagschrauben des Hubarms (Bild 26).

Lösen Sie die Kontermuttern an der Zylinderstange (Bild 27).

Entfernen Sie den Stift vom Stangenende und drehen Sie die Lastöse.
Montieren Sie den Stift und prüfen den Abstand nach.
Wiederholen Sie ggf. die Schritte 1 bis 4.
Starten Sie den Motor, heben Sie die Mähwerke an, schalten Sie den Motor aus, ziehen Sie den Schlüssel ab und warten Sie, bis alle beweglichen Teile zum Stillstand gekommen sind.
Messen Sie den Abstand zwischen den linken und rechten Hubarmen und den Bodenplattenhalterungen.
Note: Der richtige Abstand beträgt 0,51 mm bis 2,54 mm.
Wiederholen Sie die Schritte 3 bis 7 bei Bedarf.
Ziehen Sie nun die Klemmmutter am Lastbügel fest.
Wiederholen Sie die Schritte 2 bis 9 an der anderen Seite der Maschine und führen Sie dann den Vorgang Anschlagschrauben des Hubarms einstellen durch.
Important: Ein zu geringer Abstand an den Anschlagschrauben könnte die Hubarme beschädigen.
Note: Der Abstand kann reduziert werden, wenn der hintere Hubarm beim Transport klappert.
Starten Sie den Motor, heben Sie die Mähwerke an, schalten Sie den Motor aus, ziehen Sie den Schlüssel ab und warten Sie, bis alle beweglichen Teile zum Stillstand gekommen sind.
Stellen Sie die Anschlagschraube ein, bis Sie einen Abstand von 0,13 bis 1,02 mm zwischen der Anschlagschraube und der Hubarmplatte messen.

Wiederholen Sie Schritt 2 an der Anschlagschraube für den anderen Hubarm.
Starten Sie den Motor, senken Sie die Mähwerke ab, schalten Sie den Motor aus, ziehen Sie den Schlüssel ab und warten Sie, bis alle beweglichen Teile zum Stillstand gekommen sind.
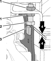
Lösen Sie die Kontermutter am Hubzylinder (Bild 29).

Halten Sie die Zylinderstange mit einer Zange und einem Lappen nahe an der Mutter und drehen die Stange.
Note: Durch Kürzen der Zylinderstange wird der Abstand zwischen dem Verschleißband und den Stoßfängeranschlag verringert.
Anlassen des Motors.
Heben Sie die Mähwerk an und messen Sie den Abstand zwischen dem Verschleißband an der Oberseite der Verschleißleiste des hinteren Mähwerks und dem Anschlag des Stoßfängers.
Der richtige Abstand beträgt 0,51 mm bis 2,54 mm.
Wiederholen Sie die Schritte 1 bis 4 bei Bedarf.
Senken Sie die Mähwerke ab, stellen Sie den Motor ab, ziehen Sie den Schlüssel ab und warten Sie, bis alle sich bewegenden Teile zum Stillstand gekommen sind.
Ziehen Sie die Klemmmutter fest.
Stellen Sie den Reifenluftdruck an jedem der Reifen ein; siehe Prüfen des Reifendrucks.
Note: Die Reifen werden für den Versand zu stark aufgeblasen.
Für diesen Arbeitsschritt erforderliche Teile:
| Riegelhalterung | 1 |
| Niete | 2 |
| Scheibe | 1 |
| Schraube (¼" x 2") | 1 |
| Sicherungsmutter (¼") | 1 |
Haken Sie den Motorhaubenriegel aus der Motorhaubenriegelhalterung aus.
Entfernen Sie die Nieten (2), mit denen die Halterung des Motorhaubenriegels an der Motorhaube befestigt ist (Bild 30). Nehmen Sie die Halterung des Motorhaubenriegels von der Motorhaube ab.

Fluchten Sie die Befestigungslöcher aus und positionieren Sie gleichzeitig die Halterung des CE-Riegels und des Motorhaubenriegels auf der Motorhaube. Die Riegelhalterung muss an der Haube anliegen (Bild 31). Nehmen Sie die Schraube und Mutter nicht vom Halterungsarm für den Riegel ab.

Fluchten Sie die Scheiben mit den Löchern an der Innenseite der Motorhaube aus.
Nieten Sie die Halterungen und Scheiben an die Haube (Bild 31).
Haken Sie den Riegel in die Halterung des Motorhaubenriegels ein (Bild 32).

Schrauben Sie die Schraube in den anderen Arm der Motorhaubenhalterung, um den Riegel zu arretieren (Bild 33).
Note: Ziehen Sie die Mutter und die Schraube an, bis sich die Schraube in der Halterung des CE-Riegels nicht mehr vor und zurück bewegt.

Für diesen Arbeitsschritt erforderliche Teile:
| Auspuffschutzvorrichtung | 1 |
| Blechschraube | 4 |
Für diesen Arbeitsschritt erforderliche Teile:
| CE Aufkleber für Kippgefahr (140-7463) | 1 |
| Herstellungsjahr-Aufkleber | 1 |
| CE-Aufkleber | 1 |
Reinigen Sie den linken Rahmen in der Nähe des Typenschilds mit Alkohol und lassen Sie den Rahmen trocknen (Bild 36).

Entfernen Sie die Schutzfolie und kleben Sie den Baujahr-Aufkleber auf den Rahmen in die Nähe des Typenschildes, wie in Bild 36 dargestellt.
Reinigen Sie den linken Rahmen in der Nähe des Motorhaubenriegels mit Alkohol und lassen Sie den Rahmen trocknen (Bild 37).

Entfernen Sie die Schutzfolie und bringen Sie den CE-Aufkleber am Rahmen an, wie in Bild 37 dargestellt.
Für diesen Arbeitsschritt erforderliche Teile:
| Kipprolle (nicht eingeschlossen) | 1 |
Wenn Sie höhere Schnitthöhen schneiden, montieren Sie den Kipprollensatz.
Heben Sie die Mähwerke ganz an.
Finden Sie die Rahmenhalterung über dem mittleren Mähwerk (Bild 38).
Drücken Sie die Frontrolle des mittleren Mähwerks nach unten und ermitteln Sie, welche Löcher in der Kipphalterung mit den Löchern in der Rahmenhalterung ausgefluchtet sein müssen, um denselben Rollenkontakt zu erhalten, wenn die Kipphalterung montiert ist (Bild 38).

Senken Sie die Mähwerke ab und befestigen Sie die Kipphalterung mit den im Lieferumfang des Kits enthaltenen zwei Schlossschrauben und den zwei Muttern am Rahmen (Bild 38).


Drücken Sie das Vorwärtsfahrpedal (Bild 40), um vorwärts zu fahren. Treten Sie auf das Rückwärtsfahrpedal (Bild 40), um rückwärts zu fahren oder um die Maschine bei der Vorwärtsfahrt zu bremsen. Lassen Sie das Pedal in die NEUTRAL-Stellung zurückgehen, oder stellen Sie es auf Neutral, um die Maschine zu stoppen.
Bewegen Sie den Mäh-/Transportschieber (Bild 40) mit der Ferse nach links in die TRANSPORT-Stellung oder nach rechts in die MäH-Stellung.
Die Mähwerke können nur betrieben werden, wenn sich der Mäh-/Transportschieber in der MäH-Stellung befindet.
Die Mähwerke können nicht abgesenkt werden, wenn sich der Mäh-/Transportschieber in der TRANSPORT-Stellung befindet.
Ziehen Sie den Lenkradverstellhebel (Bild 40) nach hinten, um das Lenkrad in die gewünschte Stellung zu kippen. Schieben Sie ihn anschließend zum Arretieren der Einstellung wieder nach vorne.

Um die Mähwerke auf den Boden abzusenken, schieben Sie den Mähwerk-Ganghebel nach vorne in die ABSENKEN-Stellung (Bild 41).
Note: Die Mähwerke können nur bei laufendem Motor abgesenkt werden. Sie brauchen den Hebel nicht in der vorderen Stellung zu halten, während die Mähwerke abgesenkt werden.
Ziehen Sie zum Anheben der Mähwerke den Schalthebel in die ANHEBEN-Stellung zurück.
Note: Die Spindeln laufen nicht, wenn die Mähwerke angehoben sind.
Der Mähwerkantriebsschalter (Bild 41) hat 2 Stellungen: AKTIVIERT und DEAKTIVIERT. Der Kippschalter aktiviert eine Stromspule im Ventilverteiler, der die Mähwerke aktiviert.
Die Öldruck-Warnlampe (Bild 41) leuchtet auf, wenn der Öldruck unter ein sicheres Niveau abfällt.
Die Temperaturwarnlampe (Bild 41) leuchtet auf, wenn die Motorkühlmittel-Temperatur zu hoch ist. Bei dieser Temperatur schalten die Mähwerke ab. Wenn die Kühlmitteltemperatur um weitere 5,5 °C ansteigt, wird der Motor abgeschaltet, um eine weitere Beschädigung zu vermeiden.
Der Betriebsstundenzähler (Bild 41) zeigt die Stunden an, die der Motor gelaufen hat. Der Betriebsstundenzähler beginnt zu laufen, sobald der Zündschlüssel auf Ein“ gedreht wird.
Die Glühkerzenlampe (Bild 41) leuchtet, wenn die Glühkerzen eingeschaltet sind.
Bewegen Sie die Gasbedienung (Bild 41) nach vorne, um die Motordrehzahl zu erhöhen und nach hinten, um die Drehzahl zu reduzieren.
Die Lichtmaschinenlampe (Bild 41) schaltet sich aus, wenn der Motor läuft. Wenn die Lichtmaschinenlampe aufleuchtet, während der Motor läuft, überprüfen Sie das Ladesystem und reparieren Sie es gegebenenfalls.
Verwenden Sie den Zündschalter (Bild 41), um den Motor und die Beleuchtung einzuschalten. Der Zündschalter hat drei Stellungen:
Die SHUT OFF [Abschalten]-Stellung schaltet den Motor ab.
Die RUN/PREHEAT [Betrieb/Vorglühen]-Stellung ermöglicht es, den Motor zu betreiben oder den Zylinderkopf des Motors vorzuglühen.
Die START-Stellung schaltet den Anlasser ein.
Note: Wenn sich der Schlüssel in der RUN/PREHEAT [Betrieb/Vorglühen]-Stellung befindet, wird die Glühkerze aktiviert und die Kontrollleuchte leuchtet etwa 7 Sekunden lang auf.
Bewegen Sie den Hubhebelriegel (Bild 41) nach hinten, um das Absinken der Mähwerke zu verhindern.
Wenn Sie den Motor abstellen, aktivieren Sie die Feststellbremse (Bild 41), sodass sich die Maschine nicht aus Versehen bewegt. Um die Feststellbremse zu aktivieren, ziehen Sie den Hebel nach oben; drücken Sie den Hebel nach unten, um die Bremse zu lösen.
Note: Der Motor geht aus, wenn das Fahrpedal bei aktivierter Feststellbremse getreten wird.
Der Verteiler des Mähwerks befindet sich unter der Abdeckung der Steuerkonsole (Bild 42).

Verwenden Sie das Spindeldrehzahl-Handrad des Mähwerksverteilers, um die Schnittgeschwindigkeit (Spindeldrehzahl) der Mähwerke einzustellen (Bild 42).
Drehen Sie das Spindeldrehzahl-Handrad gegen den Uhrzeigersinn, um die Spindeldrehzahl zu erhöhen.
Drehen Sie das Handrad im Uhrzeigersinn, um die Spindeldrehzahl abzusenken.
Informationen zum Einstellen der Spindeldrehzahlregelung finden Sie unter Schnitthöhe (Spindeldrehzahl) und Einstellen der Spindeldrehzahl.
Läpphebel zur Steuerung der Drehrichtung der Mähwerke beim Mähen oder zum Läppen der Spindeln und Untermesser (Bild 42).
Drehen Sie den Läpphebel beim Mähen in die F-Stellung.
Drehen Sie den Läpphebel in die R-Stellung, wenn Sie die Mähwerke läppen möchten.
Important: Ändern Sie die Stellung des Läpphebels nicht, wenn sich die Spindeln drehen.
Die Benzinuhr (Bild 43) zeigt die Kraftstoffmenge im Tank an.

Bewegen Sie den Hebel (Bild 43) an der Seite des Sitzes nach außen, schieben den Sitz in die gewünschte Stellung und lassen den Hebel zum Arretieren des Sitzes in dieser Position wieder los.
Note: Technische und konstruktive Änderungen vorbehalten.
| Transportbreite | 203 cm bei Schnittbreite von 183 cm234 cm bei Schnittbreite von 216 cm |
| Schnittbreite | 183 cm oder 216 cm |
| Länge | 248 cm |
| Höhe | 193 cm mit Überrollschutz |
| Nettogewicht* | 844 kg |
| Kraftstofftank-Füllmenge | 28 Liter |
| Fahrgeschwindigkeit | Mähen: 0-10 km/h; Transport: 0-14 km/h Rückwärts: 0-6 km/h |
| * Mit Mähwerken und Flüssigkeiten | |
Ein Sortiment an Originalanbaugeräten und -zubehör von Exmark wird für diese Maschine angeboten, um den Funktionsumfang des Geräts zu erhöhen und zu erweitern. Wenden Sie sich an Ihren offiziellen Toro-Vertragshändler oder navigieren Sie auf www.Toro.com für eine Liste der zugelassenen Anbaugeräte und des Zubehörs.
Verwenden Sie, um die optimale Leistung und Sicherheit zu gewährleisten, nur Originalersatzteile und -zubehörteile von Toro. Ersatzteile und Zubehör anderer Hersteller können gefährlich sein und eine Verwendung könnte die Garantie ungültig machen.
Note: Bestimmen Sie die linke und rechte Seite der Maschine anhand der üblichen Einsatzposition.
Kinder oder nicht geschulte Personen dürfen die Maschine weder verwenden noch warten. Örtliche Vorschriften bestimmen u. U. das Mindestalter von Benutzern. Der Besitzer ist für die Schulung aller Bediener und Mechaniker verantwortlich.
Machen Sie sich mit dem sicheren Betrieb der Maschine sowie den Bedienelementen und Sicherheitssymbolen vertraut.
Bevor Sie den Fahrerstand verlassen, gehen Sie wie folgt vor:
Stellen Sie die Maschine auf einer ebenen Fläche ab.
Entriegeln und senken Sie die Mähwerke auf den Boden ab.
Aktivieren Sie die Feststellbremse.
Stellen Sie den Motor ab und ziehen Sie den Schlüssel ab.
Warten Sie, bis alle beweglichen Teile zum Stillstand gekommen sind.
Lassen Sie die Maschine abkühlen, bevor Sie diese einstellen, warten, reinigen oder einlagern.
Sie müssen wissen, wie Sie die Maschine schnell anhalten und den Motor abstellen können.
Bedienen Sie die Maschine niemals, wenn nicht alle Schutzvorrichtungen und Abdeckungen angebracht und funktionstüchtig sind.
Überprüfen Sie vor jedem Mähen die Maschine und stellen Sie sicher, dass die Mähwerke funktionsfähig sind.
Prüfen Sie den Arbeitsbereich gründlich und entfernen Sie alle Objekte, die von der Maschine aufgeschleudert werden könnten.
Diese Maschine erzeugt ein elektromagnetisches Feld. Wenn Sie ein implantierbares elektronisches medizinisches Gerät tragen, konsultieren Sie Ihren Arzt, bevor Sie diese Maschine verwenden.
Seien Sie besonders vorsichtig beim Umgang mit Kraftstoff. Kraftstoff ist brennbar und die Dämpfe sind explosiv.
Machen Sie alle Zigaretten, Zigarren, Pfeifen und andere Zündquellen aus.
Verwenden Sie nur einen vorschriftsmäßigen Benzinkanister.
Entfernen Sie nie den Tankdeckel oder füllen den Kraftstofftank, wenn der Motor läuft oder heiß ist.
Füllen Sie Kraftstoff nicht in einem geschlossenen Raum auf oder lassen ihn ab.
Lagern Sie die Maschine oder den Benzinkanister nie an Orten mit offener Flamme, Funken oder Zündflamme, z. B. Warmwasserbereiter, oder anderen Geräten.
Versuchen Sie niemals, bei Kraftstoffverschüttungen den Motor anzulassen. Vermeiden Sie Zündquellen, bis die Verschüttung verdunstet ist.
Verwenden Sie nur sauberen, frischen Dieselkraftstoff mit einem niedrigen (<15 ppm) oder extrem niedrigen (<1000 ppm) Schwefelgehalt. Besorgen Sie, um immer frischen Kraftstoff sicherzustellen, nur so viel Kraftstoff, wie sie innerhalb von 180 Tagen verbrauchen können.
Important: Wechseln Sie das Motoröl und den Ölfilter alle 75 Stunden, wenn Sie Dieselkraftstoff mit hohem Schwefelgehalt verwenden (Schwefelgehalt 0,50 % (5000 ppm) bis 1,0 % (10.000 ppm)).
Verwenden Sie bei Temperaturen über -7 °C Sommerdiesel (Nr. 2-D) und bei niedrigeren Temperaturen Winterdiesel (Nr. 1-D oder Nr. 1-D/2-D-Mischung). Bei Verwendung von Winterdiesel bei niedrigeren Temperaturen bestehen ein niedrigerer Flammpunkt und Kaltflussmerkmale, die das Anlassen vereinfachen und ein Verstopfen des Kraftstofffilters vermeiden.
Die Verwendung von Sommerkraftstoff über -7 °C erhöht die Lebensdauer der Kraftstoffpumpe und steigert im Vergleich zum Winterkraftstoff die Kraft.
Diese Maschine kann auch mit einem Kraftstoff eingesetzt werden, der bis zu B20 mit Biodiesel vermischt ist (20 % Biodiesel, 80 % Benzindiesel). Der Benzindieselkraftstoff sollte einen niedrigen oder extrem niedrigen Schwefelgehalt aufweisen. Befolgen Sie die nachstehenden Sicherheitsvorkehrungen:
Der Biodieselanteil des Kraftstoffs muss die Spezifikationen ASTM D6751 oder EN 14214 erfüllen.
Die Zusammensetzung des gemischten Kraftstoffes sollte ASTM D975 oder EN 590 erfüllen.
Biodieselmischungen können lackierte Oberflächen beschädigen.
Verwenden Sie B5 (Biodiesel-Inhalt von 5 %) oder geringere Mischungen in kaltem Wetter.
Prüfen Sie Dichtungen und Schläuche, die mit Kraftstoff in Kontakt kommen, da sie sich nach längerer Zeit abnutzen können.
Nach der Umstellung auf Biodieselmischungen kann der Kraftstofffilter eine Zeit lang verstopfen.
Weitere Informationen zu Biodieselmischungen erhalten Sie vom Vertragshändler.
Fassungsvermögen des Kraftstofftanks: ca. 28 Liter
Parken Sie die Maschine auf einer ebenen Fläche, senken die Mähwerke ab, aktivieren die Feststellbremse, stellen den Motor ab und ziehen den Zündschlüssel ab.
Reinigen Sie den Bereich um den Tankdeckel (Bild 44).

Entfernen Sie den Tankdeckel.
Füllen Sie den Kraftstofftank bis zur Unterseite des Einfüllstutzens.
Note: Füllen Sie den Tank nicht zu voll.
Schrauben Sie den Deckel wieder auf.
Wischen Sie verschütteten Kraftstoff auf.
| Wartungsintervall | Wartungsmaßnahmen |
|---|---|
| Bei jeder Verwendung oder täglich |
|
Täglich vor dem Start der Maschine die folgende tägliche Prüfroutine gemäß durchführen:
| Wartungsintervall | Wartungsmaßnahmen |
|---|---|
| Bei jeder Verwendung oder täglich |
|
Wenn die Sicherheitsschalter abgeklemmt oder beschädigt werden, kann die Maschine auf eine unerwartete Weise funktionieren, was Verletzungen verursachen kann.
An den Sicherheitsschaltern dürfen keine Veränderungen vorgenommen werden.
Prüfen Sie deren Funktion täglich und tauschen Sie alle defekten Schalter vor der Inbetriebnahme der Maschine aus.
Important: Wenden Sie sich an Ihren Toro Vertragshändler, wenn die Maschine eine der Kontrollen der Sicherheitsschalter nicht besteht.
Fahren Sie die Maschine langsam auf eine offene freie Fläche.
Senken Sie die Mähwerke ab, stellen Sie den Motor ab und aktivieren Sie die Feststellbremse.
Setzen Sie sich auf den Sitz.
Aktivieren Sie die Feststellbremse.
Stellen Sie den Mähwerk-Antriebsschalter in die AUSGEKUPPELT-Stellung.
Betätigen Sie das Fahrpedal.
Drehen Sie den Schlüssel in die START-Stellung.
Note: Der Anlasser darf den Motor nicht starten, wenn das Fahrpedal betätigt ist.
Setzen Sie sich auf den Sitz.
Aktivieren Sie die Feststellbremse.
Stellen Sie den Mähwerk-Antriebsschalter in die EINGEKUPPELT-Stellung.
Nehmen Sie den Fuß vom Fahrpedal.
Drehen Sie den Schlüssel in die START-Stellung.
Note: Der Anlasser sollte den Motor nicht starten, wenn sich der Antriebsschalter des Mähwerks in der EINGEKUPPELT-Stellung befindet.
Setzen Sie sich auf den Sitz.
Aktivieren Sie die Feststellbremse.
Stellen Sie den Mähwerk-Antriebsschalter in die AUSGEKUPPELT-Stellung.
Nehmen Sie den Fuß vom Fahrpedal.
Anlassen des Motors.
Lösen Sie die Feststellbremse.
Stehen Sie vom Fahrersitz auf.
Note: Der Motor sollte abschalten, wenn Sie nicht auf dem Fahrersitz sitzen und die Feststellbremse gelöst ist.
Setzen Sie sich auf den Sitz.
Aktivieren Sie die Feststellbremse.
Stellen Sie den Mähwerk-Antriebsschalter in die AUSGEKUPPELT-Stellung.
Nehmen Sie den Fuß vom Fahrpedal.
Anlassen des Motors.
Betätigen Sie das Fahrpedal.
Note: Der Motor sollte sich abschalten, wenn die Feststellbremse AKTIVIERT ist und das Fahrpedal betätigt wird.
Setzen Sie sich auf den Sitz.
Aktivieren Sie die Feststellbremse.
Stellen Sie den Mähwerk-Antriebsschalter in die AUSGEKUPPELT-Stellung.
Nehmen Sie den Fuß vom Fahrpedal.
Anlassen des Motors.
Lösen Sie die Feststellbremse.
Stehen Sie vom Fahrersitz auf.
Betätigen Sie das Fahrpedal.
Note: Der Motor sollte innerhalb von 1 Sekunde abschalten, wenn Sie nicht auf dem Fahrersitz sitzen und das Fahrpedal betätigen.
Der Besitzer bzw. Bediener ist für Unfälle oder Verletzungen von Dritten sowie Sachschäden verantwortlich und kann diese verhindern.
Tragen Sie geeignete Kleidung, u. a. eine Schutzbrille, lange Hosen, rutschfeste Arbeitsschuhe und einen Gehörschutz. Binden Sie lange Haare hinten zusammen und tragen Sie keinen Schmuck oder weite Kleidung.
Setzen Sie die Maschine nicht ein, wenn Sie müde oder krank sind oder unter Alkohol- oder Drogeneinfluss stehen.
Konzentrieren Sie sich immer bei der Verwendung der Maschine. Tun Sie nichts, was Sie ablenken könnte, sonst können Verletzungen oder Sachschäden auftreten.
Stellen Sie vor dem Anlassen des Motors sicher, dass alle Antriebe in der Neutralstellung sind, dass die Feststellbremse aktiviert ist und Sie in der Bedienungsposition sind.
Nehmen Sie nie Passagiere auf der Maschine mit und halten Sie alle unbeteiligten Personen und Haustiere aus dem Betriebsbereich der Maschine fern.
Setzen Sie die Maschine nur bei guten Sichtverhältnissen ein, um Löcher sowie andere verborgene Gefahren zu vermeiden.
Vermeiden Sie ein Mähen auf nassem Gras. Bei reduzierter Bodenhaftung kann die Maschine ins Rutschen geraten.
Halten Sie Ihre Hände und Füße von den Schneideinheiten fern.
Schauen Sie hinter sich und nach unten, um vor dem Rückwärtsfahren sicherzustellen, dass der Weg frei ist.
Seien Sie vorsichtig, wenn Sie sich unübersichtlichen Kurven, Sträuchern, Bäumen und anderen Objekten nähern, die Ihre Sicht behindern können.
Stellen Sie die Mähwerke ab, wenn Sie nicht mähen.
Fahren Sie beim Wenden und beim Überqueren von Straßen und Gehsteigen mit der Maschine langsam und vorsichtig. Geben Sie immer Vorfahrt.
Betreiben Sie den Motor nur in gut belüfteten Bereichen. Die Abgase enthalten Kohlenmonoxid, das beim Einatmen tödlich ist.
Lassen Sie niemals eine laufende Maschine unbeaufsichtigt zurück.
Bevor Sie den Fahrerstand verlassen, gehen Sie wie folgt vor:
Stellen Sie die Maschine auf einer ebenen Fläche ab.
Entriegeln und senken Sie die Mähwerke auf den Boden ab.
Aktivieren Sie die Feststellbremse.
Stellen Sie den Motor ab und ziehen Sie den Schlüssel ab.
Warten Sie, bis alle beweglichen Teile zum Stillstand gekommen sind.
Lassen Sie die Maschine abkühlen, bevor Sie sie einstellen, warten, reinigen oder einlagern.
Setzen Sie die Maschine nur bei guten Sichtverhältnissen und geeigneten Witterungsbedingungen ein. Verwenden Sie die Maschine nie bei möglichen Gewittern.
Verwenden Sie den Tempomat (falls vorhanden) nur, wenn Sie die Maschine in einem offenen, ebenen Bereich ohne Hindernisse betreiben können, in dem die Maschine ohne Unterbrechung mit konstanter Geschwindigkeit fahren kann.
Entfernen Sie die Komponenten des Überrollschutzes nicht von der Maschine.
Stellen Sie sicher, dass Sie Ihren Sicherheitsgurt angelegt haben und ihn in einem Notfall schnell lösen können.
Legen Sie immer den Sicherheitsgurt an.
Achten Sie immer auf hängende Objekte und berühren Sie sie nicht.
Halten Sie den Überrollschutz in einem sicheren Betriebszustand, überprüfen Sie ihn regelmäßig auf Beschädigungen und halten Sie alle Befestigungen angezogen.
Tauschen Sie alle beschädigten Teile des Überrollschutzes aus. Führen Sie keine Reparaturen oder Modifikationen daran aus.
Hanglagen sind eine wesentliche Ursache für den Verlust der Kontrolle und Umkippunfälle, die zu schweren ggf. tödlichen Verletzungen führen können. Sie sind für den sicheren Einsatz an Hanglagen verantwortlich. Das Einsetzen der Maschine an jeder Hanglage erfordert große Vorsicht.
Evaluieren Sie das Gelände, einschließlich einer Ortsbegehung, um zu ermitteln, ob die Maschine sicher auf der Hanglage eingesetzt werden kann. Setzen Sie immer gesunden Menschenverstand ein, wenn Sie diese Ortsbegehung durchführen.
Lesen Sie die unten aufgeführten Anweisungen für Hanglagen, wenn Sie die Maschine an Hanglagen einsetzen. Prüfen Sie vor dem Einsatz der Maschine die Bedingungen an der Arbeitsstelle, um zu ermitteln, ob Sie die Maschine in diesen Bedingungen an diesem Tag und an diesem Ort verwenden können. Veränderungen im Gelände können zu einer Veränderung in der Neigung für den Betrieb der Maschine führen.
Vermeiden Sie das Anfahren, Anhalten oder Wenden der Maschine an Hanglagen. Vermeiden Sie plötzliche Geschwindigkeits- oder Richtungsänderungen. Wenden Sie möglichst langsam und vorsichtig.
Benutzern Sie die Maschine niemals unter Bedingungen, bei der die Bodenhaftung, das Lenkverhalten oder die Stabilität des Fahrzeugs gefährdet werden.
Entfernen oder markieren Sie Hindernisse, u. a. Gräben, Löcher, Rillen, Bodenwellen, Steine oder andere verborgene Gefahren. Hohes Gras kann Hindernisse verdecken. Die Maschine könnte sich in unebenem Terrain überschlagen.
Beim Arbeiten auf nassem Gras, Überqueren von steilen Hanglagen oder beim Fahren hangabwärts kann die Maschine die Bodenhaftung verlieren.
Gehen Sie beim Einsatz der Maschine in der Nähe von Abhängen, Gräben, Böschungen, Gewässern oder anderen Gefahrenstellen besonders vorsichtig vor. Die Maschine kann sich plötzlich überschlagen, wenn ein Rad über den Rand fährt oder die Böschung nachgibt. Halten Sie stets einen Sicherheitsabstand von der Maschine zur Gefahrenstelle ein.
Achten Sie auf Gefahren unten am Hang. Mähen Sie die Hanglage mit einer handgeführten Maschine, wenn Gefahren vorhanden sind.
Halten Sie die Schneideinheiten, sofern möglich, beim Einsatz der Maschine an Hanglagen abgesenkt. Das Anheben der Schneideinheiten bei Mäharbeiten an Hanglagen kann zu einer Instabilität der Maschine führen.
Note: Die Kraftstoffanlage muss ggf. in den folgenden Situationen entlüftet werden; siehe Entlüften der Kraftstoffanlage:.
Erste Inbetriebnahme eines neuen Motors.
Der Motor hat aufgrund von Kraftstoffmangel abgestellt.
Sie haben Wartungsarbeiten an den Komponenten der Kraftstoffanlage durchgeführt, wie z. B. den Austausch des Kraftstofffilters.
Stellen Sie sicher, dass die Feststellbremse aktiviert ist, und sich der Spindelantriebsschalter in der AUSGEKUPPELT-Stellung befindet.
Nehmen Sie den Fuß vom Fahrpedal und stellen Sie sicher, dass es in die NEUTRALSTELLUNG geht.
Stellen Sie den Gasbedienungshebel auf halbes Vollgas.
Stecken Sie den Zündschlüssel ein und drehen ihn auf EIN/GLüHKERZEN, bis die Glühkerzenlampe ausgeht (ca. 7 Sekunden lang). Drehen Sie den Schlüssel dann auf START, um den Anlasser zu aktivieren. Lassen Sie den Schlüssel los, wenn der Motor anspringt.
Note: Der Schlüssel geht von selbst in die EIN/LAUF-Stellung zurück.
Important: Aktivieren Sie den Anlasser nicht für mehr als 15 Sekunden, um ein Überhitzen zu vermeiden. Warten Sie 60 Sekunden ab, nachdem Sie den Anlasser 10 Sekunden lang betätigt haben, bevor Sie einen erneuten Startversuch unternehmen.
Wenn der Motor zum ersten Mal angelassen wird oder nach einer Überholung des Motors fahren Sie die Maschine ein bis zwei Minuten lang vorwärts und rückwärts. Betätigen Sie auch den Hubhebel und den Mähwerk-Antriebsschalter, um die einwandfreie Funktion aller Teile sicherzustellen.
Note: Schlagen Sie das Lenkrad vollständig nach links und rechts an, um die Lenkwirkung zu prüfen. Stellen Sie dann den Motor ab und prüfen auf Dichtheit, lockere Teile und irgendwelche Abnutzung oder Beschädigung.
Kontrollieren Sie die Maschine auf Öllecks, lockeren Teilen und andere auffällige Fehler, die zu Verletzungen führen können.
Stellen Sie den Motor ab und warten Sie, bis alle beweglichen Teile zum Stillstand gekommen sind, bevor Sie auf undichte Stellen, lose Teile und andere Defekte prüfen.
Stellen Sie den Gasbedienungshebel auf LEERLAUF.
Aktivieren Sie die Feststellbremse.
Stellen Sie den Mähwerk-Antriebsschalter in die AUSGEKUPPELT-Stellung.
Senken Sie die Mähwerke ab.
Stellen Sie den Motor ab, ziehen Sie den Schlüssel ab und warten Sie, bis alle rotierenden Teile zum Stillstand gekommen sind.
Fahren Sie die Maschine zur Arbeitsstelle und richten Sie die Maschine für den ersten Mähdurchgang außerhalb des Mähbereichs aus.
Vergewissern Sie sich, dass der Antriebsschalter des Mähwerks nach oben gestellt ist (in der AUSKUPPELN-Stellung); Mähwerk-Antriebsschalter.
Stellen Sie den Gasbedienungshebel in die SCHNELL-Stellung; siehe Gasbedienung.
Verwenden Sie den Mähwerkschalthebel, um die Mähwerke auf den Boden abzusenken; siehe Mähwerk-Ganghebel – anheben/absenken.
Betätigen Sie den Mähwerk-Antriebsschalter, um die Mähwerke für den Betrieb vorzubereiten (in die EINKUPPELN-Stellung).
Heben Sie die Mähwerke mit dem Mähwerkschalthebel vom Boden ab.
Fahren Sie die Maschine zum Mähbereich und senken Sie die Mähwerke ab.
Note: Die Mähwerke laufen.
Ziehen Sie vor dem Erreichen des Wendepunkts den Mähwerk-Schalthebel nur so weit zurück, dass die Mähwerke angehoben werden, und lassen Sie den Steuerhebel los.
Important: Halten Sie den Mähwerk-Schalthebel während des Wendens nicht zurück.
Führen Sie eine tränenförmige Wende durch, um die Maschine schnell für den nächsten Durchgang auszurichten.
Stellen Sie den Mähwerk-Antriebsschalter in die EINGEKUPPELT-Stellung.
Heben Sie die Mähwerke in die Transportstellung an.
Stellen Sie den Mäh-/Transportschieber nach links in die TRANSPORT-Stellung.

Important: Fahren Sie vorsichtig zwischen Objekten durch, damit Sie weder die Maschine noch die Mähwerke beschädigen. Gehen Sie beim Einsatz der Maschine an Hängen besonders vorsichtig vor. Um einen Überschlag zu vermeiden, sollten Sie an Hängen langsam fahren und scharfe Kurven vermeiden.
Note: Sie können die Mähwerke nicht absenken, wenn Sie die Maschine im Transportmodus betreiben.
Für das Erzielen einer gleichmäßigen, hochwertigen Schnittqualität und einem gleichmäßigen Erscheinungsbild nach dem Mähen, muss die Spindelgeschwindigkeit unbedingt der Schnitthöhe entsprechen.
Important: Wenn die Spindelgeschwindigkeit zu gering ist, können Schnittmarkierungen sichtbar sein. Bei zu höher Spindelgeschwindigkeit, kann das Schnittbild ungleichmäßig aussehen.
| Spindel mit 5 Messern | Spindel mit 8 Messern | Spindel mit 11 Messern | |||||
|---|---|---|---|---|---|---|---|
| Schnitthöhe | 8 km/h | 9,6 km/h | 8 km/h | 9,6 km/h | 8 km/h | 9,6 km/h | |
| 63,5 mm | 2½" | 3 | 3 | 3* | 3* | – | – |
| 60,3 mm | 2⅜" | 3 | 4 | 3* | 3* | – | – |
| 57,2 mm | 2¼" | 3 | 4 | 3* | 3* | – | – |
| 54,0 mm | 2⅛" | 3 | 4 | 3* | 3* | – | – |
| 50,8 mm | 2" | 3 | 4 | 3* | 3* | – | – |
| 47,6 mm | 1⅞" | 4 | 5 | 3* | 3* | – | – |
| 44,5 mm | 1¾" | 4 | 5 | 3* | 3* | – | – |
| 41,3 mm | 1⅝" | 5 | 6 | 3* | 3* | – | – |
| 38,1 mm | 1½" | 5 | 7 | 3 | 4 | – | – |
| 34,9 mm | 1⅜" | 5 | 8 | 3 | 4 | – | – |
| 31,8 mm | 1¼" | 6 | 9 | 4 | 4 | – | – |
| 28.8 mm | 1⅛" | 8 | 9* | 4 | 5 | – | – |
| 25 mm | 1" | 9 | 9* | 5 | 6 | – | – |
| 22,2 mm | ⅞" | 9* | 9* | 5 | 7 | – | – |
| 19,1 mm | ¾" | 9* | 9* | 7 | 9 | 6 | 7 |
| 15,9 mm | ⅝" | 9* | 9* | 9 | 9* | 7 | 7 |
| 12,7 mm | ½" | 9* | 9* | 9 | 9* | 8 | 8 |
| 9,5 mm | ⅜" | 9* | 9* | 9 | 9* | 9 | 9 |
|
* Toro empfiehlt diese Schnitthöhe bzw. Mähgeschwindigkeit nicht. |
|||||||
|
Note: Je höher die Ziffer, desto höher ist die Geschwindigkeit. |
|||||||
Prüfen Sie die Schnitthöheneinstellung an den Mähwerken. Ermitteln Sie anhand der Tabellenspalte der Spindeldrehzahl, in der entweder Spindeln mit 5, 8 oder 11 Messern aufgeführt sind, den Schnitthöheneintrag, der der tatsächlichen Schnitthöheneinstellung am nächsten kommt. Ermitteln Sie in der Tabelle die Spindeldrehzahl, die dieser Schnitthöhe entspricht.
Heben Sie die Abdeckung vom Steuerarm ab (Bild 46).

Drehen Sie das Spindeldrehzahlhandrad (Bild 47) auf die Zahl, die Sie in Schritt 1 ermittelt haben.

Montieren Sie die Abdeckung auf den Steuerarm.
Arbeiten Sie mehrere Tage lang mit der Maschine und prüfen Sie das Schnittbild, um sicherzustellen, dass die Schnittqualität stimmt. Das Spindeldrehzahlhandrad kann jeweils auf eine Position links oder rechts von der auf der Tabelle angegebenen Spindeldrehzahl eingestellt werden, um unterschiedlichen Rasenbedingungen, der zu entfernenden Graslänge und den persönlichen Vorzügen Rechnung zu tragen.
Parken Sie die Maschine auf einer ebenen Fläche, senken Sie die Mähwerke ab, aktivieren Sie die Feststellbremse, stellen Sie den Motor ab und ziehen Sie den Zündschlüssel ab.
Stellen Sie sicher, dass der Kraftstofftank mindestens halb voll ist.
Entriegeln und öffnen Sie die Motorhaube.
Öffnen Sie die Entlüftungsschraube an der Kraftstoffeinspritzpumpe (Bild 48).

Drehen Sie den Zündschlüssel auf die EIN-Stellung.
Die elektrische Kraftstoffpumpe läuft und drückt überschüssige Luft aus der Entlüftungsschraube heraus.
Note: Lassen Sie den Schlüssel in der EIN-Stellung, bis ein ununterbrochener Kraftstoffstrom um die Schraube hervorquillt.
Ziehen Sie die Schraube fest und drehen Sie den Zündschlüssel in die AUS-Stellung.
Note: Normalerweise sollte der Motor anspringen, wenn Sie das oben beschriebe Verfahren befolgen. Wenn der Motor jedoch nicht anspringt, können Luftblasen zwischen der Einspritzpumpe und den Injektoren stecken; siehe Entlüften der Einspritzdüsen.
Kuppeln Sie zum Mähen die Mähwerke ein und fahren den Arbeitsbereich langsam an. Senken Sie die Mähwerke ab, wenn sich die Frontmähwerke über dem Mähbereich befinden.
Orientieren Sie sich an einem Baum oder einem anderen Gegenstand in einiger Entfernung und fahren diesen geradlinig an, um ein professionelles gerades Schnittbild und Streifen herbeizuführen.
Heben Sie die Mähwerke an, sobald die Frontmähwerke das Ende des Mähbereichs erreichen, und führen eine tränenförmige Wendung durch, um die Maschine schnell für den nächsten Mähdurchgang auszurichten.
Die Mähwerke neigen dazu, Schnittgut zur linken Seite der Maschine auszuwerfen. Verwenden Sie den Auswurf nach vorne, wenn Sie kleinere Grasmengen schneiden. Dies ergibt ein besseres Schnittbild. Zum Auswerfen des Schnittguts nach vorne müssen Sie einfach des hintere Blech an den Mähwerken schließen.
Öffnen Sie die Abdeckungen der Mähwerke nicht bei laufendem Motor, um Körperverletzungen oder eine Beschädigung der Maschine zu vermeiden.
Stellen Sie den Motor ab und warten Sie, bis alle beweglichen Teile zum Stillstand gekommen sind. Schließen oder öffnen Sie erst dann die Schutzbleche der Mähwerke.
Positionieren Sie beim Schneiden größerer Grasmengen die Schutzbleche gerade unter horizontal. Öffnen Sie die Schutzbleche nicht zu weit, sonst kann sich zu viel Schnittgut um dem Rahmen, das hintere Kühlergitter und den Motorbereich ablagern.
Die Mähwerke haben auch am nicht motorisierten Ende Gleichgewichtsgewichte, um ein gleichmäßiges Schnittbild zu ergeben. Sie können Ballast hinzufügen oder entfernen, wenn er nicht der Rasenfläche entspricht.
Stellen Sie die Maschine auf einer ebenen Fläche ab.
Entriegeln und senken Sie die Mähwerke auf den Boden ab.
Aktivieren Sie die Feststellbremse.
Stellen Sie den Motor ab und ziehen Sie den Schlüssel ab.
Warten Sie, bis alle beweglichen Teile zum Stillstand gekommen sind.
Lassen Sie die Maschine abkühlen, bevor Sie diese einstellen, warten, reinigen oder einlagern.
Um Brände zu vermeiden, stellen Sie sicher, dass Mähwerke, Antriebe, Schalldämpfer, Kühlsiebe und der Motorraum frei von Gras und Schmutzablagerungen sind. Wischen Sie Öl- und Kraftstoffverschüttungen auf.
Kuppeln Sie den Antrieb des Anbaugerätes aus, wenn Sie die Maschine schleppen oder nicht verwenden.
Den/die Sicherheitsgurt(e) bei Bedarf warten und reinigen.
Lagern Sie weder die Maschine noch den Kraftstoffkanister in der Nähe von offenen Flammen, Funken oder Zündflammen wie z. B. bei einem Heizkessel oder sonstigen Geräten.
Waschen Sie die Maschine und fetten Sie sie ein; siehe Waschen der Maschine und Einfetten der Lager und Büchsen.
Im Notfall lässt sich die Maschine über kürzere Strecken abschleppen, Exmark kann diese Vorgehensweise jedoch nicht als normale Transportmethode empfehlen.
Important: Schleppen Sie die Maschine nie schneller als mit 3 km/h bis 4 km/h ab, sonst kann der Antrieb beschädigt werden. Verwenden Sie einen Pritschenwagen oder Anhänger, wenn Sie die Maschine über eine größere Strecke transportieren möchten.
Entriegeln und öffnen Sie die Motorhaube.
Drehen Sie in der Nähe des rechten Motorhaubenriegels den Griff des Sicherheitsventils an der Pumpe (Bild 49) und drehen Sie das Ventil um 90°.

Schließen und verriegeln Sie die Haube.
Verbinden Sie das zu schleppende Fahrzeug mit der Maschine an den Zurrpunkten; siehe Identifizieren der Vergurtungsstellen.
Setzen Sie sich auf den Fahrersitz und betätigen Sie bei Bedarf die Feststellbremse, um Ihre Maschine während des Schleppens zu kontrollieren.
Important: Starten Sie den Motor nicht, wenn das Sicherheitsventil noch offen ist.
Schließen Sie das Sicherheitsventil vor dem Anlassen des Motors, indem Sie es um 90 Grad (eine Viertelumdrehung) drehen.

Verwenden Sie durchgehenden Rampen für das Verladen der Maschine auf einen Anhänger oder Pritschenwagen.
Vergurten Sie die Maschine.
Note: Bestimmen Sie die linke und rechte Seite der Maschine anhand der üblichen Einsatzposition.
Note: Laden Sie ein kostenfreies Exemplar des elektrischen oder hydraulischen Schaltbilds von www.Toro.com herunter und suchen Sie Ihre Maschine vom Link für die Bedienungsanleitungen auf der Homepage.
Important: Weitere Wartungsarbeiten finden Sie in der Betriebsanleitung des Motors und der Betriebsanleitung des Mähwerks. Sicherheit bei Wartungsarbeiten
Bevor Sie den Fahrerstand verlassen, gehen Sie wie folgt vor:
Stellen Sie die Maschine auf einer ebenen Fläche ab.
Entriegeln und senken Sie die Mähwerke auf den Boden ab.
Aktivieren Sie die Feststellbremse.
Stellen Sie den Motor ab und ziehen Sie den Schlüssel ab.
Warten Sie, bis alle beweglichen Teile zum Stillstand gekommen sind.
Lassen Sie die Maschine abkühlen, bevor Sie diese einstellen, warten, reinigen oder einlagern.
Tragen Sie geeignete Kleidung, u. a. eine Schutzbrille, lange Hose und rutschfeste Arbeitsschuhe. Halten Sie Hände, Füße, Kleidung, Schmuck und lange Haare von beweglichen Teilen fern.
Lassen Sie alle Maschinenteile abkühlen, ehe Sie mit Wartungsarbeiten beginnen.
Führen Sie Wartungsarbeiten möglichst nicht bei laufendem Motor durch. Fassen Sie keine beweglichen Teile an.
Betreiben Sie den Motor nur in gut belüfteten Bereichen. Die Abgase enthalten Kohlenmonoxid, das beim Einatmen tödlich ist.
Stützen Sie die Maschine mit Achsständern ab, wenn Sie Arbeiten unter der Maschine ausführen.
Lassen Sie den Druck aus Maschinenteilen mit gespeicherter Energie vorsichtig ab.
Halten Sie alle Teile der Maschine in gutem Betriebszustand und alle Befestigungen angezogen.
Ersetzen Sie abgenutzte und beschädigte Aufkleber.
Verwenden Sie nur Originalersatzteile von Toro, um eine sichere und optimale Leistung zu gewährleisten. Ersatzteile anderer Hersteller können gefährlich sein und eine Verwendung könnte die Garantie ungültig machen.
| Wartungsintervall | Wartungsmaßnahmen |
|---|---|
| Nach der ersten Betriebsstunde |
|
| Nach 10 Betriebsstunden |
|
| Nach 50 Betriebsstunden |
|
| Bei jeder Verwendung oder täglich |
|
| Alle 25 Betriebsstunden |
|
| Alle 50 Betriebsstunden |
|
| Alle 100 Betriebsstunden |
|
| Alle 150 Betriebsstunden |
|
| Alle 200 Betriebsstunden |
|
| Alle 400 Betriebsstunden |
|
| Alle 500 Betriebsstunden |
|
| Alle 800 Betriebsstunden |
|
| Alle 1000 Betriebsstunden |
|
| Alle 2000 Betriebsstunden |
|
| Alle 2 Jahre |
|
Kopieren Sie diese Seite für regelmäßige Verwendung.
| Wartungsprüfpunkt | Für KW: | ||||||
|---|---|---|---|---|---|---|---|
| Mo | Di | Mi | Do | Fr | Sa | So | |
| Prüfen Sie die Funktion der Sicherheitsschalter. | |||||||
| Prüfen Sie die Funktion der Bremsen. | |||||||
| Prüfen Sie den Kraftstoffstand. | |||||||
| Prüfen Sie den Ölstand im Motor. | |||||||
| Prüfen Sie den Füllstand im Kühlsystem. | |||||||
| Entleeren Sie den Kraftstoff-/Wasserabscheider. | |||||||
| Prüfen Sie den Luftfilter, die Staubschale und das Entlüftungsventil. | |||||||
| Achten Sie auf ungewöhnliche Motorengeräusche.1 | |||||||
| Prüfen Sie den Kühler und das -gitter auf Sauberkeit | |||||||
| Achten Sie auf ungewöhnliche Betriebsgeräusche. | |||||||
| Prüfen Sie den Hydraulikölstand. | |||||||
| Prüfen Sie die Hydraulikschläuche auf Defekte. | |||||||
| Prüfen Sie die Dichtheit. | |||||||
| Prüfen Sie den Kraftstoffstand. | |||||||
| Prüfen Sie den Reifendruck. | |||||||
| Prüfen Sie die Funktion der Instrumente. | |||||||
| Prüfen Sie die Einstellung der Spindel zum Untermesser. | |||||||
| Prüfen Sie die Schnitthöheneinstellung. | |||||||
| Schmieren Sie alle Schmiernippel ein.2 | |||||||
| Bessern Sie alle Lackschäden aus. | |||||||
| Waschen Sie die Maschine. | |||||||
|
1Prüfen Sie bei Startschwierigkeiten, bei zu starkem Qualmen oder unruhigem Motorlauf die Glühkerzen und Einspritzdüsen. 2Sofort nach jedem Reinigen, unabhängig von den aufgeführten Intervallen. |
|||||||
| Inspiziert durch: | ||
| Punkt | Datum | Informationen |
| 1 | ||
| 2 | ||
| 3 | ||
| 4 | ||
| 5 | ||
Stellen Sie die Maschine auf einer ebenen Fläche ab.
Senken Sie die Mähwerke ab.
Aktivieren Sie die Feststellbremse.
Stellen Sie den Motor ab und ziehen Sie den Schlüssel ab.
Warten Sie, bis alle sich bewegenden Teile zum Stillstand gekommen sind.
Blockieren Sie die Räder.
Stützen Sie die Vorderseite der Maschine unter dem Vierkantrohr des unteren Rahmens so nah wie möglich an die Seitenplatte ab.

Stützen Sie die Maschine mit Achsständern ab, die für das Gewicht der Maschine unter dem Vierkantrohr oder den Radmotoren ausgelegt sind; siehe Technische Daten.
Blockieren Sie die Räder.
Befestigen Sie das Hebezeug an der Vergurtungsöse der Hinterradgabel (Bild 52).

Heben Sie die Maschine vorsichtig an.
Stützen Sie die Maschine mit Achsständern ab, die für das Gewicht der Maschine unter dem Rahmen ausgelegt sind; siehe Technische Daten.
Blockieren Sie die Räder.
Heben Sie die Rückseite der Maschine unter dem Hinterradmotor an. (Bild 63).

Stützen Sie die Maschine mit Achsständern ab, die für das Gewicht der Maschine unter dem Rahmen ausgelegt sind; siehe Technische Daten.
Entfernen Sie die beiden Drehknöpfe, mit denen die Akkufachabdeckung an der Maschine befestigt ist, und nehmen Sie die Abdeckung ab (Bild 50).

| Wartungsintervall | Wartungsmaßnahmen |
|---|---|
| Alle 50 Betriebsstunden |
|
| Alle 500 Betriebsstunden |
|
Schmierfettsorte: Nr. 2 Allzweckschmierfett auf Lithiumbasis
Die Maschine besitzt Schmiernippel, die regelmäßig geschmiert werden müssen. Staubige und schmutzige Bedingungen können dazu führen, dass Schmutz in die Lager und Büchsen eindringt, was den Verschleiß beschleunigt. Fetten Sie die Schmiernippel ungeachtet des aufgeführten Intervalls unmittelbar nach jeder Wäsche.
Die Schmiernippel und deren Anzahl sind:
Drehbüchsen am Heckmähwerk (Bild 57)

Drehbüchsen am Frontmähwerk (Bild 58)

Lenkzapfen (Bild 59)

Hintere Hubarm-Drehbüchsen und Hubzylinder (2) (Bild 60)

Linke vordere Hubarm-Drehbüchsen und Hubzylinder (2) (Bild 61)

Rechte vordere Hubarm-Drehbüchsen und Hubzylinder (2) (Bild 62)

Leerlaufeinstellung (Bild 63)

Mäh-/Transportschieber (Bild 64)

Riemenspannungsdrehbüchse (Bild 65)

Lager fallen fast nie aufgrund von Material- oder Verarbeitungsfehlern aus. Der Ausfall ist meistens auf Feuchtigkeit und Kontamination zurückzuführen, die durch die Dichtungen eingedrungen sind. Lager, die eingefettet sind, müssen regelmäßig gewartet werden, um schädliche Rückstände aus dem Lagerbereich zu entfernen. Abgedichtete Lager verlassen sich auf das anfänglich eingefüllte Spezialschmiermittel und eine robuste interne Dichtung, mit denen Kontaminationen und Feuchtigkeit von den Rollelementen ferngehalten werden.
Die abgedichteten Lager müssen nicht geschmiert oder kurzfristig gewartet werden. Dies verringert die erforderlichen Routinewartungsarbeiten und das Potenzial für eine Rasenbeschädigung aufgrund von Schmiermittelkontamination. Diese abgedichteten Lagerpakete bieten bei normalem Gebrauch eine gute Leistung und Lebensdauer. Überprüfen Sie den Zustand der Lager und die Unversehrtheit der Dichtungen regelmäßig, um Ausfallzeiten zu vermeiden. Prüfen Sie die Lager saisonal bedingt und tauschen Sie sie aus, wenn sie beschädigt oder verschlissen sind. Lager sollten gleichmäßig laufen, ohne negative Merkmale, wie z. B. Wärmeentwicklung, Geräusche, Lockerung oder Rostaustritt.
Aufgrund der Einsatzbedingungen, denen diese Lager bzw. Dichtungen ausgesetzt sind, (z. B. Sand, Rasenchemikalien, Wasser, Aufpralle usw.) werden diese Teile als normale Abnutzungsteile angesehen. Lager, die aus einem anderen Grund, außer Material und Verarbeitungsschäden, ausfallen, sind normalerweise nicht von der Garantie abgedeckt.
Note: Die Lagernutzungsdauer kann durch falsches Reinigen negativ beeinflusst werden. Reinigen Sie die Maschine nicht, wenn sie heiß ist, und vermeiden Sie einen direkten Kontakt der Lager mit Druckluftreinigern.
Stellen Sie den Motor grundsätzlich vor dem Prüfen des Ölstands oder Auffüllen des Kurbelgehäuses mit Öl ab.
Ändern Sie nicht die Geschwindigkeit des Drehzahlreglers oder überdrehen den Motor.
Verwenden Sie qualitativ hochwertiges Öl mit niedrigem Aschengehalt, das die folgenden Spezifikationen erfüllt oder übersteigt:
|
ACEA – E6 |
|
API – CH-4 oder höher |
|
JASO – DH-2 |
Bevorzugte Ölviskosität: SAE 15W-40 [-(wärmer als -18°C)]
Alternative Ölviskosität: SAE 10W-30 oder 5W-30 (alle Temperaturen)
Premium Motoröl von Toro ist vom offiziellen Toro-Vertragshändler mit einer Viskosität von 15W-40 oder 10W-30 erhältlich.
| Wartungsintervall | Wartungsmaßnahmen |
|---|---|
| Bei jeder Verwendung oder täglich |
|
Der Motor wird vom Werk mit Öl im Kurbelgehäuse ausgeliefert. Überprüfen Sie jedoch den Ölstand, bevor Sie den Motor zum ersten Mal anlassen und dann danach.
Note: Exmark Premium Motoröl ist vom Vertragshändler mit einer Viskosität von 15W-40 oder 10W-30 erhältlich. Die Bestellnummern finden Sie im Ersatzteilkatalog.
Note: Der Stand des Motoröls sollte am besten bei kaltem Motor vor dem täglichen Anlassen geprüft werden. Wenn der Motor gelaufen ist, lassen Sie das Öl für 10 Minuten in die Wanne zurücklaufen, bevor Sie den Ölstand prüfen. Wenn der Ölstand an oder unter der Nachfüllen-Markierung am Peilstab liegt, gießen Sie Öl nach, bis der Ölstand die VOLL-Markierung erreicht. Füllen Sie nicht zu viel ein. Wenn der Ölstand zwischen der Voll- und Nachfüllen-Markierung liegt, muss kein Öl nachgefüllt werden.
Bereiten Sie die Maschine für die Wartung vor; siehe Vorbereiten für die Wartung.
Entriegeln und öffnen Sie die Motorhaube.
Nehmen Sie den Peilstab (Bild 66) heraus und wischen Sie ihn mit einem sauberen Lappen ab.

Stecken Sie die Peilstab in das Peilstabrohr und achten Sie darauf, dass er ganz eingesteckt ist, ziehen Sie ihn dann heraus und prüfen Sie den Ölstand.
Entfernen Sie bei niedrigem Ölstand den Ölfülldeckel (Bild 67), gießen langsam kleinere Ölmengen ein und prüfen den Stand regelmäßig, bis die Voll-Markierung am Peilstab erreicht wird.
Important: Achten Sie darauf, dass der Motorölstand zwischen den unteren und oberen Markierungen am Ölpeilstab liegt. Eine Über- oder Unterfüllung des Motoröls kann zu schweren Motorschäden führen.

Setzen Sie den Ölfüllstutzendeckel und den Peilstab ein.
Schließen und verriegeln Sie die Haube.
| Wartungsintervall | Wartungsmaßnahmen |
|---|---|
| Nach 50 Betriebsstunden |
|
| Alle 150 Betriebsstunden |
|
Fassungsvermögen des Kurbelgehäuses: ca. 3,8 l mit Filter
Bereiten Sie die Maschine für die Wartung vor; siehe Vorbereiten für die Wartung.
Entriegeln und öffnen Sie die Motorhaube und warten Sie, bis der Motor abgekühlt ist.
Entfernen Sie eine Ablassschraube (Bild 68) und lassen das Öl in eine Auffangwanne ablaufen; setzen Sie die Schraube ein, wenn kein Öl mehr ausläuft.

Entfernen Sie den Ölfilter (Bild 69).

Ölen Sie die neue Filterdichtung leicht mit frischem Öl ein.
Note: Ziehen Sie den Filter nicht zu fest.
Füllen Sie Öl in das Kurbelgehäuse, siehe Motorölangaben und Überprüfen des Motorölstands.
Schließen und verriegeln Sie die Haube.
| Wartungsintervall | Wartungsmaßnahmen |
|---|---|
| Alle 200 Betriebsstunden |
|
Prüfen Sie das Gehäuse des Luftfilters auf Schäden, die eventuell zu einem Luftleck führen könnten. Ersetzen Sie ihn bei einer Beschädigung. Prüfen Sie die ganze Ansauganlage auf Lecks, Beschädigungen oder lose Schlauchklemmen.
Warten Sie den Luftfilter in den empfohlenen Intervallen oder früher, wenn die Motorleistung aufgrund eines sehr staubigen oder schmutzigen Umfelds nachlässt. Das frühzeitige Auswechseln des Luftfilters erhöht nur die Gefahr, dass Schmutz in den Motor gelangt, wenn Sie den Filter entfernen.
Stellen Sie sicher, dass die Abdeckung richtig angebracht ist und das Luftfiltergehäuse abdichtet.
Bereiten Sie die Maschine für die Wartung vor; siehe Vorbereiten für die Wartung.
Öffnen der Motorhaube.
Lösen Sie die Laschen, mit denen die Abdeckung am Luftfiltergehäuse befestigt ist (Bild 70).

Nehmen Sie die Abdeckung vom Luftfiltergehäuse ab.
Vor dem Entfernen des Filters sollten Sie große Schmutzablagerungen zwischen der Außenseite des Hauptfilters und der Glocke mit schwacher Druckluft (2,76 bar, sauber und trocken) entfernen. Verwenden Sie keine starke Druckluft, da Schmutz durch den Filter in den Einlass gedrückt werden könnte. Diese Reinigung verhindert, dass Rückstände in den Einlass gelangen, wenn Sie den Hauptfilter entfernen.
Nehmen Sie den Filtereinsatz heraus (Bild 70).
Note: Eine Reinigung der gebrauchten Einsätze kann das Filtermedium beschädigen.
Entfernen Sie das Gummiablassventil (Bild 70) vom Schmutzauswurfanschluss der Luftfilterabdeckung.
Reinigen Sie das Ablassventil und den Auswurfanschluss, und setzen Sie das Ablassventil in den Anschluss ein.
Prüfen Sie den neuen Filter auf Versandschäden, prüfen Sie das Dichtungsende des Filters und des Gehäuses.
Important: Verwenden Sie nie einen beschädigten Einsatz.
Setzen Sie den Filter ein. Drücken Sie auf den äußeren Rand des Einsatzes, um es in der Glocke zu platzieren.
Important: Drücken Sie nie auf die flexible Mitte des Filters.
Setzen Sie die Abdeckung ein, richten Sie das Gummiablassventil nach unten, ungefähr zwischen 17.00 und 19.00 Uhr (vom Ende her gesehen).
Befestigen Sie die Abdeckung mit den beiden Riegeln.
Schließen und verriegeln Sie die Haube.
| Wartungsintervall | Wartungsmaßnahmen |
|---|---|
| Alle 2 Jahre |
|
Bereiten Sie die Maschine für die Wartung vor; siehe Vorbereiten für die Wartung.
Entleeren und reinigen Sie auch den Tank, wenn die Kraftstoffanlage verunreinigt wurde oder die Maschine längere Zeit eingelagert werden muss. Spülen Sie den Tank nur mit frischem Kraftstoff.
| Wartungsintervall | Wartungsmaßnahmen |
|---|---|
| Alle 400 Betriebsstunden |
|
Bereiten Sie die Maschine für die Wartung vor; siehe Vorbereiten für die Wartung.
Entriegeln und öffnen Sie die Motorhaube.
Prüfen Sie die Leitungen und Anschlussstücke auf Verschleiß, Beschädigung oder lockere Verbindungen.
Note: Reparieren oder ersetzen Sie beschädigte oder verschlissene Kraftstoffleitungen oder Anschlussstücke.
Schließen und verriegeln Sie die Haube.
| Wartungsintervall | Wartungsmaßnahmen |
|---|---|
| Bei jeder Verwendung oder täglich |
|
Bereiten Sie die Maschine für die Wartung vor; siehe Vorbereiten für die Wartung.
Entriegeln und öffnen Sie die Motorhaube und warten Sie, bis der Motor abgekühlt ist.
Stellen Sie einen sauberen Behälter unter den Kraftstofffilter.
Lösen Sie das Ablassventil an der Unterseite der Filterglocke (Bild 71).

Ziehen Sie anschließend das Ventil wieder fest.
Starten Sie den Motor, prüfen Sie auf undichte Stellen, und stellen den Motor wieder ab.
Note: Reparieren Sie alle undichten Stellen des Kraftstoffsystems.
Schließen und verriegeln Sie die Haube.
| Wartungsintervall | Wartungsmaßnahmen |
|---|---|
| Alle 400 Betriebsstunden |
|
Bereiten Sie die Maschine für die Wartung vor; siehe Vorbereiten für die Wartung.
Entriegeln und öffnen Sie die Motorhaube und warten Sie, bis der Motor abgekühlt ist.
Reinigen Sie den Anbaubereich der Filterglocke (Bild 71).
Entfernen Sie die Filterglocke und reinigen die Kontaktfläche.
Ölen Sie die Dichtung der Filterglocke mit frischem Öl ein.
Drehen Sie die Filterglocke per Hand ein, bis die Dichtung die Kontaktfläche berührt; drehen Sie sie dann um eine weitere ½ Umdrehung.
Starten Sie den Motor, prüfen Sie auf undichte Stellen, und stellen den Motor wieder ab.
Note: Reparieren Sie alle undichten Stellen des Kraftstoffsystems.
Schließen und verriegeln Sie die Haube.
Note: Führen Sie diese Schritte nur durch, wenn die Kraftstoffanlage bereits auf herkömmliche Weise entlüftet wurde, der Motor jedoch trotzdem nicht anspringt; siehe Entlüften der Kraftstoffanlage.
Wenn möglich, führen Sie jeden Schritt unter Vorbereiten für die Wartung aus.
Entriegeln und öffnen Sie die Motorhaube und warten Sie, bis der Motor abgekühlt ist.
Lösen Sie den Leitungsanschluss der Kraftstoffleitung zur Einspritzdüse Nr. 1.

Stellen Sie den Gasbedienungshebel in die SCHNELL-Stellung.
Drehen Sie den Schlüssel im Zündschloss in die START-Stellung und achten Sie auf den Kraftstoffstrom um den Anschluss. Drehen Sie den Schlüssel in die AUS-Stellung, wenn ein gleichmäßiger Flüssigkeitsstrom besteht.
Important: Aktivieren Sie den Anlasser nicht für mehr als 15 Sekunden, um ein Überhitzen zu vermeiden. Warten Sie 60 Sekunden ab, nachdem Sie den Anlasser 10 Sekunden lang betätigt haben, bevor Sie einen erneuten Startversuch unternehmen.
Ziehen Sie den Leitungsanschluss gut fest.
Reinigen Sie vorhandene Kraftstoffrückstände vom Motor.
Wiederholen Sie die Schritte 3 bis 7 für die restlichen Einspritzdüsen.
Starten Sie den Motor, prüfen Sie auf undichte Stellen, und stellen den Motor wieder ab.
Note: Reparieren Sie alle undichten Stellen des Kraftstoffsystems.
Schließen und verriegeln Sie die Haube.
Klemmen Sie vor dem Durchführen von Reparaturen an der Maschine den Akku ab. Klemmen Sie immer zuerst die Minusklemme und dann die Plusklemme ab. Schließen Sie immer zuerst den Pluspol und dann den Minuspol an.
Laden Sie den Akku in offenen, gut gelüfteten Bereichen und nicht in der Nähe von Funken und offenem Feuer. Stecken Sie das Ladegerät aus, ehe Sie die Batterie anschließen oder abklemmen. Tragen Sie Schutzkleidung und verwenden Sie isoliertes Werkzeug.
| Wartungsintervall | Wartungsmaßnahmen |
|---|---|
| Alle 25 Betriebsstunden |
|
Die Akkuflüssigkeit enthält Schwefelsäure, die ein tödliches Gift ist und starke chemische Verbrennungen verursacht.
Verschlucken Sie niemals Akkusäure und vermeiden Sie den Kontakt mit Haut, Augen und Kleidungsstücken. Tragen Sie Augenschutz und Schutzhandschuhe aus Gummi.
Füllen Sie den Akku an einem Ort, an dem immer klares Wasser zum Spülen der Haut verfügbar ist.
Das unsachgemäße Verlegen des Akkukabels kann zu Schäden am Traktor und den Kabeln führen, und es können Funken erzeugt werden. Funken können zum Explodieren der Akkugase führen, was Verletzungen zur Folge haben kann.
Trennen Sie immer das Minuskabel (Schwarz) ab, bevor Sie das Pluskabel (Rot) abtrennen.
Schließen Sie immer das Pluskabel (Rot) an, bevor Sie das Minuskabel (Schwarz) anschließen.
Bereiten Sie die Maschine für die Wartung vor; siehe Vorbereiten für die Wartung.
Entfernen Sie die Akkuabdeckung; siehe Entfernen der Akkuabdeckung.
Entfernen Sie die Einfüllstutzen vom Akku.
Füllen Sie den Elektrolytstand in den Akkuzellen mit destilliertem oder demineralisiertem Wasser bei Bedarf nach.
Note: Füllen Sie die Zellen nicht höher als bis zur Unterseite des Spaltrings in jeder Zelle.
Drehen Sie die Fülldeckel mit den Entlüftungsstellen nach hinten ein (in Richtung Kraftstofftank).
Reinigen Sie die Oberseite des Akkus durch regelmäßiges Waschen mit einer in Ammoniak oder Natronlauge getauchten Bürste. Spülen Sie die Oberseite des Akkus nach der Reinigung mit Wasser.
Important: Entfernen Sie die Fülldeckel während der Reinigung nicht.
Überprüfen Sie die Kabelklemmen und die Pole des Akkus auf Korrosion. Falls Korrosion auftritt, führen Sie die folgenden Schritte aus:
Klemmen Sie das Minuskabel (-) vom Akku ab.
Klemmen Sie das Pluskabel (+) vom Akku ab.
Reinigen Sie die Klemmen und Pole separat.
Schließen Sie das Pluskabel (+) an den Akku an.
Schließen Sie das Minuskabel (-) an den Akku an.
Bestreichen Sie die Klemmen und Pole mit Akkupolschutzmittel.
Prüfen Sie, ob die Kabelklemmen des Akkus fest an den Akkupolen sitzen.
Bringen Sie die Akkufachabdeckung wieder an.
Note: Lagern Sie die Maschine an einem kühlen Ort, damit sich der Akku nicht zu schnell entlädt.
Bereiten Sie die Maschine für die Wartung vor; siehe Vorbereiten für die Wartung.
Heben Sie die Abdeckung vom Steuerarm ab (Bild 73).

Suchen Sie die durchgebrannte Sicherung im Sicherungshalter oder Sicherungsblock (Bild 73).
Ersetzen Sie die Sicherung durch eine Sicherung gleichen Typs und gleicher Amperezahl.
Montieren Sie die Abdeckung auf den Steuerarm (Bild 73).
| Wartungsintervall | Wartungsmaßnahmen |
|---|---|
| Bei jeder Verwendung oder täglich |
|
Ein niedriger Reifendruck reduziert die Maschinenbeständigkeit an den Seiten von Hängen. Das kann zum Überschlagen führen, was tödliche oder Körperverletzungen zur Folge haben kann.
Stellen Sie den Reifendruck nicht zu niedrig ein.
Note: Behalten Sie den korrekten Reifendruck bei, um eine gute Schnittqualität und optimale Maschinenleistung zu gewährleisten.
Messen Sie den Luftdruck in jeden Reifen. Der richtige Reifendruck ist 0,97-1,10 bar.
Füllen Sie bei Bedarf Luft nach oder lassen Sie Luft aus den Reifen ab, bis Sie 0,97 bis 1,10 bar erreichen.
| Wartungsintervall | Wartungsmaßnahmen |
|---|---|
| Nach der ersten Betriebsstunde |
|
| Nach 10 Betriebsstunden |
|
| Alle 200 Betriebsstunden |
|
Ziehen Sie die Radmuttern auf ein Drehmoment von 61 bis 88 N∙m an.
Wenn Sie die Radmuttern nicht fest genug ziehen, können Verletzungen daraus resultieren.
Ziehen Sie die Radmuttern bis auf ein Drehmoment von 61-88 N∙m an.
| Wartungsintervall | Wartungsmaßnahmen |
|---|---|
| Nach der ersten Betriebsstunde |
|
| Nach 10 Betriebsstunden |
|
| Alle 200 Betriebsstunden |
|
Ziehen Sie die Achsnabenmuttern auf ein Drehmoment von 339 bis 373 N∙m an.
Wenn sich die Maschine bewegt, wenn das Fahrpedal in der NEUTRALSTELLUNG ist, müssen Sie die Antriebsnocke einstellen.
Parken Sie die Maschine auf einer ebenen Fläche, senken die Mähwerke ab, aktivieren die Feststellbremse, stellen den Motor ab und ziehen Sie den Schlüssel aus Zündschloss.
Heben Sie ein Vorderrad und ein Hinterrad vom Boden ab und stellen Stützblöcke unter den Rahmen.
Wenn die Maschine ungenügend abgestützt ist, kann sie versehentlich herunterfallen, was unter der Maschine befindliche Personen verletzen kann.
Heben Sie ein Vorderrad und ein Hinterrad vom Boden an, sonst bewegt sich die Maschine während der Einstellung.
Lockern Sie die Sicherungsmutter an der Fahrantriebs-Einstellnocke (Bild 74).

Der Motor muss für die endgültige Einstellung der Fahrantriebs-Einstellnocke laufen. Kontakt mit beweglichen Teilen oder heißen Oberflächen kann zu Verletzungen führen.
Halten Sie Ihre Hände und Füße, das Gesicht und andere Körperteile vom Auspuff, anderen heißen Motorteilen und von beweglichen Teilen fern.
Starten Sie den Motor und drehen das Sechskant der Nocke in beide Richtungen, um die zentrale Stellung im Neutralbereich ausfindig zu machen.
Ziehen Sie die Sicherungsmutter fest, um die Einstellung zu arretieren.
Stellen Sie dann den Motor ab.
Entfernen Sie die Achsböcke und senken die Maschine auf den Werkstattboden ab. Machen Sie eine Testfahrt, um sicherzustellen, dass sich die Maschine nicht bewegt, wenn das Fahrpedal in der Neutral-Stellung ist.
Ein Verschlucken von Motorkühlmittel kann zu Vergiftungen führen; Kinder und Haustiere sollten keinen Zugang zum Kühlmittel haben.
Ablassen von heißem, unter Druck stehendem Kühlmittel bzw. eine Berührung des heißen Kühlers und benachbarter Teile kann zu schweren Verbrennungen führen.
Lassen Sie den Motor immer für mindestens 15 Minuten abkühlen, bevor Sie den Kühlerdeckel abnehmen.
Verwenden Sie beim Öffnen des Kühlerdeckels einen Lappen und öffnen den Kühler langsam, damit Dampf ohne Gefährdung austreten kann.
Der Kühlmittelbehälter ist werkseitig mit einer 50/50-Lösung aus Wasser und langlebigem Kühlmittel auf Ethylenglykolbasis gefüllt.
Important: Verwenden Sie nur handelsübliche Kühlmittel, die den in der Tabelle Kühlmittelprodukte mit verlängerter Lebensdauer“ aufgeführten Spezifikationen entsprechen.Verwenden Sie kein herkömmliches (grünes) Kühlmittel mit anorganischer Säuretechnologie (IAT) in Ihrer Maschine. Mischen Sie kein herkömmliches Kühlmittel mit Kühlmittel mit verlängerter Lebensdauer.
|
Ethylen-Glykol Kühlmittel |
Korrosionsinhibitor |
|
Frostschutzmittel mit verlängerter Lebensdauer |
Organische-Säure Technologie (OAT) |
|
Important: Verlassen Sie sich nicht auf die Farbe des Kühlmittels, um den Unterschied zwischen herkömmlichen (grün) Kühlmittel mit anorganischer Säuretechnologie (IAT) und Kühlmittel mit verlängerter Lebensdauer zu erkennen.Hersteller können Kühlmittel mit verlängerter Lebensdauer in einer der folgenden Farben einfärben: rot, rosa, orange, gelb, blau, türkis, violett und grün. Verwenden Sie Kühlmittel, die den in der Tabelle Kühlmittelprodukte mit verlängerter Lebensdauer“ Spezifikationen entsprechen. |
|
|
ATSM International |
SAE International |
|
D3306 und D4985 |
J1034, J814 und 1941 |
Important: Die Kühlmittelkonzentration sollte ein 50/50-Gemisch aus Kühlmittel und Wasser sein.
Bevorzugt: Wenn Sie Kühlmittel aus einem Konzentrat mischen, mischen Sie es mit destilliertem Wasser.
Bevorzugte Option: Wenn kein destilliertes Wasser verfügbar ist, verwenden Sie ein vorgemischtes Kühlmittel anstelle eines Konzentrats.
Mindestanforderung: Wenn destilliertes Wasser und vorgemischtes Kühlmittel nicht zur Verfügung stehen, mischen Sie konzentriertes Kühlmittel mit sauberem Trinkwasser.
| Wartungsintervall | Wartungsmaßnahmen |
|---|---|
| Bei jeder Verwendung oder täglich |
|
Fassungsvermögen des Kühlsystems: ca. 5,7 l
Wenn der Motor gelaufen ist, ist das Kühlmittel heiß und steht unter Druck, d. h., es kann ausströmen und Verbrühungen verursachen.
Entfernen Sie niemals den Kühlerdeckel, wenn der Motor noch läuft.
Verwenden Sie beim Öffnen des Kühlerdeckels einen Lappen und öffnen den Kühler langsam, damit Dampf ohne Gefährdung austreten kann.
Bereiten Sie die Maschine für die Wartung vor; siehe Vorbereiten für die Wartung.
Entriegeln und öffnen Sie die Motorhaube.
Prüfen Sie den Kühlmittelstand im Ausdehnungstank (Bild 75).

Note: Bei einem kalten Motor muss der Füllstand ungefähr auf halber Höhe zwischen den beiden Markierungen stehen.
Wenn der Kühlmittelstand niedrig ist, nehmen Sie die Kappe des Ausdehnungstanks ab, füllen Sie die angegebene Kühlflüssigkeit in den Tank, bis der Kühlmittelstand in der Mitte zwischen den Markierungen an der Seite des Tanks liegt, und setzen Sie den Deckel wieder auf den Tank.
Important: Füllen Sie das Ausdehnungsgefäß nicht zu voll.
Schließen und verriegeln Sie die Haube.
| Wartungsintervall | Wartungsmaßnahmen |
|---|---|
| Bei jeder Verwendung oder täglich |
|
| Alle 2 Jahre |
|
Entfernen Sie den Schmutz vom Öl- und vom Motorkühler täglich. Reinigen Sie unter besonders schmutzigen Bedingungen häufiger.
Bereiten Sie die Maschine für die Wartung vor; siehe Vorbereiten für die Wartung.
Öffnen Sie die Motorhaube.
Entfernen Sie alle Schmutzrückstände aus dem Motorraum.
Entfernen Sie das untere Kühler-Schutzblech (Bild 76).

Reinigen Sie beide Seiten des Kühlers gründlich mit Wasser oder Druckluft (Bild 76).
Montieren Sie das untere Kühler-Schutzblech.
Schließen und verriegeln Sie die Haube.
| Wartungsintervall | Wartungsmaßnahmen |
|---|---|
| Alle 200 Betriebsstunden |
|
Bereiten Sie die Maschine für die Wartung vor; siehe Vorbereiten für die Wartung.
Lösen Sie die Stellschraube, mit der das Handrad am Feststellbremshebel befestigt ist (Bild 77).

Drehen Sie das Handrad, bis eine Kraft von 133-178 N erforderlich ist, um den Hebel zu betätigen.
Ziehen Sie die Stellschraube an.
| Wartungsintervall | Wartungsmaßnahmen |
|---|---|
| Nach 10 Betriebsstunden |
|
| Alle 100 Betriebsstunden |
|
Bereiten Sie die Maschine für die Wartung vor; siehe Vorbereiten für die Wartung.
Entriegeln und öffnen Sie die Motorhaube.
Prüfen Sie die Riemenspannung, indem Sie den Riemen in der Mitte zwischen der Lichtmaschine und den Kurbelwellenscheiben durchbiegen.
Note: Bei einer Kraft von 98 N muss sich der Riemen 11 mm durchbiegen lassen.

Wenn die Durchbiegung zu groß ist, müssen Sie den Riemen wie folgt spannen:
Lockern Sie die Schrauben, die den Bügel am Motor befestigen sowie die Schraube, mit der die Lichtmaschine am Bügel befestigt ist.
Setzen Sie ein Stemmeisen zwischen der Lichtmaschine und dem Motor an und drücken Sie die Lichtmaschine nach außen.
Wenn Sie die richtige Riemenspannung erzielt haben, ziehen Sie die Lichtmaschine und die Schrauben des Bügels fest, um die Einstellung zu arretieren.
Schließen und verriegeln Sie die Haube.
Stecken Sie einen Nussschlüssel oder ein kleines Rohr auf das Ende der Riemenspannfeder.
Wenn Sie den Antriebsriemen des Hydrostatikantriebs austauschen, müssen Sie die Spannung der stark belasteten Feder lösen. Ein unsachgemäßes Lösen der Federspannung kann zu schweren Verletzungen führen.
Gehen Sie beim Lösen der Federspannung besonders vorsichtig vor.
Drücken Sie das Ende der Riemenspannfeder nach unten und aus der Kerbe in der Lasche der Pumpenhalterung heraus, und schieben Sie das Federende nach vorne (Bild 79).

Tauschen Sie den Treibriemen aus.
Drücken Sie das Ende der Riemenspannfeder nach unten und nach innen und richten Sie sie in der Kerbe der Pumpenhalterung aus.
Bereiten Sie die Maschine für die Wartung vor; siehe Vorbereiten für die Wartung.
Lösen Sie die Kontermutter für die Drehzahlbegrenzungsschraube.
Stellen Sie die Drehzahlbegrenzungsschraube wie folgt ein:
Note: Die Mähgeschwindigkeit ist ab Werk auf 9,7 km/h eingestellt.
Um die Mähgeschwindigkeit zu verringern, drehen Sie die Drehzahlbegrenzungsschraube (Bild 80) im Uhrzeigersinn.
Um die Mähgeschwindigkeit zu erhöhen, drehen Sie die Drehzahlbegrenzungsschraube gegen den Uhrzeigersinn.

Halten Sie die Drehzahlbegrenzungsschraube fest und ziehen Sie die Kontermutter an.
Führen Sie eine Testfahrt mit der Maschine durch, um die Einstellung der maximalen Mähgeschwindigkeit zu überprüfen.
Bereiten Sie die Maschine für die Wartung vor; siehe Vorbereiten für die Wartung.
Entriegeln und öffnen Sie die Motorhaube.
Stellen Sie den Gasbedienungshebel nach hinten, sodass er gegen den Schlitz im Armaturenbrett anschlägt.
Lockern Sie den Anschluss des Bowdenzugs am Arm der Einspritzpumpe (Bild 81).

Halten Sie den Hebel der Einspritzpumpe gegen den Leerlaufanschlag und ziehen den Zuganschluss fest.
Lockern Sie die Schrauben, mit denen der Gasbedienungshebel am Armaturenbrett befestigt ist.
Schieben Sie den Gasbedienungshebel ganz nach vorne.
Schieben Sie die Anschlagplatte so weit, dass sie mit dem Gasbedienungshebel in Berührung kommt und ziehen dann die Schrauben fest, mit denen der Gasbedienungshebel am Armaturenbrett befestigt wird.
Wenn der Gasbedienungshebel beim Betrieb nicht in dieser Stellung bleibt, ziehen Sie die Sicherungsmutter, mit der das Reibteil am Gasbedienungshebel gesetzt wird, mit 5-6 N∙m an.
Note: Die maximale Kraft, die zum Betätigen des Gasbedienungshebels erforderlich ist, sollte 89 N betragen.
Schließen und verriegeln Sie die Haube.
Suchen Sie beim Einspritzen unter die Haut sofort einen Arzt auf. In die Haut eingedrungene Flüssigkeit muss sie innerhalb weniger Stunden von einem Arzt entfernt werden.
Stellen Sie sicher, dass alle Hydraulikschläuche und -leitungen in gutem Zustand und alle Hydraulikverbindungen und -anschlussstücke fest angezogen sind, bevor Sie die Hydraulikanlage unter Druck setzen.
Halten Sie Ihren Körper und Ihre Hände von Nadellöchern und Düsen fern, aus denen Hydrauliköl unter hohem Druck ausgestoßen wird.
Gehen Sie hydraulischen Undichtheiten nur mit Pappe oder Papier nach.
Lassen Sie den Druck in der Hydraulikanlage auf eine sichere Art und Weise ab, bevor Sie irgendwelche Arbeiten an der Hydraulikanlage durchführen.
| Wartungsintervall | Wartungsmaßnahmen |
|---|---|
| Bei jeder Verwendung oder täglich |
|
Prüfen Sie die hydraulischen Leitungen und Schläuche auf Dichtheit, Knicke, lockere Stützteile, Abnutzung, lockere Verbindungsteile, witterungsbedingte Minderung und chemischen Angriff. Führen Sie alle erforderlichen Reparaturen vor der Inbetriebnahme durch.
Der Behälter wird im Werk mit hochwertigem Hydrauliköl gefüllt. Prüfen Sie den Stand des Hydrauliköls vor dem ersten Anlassen des Motors und dann täglich; siehe Prüfen des Hydrauliköls.
Empfohlenes Hydrauliköl: Exmark PX Extended Life Hydraulic Fluid; erhältlich in 19-L-Eimern oder 208-L-Fässern.
Note: An einer Maschine, die mit dem empfohlenen Ersatzhydrauliköl befüllt wird, muss weniger häufig ein Öl- oder Filterwechsel durchgeführt werden.
Ersatzölsorten: Wenn das Exmark PX Extended Life Hydraulic Fluid nicht erhältlich ist, können Sie andere handelsübliche, auf Erdöl basierende, Hydraulikflüssigkeiten verwenden, dessen Spezifikationen für alle folgenden Materialeigenschaften im aufgeführten Bereich liegen und die Industrienormen erfüllen. Kein synthetisches Öl verwenden. Wenden Sie sich an den Ölhändler, um einen entsprechenden Ersatz zu finden.
Note: Exmark haftet nicht für Schäden, die aus einer unsachgemäßen Substitution entstehen. Verwenden Sie also nur Erzeugnisse namhafter Hersteller, die für die Qualität ihrer Produkte garantieren.
| Materialeigenschaften: | ||
| Viskosität, ASTM D445 | cSt @ 40 °C, 44 bis 48 | |
| Viskositätsindex ASTM D2270 | 140 oder höher | |
| Stockpunkt, ASTM D97 | -34 °C bis -45 °C | |
| Branchenspezifikationen: | Eaton Vickers 694 (I-286-S, M-2950-S/35VQ25 oder M-2952-S) | |
Note: Viele Hydraulikölsorten sind fast farblos, was das Erkennen von undichten Stellen erschwert. Als Beimischmittel für das Hydrauliköl können Sie ein rotes Färbmittel in 20 ml Flaschen kaufen. Eine Flasche reicht für 15-22 l Hydrauliköl. Sie können es mit der Teilenummer 44-2500 über Ihren Exmark-Vertragshändler beziehen.
Important: Das synthetische und biologisch abbaubare Hydrauliköl Exmark Premium ist das einzige von Toro zugelassene synthetische biologisch abbaubare Hydrauliköl. Dieses Öl ist mit den Elastomeren kompatibel, die in den Hydraulikanlagen von Toro verwendet werden, und eignet sich für viele Klimata. Dieses Öl ist mit konventionellen Mineralölen kompatibel. Sie sollten die Hydraulikanlage jedoch gründlich spülen, um das konventionelle Öl zu entfernen, um die beste biologische Abbaubarkeit und Leistung zu erhalten. Das Öl ist in Eimern mit 19 L oder Fässern mit 208 L bei Ihrem Exmark-Vertragshändler erhältlich.
| Wartungsintervall | Wartungsmaßnahmen |
|---|---|
| Bei jeder Verwendung oder täglich |
|
Der Behälter wird im Werk mit hochwertigem Hydrauliköl gefüllt. Prüfen Sie den Stand des Hydrauliköls, wenn das Öl kalt ist. Die Maschine sollte in der Transportkonfiguration sein.
Bereiten Sie die Maschine für die Wartung vor; siehe Vorbereiten für die Wartung.
Reinigen Sie den Bereich um den Füllstutzen und den Deckel des Hydraulikbehälters (Bild 82) und nehmen Sie den Deckel ab.

Entfernen Sie den Peilstab aus dem Einfüllstutzen und wischen ihn mit einem sauberen Lappen ab.
Stecken Sie den Peilstab in den Einfüllstutzen und ziehen ihn dann heraus, um den Ölstand zu prüfen.
Note: Der Füllstand sollte 6 mm von der Markierung am Peilstab liegen.
Gießen Sie bei niedrigem Ölstand Öl der angegebenen Sorte ein, bis der Ölstand an der Voll-Markierung liegt; siehe Hydrauliköl – technische Angaben.
Important: Überfüllen Sie die Hydraulikölbehälter nicht.
Führen Sie den Peilstab in den Füllstutzen ein.
13,2 Liter; siehe Hydrauliköl – technische Angaben
| Wartungsintervall | Wartungsmaßnahmen |
|---|---|
| Alle 800 Betriebsstunden |
|
| Alle 2000 Betriebsstunden |
|
Heiße Hydraulikflüssigkeit kann schwere Verbrennungen verursachen.
Lassen Sie das Hydrauliköl abkühlen, bevor Sie Wartungsarbeiten an der Hydraulikanlage durchführen.
Setzen Sie sich, wenn das Öl verunreinigt wird, mit Ihrem Toro Vertragshändler in Verbindung, um die Anlage spülen zu lassen. Verunreinigtes Öl sieht im Vergleich zu sauberem Öl milchig oder schwarz aus.
Bereiten Sie die Maschine für die Wartung vor; siehe Vorbereiten für die Wartung.
Klemmen Sie die Hydraulikölleitung ab (Bild 83) oder entfernen den Hydraulikölfilter (Bild 84) und lassen Sie das Hydrauliköl in ein Auffanggefäß ablaufen.


Schließen Sie den Hydraulikschlauch an, wenn das Hydrauliköl abgelaufen ist.
Füllen Sie den Behälter (Bild 85) mit ca. 22,7 Liter Hydrauliköl; siehe Hydrauliköl – technische Angaben.
Important: Verwenden Sie nur die angegebenen Hydraulikölsorten. Andere Ölsorten können die hydraulische Anlage beschädigen.

Führen Sie den Peilstab in den Füllstutzen ein.
Lassen Sie den Motor an und benutzen alle hydraulischen Bedienelemente, um das Hydrauliköl in der ganzen Anlage zu verteilen.
Prüfen Sie gleichfalls die Dichtheit und stellen dann den Motor ab.
Prüfen Sie den Ölstand und gießen so viel Öl ein, dass der Ölstand die VOLL-Markierung am Peilstab erreicht.
Important: Füllen Sie die Behälter nicht zu voll.
| Wartungsintervall | Wartungsmaßnahmen |
|---|---|
| Alle 800 Betriebsstunden |
|
| Alle 1000 Betriebsstunden |
|
Heiße Hydraulikflüssigkeit kann schwere Verbrennungen verursachen.
Lassen Sie das Hydrauliköl abkühlen, bevor Sie Wartungsarbeiten an der Hydraulikanlage durchführen.
Verwenden Sie einen Originalersatzfilter von Toro, Bestellnummer 86-3010.
Important: Der Einsatz anderer Filter führt u. U. zum Verlust Ihrer Garantieansprüche für einige Bauteile.
Bereiten Sie die Maschine für die Wartung vor; siehe Vorbereiten für die Wartung.
Reinigen Sie den Anbaubereich des Filters. Stellen Sie ein Auffangwanne unter den Filter (Bild 86) und entfernen den Filter.

Ölen Sie die neue Filterdichtung ein und füllen den Filter mit Hydrauliköl.
Stellen Sie sicher, dass der Anbaubereich des Filters sauber ist. Drehen Sie den neuen Filter ein, bis die Dichtung die Ansatzfläche berührt; ziehen Sie dann den Filter um eine weitere ½ Umdrehung fester.
Lassen Sie den Motor an und lassen ihn ca. zwei Minuten lang laufen, um die Anlage zu entlüften. Stellen Sie den Motor ab und prüfen die Dichtheit.
Ein abgenutztes oder beschädigtes Messer oder Untermesser kann zerbrechen und Teile davon herausgeschleudert werden, und Sie oder Unbeteiligte treffen und schwere oder tödliche Verletzungen verursachen.
Prüfen Sie die Messer und Untermesser regelmäßig auf Abnutzung oder Beschädigungen.
Kontrollieren Sie die Messer vorsichtig. Lassen Sie bei der Wartung dieser Teile große Vorsicht walten, und tragen Sie Handschuhe. Die Spindeln und Untermesser sollten nur ersetzt oder geläppt werden; sie dürfen keinesfalls geglättet oder geschweißt werden.
Achten Sie bei Maschinen mit mehreren Mähwerken darauf, wenn Sie ein Mähwerk dreht, dass sich dadurch die anderen Spindeln in den anderen Mähwerken mitdrehen können.
| Wartungsintervall | Wartungsmaßnahmen |
|---|---|
| Bei jeder Verwendung oder täglich |
|
Prüfen Sie den Kontakt zwischen Spindel und Untermesser, wenn die Schnittqualität vorher gut war. Über die ganze Länge der Spindel und des Untermessers muss ein leichter Kontakt bestehen (siehe Einstellen der Spindel zum Untermesser“ in der Bedienungsanleitung des Mähwerks.
Kontakt mit den Mähwerke oder anderen beweglichen Teilen kann zu Verletzungen führen.
Berühren Sie die Mähwerke und andere beweglichen Teile nicht mit den Fingern, Händen und Bekleidung.
Versuchen Sie nie, die Mähwerke bei laufendem Motor mit der Hand oder Fuß zu drehen.
Note: Weitere Anleitungen und Schritte zum Läppen finden Sie im Toro Handbuch Toro Reel Mower Basics (mit Schärf-Leitfaden)“, Formular 09168SL.
Bereiten Sie die Maschine für die Wartung vor; siehe Vorbereiten für die Wartung.
Stellen Sie zuerst die Spindeln und Untermesser für das Läppen ein; weitere Informationen finden Sie in der Bedienungsanleitung des Mähwerks.
Heben Sie die magnetisch befestigte Konsolenabdeckung (Bild 87) an, um den Mähwerksverteiler freizulegen.

Drehen Sie den Läpphebel in die R-Stellung (Bild 88).

Das Ändern der Motordrehzahl beim Läppen kann zum Abstellen der Mähwerke führen.
Verändern Sie die Motordrehzahl nie, während Sie die Spindeln läppen
Läppen Sie nur mit Leerlauf-Motordrehzahl.
Note: Der Sitzschalter wird überbrückt, wenn das Läppen-Einstellrad in der Läppen-Stellung ist. Sie müssen nicht auf dem Sitz sitzen, die Feststellbremse muss jedoch aktiviert sein, da der Motor sonst nicht läuft.
Starten Sie den Motor und lassen ihn im niedrigen Leerlauf laufen.
Stellen Sie den Mähwerk-Antriebsschalter in die EINGEKUPPELT-Stellung.
Tragen Sie Schleifpaste auf die Spindel mit einer langstieligen Bürste auf.
Das Berühren der Mähwerke, wenn sie sich bewegen, kann zu Verletzungen führen.
Stellen Sie sicher, dass Sie die Mähwerke nicht berühren, bevor Sie fortfahren, um Verletzungen zu vermeiden.
Important: Verwenden Sie nie eine Bürste mit kurzem Stiel.
Wenn Sie eine Anpassung der Mähwerks während des Läppens vornehmen müssen, führen Sie die folgenden Schritte aus:
Stellen Sie den Mähwerk-Antriebsschalter in die AUSGEKUPPELT-Stellung.
Stellen Sie den Motor ab und ziehen Sie den Schlüssel ab.
Stellen Sie es auf die Mähwerke ein.
Wiederholen Sie die Schritte 1 bis 3.
Wiederholen Sie die Schritte 3 für die anderen Mähwerke, die Sie läppen möchten.
Stellen Sie den Steuerschalter der Mähwerke in die AUSGEKUPPELT-Stellung.
Stellen Sie den Motor ab.
Drehen Sie den Läpphebel in die F-Stellung (Bild 89).
Important: Wenn Sie den Läppschalter nicht in die F-Stellung (Mähen) zurückstellen, funktionieren die Mähwerke nicht ordnungsgemäß.

Bringen Sie die Konsolenabdeckung an der Steuerkonsole an.
Waschen Sie die Schleifpaste von den Mähwerken ab.
Um eine noch bessere Schnittkante zu erzielen, feilen Sie nach dem Läppen die Vorderseite des Untermessers.
Note: Auf diese Weise werden Grate oder raue Kanten beseitigt, die sich möglicherweise an der Schnittkante gebildet haben.
Waschen Sie die Maschine nach Bedarf nur mit Wasser oder mit einem milden Reinigungsmittel. Zum Reinigen der Maschine kann ein Putztuch/-lappen verwendet werden.
Important: Verwenden Sie zur Reinigung der Maschine kein Brack- oder wiederaufbereitetes Wasser.
Important: Reinigen Sie die Maschine nicht mit einem Hochdruckreiniger. Hochdruckreiniger können die Elektroanlage beschädigen, wichtige Aufkleber lösen und das an den Reibungsstellen benötigte Fett wegspülen. Vermeiden Sie den Einsatz von zu viel Wasser, insbesondere in der Nähe des Armaturenbretts, des Motors und der Batterie.
Important: Reinigen Sie die Maschine bei laufendem Motor nicht mit Wasser. Andernfalls kann es zu internen Motorschäden kommen.
Bevor Sie den Fahrerstand verlassen, gehen Sie wie folgt vor:
Stellen Sie die Maschine auf einer ebenen Fläche ab.
Entriegeln und senken Sie die Mähwerke auf den Boden ab.
Aktivieren Sie die Feststellbremse.
Stellen Sie den Motor ab und ziehen Sie den Schlüssel ab.
Warten Sie, bis alle beweglichen Teile zum Stillstand gekommen sind.
Lassen Sie die Maschine abkühlen, bevor Sie diese einstellen, warten, reinigen oder einlagern.
Lagern Sie die Maschine oder den Benzinkanister nie an Orten mit offener Flamme, Funken oder Zündflamme, z. B. Warmwasserbereiter, oder anderen Geräten.
Parken Sie die Maschine auf einer ebenen Fläche, senken Sie die Mähwerke ab, aktivieren Sie die Feststellbremse, stellen Sie den Motor ab und ziehen Sie den Zündschlüssel ab.
Reinigen Sie die Zugmaschine, Mähwerke und den Motor gründlich.
Prüfen Sie den Reifendruck, siehe Prüfen des Reifendrucks.
Prüfen Sie auf lockere Befestigungsteile und ziehen diese bei Bedarf fest.
Fetten und ölen Sie alle Schmiernippel und Drehpunkte ein. Wischen Sie überflüssiges Fett ab.
Schmirgeln Sie alle Lackschäden leicht und bessern Bereiche aus, die angekratzt, abgesprungen oder verrostet sind. Reparieren Sie alle Blechschäden.
Warten Sie den Akku und die Kabel wie folgt; siehe Hinweise zur Sicherheit der Elektroanlage:
Entfernen Sie die Akkuklemmen von den Akkupolen.
Reinigen Sie den Akku, die Akkuklemmen und -pole mit einer Drahtbürste und Natronlauge.
Überziehen Sie die Kabelklemmen und Akkupole mit Grafo 112X-Fett (Toro-Bestellnummer 505-47) oder mit Vaseline, um einer Korrosion vorzubeugen.
Laden Sie den Akku alle 60 Tage 24 Stunden lang langsam auf, um einer Bleisulfation des Akkus vorzubeugen.
Lassen Sie das Motoröl in eine Auffangwanne ablaufen und schrauben die Ablassschraube wieder ein.
Entfernen und entsorgen Sie den Ölfilter. Montieren Sie einen neuen Ölfilter.
Füllen Sie das vorgegebene Motoröl in den Motor an.
Lassen Sie den Motor an und lassen Sie ihn ca. 2 Minuten lang im Leerlauf laufen.
Stellen Sie den Motor ab und ziehen Sie den Schlüssel ab.
Spülen Sie den Kraftstofftank mit frischem, sauberem
Befestigen Sie alle Anschlussstücke der Kraftstoffanlage.
Reinigen und warten Sie den Luftfilter gründlich.
Dichten Sie die Ansaugseite des Luftfilters und das Auspuffrohr mit witterungsbeständigem Klebeband ab.
Prüfen Sie den Frostschutz und füllen bei Bedarf eine 50/50-Mischung aus Wasser und Ethylenglykol-Frostschutzmittel ein, die den in Ihrer Region zu erwartenden Mindesttemperaturen entsprechen muss.
Wenn Sie die Maschine länger als einen Monat einlagern, entfernen Sie der Akku und laden sie komplett auf. Lagern Sie sie entweder auf einem Regal oder in der Maschine. Lassen Sie die Kabel abgeklemmt, wenn Sie den Akku in der Maschine lagern. Lagern Sie den Akku an einem kühlen Ort ein, um ein zu schnelles Entladen des Akkus zu vermeiden. Stellen Sie sicher, dass der Akku voll aufgeladen ist, um einem Einfrieren vorzubeugen. Das spezifische Gewicht eines voll geladenen Akkus liegt zwischen 1,265 und 1,299.
Das SCM ist ein abgekapseltes elektronisches Gerät, das eine universelle Konfiguration aufweist. Das Modul überwacht und steuert mit starren und mechanischen Komponenten normale elektrische Funktionen, die für einen sicheren Produkteinsatz erforderlich sind.
Das Modul überwacht Eingaben, u. a. Leerlauf, Feststellbremse, Zapfwelle, Start, Läppen und hohe Temperatur. Das Modul aktiviert Ausgaben, u. a. Zapfwelle, Anlasser und ETR-Stromspule (energize to run).
Das Modul ist in Eingaben und Ausgaben unterteilt. Eingaben und Ausgaben werden durch grüne LED-Leuchten identifiziert, die auf der Platine befestigt sind.
Die Startkreiseingabe wird bei 12 Volt Gleichstrom aktiviert. Alle anderen Eingaben werden aktiviert, wenn der Schaltkreis geschlossen geerdet ist. Jede Eingabe hat eine LED-Leuchte, die beim Aktivieren des Schaltkreises aufleuchtet. Verwenden Sie die LED-Leuchten bei der Fehlerbehebung für Schalter- und Eingangsschaltkreise.
Ausgabeschaltkreise werden von der entsprechenden Gruppe der Eingabekonditionen aktiviert. Die drei Ausgaben umfassen Zapfwelle, ETR und START. Ausgabe-LED-Lampen überwachen die Relaiskondition und geben die vorhandene Spannung an einem von drei bestimmten Ausgabeterminals an.
Ausgabeschaltkreise ermitteln nicht die Integrität des Ausgabegeräts. Die Behebung elektrischer Fehler umfasst daher die Prüfung der Ausgabe-LED-Leuchten und das traditionelle Testen der Gerät- und Kabelbaumintegrität. Messen Sie die Impedanz nicht angeschlossener Geräte, die Impedanz durch den Kabelbaum (schließen Sie am SCM ab) oder aktivieren Sie die Komponente für Testzwecke.
Das SCM kann nicht an einen externen Computer oder ein Handgerät angeschlossen und nicht neu programmiert werden. Temporäre Fehlerbehebungsdaten werden außerdem nicht aufgezeichnet.
Der Schild am SCM weist nur Symbole auf. Drei LED-Ausgabesymbole stehen auf dem Ausgabekasten. Alle anderen LED-Leuchten sind Eingaben. In der nachfolgenden Tabelle finden Sie eine Beschreibung der Symbole.

Im Anschluss finden Sie die logischen Fehlerbehebungsschritte für das SCM-Gerät.
Ermitteln Sie den Ausgabefehler, den Sie beheben möchten (ZWA, START oder ETR).
Drehen Sie den Zündschlüssel auf die EIN-Stellung und achten Sie auf das Aufleuchten der roten Strom-LED.
Bewegen Sie alle Eingabeschalter, um sicherzustellen, dass sich die LED-Leuchten ändern.
Stellen Sie die Eingabegeräte an die richtige Stellung, um die entsprechende Ausgabe zu erzielen. Ermitteln Sie mit der folgenden Logiktabelle die entsprechende Eingabekondition.
Wenn diese Ausgabe-LED ohne entsprechende Ausgabefunktion aufleuchtet, prüfen Sie den Ausgabekabelbaum, die Verbindungen und die Komponente. Nehmen Sie die erforderlichen Reparaturen vor.
Wenn diese Ausgabe-LED nicht aufleuchtet, prüfen Sie beide Sicherungen.
Wenn diese Ausgabe-LED nicht aufleuchtet, und die Eingaben die entsprechende Kondition aufweisen, installieren Sie ein neues SCM und prüfen Sie, ob der Fehler weiterhin auftritt.
Jede Zeile (horizontal) in der folgenden Logiktabelle identifiziert Eingabe- und Ausgabeanforderungen für jede spezielle Produktfunktion. Produktfunktionen werden in der linken Spalte aufgeführt. Bei den Symbolen, die eine bestimmte Schaltkreiskondition angeben, handelt es sich u. a.: An Spannung anlegen, geschlossen geerdet und offen geerdet.
| EINGABEN | AUSGABEN | ||||||||||
|---|---|---|---|---|---|---|---|---|---|---|---|
| Funktion | Stromversorgung EIN | Im Leerlauf | Anlasser EIN | Bremse EIN | ZWA EIN | Auf Sitz | Hohe Temperatur | Läppen | Start | ETR | Zapfwelle |
| Start | – | – | + | O | O | – | O | O | + | + | O |
| Laufen (ohne Gerät) | – | – | O | O | O | O | O | O | O | + | O |
| Laufen (am Gerät) | – | O | O | – | O | – | O | O | O | + | O |
| Mähen | – | O | O | – | – | – | O | O | O | + | + |
| Läppen | – | – | O | O | – | O | O | – | O | + | + |
| Hohe Temperatur | – | O | – | O | O | O | |||||
(–) Gibt einen geschlossenen geerdeten Schaltkreis an – LED EIN.
(O) Gibt einen offenen geerdeten oder nicht an Spannung gelegten Schaltkreis an – LED AUS
(+) Gibt einen an Spannung angelegten Schaltkreis an (Kupplungsspule, Stromspule oder Starteingabe) – LED EIN.
Keine Eingabe gibt einen nicht an der Logik beteiligten Schaltkreis an.
Drehen Sie zur Fehlerbehebung den Schlüssel ohne Starten des Motors. Ermitteln Sie die Funktion, die defekt ist, und arbeiten Sie sich horizontal durch die Logiktabelle. Prüfen Sie den Zustand jeder Eingabe-LED, um sicherzustellen, dass sie der Logiktabelle entspricht.
Wenn die Eingabe-LED richtig ist, prüfen Sie die Ausgabe-LED. Wenn die Ausgabe-LED aufleuchtet, das Gerät jedoch nicht aktiviert ist, messen Sie die am Ausgabegerät verfügbare Spannung, die Kontinuität am abgeschlossenen Gerät und die potenzielle Spannung am Erdschaltkreis (nicht geerdeter Referenzpunkt). Die Reparaturarbeiten hängen von den Ergebnissen ab.