| Onderhoudsinterval | Onderhoudsprocedure |
|---|---|
| Bij elk gebruik of dagelijks |
|
Deze machine is een zitmaaier met messenkooi bedoeld voor gebruik door professionele bestuurders in commerciële toepassingen. De machine is voornamelijk ontworpen voor het maaien van gras op goed onderhouden gazons. Dit product gebruiken voor andere doeleinden dan het bedoelde gebruik kan gevaarlijk zijn voor u of voor omstanders.
Lees deze informatie zorgvuldig door, zodat u weet hoe u de machine op de juiste wijze moet gebruiken en onderhouden en om schade aan de machine en letsel te voorkomen. U bent verantwoordelijk voor het juiste en veilige gebruik van de machine.
Ga naar www.Toro.com voor meer informatie, inclusief veiligheidstips, instructiemateriaal, informatie over accessoires, hulp bij het vinden van een dealer of om uw product te registreren.
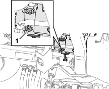
Als u service, originele Exmark onderdelen of aanvullende informatie nodig hebt, kunt u contact opnemen met een erkende servicedealer of met de klantenservice van Exmark. U dient hierbij altijd het modelnummer en het serienummer van het product te vermelden. De locatie van het plaatje met het modelnummer en het serienummer van het product is aangegeven op Figuur 1. U kunt de nummers noteren in de ruimte hieronder.
Important: U kunt met uw mobiel apparaat de QR-code op het plaatje met het serienummer (indien aanwezig) scannen om toegang te krijgen tot de garantie, onderdelen en andere productinformatie.

Dit product voldoet aan alle relevante Europese richtlijnen. Zie voor details de aparte productspecifieke conformiteitsverklaring.
Als de machine zonder goed werkende vonkenvanger of goed onderhouden brandveilige motor wordt gebruikt in een bosgebied of op een met dicht struikgewas of gras begroeid terrein, handelt de bestuurder in strijd met de bepalingen van sectie 4442 of 4443 van de Wet op de Openbare Hulpbronnen (Public Resources Code) van de Staat Californië.
De bijgevoegde Gebruikershandleiding van de motor biedt informatie over het Amerikaanse Environmental Protection Agency (EPA) en het Californische controlesysteem voor emissies, onderhoud en garantie. U kunt vervangingsonderdelen bestellen via de fabrikant van de motor.
CALIFORNIË
Proposition 65 Waarschuwing
De uitlaatgassen van de dieselmotor van dit product bevatten bestanddelen waarvan bekend is dat ze kanker, geboorteafwijkingen of andere schade aan de voortplantingsorganen kunnen veroorzaken.
Accuklemmen, accupolen en dergelijke onderdelen bevatten lood en loodverbindingen. Van deze stoffen is bekend dat ze kanker en schade aan de voortplantingsorganen veroorzaken. Was altijd uw handen nadat u met deze onderdelen in aanraking bent geweest.
Gebruik van dit product kan leiden tot blootstelling aan chemische stoffen waarvan de Staat Californië weet dat ze kanker, geboorteafwijkingen en andere schade aan het voortplantingssysteem veroorzaken.
Dit product kan handen of voeten afsnijden en voorwerpen uitwerpen.
Lees deze Gebruikershandleiding en zorg ervoor dat u deze begrijpt voordat u de motor start.
Geef uw volledige aandacht als u de machine gebruikt. Zorg ervoor dat u met niets anders bezig bent waardoor u kunt worden afgeleid, anders kunt u verwondingen oplopen of kan eigendom worden beschadigd.
Houd handen en voeten uit de buurt van de bewegende onderdelen van de machine.
Gebruik de machine niet als er schermen of andere beveiligingsmiddelen ontbreken of als deze niet naar behoren werken.
Houd omstanders en kinderen uit de buurt van het werkgebied. Hou omstanders en kinderen uit de buurt van het werkgebied. Laat kinderen nooit de machine bedienen.
Zet de motor af, verwijder het contactsleuteltje en wacht totdat alle bewegende onderdelen tot stilstand zijn gekomen voordat u de bestuurderspositie verlaat. Laat de machine afkoelen voordat u deze afstelt, reinigt, stalt of er onderhoudswerkzaamheden aan verricht.
Het waarschuwingssymbool (Figuur 2) in deze handleiding en op de machine geeft belangrijke veiligheidsinformatie aan die u moet opvolgen om ongelukken te voorkomen.

Het waarschuwingssymbool staat boven informatie die u waarschuwt voor onveilige acties of situaties en wordt gevolgd door het woord GEVAAR, WAARSCHUWING, of VOORZICHTIG.
GEVAAR: een direct gevaarlijke situatie die, als deze niet wordt voorkomen, altijd zal leiden tot de dood of ernstig letsel.
WAARSCHUWING: een mogelijk gevaarlijke situatie die, als deze niet wordt voorkomen, kan leiden tot de dood of ernstig letsel.
VOORZICHTIG: een mogelijk gevaarlijke situatie die, als deze niet wordt voorkomen, kan leiden tot licht of middelmatig letsel.
Er worden in deze handleiding nog twee woorden gebruikt om uw aandacht op bijzondere informatie te vestigen. Belangrijk attendeert u op bijzondere technische informatie en Opmerking duidt algemene informatie aan die bijzondere aandacht verdient.
![]() |
Informatieve en veiligheidsstickers zijn gemakkelijk zichtbaar voor de bestuurder en bevinden zich bij plaatsen waar gevaar kan ontstaan. Vervang alle beschadigde of verdwenen stickers. |














Note: Bepaal vanuit de normale bedieningspositie de linker- en rechterzijde van de machine.
Benodigde onderdelen voor deze stap:
| Voorwielmontage | 2 |
| Achterwielconstructie | 1 |
Important: De velg en band van het achterwiel zijn smaller dan de velg en band van de 2 voorwielen.
Monteer een wielconstructie op de wielnaaf; het ventiel moet naar buiten wijzen.
Bevestig het wiel aan de naaf met de wielmoeren en draai de moeren vast in een kruispatroon met een torsie van 61 tot 88 N·m.
Herhaal stap 1 en 2 voor de andere wielconstructies.
Benodigde onderdelen voor deze stap:
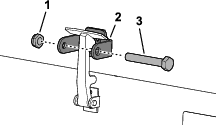
| Stuur | 1 |
| Dop van stuur | 1 |
| Grote ring | 1 |
| Contramoer | 1 |
| Schroef | 1 |
Accuzuur bevat zwavelzuur; deze stof is dodelijk bij inname en veroorzaakt ernstige brandwonden.
U mag accuzuur nooit inslikken en moet elk contact met huid, ogen of kleding vermijden. Draag een veiligheidsbril en rubberen handschoenen.
Vul de accu alleen bij op plaatsen waar schoon water aanwezig is om indien nodig uw huid af te spoelen.
Verwijder de 2 knoppen waarmee het accudeksel aan de machine is bevestigd en verwijder het deksel (Figuur 4).

Meet de accuspanning.
Note: Als u 12,4 V meet of meer, is de accu opgeladen.
Als u 12,3 V of minder meet, moet u de accu opladen gedurende 4 tot 8 uur bij 3-4 A.
Bij het opladen produceert de accu gassen die tot ontploffing kunnen komen.
Houd vonken en open vuur uit de buurt van de accu.
Rook nooit in de buurt van de accu.
Als de accu is opgeladen, haalt u de acculader uit het stopcontact en maakt u deze los van de accupolen.
Monteer de pluskabel (rood) aan de pluspool (+) van de accu, en bevestig deze met een T-bout en moer (Figuur 5).
Note: Zorg ervoor dat de accuklem helemaal op de pluspool zit en de kabel goed op de accu is geplaatst.
Important: De kabel mag geen contact maken met het accudeksel.
Monteer de minkabel (zwart) aan de minpool (-) van de accu, en bevestig deze met de T-bout en moer (Figuur 5).
Als accukabels verkeerd worden verbonden, kan dit schade aan de tractor en de kabels tot gevolg hebben en vonken veroorzaken. Hierdoor kunnen accugassen tot ontploffing komen, waardoor lichamelijk letsel kan ontstaan.
Maak altijd de minkabel (zwart) van de accu los voordat u de pluskabel (rood) losmaakt.
Sluit altijd de pluskabel (rood) van de accu aan voordat u de minkabel (zwart) aansluit.

Important: Als u ooit de accu verwijdert, moet u ervoor zorgen dat de bouten van de accuklem zijn gemonteerd met de boutkoppen aan de onderkant en de moeren aan de bovenkant. Als de bouten van de klem andersom zitten, kunnen zij in aanraking komen met de hydraulische leidingen als u de maai-eenheden verplaatst.
Om corrosie van de accuklemmen te voorkomen, moet u een dun laagje Grafo 112X vet (Exmark onderdeelnr. 505-47) of dunvloeibare smeerolie aanbrengen.
Schuif het rubberen stofkapje over de pluspool om eventuele kortsluiting te voorkomen.
Plaats het accudeksel.
Benodigde onderdelen voor deze stap:
| Rolstang | 1 |
| Flenskopbout | 4 |
| Borgmoer | 4 |
| Slangklem | 1 |
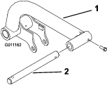
Als u de machine bedient met een gewijzigde of beschadigde rolbeugel, is het mogelijk dat u niet voldoende beschermd bent, wat kan leiden tot letsel of de dood bij het kantelen.
Monteer geen beschadigde of gewijzigde rolbeugel op de machine.
Een beschadigde rolbeugel moet worden vervangen; u mag deze niet herstellen of wjizigen.
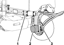
Breng de rolbeugel omlaag op de montagebeugels van de tractie-eenheid en lijn de montageopeningen uit. Controleer of de ontluchtingsbuis van de rolbeugel zich aan de linkerkant van de machine bevindt (Figuur 6).

Bevestig de beide zijden van de rolbeugel aan de montagebeugels met 2 flenskopbouten en 2 borgmoeren (Figuur 6). Draai de bevestigingen vast met een torsie van 81 N·m.
Bevestig de slang voor de brandstofleiding/ontluchtingsbuis aan de rolbeugel met de slangklem.
Als u de motor start wanneer de brandstofontluchtingsslang niet aan de ontluchtingsbuis gekoppeld is, zal er brandstof uit de slang stromen en is er meer gevaar op brand of een explosie. Brand of explosie van brandstof kan brandwonden of materiële schade veroorzaken.
Koppel de brandstofontluchtingsslang aan op de ontluchtingsbuis voordat u de motor start.
Benodigde onderdelen voor deze stap:
| Set met hefarmen (optionele set – afzonderlijk bestellen) | 1 |
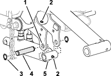
Steek een draaistang in elke hefarm en lijn de montageopeningen uit (Figuur 7).

Bevestig de draaistangen aan de hefarmen met 2 bouten (5/16" x ⅞").
Draai de bouten vast met een torsie van 37 tot 45 N·m.
Verwijder aan de voorkant van de machine de 2 flenskopschroeven (½" x 2") waarmee de koppeling van de taatsas is bevestigd aan de taatsassen van de hefarm, en verwijder de koppeling (Figuur 8).
Note: Bewaar de koppeling van de taatsas en de flenskopschroeven.

Monteer de hefarmen op de taatsassen van de hefarm zoals getoond in Figuur 9.

Monteer de koppeling van de taatsas op de taatsassen van de hefarm (Figuur 9) met de 2 flenskopschroeven (½" x 2") die u hebt verwijderd in Voorbereiden om de hefarmen te monteren.
Draai de flenskopschroeven vast met een torsie van 95 N·m.
Type vet: nr. 2 vet op lithiumbasis
Lijn het uiteinde met de dop van de hefcilinder uit met de gaten in de flenzen van de linker hefarm (Figuur 10).

Monteer de cilinder aan de flenzen met de montagepen en 2 seegerringen (Figuur 10).
Breng nr 2 vet op lithiumbasis aan op de smeernippels van de hefarm en de hydraulische cilinder (Figuur 10).
Type vet: nr. 2 vet op lithiumbasis
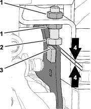
Zet een opvangbak onder de hydraulische fittings van de hefcilinder (Figuur 11).

Maak aan de hefcilinder de rechte wartelfitting van de retourslang los en de 90° wartelfitting van de hefslang los (Figuur 12).

Wikkel een doek rond de slangfittings.
Beweeg de hefcilinderstang langzaam tot deze uitgelijnd is met de gaten in de flenzen van de rechter hefarm (Figuur 13).
Important: Er komt wat hydraulische vloeistof bij de slangfittings naar buiten wanneer u de hefcilinderstang beweegt.

Monteer de stang aan de flenzen met de montagepen, 2 afstandsstukken en 2 seegerringen (Figuur 13).
Breng nr 2 vet op lithiumbasis aan op de smeernippels van de hefarm en de hydraulische cilinder (Figuur 13).
Draai de wartelfitting van de retour- en de hefslang aan tot 37 à 45 N·m.

Neem de hydraulische vloeistof van de machine op.
Benodigde onderdelen voor deze stap:
| Maai-eenheid (optioneel onderdeel – afzonderlijk bestellen) | 3 |
Haal de maai-eenheden uit de dozen.
Stel de maai-eenheden af zoals beschreven in de Gebruikershandleiding van de maai-eenheden.
Note: De voorste draagframes zijn een onderdeel van de optionele set met hefarmen.
Lijn de gaten in de platen van het voorste draagframe uit met de gaten in de bevestigingsplaten van de maai-eenheid (Figuur 15).

Lijn een ring uit tussen de draagplaat en de koppeling (Figuur 15) en monteer de platen en het afstandsstuk losjes met een slotbout (⅜" x 2¼"), ring en flensborgmoer (⅜").
Note: Als u de montage start aan de achterkant van de maai-eenheid, gebruik dan de middelste opening van de plaat.
Herhaal stap 2 aan de andere openingen van de plaat en de koppelingen.
Draai de flensborgmoeren vast met een torsie van 37 tot 45 N·m.
Herhaal stap 1 tot en met 4 voor de andere voorste maai-eenheid en het andere draagframe.
Note: Het achterste draagframe is een onderdeel van de optionele set met hefarmen.
Lijn het gat in de platen van het achterste draagframe uit met het gat in de bevestigingsplaten van de maai-eenheid.

Lijn een ring uit tussen de draagplaat en de koppeling (Figuur 16) en monteer de platen en het afstandsstuk losjes met een slotbout (⅜" x 2¼"), ring en flensborgmoer (⅜").
Note: Als u de montage start aan de achterkant van de maai-eenheid, gebruik dan de middelste opening van de plaat.
Herhaal stap 2 aan de andere openingen van de plaat en de koppelingen.
Draai de flensborgmoeren vast met een torsie van 37 tot 45 N·m.
Note: De voorste draagframes zijn een onderdeel van de optionele set met hefarmen.
Lijn de gaten in de platen van het voorste draagframe uit met de gaten in de bevestigingsplaten van de maai-eenheid (Figuur 17).

Lijn een afstandsstuk uit tussen de draagplaat en de bevestigingsplaat (Figuur 17) en monteer de platen en het afstandsstuk losjes met een slotbout (⅜" x 1¼") en flensborgmoer (⅜").
Note: Als u de montage start aan de achterkant van de maai-eenheid, gebruik dan de middelste opening van elke plaat.
Herhaal stap 2 aan de andere openingen van de plaat.
Draai de flensborgmoeren vast met een torsie van 37 tot 45 N·m.
Herhaal stap 1 tot en met 4 voor de andere voorste maai-eenheid en het andere draagframe.
Note: Het achterste draagframe is een onderdeel van de optionele set met hefarmen.
Lijn de gaten in de platen van het achterste draagframe uit met de gaten in de bevestigingsplaten van de maai-eenheid (Figuur 13).

Lijn een afstandsstuk uit tussen de draagplaat en de bevestigingsplaat (Figuur 14) en monteer de platen en het afstandsstuk losjes met een slotbout (⅜" x 1¼") en flensborgmoer (⅜").
Note: Als u de montage start aan de achterkant van de maai-eenheid, gebruik dan de middelste opening van elke plaat.
Herhaal stap 2 aan de andere openingen van de plaat.
Draai de flensborgmoeren vast met een torsie van 37 tot 45 N·m.
Schuif een drukring op de voorste draaistang van de hefarm.
Schuif het draagframe van de maai-eenheid op de draaistang en bevestig deze met een lynchpen (Figuur 19).
Note: Plaats op de achterste maai-eenheid de drukring tussen de achterzijde van het draagframe en de lynchpen.

Smeer alle draaipunten van de hefarmen en draaiframes.
Important: Zorg ervoor dat de slangen vrij zijn van draaien of scherpe bochten en dat de slangen van de achterste maai-eenheid lopen zoals wordt getoond in (Figuur 20). Breng de maai-eenheden omhoog en schuif deze naar links (model 03171). De slangen van de achterste maai-eenheid mogen geen contact maken met de beugel van de tractiekabel. Herpositioneer indien nodig de fittings en/of slangen.

Leid een stabilisatieketting door de sleuf aan het uiteinde van elk draagframe. Bevestig de stabilisatieketting aan de bovenzijde van het draagframe met een bout, een ring en een borgmoer (Figuur 21).

Plaats de maai-eenheden voor de draaistangen van de hefarmen.
Verwijder het gewicht en de O-ring (Figuur 22) van de binnenzijde van de rechter maai-eenheid.

Verwijder de plug uit de lagerbehuizing op het buitenste uiteinde van de rechter maai-eenheid en monteer de gewichten en de pakking.
Verwijder de transportplug uit de lagerbehuizingen van de overige maai-eenheden.
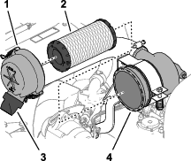
Plaats de O-ring (meegeleverd met de maai-eenheid) op de flens van de aandrijfmotor (Figuur 23).

Monteer de motor op het aandrijfuiteinde van de maai-eenheid en zet deze vast met de twee bijgeleverde inbusbouten (Figuur 23).
Start de motor.
Breng de maai-eenheden omhoog.
Meet aan de voorste maai-eenheden de afstand tussen de linker hefarm en de beugel van de vloerplaat, en de rechter hefarm en de beugel van de vloerplaat (Figuur 24).
Note: De juiste afstand bedraagt 5 tot 8 mm. Als de afstand niet binnen dit bereik valt, moet u de hefcilinder van de maai-eenheid afstellen; zie De afstand van de hefarm afstellen en De aanslagbouten van de hefarm afstellen.
Important: Te weinig afstand aan de beugel van de vloerplaat kan de hefarmen beschadigen.

Meet aan de achterste maai-eenheid de afstand tussen de slijtband aan de bovenkant van de slijtbalk van de achterste maai-eenheid en de bumperaanslag (Figuur 25).
Note: De juiste afstand bedraagt 0,51 tot 2,54 mm. Als de afstand niet binnen dit bereik valt, moet u de hefcilinder van de maai-eenheid afstellen; zie De afstand van de achterste maai-eenheid afstellen.
Important: Te weinig afstand aan de achterste slijtbalk kan de maai-eenheid beschadigen.

Start de motor, laat de maai-eenheden zakken, zet de motor uit, verwijder het contactsleuteltje en wacht totdat alle bewegende delen tot stilstand zijn gekomen.
Maak aan elke kant van de machine de contramoeren los en draai de aanslagbouten van de hefarm terug (Figuur 26).

Draai de contramoer van de hefcilinderstang los (Figuur 27).

Verwijder de pen uit het uiteinde van de stang en draai de gaffel.
Plaats de pen en controleer de speling.
Herhaal indien nodig stap 1 tot en met 4.
Start de motor, breng de maai-eenheden omhoog, zet de motor uit, verwijder het contactsleuteltje en wacht totdat alle bewegende delen tot stilstand zijn gekomen.
Meet de afstand tussen de linker en rechter hefarm en de beugels van de vloerplaat.
Note: De juiste afstand bedraagt 0,51 tot 2,54 mm.
Herhaal indien nodig stap 3 tot en met 7.
Draai de contramoer van de gaffelpen vast.
Herhaal stap 2 tot en met 9 aan de andere kant van de machine. Voer dan de procedure De aanslagbouten van de hefarm afstellen uit.
Important: Te weinig afstand aan de aanslagbouten kan de hefarmen beschadigen.
Note: Als de achterste hefarm tijdens het transport rammelt, moet u de speling verminderen.
Start de motor, breng de maai-eenheden omhoog, zet de motor uit, verwijder het contactsleuteltje en wacht totdat alle bewegende delen tot stilstand zijn gekomen.
Stel de aanslagbout af tot u 0,13 tot 1,02 mm meet tussen de aanslagbout en de plaat van de hefarm.

Herhaal stap 2 aan de aanslagbout voor de andere hefarm.
Start de motor, laat de maai-eenheden zakken, zet de motor uit, verwijder het contactsleuteltje en wacht totdat alle bewegende delen tot stilstand zijn gekomen.
Draai de contramoer van de hefcilinder los (Figuur 29).

Pak de cilinderstang vlak bij de moer beet met een tang en een doek en draai aan de stang.
Note: Als u de stang verkort, wordt de afstand tussen slijtageband en bumperaanslag kleiner.
Start de motor.
Breng de maai-eenheden omhoog en meet de afstand tussen de slijtband aan de bovenkant van de slijtbalk van de achterste maai-eenheid en de bumperaanslag.
De juiste afstand bedraagt 0,51 tot 2,54 mm.
Herhaal indien nodig stap 1 tot en met 4.
Breng de maai-eenheden omlaag, zet de motor af, verwijder het contactsleuteltje en wacht totdat alle bewegende onderdelen tot stilstand zijn gekomen.
Draai de contramoer vast.
Stel de bandenspanning van elke band af; raadpleeg De bandenspanning controleren.
Note: De banden worden in de fabriek opzettelijk te hard opgepompt.
Benodigde onderdelen voor deze stap:
| Vergrendelbeugel | 1 |
| Popnagel | 2 |
| Ring | 1 |
| Schroef (¼" x 2") | 1 |
| Borgmoer (¼") | 1 |
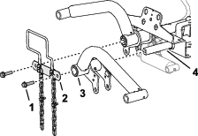
Haak de motorkapvergrendeling los van de beugel van de motorkapvergrendeling.
Verwijder de popnagels (2) waarmee de beugel van de motorkapvergrendeling aan de motorkap is bevestigd (Figuur 30). Verwijder de beugel van de motorkapvergrendeling van de motorkap.

Plaats de beugel van de CE-vergrendeling en de beugel van de motorkapvergrendeling op de motorkap en lijn de montageopeningen uit. De beugel van de vergrendeling moet zich tegen de motorkap aan bevinden (Figuur 31). Verwijder de bout en moer niet van de arm van de beugel van de vergrendeling.

Lijn de ringen uit met de openingen aan de binnenzijde van de motorkap.
Bevestig de beugels en de ringen met de popnagels aan de motorkap (Figuur 31).
Haak de sluiting op de vergrendelbeugel van de motorkap (Figuur 32).

Schroef de bout in de andere arm van de vergrendelbeugel om de sluiting te vergrendelen (Figuur 33).
Note: Draai de moer en bout vast tot de bout niet langer naar voren en achteren beweegt in de beugel van de CE-vergrendeling.

Benodigde onderdelen voor deze stap:
| Uitlaatscherm | 1 |
| Zelftappende schroef | 4 |
Benodigde onderdelen voor deze stap:
| CE-sticker betreffende kantelgevaar (140-7463) | 1 |
| Sticker productiejaar | 1 |
| CE-sticker | 1 |
Veeg het linkerframe dicht bij het plaatje met het model-/serienummer schoon met alcohol en laat het frame drogen (Figuur 36).

Verwijder de rug en breng de sticker met het productiejaar aan op het frame dicht bij het plaatje met het serienummer zoals getoond in Figuur 36.
Veeg het linkerframe dicht bij de motorkapvergrendeling schoon met alcohol en laat het frame drogen (Figuur 37).

Verwijder de rug en breng de CE-sticker aan op het frame zoals getoond in Figuur 37.
Benodigde onderdelen voor deze stap:
| Tipperrolset (niet meegeleverd) | 1 |
Bij het maaien bij een hoge maaistand moet u de tipperrolset monteren.
Breng de maai-eenheden helemaal omhoog.
Er bevindt zich een framebeugel boven de middelste maai-eenheid (Figuur 38).
Duw de voorste rol van de middelste maai-eenheid omlaag en kijk welke openingen op de tipperbeugel zijn uitgelijnd met de openingen op de framebeugel om hetzelfde contact van de rol te behouden nadat de tipperbeugel is gemonteerd (Figuur 38).

Breng de maai-eenheden omlaag en monteer de tipperbeugel aan het frame met de 2 slotbouten en 2 moeren die met de set zijn meegeleverd (Figuur 38).


Met uw hiel beweegt u de schuif voor maaien/transport (Figuur 40) naar links in de TRANSPORTSTAND of naar rechts in de MAAISTAND.
De maai-eenheden werken alleen wanneer de schuif voor maaien/transport in de MAAISTAND staat.
De maai-eenheden kunnen niet worden neergelaten als de schuif voor maaien/transport in de TRANSPORTSTAND staat.
Trek de hendel om het stuur te verstellen (Figuur 40) naar achteren om het stuurwiel in de gewenste positie te zetten. Duw daarna de hendel naar voren om het stuur in deze positie te vergrendelen.

Om de maai-eenheden omlaag te brengen naar de grond, duwt u de schakelhendel van de maai-eenheid naar voren naar de stand OMLAAGBRENGEN (Figuur 41).
Note: De maai-eenheden bewegen pas omlaag als de motor loopt. U hoeft de hendel niet in de voorste stand te houden terwijl de maai-eenheden omlaaggebracht zijn.
Om de maai-eenheden omhoog te bewegen, trekt u de schakelhendel naar achteren, naar de stand OMHOOG.
Note: De messenkooien draaien niet terwijl de maai-eenheden zijn omhooggebracht.
De schakelaar van de maaiaandrijving (Figuur 41) heeft 2 standen: INSCHAKELEN en UITSCHAKELEN. De tuimelschakelaar bedient een solenoïdeklep op de kleppenset om de maai-eenheden aan te drijven.
Het oliedruklampje (Figuur 41) licht op als de motoroliedruk gevaarlijk laag is.
Het waarschuwingslampje voor de koelvloeistoftemperatuur (Figuur 41) gaat branden als de temperatuur van de koelvloeistof te hoog wordt. Bij deze temperatuur worden de maai-eenheden uitgeschakeld. Als de temperatuur van de koelvloeistof nog eens 5,5 °C stijgt, zal de motor uitgeschakeld worden om verdere beschadiging te voorkomen.
De urenteller (Figuur 41) toont het aantal uren dat de machine in bedrijf is geweest. De urenteller gaat lopen als de contactschakelaar ingeschakeld is.
Het indicatielampje van de gloeibougie (Figuur 41) gaat branden als de gloeibougies ingeschakeld zijn.
Zet de hendel (Figuur 41) naar voren om de motorsnelheid te verhogen en naar achteren om de snelheid te verlagen.
Het lampje van de wisselstroomdynamo (Figuur 41) wordt uitgeschakeld wanneer de motor loopt. Als het lampje van de wisselstroomdynamo brandt wanneer de motor loopt, moet u het oplaadsysteem controleren en herstellen indien nodig.
Gebruik de ontstekingsschakelaar (Figuur 41) om de motor en de lichten te laten werken. De contactschakelaar heeft 3 standen:
De UITSCHAKELSTAND schakelt de motor uit.
De stand LOPEN/VOORVERWARMEN laat de motor lopen of verwarmt de cilinderkop van de motor voor.
De stand START stelt de startmotor in werking.
Note: Wanneer het sleuteltje in de stand LOPEN/VOORVERWARMEN staat, wordt de gloeibougie in werking gesteld en het indicatielampje licht op gedurende ongeveer 7 seconden.
Zet de vergrendeling van de hefhendel (Figuur 41) naar achteren om te voorkomen dat de maai-eenheden naar beneden vallen.
Als u de motor afzet, moet u de parkeerrem (Figuur 41) in werking stellen teneinde te voorkomen dat de machine per ongeluk in beweging komt. Om de parkeerrem in werking te stellen, moet u de hendel omhoog duwen. Om de parkeerrem vrij te zetten, duwt u de hendel naar beneden.
Note: De motor slaat af als u het tractiepedaal indrukt terwijl de parkeerrem in werking is gesteld.
Het verdeelstuk van de maaier bevindt zich onder de kap van het bedieningspaneel (Figuur 42).

Gebruik de knop voor de messenkooisnelheid of het verdeelstuk van de maaier om de maaisnelheid (het toerental van de messenkooi) van de maai-eenheden af te stellen (Figuur 42).
Draai de knop voor de messenkooisnelheid linksom om het messenkooitoerental te verhogen.
Draai de knop rechtsom om de messenkooisnelheid te verlagen.
Raadpleeg Maaisnelheid (toerental messenkooi) en Het messenkooitoerental afstellen voor informatie over hoe u de toerentalregeling van de messenkooi kunt aanpassen.
De wethendel regelt de richting waarin de maai-eenheden draaien wanneer u aan het maaien bent of wanneer u de messenkooien en de ondermessen wet (Figuur 42).
Zet de wethendel in de stand F wanneer u aan het maaien bent.
Zet de hendel in de stand R wanneer u de maai-eenheden wet.
Important: Verander de stand van de wethendel niet terwijl de messenkooien bewegen.
De brandstofmeter (Figuur 43) geeft aan hoeveel brandstof er in de tank zit.

Beweeg de hendel (Figuur 43) aan de zijkant van de stoel naar buiten, beweeg de stoel naar de gewenste stand en laat de hendel los om de stoel in deze stand te vergrendelen.
Note: Specificaties en ontwerp kunnen zonder voorafgaande kennisgeving worden gewijzigd.
| Transportbreedte | 203 cm in 183 cm maaibreedte234 cm in 216 cm maaibreedte |
| Maaibreedte | 183 cm of 216 cm |
| Lengte | 248 cm |
| Hoogte | 193 cm met rolbeugel |
| Nettogewicht* | 844 kg |
| Inhoud brandstoftank | 28 liter |
| Rijsnelheid | Maaien: 0 tot 10 km/u; transportmodus: 0 tot 14 km/u. Achteruit: 0 tot 6 km/u. |
| * inclusief maai-eenheden en vloeistoffen | |
Een selectie van door Exmark goedgekeurde werktuigen en accessoires is verkrijgbaar voor gebruik met de machine om de mogelijkheden daarvan te verbeteren en uit te breiden. Neem contact op met een erkende servicedealer of een erkende Toro distributeur, of bezoek www.Toro.com voor een lijst van alle goedgekeurde werktuigen en accessoires.
Om de beste prestaties te verkrijgen en er zeker van te zijn dat de machine altijd veilig kan worden gebruikt, moet u ter vervanging uitsluitend originele Toro onderdelen en accessoires gebruiken. Gebruik ter vervanging nooit onderdelen en accessoires van andere fabrikanten, omdat dit gevaarlijk kan zijn. Dit kan ertoe leiden dat de garantie op het product komt te vervallen.
Note: Bepaal de linker- en rechterzijde van de machine vanuit de normale bedieningspositie.
Laat kinderen of personen die geen instructie hebben ontvangen, de machine nooit gebruiken of onderhoudswerkzaamheden daaraan verrichten. Plaatselijke voorschriften kunnen nadere eisen stellen aan de leeftijd van degene die met de machine werkt. Plaatselijke voorschriften kunnen nadere eisen stellen aan de leeftijd van degene die met de machine werkt. De eigenaar is verantwoordelijk voor de instructie van alle bestuurders en technici.
Zorg ervoor dat u vertrouwd raakt met de bedieningsorganen en de veiligheidssymbolen, en weet hoe u de machine veilig kunt gebruiken.
Doe het volgende voordat u de bestuurdersstoel verlaat:
Parkeer de machine op een horizontaal oppervlak.
Schakel de maai-eenheden uit en laat deze zakken.
Haal de parkeerrem aan.
Zet de motor af en verwijder het sleuteltje.
Wacht totdat alle bewegende onderdelen tot stilstand zijn gekomen.
Laat de machine afkoelen voordat u deze afstelt, reinigt, stalt of er onderhoudswerkzaamheden aan verricht.
Zorg ervoor dat u weet hoe u de machine en de motor snel kunt stoppen.
Gebruik de machine niet als er schermen of andere beveiligingsmiddelen ontbreken of als deze niet naar behoren werken.
Controleer voordat u begint te maaien altijd de machine om zeker te zijn dat de maai-eenheden in goede staat zijn.
Inspecteer het terrein waarop u de machine gaat gebruiken en verwijder voorwerpen die de machine kan uitwerpen.
Dit product produceert een elektromagnetisch veld. Als u een geïmplanteerd elektronisch medisch apparaat hebt, vraag dan advies aan een medische deskundige voordat u dit product gebruikt.
Wees uiterst voorzichtig bij het omgaan met brandstof. Brandstof is ontvlambaar en de dampen kunnen tot ontploffing komen.
Doof alle sigaretten, sigaren, pijpen en andere ontstekingsbronnen.
Gebruik uitsluitend een goedgekeurd vat of blik voor de brandstof.
Wanneer de motor loopt of heet is, mag u de brandstofdop niet verwijderen of geen brandstof toevoegen.
Geen brandstof bijvullen of aftappen in een afgesloten ruimte.
Bewaar de machine en het brandstofvat niet op plaatsen waar open vlammen, vonken of waakvlammen (bv. van een boiler of een ander toestel) aanwezig kunnen zijn.
Probeer de motor niet te starten als u brandstof hebt gemorst; voorkom elke vorm van open vuur of vonken totdat de brandstofdampen volledig zijn verdwenen.
Gebruik uitsluitend schone, verse dieselbrandstof met een ultralaag (<15 ppm) of laag (<1000 ppm) zwavelgehalte. Koop brandstof in hoeveelheden die binnen 180 dagen kunnen worden gebruikt zodat u altijd verse brandstof heeft.
Important: Als u dieselbrandstof met een hoog zwavelgehalte gebruikt (zwavelgehalte 0,50 % (5.000 ppm) tot 1,0 % (10.000 ppm), moet u om de 75 bedrijfsuren de motorolie verversen en het oliefilter vervangen.
Gebruik zomerdieselbrandstof (nr. 2-D) bij temperaturen boven -7 °C en winterdieselbrandstof (nr. 1-D of nr. 1-D/2-D-mengsel) bij temperaturen beneden -7 °C. Gebruik van winterdieselbrandstof bij lage temperaturen biedt een lager vlampunt en een lager stolpunt. Dit vergemakkelijkt het starten en vermindert de kans dat het brandstoffilter verstopt raakt.
Gebruik bij temperaturen boven -7 °C zomer- in plaats van winterdieselbrandstof om de brandstofpomp langer te laten meegaan en meer vermogen te ontwikkelen.
Deze machine kan ook gebruik maken van een dieselmengsel tot maximaal B20 (20% biodiesel, 80% petrodiesel). Het deel petrodiesel moet een laag of ultralaag zwavelgehalte hebben. Neem de volgende voorzorgsmaatregelen in acht:
Her deel biodiesel van de brandstof moet voldoen aan de specificatie ASTM D6751 of EN 14214.
Het dieselmengsel moet beantwoorden aan ASTM D975 of EN 590.
Biodieselmengsels kunnen gelakte oppervlakken beschadigen.
Gebruik B5 (biodieselinhoud 5%) of mengsels met een lager percentage in koud weer.
Controleer afdichtingen, slangen en pakkingen, die in contact met brandstof komen, omdat zij in de loop der tijd hierdoor kunnen worden aangetast.
Nadat u bent overgestapt op een biodieselmengsel kan het brandstoffilter een tijdlang verstopt raken.
Neem contact op met een dealer voor meer informatie over brandstoffen met een biodieselmengsel.
Inhoud brandstoftank: ongeveer 28 liter.
Plaats de machine op een horizontaal oppervlak, laat de maai-eenheden zakken, stel de parkeerrem in werking, zet de motor af en verwijder het sleuteltje.
Maak de omgeving van de dop van de brandstoftank schoon (Figuur 44).

Verwijder de dop van de brandstoftank.
Vul de tank tot aan de onderkant van de vulbuis.
Note: Giet de brandstoftank niet te vol.
Plaats daarna de dop terug.
Neem eventueel gemorste brandstof op.
| Onderhoudsinterval | Onderhoudsprocedure |
|---|---|
| Bij elk gebruik of dagelijks |
|
Voer elke dag, voordat u de machine start, de dagelijkse procedures uit beschreven in .
| Onderhoudsinterval | Onderhoudsprocedure |
|---|---|
| Bij elk gebruik of dagelijks |
|
Niet-aangesloten of beschadigde interlockschakelaars kunnen onverwachte gevolgen hebben op de werking van de machine. Dit kan lichamelijk letsel veroorzaken.
Laat de interlockschakelaars ongemoeid.
Controleer elke dag de werking van de interlockschakelaars en vervang beschadigde schakelaars voordat u de machine weer in gebruik neemt.
Important: Als een interlockschakelaar niet werkt, moet u contact opnemen met uw erkende Toro verdeler.
Rij de machine langzaam naar een open terrein.
Laat de maai-eenheden zakken, zet de motor af en stel de parkeerrem in werking.
Op de bestuurdersstoel gaan zitten.
Haal de parkeerrem aan.
Druk de schakelaar van de maaiaandrijving in de stand UITSCHAKELEN.
Druk het tractiepedaal in.
Draai het sleuteltje naar de stand START.
Note: De startmotor mag de motor niet laten draaien met een ingetrapt tractiepedaal.
Op de bestuurdersstoel gaan zitten.
Haal de parkeerrem aan.
Druk de schakelaar van de maaiaandrijving in de INGESCHAKELDE stand.
Raak met uw voet het tractiepedaal niet aan.
Draai het sleuteltje naar de stand START.
Note: De startmotor mag de motor niet laten draaien wanneer de schakelaar van de maaiaandrijving in de stand INSCHAKELEN staat.
Op de bestuurdersstoel gaan zitten.
Haal de parkeerrem aan.
Druk de schakelaar van de maaiaandrijving in de stand UITSCHAKELEN.
Raak met uw voet het tractiepedaal niet aan.
Start de motor.
Zet de parkeerrem vrij.
Ga van de bestuurdersstoel.
Note: De motor moet afslaan als u niet op de bestuurdersstoel zit en de parkeerrem vrijgezet is.
Op de bestuurdersstoel gaan zitten.
Haal de parkeerrem aan.
Druk de schakelaar van de maaiaandrijving in de stand UITSCHAKELEN.
Raak met uw voet het tractiepedaal niet aan.
Start de motor.
Druk het tractiepedaal in.
Note: De motor moet afslaan als de parkeerrem INGESCHAKELD is en het tractiepedaal ingedrukt is.
Op de bestuurdersstoel gaan zitten.
Haal de parkeerrem aan.
Druk de schakelaar van de maaiaandrijving in de stand UITSCHAKELEN.
Raak met uw voet het tractiepedaal niet aan.
Start de motor.
Zet de parkeerrem vrij.
Ga van de bestuurdersstoel.
Druk het tractiepedaal in.
Note: De motor moet binnen de seconde afslaan als u niet op de bestuurdersstoel zit en het tractiepedaal indrukt.
De eigenaar/gebruiker is verantwoordelijk voor ongelukken die persoonlijk letsel of materiële schade kunnen veroorzaken, en hij dient zulke ongelukken te voorkomen.
Draag geschikte kleding en uitrusting, zoals oogbescherming, een lange broek, stevige schoenen met een gripvaste zool en gehoorbescherming. Draag lang haar niet los en draag geen losse kleding of juwelen.
Gebruik de machine niet als u ziek, moe of onder de invloed van alcohol of drugs bent.
Geef uw volledige aandacht als u de machine gebruikt. Zorg ervoor dat u met niets anders bezig bent waardoor u kunt worden afgeleid, anders kunnen er letsels ontstaan of kan eigendom worden beschadigd.
Voordat u de motor start: zorg dat alle aandrijvingen in de neutraalstand staan, de parkeerrem in werking is gesteld en u zich in de bestuurderspositie bevindt.
Vervoer geen passagiers op de machine en houd omstanders en kinderen weg uit het werkgebied.
Gebruik de machine uitsluitend bij een goede zichtbaarheid zodat u kuilen en verborgen gevaren kunt vermijden.
Gebruik de machine niet op nat gras. Als de wielen hun grip verliezen, kan de machine gaan glijden.
Houd uw handen en voeten uit de buurt van de maai-eenheden.
Kijk achterom en omlaag voordat u achteruitrijdt om er zeker van te zijn dat de weg vrij is.
Wees voorzichtig bij het naderen van blinde hoeken, struiken, bomen, en andere objecten die uw zicht kunnen belemmeren.
Schakel de maai-eenheden uit wanneer u niet maait.
Verminder uw snelheid en wees voorzichtig als u een bocht maakt of wegen en voetpaden oversteekt met de machine. Verleen altijd voorrang.
Laat de motor enkel draaien in goed verluchte omgevingen. Uitlaatgassen bevatten koolstofmonoxide, dat dodelijk is bij inademing.
Laat een machine met draaiende motor niet onbeheerd achter.
Doe het volgende voordat u de bestuurdersstoel verlaat:
Parkeer de machine op een horizontaal oppervlak.
Schakel de maai-eenheden uit en laat deze zakken.
Haal de parkeerrem aan.
Zet de motor af en verwijder het sleuteltje.
Wacht totdat alle bewegende onderdelen tot stilstand zijn gekomen.
Laat de machine afkoelen voordat u deze afstelt, reinigt, stalt of er onderhoudswerkzaamheden aan verricht.
Gebruik de machine uitsluitend als het zicht goed is en bij geschikte weersomstandigheden. Gebruik de machine niet als er kans op bliksem is.
Gebruik de cruisecontrol (indien aanwezig) alleen als u de machine kunt bedienen in een open, platte omgeving zonder obstakels, waar de machine zonder onderbreking met een constante snelheid kan rijden.
Verwijder geen onderdelen van de rolbeugel van de machine.
Zorg dat u de veiligheidsgordel draagt en deze in een noodgeval snel kunt losmaken.
Doe altijd de veiligheidsgordel om.
Controleer aandachtig of er obstakels zijn waar u onderdoor moet rijden, en zorg dat u ze niet raakt.
Houd de rolbeugel in deugdelijke staat door deze regelmatig grondig te controleren op beschadiging, en zorg dat alle bevestigingsmateriaal stevig is vastgedraaid.
Vervang alle beschadigde onderdelen van de rolbeugel. U mag deze niet repareren of aanpassen.
Het maaien op hellingen is een belangrijke factor bij ongelukken waarbij de controle over de machine wordt verloren of deze omkantelt. Dit kan ernstig of dodelijk letsel veroorzaken. U bent verantwoordelijk voor een veilig gebruik van de machine op hellingen. Gebruik van de machine op hellingen vereist altijd extra voorzichtigheid.
Onderzoek de toestand van het werkgebied om te bepalen of de machine veilig kan worden gebruikt op de helling. Gebruik altijd uw gezond verstand en uw beoordelingsvermogen wanneer u dit onderzoek uitvoert.
Neem de onderstaande instructies door voor gebruik van de machine op hellingen. Beoordeel de omstandigheden van het terrein alvorens de machine te gebruiken om na te gaan of u de machine op een bepaalde dag op dit terrein kunt gebruiken. Veranderingen in het terrein kunnen tot gevolg hebben dat de machine anders reageert op hellingen.
Vermijd starten, stoppen of bochten maken op hellingen. Vermijd plotse veranderingen van snelheid of richting. Draai langzaam en geleidelijk.
Gebruik een machine nooit in omstandigheden waarbij u twijfelt over tractie, sturen of stabiliteit.
Verwijder of markeer obstakels zoals greppels, putten, geulen, hobbels, stenen en andere verborgen gevaren. In hoog gras zijn obstakels niet altijd zichtbaar. De machine kan omslaan op oneffenheden in het terrein.
Denk eraan dat de machine tractie kan verliezen doordat u bergafwaarts, op nat gras of dwars op een helling maait.
Rij zeer voorzichtig als u de machine gebruikt in de buurt van steile hellingen, greppels, dijken, waterpartijen en andere gevaarlijke punten. De machine kan plotseling omslaan als een wiel over de rand komt, of als de rand instort. Zorg voor een veilige afstand tussen de machine en een gevarenzone.
Spoor gevaren onderaan de helling op. Indien er gevaren zijn, maait u de helling met een loopmaaimachine.
Laat de maai-eenheden indien mogelijk neer op de grond wanneer u werkt op hellingen. Als u de maai-eenheden omhoog brengt op hellingen, kan de machine onstabiel worden.
Note: U moet mogelijk het brandstofsysteem ontluchten als één van de volgende situaties zich heeft voorgedaan; zie Het Brandstofsysteem ontluchten:
Eerste keer starten van een nieuwe motor.
De motor is gestopt omdat de brandstof op was.
U hebt onderhoudswerkzaamheden uitgevoerd aan de onderdelen van het brandstofsysteem, zoals het vervangen van het brandstoffilter.
Controleer of de parkeerrem in werking is gesteld en of de schakelaar voor de aandrijving van de messenkooi is UITGESCHAKELD.
Haal uw voet van het tractiepedaal en controleer of het pedaal in de NEUTRAALSTAND staat.
Zet de gashendel op halfgas.
Steek het sleuteltje in de contactschakelaar en draai het naar AAN/VOORGLOEIEN totdat het indicatielampje van de gloeibougie uitgaat (ongeveer 7 seconden); draai daarna het sleuteltje op START om de startmotor in werking te stellen. Laat het sleuteltje los zodra de motor start.
Note: Het sleuteltje draait automatisch naar de stand AAN/LOPEN.
Important: Om te voorkomen dat de startmotor oververhit raakt, mag u de startmotor niet langer dan 15 seconden in werking stellen. Als u de motor 10 seconden achtereen hebt gestart, moet u 60 seconden wachten voordat u een nieuwe startpoging doet.
Als de motor voor de eerste keer wordt gestart of een revisiebeurt heeft gehad, moet u de machine 1 tot 2 minuten in de vooruit- en de achteruit-stand laten werken. Controleer ook de werking van de hefhendel en de schakelaar van de maai-eenheden om er zeker van te zijn dat alle onderdelen naar behoren functioneren.
Note: Draai het stuurwiel naar links en naar rechts om de stuurreactie te controleren. Zet vervolgens de motor af en controleer op olielekken, losse onderdelen en andere slijtage of beschadiging.
Controleren op olielekken, loszittende onderdelen en andere gebreken kan letsel veroorzaken.
Zet de motor af en wacht totdat alle bewegende delen tot stilstand gekomen zijn voordat u controleert op olielekken, losse onderdelen en andere defecten.
Zet de gashendel in de stand STATIONAIR.
Stel de parkeerrem in werking.
Zet de schakelaar van de maaiaandrijving in de stand UITSCHAKELEN.
Breng de maai-eenheden omlaag.
Zet de motor af, verwijder het contactsleuteltje en wacht totdat alle bewegende onderdelen tot stilstand zijn gekomen.
Breng de machine naar het werkterrein en stel deze buiten het maaigebied op om de eerste baan te maaien.
Zorg ervoor dat de schakelaar van de maaiaandrijving omhoog is gezet (de UITGESCHAKELDE stand); Schakelaar van de maaiaandrijving.
Zet de gashendel op SNEL; zie Gashendel.
Gebruik de schakelhendel van de maai-eenheid om de maai-eenheden neer te laten op de grond; zie Schakelhendel van maai-eenheid – omhoog-/omlaagbrengen.
Druk op de schakelaar van de maaiaandrijving om de maai-eenheden voor te breiden voor gebruik (de INGESCHAKELDE stand).
Gebruik de schakelhendel van de maai-eenheid om de maai-eenheden op te tillen van de grond.
Rij de machine naar het maaigebied en laat de maai-eenheden zakken.
Note: De maai-eenheden lopen.
Voordat u de plek bereikt waar u gaat keren, houdt u de schakelhendel van de maai-eenheid net lang genoeg ingetrokken om de maai-eenheden omhoog te brengen. Laat de schakelhendel vervolgens los.
Important: Hou de schakelhendel van de maai-eenheid tijdens het keren niet ingedrukt.
Maak een druppelvormige bocht om de machine snel voor de volgende baan uit te lijnen.
Zet de schakelaar van de maaiaandrijving in de stand UITSCHAKELEN.
Breng de maai-eenheden omhoog in de transportstand.
Zet de schuif voor maaien/transport in de TRANSPORTSTAND.

Important: Wees voorzichtig als u tussen objecten rijdt zodat u de machine of de maai-eenheden niet per ongeluk beschadigt. Wees extra voorzichtig wanneer u de machine op hellingen gebruikt. Rij langzaam en maak geen scherpe bochten om omkantelen te voorkomen.
Note: U kunt de maai-eenheden niet omlaagbrengen terwijl u de machine gebruikt in de transportmodus.
Om ervoor te zorgen dat de maaikwaliteit constant en van hoog niveau blijft en het gazon na het maaien een gelijkmatig uiterlijk krijgt, is het belangrijk dat de toerentalregeling van de messenkooien juist is afgesteld.
Important: Als de messenkooisnelheid te langzaam is, zijn er mogelijk strepen zichtbaar na het maaien. Als de messenkooisnelheid te hoog is, kan het maairesultaat er pluizig uitzien.
| Messenkooi met vijf messen | Messenkooi met acht messen | Messenkooi met 11 messen | |||||
|---|---|---|---|---|---|---|---|
| Maaihoogte | 8 km/uur | 9,6 km/uur | 8 km/uur | 9,6 km/uur | 8 km/uur | 9,6 km/uur | |
| 63,5 mm | 2½" | 3 | 3 | 3* | 3* | – | – |
| 60,3 mm | 2⅜" | 3 | 4 | 3* | 3* | – | – |
| 57,2 mm | 2¼" | 3 | 4 | 3* | 3* | – | – |
| 54,0 mm | 2⅛" | 3 | 4 | 3* | 3* | – | – |
| 50,8 mm | 2" | 3 | 4 | 3* | 3* | – | – |
| 47,6 mm | 1⅞" | 4 | 5 | 3* | 3* | – | – |
| 44,5 mm | 1¾" | 4 | 5 | 3* | 3* | – | – |
| 41,3 mm | 1⅝" | 5 | 6 | 3* | 3* | – | – |
| 38,1 mm | 1½" | 5 | 7 | 3 | 4 | – | – |
| 34,9 mm | 1⅜" | 5 | 8 | 3 | 4 | – | – |
| 31,8 mm | 1¼" | 6 | 9 | 4 | 4 | – | – |
| 28,8 mm | 1⅛" | 8 | 9* | 4 | 5 | – | – |
| 25 mm | 1" | 9 | 9* | 5 | 6 | – | – |
| 22,2 mm | ⅞" | 9* | 9* | 5 | 7 | – | – |
| 19,1 mm | ¾" | 9* | 9* | 7 | 9 | 6 | 7 |
| 15,9 mm | ⅝" | 9* | 9* | 9 | 9* | 7 | 7 |
| 12,7 mm | ½" | 9* | 9* | 9 | 9* | 8 | 8 |
| 9,5 mm | ⅜" | 9* | 9* | 9 | 9* | 9 | 9 |
|
* Toro raadt deze maaihoogte en/of maaisnelheid af. |
|||||||
|
Note: Hoe hoger het getal, hoe sneller. |
|||||||
Controleer de instelling voor de maaihoogte op de maai-eenheden. Gebruik de juiste kolom van het selectieschema van de toerentalregeling voor messenkooi (voor messenkooien met 5, 8 of 11 messen) om de juiste maaihoogte te vinden. Zoek in het schema het messenkooitoerental dat overeenkomt met die maaihoogte.
Til de kap op van de bedieningsarm (Figuur 46).

Draai de regelknop voor het toerental van de messenkooien (Figuur 47) op het messenkooitoerental dat u hebt bepaald in stap 1.

Monteer de kap op de bedieningsarm.
Gebruik de machine een paar dagen en onderzoek vervolgens of de maaihoogte naar tevredenheid is. De knop voor het toerental van de messenkooien kan 1 stand hoger of lager worden ingesteld dan het messenkooitoerental op het schema om rekening te houden met verschillen in de gazonconditie, de verwijderde graslengte en de persoonlijke voorkeur van de bestuurder.
Plaats de machine op een horizontaal oppervlak, laat de maai-eenheden zakken, stel de parkeerrem in werking, zet de motor af en verwijder het sleuteltje.
Zorg ervoor dat de brandstoftank minstens half vol is.
Ontgrendel en open de motorkap.
Draai de ontluchtschroef op de brandstofinjectiepomp open (Figuur 48).

Draai het contactsleuteltje naar de stand AAN.
De elektrische brandstofpomp loopt en perst bij de ontluchtschroef lucht naar buiten.
Note: Laat het sleuteltje op AAN staan totdat er een volle straal brandstof bij de schroef naar buiten komt.
Zet de schroef weer vast en draai het sleuteltje op UIT.
Note: De motor dient te starten nadat u de volgende procedure hebt gevolgd. Indien de motor echter niet start, kan er lucht tussen de injectiepomp en de injectors zitten; zie Injectors ontluchten.
Om te beginnen met maaien, schakelt u de maai-eenheden in en rijdt u langzaam naar het maaigebied. Breng de maai-eenheden omlaag zodra de voorste maai-eenheden zich boven het maaigebied bevinden.
Om in een professioneel recht patroon en in banen te kunnen maaien zoals voor sommige werkzaamheden is vereist, moet u een boom of een ander object in de verte uitkiezen en recht daarop af rijden.
Zodra de voorste maai-eenheden de rand van het maaigebied bereiken, brengt u de maai-eenheden omhoog en maakt u een traanvormige bocht om snel in de juiste positie te komen voor de volgende baan.
De maaidekken werpen het gras meestal naar de voorzijde of de achterzijde van de machine. Gebruik de vooruitwerpstand als u kleine hoeveelheden gras maait. Zo krijgt u een mooier maairesultaat. Om aan de voorzijde uit te werpen, kunt u eenvoudig het achterscherm op de maaidekken sluiten.
Open of sluit de schermen van de maai-eenheden niet terwijl de motor loopt, om lichamelijk letsel of schade aan de machine te voorkomen.
Schakel de motor uit en wacht tot alle bewegende delen tot stilstand zijn gekomen voordat u de schermen van de maai-eenheden opent of sluit.
Als u een grotere hoeveelheid gras moet maaien, zet de schermen dan in een bijna horizontale stand. Open de schermen niet te ver omdat er anders maaisel kan verzamelen op het frame, het achterste radiateurscherm en in het motorgebied.
De maai-eenheden zijn uitgerust met balansgewichten aan de zijde zonder motor voor een gelijkmatig maairesultaat. U kunt gewichten toevoegen of verwijderen als het maairesultaat niet gelijkmatig is.
Parkeer de machine op een horizontaal oppervlak.
Schakel de maai-eenheden uit en laat deze zakken.
Haal de parkeerrem aan.
Zet de motor af en verwijder het sleuteltje.
Wacht totdat alle bewegende onderdelen tot stilstand zijn gekomen.
Laat de machine afkoelen voordat u deze afstelt, reinigt, stalt of er onderhoudswerkzaamheden aan verricht.
Om brand te voorkomen, moet u ervoor zorgen dat de maai-eenheden, aandrijvingen, dempers, koelschermen en het motorcompartiment vrij zijn van gras en vuil. Veeg gemorste olie en brandstof op.
Schakel de aandrijving van het werktuig uit als u de machine sleept of niet gebruikt.
Onderhoud en reinig de veiligheidsgordel(s) indien nodig.
Sla de machine en de brandstofhouder niet op plaatsen waar open vlammen, vonken of waakvlammen (bv. van een boiler of andere toestellen) aanwezig kunnen zijn.
Was de machine en smeer ze; zie De machine wassen en Lagers en lagerbussen smeren.
In noodgevallen kunt u de machine over een korte afstand slepen. Exmark beveelt dit echter niet aan als standaardprocedure.
Important: U mag de machine niet sneller dan met 3 tot 4 km per uur slepen omdat anders het aandrijfsysteem beschadigd kan raken. Als de machine over een grote afstand moet worden verplaatst, moet u deze vervoeren op een vrachtwagen of een aanhanger.
Ontgrendel en open de motorkap.
Draai de handgreep van de omloopklep op de pomp 90°. De handgreep van de omloopklep bevindt zich dicht bij de rechter motorkapvergrendeling (Figuur 49).

Sluit en vergrendel de motorkap.
Sluit het trekvoertuig aan op de machine aan de bevestigingspunten; zie De bevestigingspunten zoeken.
Ga zitten op de bestuurdersstoel en gebruik indien nodig de parkeerrem om de machine te regelen wanneer ze wordt getrokken.
Important: U mag de motor niet starten wanneer de omloopklep open is.
Voordat u de motor start, moet u de omloopklep sluiten door deze 90° (¼ slag) te draaien.

Gebruik een oprijplaat van volledige breedte bij het laden van de machine op een aanhanger of vrachtwagen.
Maak de machine stevig vast.
Note: Bepaal vanuit de normale bedieningspositie de linker- en rechterzijde van de machine.
Note: Download het elektrische of hydraulische schema gratis op www.Toro.com; u kunt uw machine zoeken via de link Handleidingen op de hoofdpagina.
Important: Raadpleeg de Gebruikershandleiding van de motor en de Gebruikershandleiding van de maai-eenheid voor verdere onderhoudsprocedures. Veiligheid bij onderhoud
Doe het volgende voordat u de bestuurdersstoel verlaat:
Parkeer de machine op een horizontaal oppervlak.
Schakel de maai-eenheden uit en laat deze zakken.
Haal de parkeerrem aan.
Zet de motor af en verwijder het sleuteltje.
Wacht totdat alle bewegende onderdelen tot stilstand zijn gekomen.
Laat de machine afkoelen voordat u deze afstelt, reinigt, stalt of er onderhoudswerkzaamheden aan verricht.
Draag geschikte kleding, waaronder oogbescherming, een lange broek en stevige schoenen met een gripvaste zool. Houd handen, voeten, kleding, sieraden en lang haar uit de buurt van bewegende onderdelen.
Laat de onderdelen van de machine afkoelen voordat u onderhoudswerkzaamheden uitvoert.
Voer indien mogelijk geen onderhoudswerkzaamheden uit als de motor draait. Blijf uit de buurt van bewegende onderdelen.
Laat de motor enkel draaien in goed verluchte omgevingen. Uitlaatgassen bevatten koolstofmonoxide, dat dodelijk is bij inademing.
Ondersteun de machine met assteunen als u onder de machine werkt.
Haal voorzichtig de druk van onderdelen met opgeslagen energie.
Zorg ervoor dat alle onderdelen van de machine in goede staat verkeren en al het bevestigingsmateriaal stevig vastzit.
Vervang versleten of beschadigde stickers.
Om veilige en optimale prestaties van de machine te verkrijgen, moet u ter vervanging alleen originele Toro onderdelen gebruiken. Gebruik ter vervanging nooit onderdelen van andere fabrikanten, omdat dit gevaarlijk kan zijn en de productgarantie hierdoor kan vervallen.
| Onderhoudsinterval | Onderhoudsprocedure |
|---|---|
| Na het eerste bedrijfsuur |
|
| Na de eerste 10 bedrijfsuren |
|
| Na de eerste 50 bedrijfsuren |
|
| Bij elk gebruik of dagelijks |
|
| Om de 25 bedrijfsuren |
|
| Om de 50 bedrijfsuren |
|
| Om de 100 bedrijfsuren |
|
| Om de 150 bedrijfsuren |
|
| Om de 200 bedrijfsuren |
|
| Om de 400 bedrijfsuren |
|
| Om de 500 bedrijfsuren |
|
| Om de 800 bedrijfsuren |
|
| Om de 1000 bedrijfsuren |
|
| Om de 2000 bedrijfsuren |
|
| Om de 2 jaar |
|
Gelieve deze pagina te kopiëren ten behoeve van gebruik bij routinecontroles.
| Gecontroleerd item | Voor week van: | ||||||
|---|---|---|---|---|---|---|---|
| Ma. | Di. | Wo. | Do. | Vr. | Za. | Zo. | |
| Werking van veiligheidssysteem controleren. | |||||||
| Werking van de remmen controleren. | |||||||
| Brandstofpeil controleren. | |||||||
| Oliepeil controleren. | |||||||
| Peil van de koelvloeistof controleren. | |||||||
| Brandstoffilter/waterafscheider aftappen. | |||||||
| Luchtfilter, stofkap en ontluchtingsventiel controleren. | |||||||
| Controleren of motor ongewone geluiden maakt.1 | |||||||
| Radiateur en scherm controleren op vuil. | |||||||
| Controleren op ongewone geluiden tijdens het gebruik. | |||||||
| Peil van hydraulische vloeistof controleren. | |||||||
| Hydraulische slangen en leidingen op schade controleren. | |||||||
| Controleren op lekkages. | |||||||
| Brandstofpeil controleren. | |||||||
| De bandenspanning controleren. | |||||||
| Werking van instrumenten controleren. | |||||||
| Afstelling van contact tussen ondermes en messenkooi controleren. | |||||||
| Maaihoogte-instelling controleren. | |||||||
| Alle smeernippels smeren.2 | |||||||
| Beschadigde lak bijwerken. | |||||||
| Was de machine. | |||||||
|
1 Controleer de gloeibougies en de spuitmonden van de injector, als de motor moeilijk start, buitensporig veel rook afgeeft of ongelijkmatig loopt. 2Onmiddellijk na elke wasbeurt, ongeacht het voorgeschreven interval |
|||||||
| Controle uitgevoerd door: | ||
| Item | Datum | Informatie |
| 1 | ||
| 2 | ||
| 3 | ||
| 4 | ||
| 5 | ||
Parkeer de machine op een horizontaal oppervlak.
Breng de maai-eenheden omlaag.
Stel de parkeerrem in werking.
Zet de motor af en haal het sleuteltje uit het contact.
Wacht totdat alle onderdelen tot stilstand zijn gekomen.
Zet blokken tegen de banden.
Krik de voorkant van de machine onder de vierkante buis van het onderframe zo dicht mogelijk tegen de zijplaat.

Ondersteun de machine met kriksteunen die berekend zijn op het gewicht van de machine onder de vierkante buis of wielmotoren; zie Specificaties.
Zet blokken tegen de banden.
Bevestig een takel aan het bindoog van de vork van het achterwiel (Figuur 52).

Breng de machine voorzichtig omhoog.
Ondersteun de machine met kriksteunen die berekend zijn op het gewicht van de machine onder het frame; zie Specificaties.
Zet blokken tegen de banden.
Krik de achterkant van de machine onder de motor van het achterwiel (Figuur 63).

Ondersteun de machine met kriksteunen die berekend zijn op het gewicht van de machine onder het frame; zie Specificaties.
Verwijder de 2 knoppen waarmee het accudeksel aan de machine is bevestigd en verwijder het deksel (Figuur 50).

| Onderhoudsinterval | Onderhoudsprocedure |
|---|---|
| Om de 50 bedrijfsuren |
|
| Om de 500 bedrijfsuren |
|
Specificatie vet: Nr. 2 vet op lithiumbasis
De machine heeft smeernippels die u regelmatig moet smeren. Bij gebruik in deze omstandigheden kan er vuil terechtkomen in de lagers en lagerbussen, hetgeen tot snellere slijtage kan leiden. Pomp vet in de smeernippels onmiddellijk na elke wasbeurt, ongeacht de voorgeschreven intervallen.
De smeerpunten en de hoeveelheden zijn als volgt:
Draaipunt van achterste maai-eenheid (Figuur 57)

Draaipunt van voorste maai-eenheid (Figuur 58)

Draaipunt (Figuur 59)

Draaipunt van achterste hefarm en hefcilinder (2) (Figuur 60)

Draaipunt van voorste hefarm links en hefcilinder (2) (Figuur 61)

Draaipunt van voorste hefarm rechts en hefcilinder (2) (Figuur 62)

Afstelmechanisme neutraalstand (Figuur 63)

Schuif voor maaien/transport (Figuur 64)

Draaipunt riemspanning (Figuur 65)

Lagers vertonen zelden materiaalgebreken of fabricagefouten. Defecten worden voornamelijk veroorzaakt door vocht of vuil dat via de afdichtingen binnendringt. Lagers die moeten worden gesmeerd, dienen regelmatig een onderhoudsbeurt te krijgen om vuil of ander schadelijk materiaal uit de lagers te verwijderen. Gesloten lagers zijn in de fabriek in de fabriek voor het leven gesmeerd met een speciaal smeermiddel en voorzien van een robuuste, ingebouwde afdichting die voorkomt dat er vuil of vocht de lagers binnendringt.
Gesloten lagers hoeven niet te worden gesmeerd en hebben op korte termijn geen onderhoud nodig. Dit beperkt het vereiste routineonderhoud en vermindert de kans op beschadiging van het gazon als gevolg van verontreiniging door vet. Deze gesloten lagers leveren goede prestaties en hebben bij normaal gebruik een lange levensduur, maar u dient de conditie van de lagers en de afdichtingen regelmatig te controleren teneinde uitvaltijd te voorkomen. Controleer de lagers elk seizoen en vervang ze indien ze beschadigd of versleten zijn. De lagers moeten soepel functioneren en mogen geen tekenen van beschadiging vertonen zoals oververhitting, lawaai, speling of tekenen van corrosie (roest).
Als gevolg van de werkomstandigheden waaraan deze lagers/afdichtingen blootstaan (zoals zand, chemicaliën voor gazononderhoud, water, schokken, enz.), zijn zij onderhevig aan normale slijtage. Mankementen aan lagers die niet te wijten zijn aan materiaalgebreken of fabricagefouten, vallen niet onder de garantie.
Note: De levensduur van lagers kan worden bekort door verkeerde wasmethoden. Was de machine niet als deze nog heet is en richt een hogedruk- of hogevolumespuit nooit op de lagers.
U moet de motor afzetten voordat u het oliepeil controleert of het carter bijvult met olie.
Verander de snelheid van de toerenregelaar niet en laat de motor het maximale toerental niet overschrijden.
Gebruik hoogwaardige motorolie met een laag asgehalte, die aan de volgende specificaties voldoet:
|
ACEA—E6 |
|
API—CH-4 of hoger |
|
JASO—DH-2 |
Aanbevolen olieviscositeit: SAE 15W-40 [-17 ºC]
Alternatieven olieviscositeit: SAE 10W-30 of 5W-30 (alle temperaturen)
Toro Premium motorolie is verkrijgbaar bij uw erkende Toro distributeur, met een viscositeit van 15W-40 of 10W-30.
| Onderhoudsinterval | Onderhoudsprocedure |
|---|---|
| Bij elk gebruik of dagelijks |
|
Het carter van de motor is in de fabriek gevuld met olie; het oliepeil moet echter worden gecontroleerd voor- en nadat de motor voor de eerste keer is gestart.
Note: Exmark Premium motorolie met een viscositeit van 15W-40 of 10W-30 is verkrijgbaar bij de dealer. Zie de onderdelencatalogus voor de onderdeelnummers.
Note: De beste tijd om de motorolie te controleren is wanneer de motor koud is voordat deze is gestart voor de dag. Als hij al heeft gedraaid, moet u de olie eerst terug laten lopen gedurende tenminste 10 minuten voordat u controleert. Als het olieniveau op of onder de bijvul-markering (Add) op de peilstok staat, vul dan olie bij om het olieniveau bij de vol-markering (Full) te brengen. Niet te vol vullen. Als het oliepeil zich tussen de twee markeringen bevindt, hoeft er geen olie te worden bijgevuld.
Maak de machine klaar voor onderhoud; zie Vóór onderhoudswerkzaamheden.
Ontgrendel en open de motorkap.
Verwijder de peilstok (Figuur 66) en veeg deze af met een schone doek.

Steek de peilstok in de buis. Let erop dat de peilstok er volledig in schuift. Haal vervolgens de peilstok eruit en controleer het oliepeil.
Als het oliepeil te laag is, verwijdert u de vuldop (Figuur 67) en vult u bij met kleine hoeveelheden olie totdat het oliepeil de Vol-markering op de peilstok bereikt. Vul de olie langzaam bij en controleer daarbij veelvuldig het peil.
Important: Zorg ervoor dat het oliepeil zich tussen de bovenste en onderste markering op de peilstok bevindt. Te veel of te weinig motorolie kan de motor ernstig beschadigen.

Plaats de vuldop en de peilstok terug.
Sluit en vergrendel de motorkap.
| Onderhoudsinterval | Onderhoudsprocedure |
|---|---|
| Na de eerste 50 bedrijfsuren |
|
| Om de 150 bedrijfsuren |
|
Carterinhoud: ongeveer 3,8 liter met filter
Maak de machine klaar voor onderhoud; zie Vóór onderhoudswerkzaamheden.
Ontgrendel en open de motorkap en wacht tot de motor afgekoeld is.
Verwijder één van de aftappluggen (Figuur 68) en laat de olie in een opvangbak lopen. Als er geen olie meer uit stroomt, plaatst u de aftapplug terug.

Verwijder het oliefilter (Figuur 69).

Smeer een dun laagje schone olie op de pakking van het nieuwe filter en plaats het oliefilter.
Note: Draai het filter niet te vast.
Vul het carter met olie; zie Aanbevolen motorolie en Het motoroliepeil controleren.
Sluit en vergrendel de motorkap.
| Onderhoudsinterval | Onderhoudsprocedure |
|---|---|
| Om de 200 bedrijfsuren |
|
Controleer de luchtfilterbehuizing op schade die een luchtlek kan veroorzaken. Vervang deze in geval van beschadiging. Controleer het gehele luchtinlaatsysteem op lekken, beschadiging of losse slangklemmen.
Verricht de onderhoudswerkzaamheden aan het luchtfilter met inachtneming van de aanbevolen onderhoudsintervallen of eerder als de prestaties van de motor achteruitgaan als gevolg van buitengewoon stoffige en vuile omstandigheden. Als u het luchtfilter vervangt voordat dit nodig is, wordt alleen maar de kans vergroot dat er vuil in de motor komt als het filter wordt verwijderd.
Zorg ervoor dat het deksel goed vastzit en de luchtfilterbehuizing helemaal afsluit.
Maak de machine klaar voor onderhoud; zie Vóór onderhoudswerkzaamheden.
Open de motorkap.
Maak de sluitingen los waarmee het deksel van het luchtfilter is bevestigd aan het luchtfilterhuis (Figuur 70).

Verwijder het deksel van het luchtfilterhuis.
Voordat u het filter weghaalt, moet u met schone en droge perslucht onder lage druk (2,76 bar) grote hoeveelheden aangekoekt vuil verwijderen dat tussen de buitenkant van het voorfilter en de filterbus zit. Gebruik geen perslucht onder hoge druk, omdat hierdoor vuil via the filter in het inlaatkanaal kan worden geblazen. Deze reiniging voorkomt dat er vuil in de inlaat terechtkomt als het voorfilter wordt verwijderd.
Verwijder het filterelement (Figuur 70).
Note: Reinigen van het gebruikte element de filtermedia beschadigen.
Verwijder de rubberen uitlaatklep (Figuur 70) van de vuiluitlaat van het luchtfilterdeksel.
Maak de vuiluitlaat en de uitlaatklep schoon en monteer de uitlaatklep in de vuiluitlaat.
Inspecteer het nieuwe filter op transportschade en controleer het uiteinde van het filter (dit moet goed aansluiten) en de filterbehuizing.
Important: Een beschadigd element mag niet worden gebruikt.
Plaats het nieuwe filter door de buitenring van het element aan te drukken om dit vast te zetten in de filterbus.
Important: Druk niet op het flexibele midden van het filter.
Monteer het deksel met de rubberen uitlaatklep naar beneden gericht – in een stand tussen ongeveer 5 tot 7 uur, gezien vanaf het uiteinde.
Vergrendel het deksel met de 2 sluitingen.
Sluit en vergrendel de motorkap.
| Onderhoudsinterval | Onderhoudsprocedure |
|---|---|
| Om de 2 jaar |
|
Maak de machine klaar voor onderhoud; zie Vóór onderhoudswerkzaamheden.
De tank moet worden afgetapt en gereinigd als het brandstofsysteem vervuild raakt of wanneer de machine voor langere tijd zal worden gestald. Gebruik schone brandstof om de tank uit te spoelen.
| Onderhoudsinterval | Onderhoudsprocedure |
|---|---|
| Om de 400 bedrijfsuren |
|
Maak de machine klaar voor onderhoud; zie Vóór onderhoudswerkzaamheden.
Ontgrendel en open de motorkap.
Controleer de brandstofleidingen en fittings op slijtage, beschadigingen of loszittende verbindingen.
Note: Herstel of vervang beschadigde of versleten brandstofleidingen of fittings.
Sluit en vergrendel de motorkap.
| Onderhoudsinterval | Onderhoudsprocedure |
|---|---|
| Bij elk gebruik of dagelijks |
|
Maak de machine klaar voor onderhoud; zie Vóór onderhoudswerkzaamheden.
Ontgrendel en open de motorkap en wacht tot de motor afgekoeld is.
Plaats een schone opvangbak onder het brandstoffilter.
Draai de aftapplug onder de filterbus los (Figuur 71).

Draai de plug weer vast na het aftappen.
Start de motor, controleer op lekkages en zet de motor af.
Note: Herstel alle brandstoflekken.
Sluit en vergrendel de motorkap.
| Onderhoudsinterval | Onderhoudsprocedure |
|---|---|
| Om de 400 bedrijfsuren |
|
Maak de machine klaar voor onderhoud; zie Vóór onderhoudswerkzaamheden.
Ontgrendel en open de motorkap en wacht tot de motor afgekoeld is.
Reinig de omgeving van de plaats waar de filterbus wordt gemonteerd (Figuur 71).
Verwijder de filterbus en reinig de plaats waar deze wordt gemonteerd.
Smeer schone olie op de pakking van de filterbus.
Monteer de filterbus met de hand totdat de pakking contact maakt en draai deze vervolgens nog een halve slag verder.
Start de motor, controleer op lekkages en zet de motor af.
Note: Herstel alle brandstoflekken.
Sluit en vergrendel de motorkap.
Note: Deze procedure mag uitsluitend worden toegepast als het brandstofsysteem is ontlucht met behulp van de normale ontluchtingsprocedures en de motor niet start; zie Het Brandstofsysteem ontluchten.
Voer indien mogelijk elke stap in Vóór onderhoudswerkzaamheden uit.
Ontgrendel en open de motorkap en als de motor te heet is, moet u wachten tot deze is afgekoeld.
Draai de buismoer los voor de brandstofleiding naar brandstofverstuiver nr. 1.

Zet de gashendel op SNEL.
Draai het sleuteltje naar de stand START en kijk hoe de brandstof om de connector stroomt. Draai het sleuteltje naar de stand UIT wanneer er sprake is van een ononderbroken straal.
Important: Om te voorkomen dat de startmotor oververhit raakt, mag u de startmotor niet langer dan 15 seconden in werking stellen. Als u de motor 10 seconden achtereen hebt gestart, moet u 60 seconden wachten voordat u een nieuwe startpoging doet.
Zet de buismoer weer vast.
Verwijder alle brandstof van de motor.
Herhaal stap 3 tot en met 7 voor de andere verstuivers.
Start de motor, controleer op lekkages en zet de motor af.
Note: Herstel alle brandstoflekken.
Sluit en vergrendel de motorkap.
Koppel de accu af voordat u reparaties aan de machine verricht. Maak eerst de minpool van de accu los en daarna de pluspool. Bevestig eerst de pluspool van de accu en daarna de minpool.
Laad de accu op in een open, goed geventileerde ruimte, uit de buurt van vonken en open vuur. Haal de oplader uit het stopcontact voordat u de accu aan- of loskoppelt. Draag beschermende kleding en gebruik geïsoleerd gereedschap.
| Onderhoudsinterval | Onderhoudsprocedure |
|---|---|
| Om de 25 bedrijfsuren |
|
Accuzuur bevat zwavelzuur; deze stof is dodelijk bij inname en veroorzaakt ernstige brandwonden.
U mag accuzuur nooit inslikken en moet elk contact met uw huid, ogen of kleding vermijden. Draag oogbescherming en rubberen handschoenen.
Vul de accu alleen bij op plaatsen waar schoon water aanwezig is om indien nodig uw huid af te spoelen.
Als accukabels verkeerd worden verbonden, kan dit schade aan de tractor en de kabels tot gevolg hebben en vonken veroorzaken. Hierdoor kunnen accugassen tot ontploffing komen, waardoor lichamelijk letsel kan ontstaan.
Maak altijd de minkabel (zwart) van de accu los voordat u de pluskabel (rood) losmaakt.
Sluit altijd de pluskabel (rood) van de accu aan voordat u de minkabel (zwart) aansluit.
Maak de machine klaar voor onderhoud; zie Vóór onderhoudswerkzaamheden.
Verwijder het accudeksel; zie Accudeksel verwijderen.
Verwijder de vuldoppen van de accu.
Houd het accuzuur in de accucellen op peil met gedistilleerd of gedemineraliseerd water.
Note: Vul de cellen niet hoger dan de onderkant van de sleufring in elke cel.
Plaats de vuldoppen terug zodat de ventielen naar achteren wijzen (in de richting van de brandstoftank).
Reinig de bovenkant van de accu door deze af en toe te reinigen met een borstel die in een oplossing van ammoniak of natriumbicarbonaat is gedompeld. Spoel de bovenkant na het reinigen af met water.
Important: Verwijder nooit de vuldoppen bij het reinigen.
Controleer de klemmen van de accukabels en de accupolen op corrosie. Bij corrosie moet u de volgende handelingen uitvoeren:
Maak de minkabel (-) van de accu los.
Maak de pluskabel (+) van de accu los.
Maak de kabelklemmen en polen afzonderlijk schoon.
Sluit de pluskabel (+) van de accu aan.
Maak de minkabel (-) van de accu vast.
Spuit een dun laagje beschermspray op de klemmen en de polen.
Controleer of de klemmen van de accukabel vastzitten op de accupolen.
Plaats het accudeksel.
Note: Stal de machine liever in een koele dan een warme omgeving om te vermijden dat de accu sneller ontlaadt.
Maak de machine klaar voor onderhoud; zie Vóór onderhoudswerkzaamheden.
Til de kap op van de bedieningsarm (Figuur 73).

Zoek de gesprongen zekering in de zekeringhouder (Figuur 73).
Vervang de zekering door een zekering van dezelfde soort en met dezelfde stroomsterkte.
Monteer de kap op de bedieningsarm (Figuur 73).
| Onderhoudsinterval | Onderhoudsprocedure |
|---|---|
| Bij elk gebruik of dagelijks |
|
Een te lage bandenspanning vermindert de stabiliteit van de machine op hellingen. Hierdoor kan de machine omkantelen, waardoor lichamelijk of dodelijk letsel kan ontstaan.
Pomp de banden niet te zacht op.
Note: Zorg ervoor dat alle banden steeds de aanbevolen bandenspanning hebben, hierdoor kan de machine optimale maaiprestaties leveren en goed functioneren.
Meet de bandenspanning van elke band. De luchtdruk in de banden moet tussen 0,97 en 1,10 bar zijn.
Indien nodig de banden oppompen of aflaten tot u 0,97 tot 1,10 bar meet.
| Onderhoudsinterval | Onderhoudsprocedure |
|---|---|
| Na het eerste bedrijfsuur |
|
| Na de eerste 10 bedrijfsuren |
|
| Om de 200 bedrijfsuren |
|
Draai de wielmoeren vast in een kruispatroon met een torsie van 61 tot 88 N·m.
Als de wielmoeren niet steeds de juiste torsie hebben, kan dit leiden tot lichamelijk letsel.
Zorg ervoor dat de wielmoeren zijn aangedraaid met een torsie van 61 tot 88 N·m.
| Onderhoudsinterval | Onderhoudsprocedure |
|---|---|
| Na het eerste bedrijfsuur |
|
| Na de eerste 10 bedrijfsuren |
|
| Om de 200 bedrijfsuren |
|
Draai de moeren van de naaf van de as aan met een torsie van 339 tot 373 N·m.
Als de machine beweegt wanneer het tractiepedaal in de NEUTRAALSTAND staat, moet de afstelnok van de tractie worden afgesteld.
Parkeer de machine op een horizontaal oppervlak, laat de maai-eenheden zakken, stel de parkeerrem in werking, zet de motor af en verwijder het sleuteltje uit de contactschakelaar.
Krik een voorwiel en een achterwiel van de grond en plaats steunblokken onder het frame.
Als de machine niet goed is ondersteund, kan deze per ongeluk naar beneden vallen, waardoor iemand die zich eronder bevindt, letsel kan oplopen.
Hef een voorwiel en een achterwiel op van de grond, omdat anders de machine tijdens de afstelling zal bewegen.
Draai de borgmoer op de afstelnok van de tractie los (Figuur 74).

De motor moet lopen opdat u een laatste afstelling van de afstelnok van de tractie kunt uitvoeren. Contact met hete of bewegende onderdelen kan lichamelijk letsel veroorzaken.
Houd uw handen, voeten, gezicht en andere lichaamsdelen uit de buurt van de geluidsdemper, andere hete motoronderdelen en draaiende delen.
Start de motor en draai de zeskantige moer van de nok in beide richtingen om de middelste positie van het bereik van de neutraalstand te bepalen.
Draai de borgmoer vast om de afstelling te borgen.
Zet de motor af.
Haal de steunblokken weg en laat de machine neer op de grond. Maak een proefrit met de machine om er zeker van te zijn dat deze niet beweegt als het tractiepedaal in de neutraalstand staat.
Motorkoelvloeistof inslikken kan vergiftiging veroorzaken; buiten het bereik van kinderen en huisdieren houden.
Als u hete, onder druk staande koelvloeistof over u heen krijgt of in aanraking komt met een hete radiateur of omliggende delen, kunt u ernstige brandwonden oplopen.
Laat de motor altijd minstens 15 minuten afkoelen voordat u de radiateurdop losdraait.
Gebruik een doek als u de radiateurdop verwijdert en draai de dop langzaam open om de stoom te laten ontsnappen.
Het koelvloeistofreservoir is in de fabriek gevuld met een 50/50 verhouding van water en ethyleenglycol extended life koelvloeistof.
Important: Gebruik uitsluitend in de handel verkrijgbare koelvloeistoffen die voldoen aan de specificaties die worden genoemd in de tabel met de normen voor extended life koelvloeistof.Gebruik geen conventionele (groene) IAT-koelvloeistof (inorganic-acid technology of anorganisch-zuurinhibitortechnologie) in uw machine. Meng geen conventionele koelvloeistof met extended life koelvloeistof.
|
Ethyleenglycol vloeistoftype |
Type corrosieremmer |
|
Extended life antivries |
Organisch-zuurinhibitortechnologie (OAT, Organic-acid technology) |
|
Important: Vertrouw niet op de kleur van de koelvloeistof om het verschil te bepalen tussen conventionele (groene) IAT-koelvloeistof (inorganic-acid technology of anorganisch-zuurinhibitortechnologie) en extended life koelvloeistof.Fabrikanten van koelvloeistof kunnen extended life koelvloeistof kleuren in een van de volgende kleuren: rood, roze, oranje, geel, blauw, groenblauw, violet en groen. Gebruik koelvloeistof die voldoet aan de specificaties in de tabel met de normen voor extended life koelvloeistof. |
|
|
ATSM International |
SAE International |
|
D3306 en D4985 |
J1034, J814 en 1941 |
Important: De koelvloeistofconcentratie dient een mengsel te zijn dat half uit water, half uit koelvloeistof bestaat.
Bij voorkeur: Wanneer u koelvloeistof van een concentraat mengt, meng het dan met gedestilleerd water.
Voorkeursoptie: Indien er geen gedestilleerd water beschikbaar is, moet u een vooraf gemengde koelvloeistof gebruiken in plaats van een concentraat.
Minimumvereiste: Indien er geen gedestilleerd water of vooraf gemengde koelvloeistof beschikbaar zijn, moet u geconcentreerde koelvloeistof mengen met schoon, drinkbaar water.
| Onderhoudsinterval | Onderhoudsprocedure |
|---|---|
| Bij elk gebruik of dagelijks |
|
Inhoud koelsysteem: ongeveer 5,7 liter
Als de motor heeft gelopen, kan de hete koelvloeistof, die onder druk staat, ontsnappen indien de radiateurdop wordt verwijderd. Dit kan brandwonden veroorzaken.
Verwijder de radiateurdop nooit als de motor loopt.
Gebruik een doek als u de radiateurdop verwijdert en draai de dop langzaam open om de stoom te laten ontsnappen.
Maak de machine klaar voor onderhoud; zie Vóór onderhoudswerkzaamheden.
Ontgrendel en open de motorkap.
Controleer het koelvloeistofpeil in de expansietank (Figuur 75).

Note: Als de motor koud is, behoort het koelvloeistofpeil ongeveer halverwege tussen de markeringen op de zijkant van de tank te staan.
Als het koelvloeistofpeil laag is, verwijdert u de dop van de expansietank, vult u de tank bij met de aanbevolen koelvloeistof tot het koelvloeistofpeil zich halverwege tussen de markeringen op de zijkant van de tank bevindt, en plaatst u de dop op de tank.
Important: Vul de expansietank niet te vol.
Sluit en vergrendel de motorkap.
| Onderhoudsinterval | Onderhoudsprocedure |
|---|---|
| Bij elk gebruik of dagelijks |
|
| Om de 2 jaar |
|
Verwijder dagelijks het vuil van de oliekoeler en de radiateur. Reinig ze vaker als in vuile omstandigheden wordt gemaaid.
Maak de machine klaar voor onderhoud; zie Vóór onderhoudswerkzaamheden.
Til de motorkap op.
Verwijder grondig al het vuil dat zich rond het motorgedeelte bevindt.
Verwijder het onderste radiateurscherm (Figuur 76).

Reinig beide zijden van de omgeving van de radiateur grondig met water of perslucht (Figuur 76).
Monteer het onderste radiateurscherm.
Sluit en vergrendel de motorkap.
| Onderhoudsinterval | Onderhoudsprocedure |
|---|---|
| Om de 200 bedrijfsuren |
|
Maak de machine klaar voor onderhoud; zie Vóór onderhoudswerkzaamheden.
Draai de stelschroef los waarmee de knop is bevestigd aan de parkeerremhendel (Figuur 77).

Draai aan de knop totdat een kracht van 133 tot 178 N nodig is om de hendel te bedienen.
Draai de stelschroef vast.
| Onderhoudsinterval | Onderhoudsprocedure |
|---|---|
| Na de eerste 10 bedrijfsuren |
|
| Om de 100 bedrijfsuren |
|
Maak de machine klaar voor onderhoud; zie Vóór onderhoudswerkzaamheden.
Ontgrendel en open de motorkap.
Controleer de riemspanning door de riem in het midden tussen de poelies van de wisselstroomdynamo en de krukas in te drukken.
Note: Met een kracht van 98 N zou de riem 11 mm moeten bewegen.

Als de speling niet correct is, voltooi dan de volgende procedure om de riem te spannen:
Draai de bout los waarmee de beugel is bevestigd aan de motor en draai de bout los waarmee de wisselstroomdynamo is bevestigd aan de beugel.
Plaats een breekijzer tussen de wisselstroomdynamo en de motor en wrik de wisselstroomdynamo naar buiten toe.
Als de juiste riemspanning is verkregen, draait u de bouten van de wisselstroomdynamo en de beugel vast om de afstelling te borgen.
Sluit en vergrendel de motorkap.
Steek een dopschroevendraaier of een stukje buis in het uiteinde van de spanveer van de riem.
Wanneer u de aandrijfriem van de hydrostaat vervangt, moet u spanning van de veer halen, die onder zware belasting staat. Als u de spanning op een onjuiste manier van de veer haalt, kan dit leiden tot ernstig letsel.
Wees voorzichtig wanneer u de spanning van de veer haalt.
Duw het einde van de riemspanveer naar benden en uit de inkeping in de lip van de pompbevestiging en beweeg het veeruiteinde naar voren (Figuur 79).

Plaats de riem terug.
Duw het uiteinde van de riemspanveer naar beneden en naar binnen en lijn het uit in de inkeping van de lip van de pompbevestiging.
Maak de machine klaar voor onderhoud; zie Vóór onderhoudswerkzaamheden.
Draai de contramoer voor de borgschroef voor de snelheid los.
Stel de borgschroef voor de snelheid als volgt af:
Note: De maaisnelheid is in de fabriek afgesteld op 9,7 km per uur.
Om de maaisnelheid te verlagen, draait u de borgschroef voor de snelheid (Figuur 80) naar rechts.
Om de maaisnelheid te verhogen, draait u de borgschroef voor de snelheid naar links.

Houd de borgschroef tegen en draai de contramoer vast.
Maak een testrit met de machine om de afstelling van de maximale maaisnelheid te bevestigen.
Maak de machine klaar voor onderhoud; zie Vóór onderhoudswerkzaamheden.
Ontgrendel en open de motorkap.
Zet de gashendel naar achteren zodat deze tegen de sleuf in het bedieningspaneel aan komt.
Maak de klem van de gaskabel op de hefboomarm van de injectiepomp los (Figuur 81).

Houd de hefboomarm van de injectiepomp tegen de regelschroef voor het stationair toerental en zet de kabelklem vast.
Draai de schroeven los waarmee de gashendel is bevestigd aan het bedieningspaneel.
Duw de gashendel helemaal naar voren.
Schuif de aanslagplaat tegen de gashendel aan en draai de schroeven vast waarmee de gashendel is bevestigd aan het bedieningspaneel
Als de gashendel tijdens het gebruik niet in positie blijft, moet u de borgmoer waarmee de frictieregelaar op de gashendel wordt vastgezet, aandraaien met een torsie van 5 tot 6 N·m.
Note: De kracht die nodig is om de gashendel te bedienen, mag maximaal 89 N zijn.
Sluit en vergrendel de motorkap.
Waarschuw onmiddellijk een arts als er hydraulische vloeistof is geïnjecteerd in de huid. Geïnjecteerde vloeistof moet binnen enkele uren operatief worden verwijderd door een arts.
Controleer of alle hydraulische slangen en leidingen in goede staat verkeren en alle hydraulische aansluitingen en fittings stevig vastzitten voordat u druk zet op het hydraulische systeem.
Houd lichaam en handen uit de buurt van kleine lekgaten of spuitmonden waaruit onder hoge druk hydraulische vloeistof ontsnapt.
U kunt lekken in het hydraulische systeem opsporen met behulp van karton of papier.
Hef alle druk in het hydraulische systeem op veilige wijze op, voordat u werkzaamheden gaat verrichten aan het hydraulische systeem.
| Onderhoudsinterval | Onderhoudsprocedure |
|---|---|
| Bij elk gebruik of dagelijks |
|
De hydraulische leidingen en slangen controleren op lekkages, kinken, loszittende steunen, slijtage, loszittende aansluitingen, slijtage door weersinvloeden en de inwerking van chemicaliën. Voer alle noodzakelijke reparaties uit voordat u de machine weer in gebruik neemt.
Het reservoir is in de fabriek gevuld met hoogwaardige hydraulische vloeistof. Controleer het peil van de hydraulische vloeistof voordat u de motor voor het eerst start, en vervolgens dagelijks; zie Hydraulische vloeistof controleren.
Aanbevolen hydraulische vloeistof: Exmark PX Extended Life hydraulische vloeistof; verkrijgbaar in emmers van 19 liter of vaten van 208 liter.
Note: Een machine die de aanbevolen vloeistof om bij te vullen gebruikt moet minder vaak bijgevuld worden en het filter moet minder vaak worden vervangen.
Andere hydraulische vloeistoffen: Als de Exmark PX Extended Life hydraulische vloeistof niet verkrijgbaar is, kunt u een andere conventionele, petroleumgebaseerde hydraulische vloeistof gebruiken die aan de volgende materiaaleigenschappen en de industrienormen voldoet. Gebruik geen synthetische vloeistof. Vraag uw smeermiddelenleverancier naar een geschikt product.
Note: Exmark aanvaardt geen enkele aansprakelijkheid voor schade die wordt veroorzaakt door gebruik van verkeerde vervangende vloeistoffen. Gebruik daarom uitsluitend producten van gerenommeerde fabrikanten die garant staan voor de door hen aanbevolen vloeistoffen.
| Materiaaleigenschappen: | ||
| Viscositeit, ASTM D445 | cSt bij 40°C 44 tot 48 | |
| Viscositeitsindex ASTM D2270 | 140 of hoger | |
| Stolpunt, ASTM D97 | -37°C tot -45°C | |
| Industriespecificaties: | Eaton Vickers 694 (I-286-S, M-2950-S/35VQ25 of M-2952-S) | |
Note: Veel hydraulische vloeistoffen zijn bijna kleurloos, zodat het moeilijk is lekkages op te sporen. Er is een rode kleurstof leverbaar voor de hydraulische vloeistof, in flesjes van 20 ml. Een flesje is voldoende voor 15 tot 22 liter hydraulische vloeistof. U kunt deze kleurstof bestellen bij een erkende Exmark dealer, onderdeelnr. 44-2500.
Important: Exmark Premium synthetische, biologisch afbreekbare hydraulische vloeistof is de enige biologisch afbreekbare vloeistof die door Toro is goedgekeurd. Deze vloeistof is compatibel met de elastomeren die worden gebruikt in hydraulische systemen van Toro, en is geschikt voor een groot aantal temperatuursomstandigheden. Deze vloeistof is compatibel met gangbare minerale olie, maar met het oog op maximale biologische afbreekbaarheid en goede prestaties moet het hydraulische systeem grondig met gewone vloeistof worden gespoeld. De olie is verkrijgbaar in emmers van 19 liter of vaten van 208 liter bij een erkende Exmark distributeur.
| Onderhoudsinterval | Onderhoudsprocedure |
|---|---|
| Bij elk gebruik of dagelijks |
|
Het reservoir is in de fabriek gevuld met hoogwaardige hydraulische vloeistof. U controleert de hydraulische olie het beste als de olie koud is. De machine dient in de transportstand te staan.
Maak de machine klaar voor onderhoud; zie Vóór onderhoudswerkzaamheden.
Reinig de omgeving van de vulbuis en de dop van de hydraulische tank (Figuur 82) en verwijder de dop.

Verwijder de peilstok uit de vulbuis en veeg deze af met een schone doek.
Steek de peilstok in de vulbuis, haal hem er vervolgens weer uit en controleer het vloeistofpeil.
Note: Het vloeistofpeil dient binnen 6 mm van de markering op de peilstok te staan.
Als het peil te laag is, vult u bij met de aanbevolen vloeistof tot het vloeistofpeil bij de bovenste markering staat; zie Specificaties hydraulische vloeistof.
Important: Vul het hydraulische reservoir niet te vol.
Plaats de peilstok en de dop op de vulbuis.
13,2 liter; zie Specificaties hydraulische vloeistof
| Onderhoudsinterval | Onderhoudsprocedure |
|---|---|
| Om de 800 bedrijfsuren |
|
| Om de 2000 bedrijfsuren |
|
Warme hydraulische vloeistof kan ernstige brandwonden veroorzaken.
Laat de hydraulische vloeistof afkoelen voordat u onderhoudswerkzaamheden uitvoert aan het hydraulische systeem.
Als de vloeistof verontreinigd raakt, moet u contact opnemen met uw erkende Toro verdeler omdat het systeem dient te worden schoongespoeld. Verontreinigde hydraulische vloeistof ziet er in vergelijking met schone vloeistof melkachtig of zwart uit.
Maak de machine klaar voor onderhoud; zie Vóór onderhoudswerkzaamheden.
Maak de hydraulische slang (Figuur 83) los of verwijder het hydraulische filter (Figuur 84) en laat de hydraulische vloeistof in een opvangbak lopen.


Breng de hydraulische slang terug aan als er geen hydraulische vloeistof meer naar buiten komt.
Vul het reservoir (Figuur 85) met ongeveer 22,7 liter hydraulische vloeistof; zie Specificaties hydraulische vloeistof.
Important: Gebruik uitsluitend de gespecificeerde hydraulische vloeistoffen. Andere vloeistoffen kunnen schade aan het systeem veroorzaken.

Plaats de peilstok en de dop op de vulbuis.
Start de motor en gebruik alle hydraulische bedieningsorganen om de hydraulische vloeistof door het hele systeem te verspreiden.
Controleer op lekkages; zet daarna de motor af.
Controleer het vloeistofpeil en vul voldoende vloeistof bij totdat het peil de Vol-markering op de peilstok bereikt.
Important: Laat het reservoir niet te vol worden.
| Onderhoudsinterval | Onderhoudsprocedure |
|---|---|
| Om de 800 bedrijfsuren |
|
| Om de 1000 bedrijfsuren |
|
Warme hydraulische vloeistof kan ernstige brandwonden veroorzaken.
Laat de hydraulische vloeistof afkoelen voordat u onderhoudswerkzaamheden uitvoert aan het hydraulische systeem.
Als u het filter vervangt, moet u een origineel Toro filter (onderdeelnr. 86-3010) monteren.
Important: Als een ander filter wordt gebruikt, kan de garantie van bepaalde onderdelen komen te vervallen.
Maak de machine klaar voor onderhoud; zie Vóór onderhoudswerkzaamheden.
Reinig de omgeving van de plaats waar het filter wordt gemonteerd. Plaats een opvangbak onder het filter (Figuur 86) en verwijder het filter.

Smeer de nieuwe filterpakking en vul het filter met hydraulische vloeistof.
Zorg ervoor dat de plaats waar het filter wordt bevestigd, schoon is. Schroef het filter erop totdat de pakking contact maakt met de bevestigingsplaat: draai het filter vervolgens nog eens een ½ slag.
Start de motor en laat deze ongeveer 2 minuten lopen om lucht uit het systeem te verwijderen. Zet de motor af en controleer op lekkages.
Versleten of beschadigde messen of ondermessen kunnen breken en een stuk ervan kan naar u of naar omstanders worden uitgeworpen en zo ernstig lichamelijk of dodelijk letsel toebrengen.
Controleer op gezette tijden de maaimessen en ondermessen op overmatige slijtage en beschadigingen.
Wees voorzichtig als u de messen controleert. Draag handschoenen en wees voorzichtig als u onderhoudswerkzaamheden uitvoert aan de messenkooien. De maaimessen en ondermessen mogen alleen worden vervangen of gewet; probeer ze nooit te rechten of eraan te lassen.
Let op bij machines met meerdere maai-eenheden: als u één maai-eenheid draait, kunnen de messenkooien in de andere maai-eenheden ook in beweging komen.
| Onderhoudsinterval | Onderhoudsprocedure |
|---|---|
| Bij elk gebruik of dagelijks |
|
Controleer de afstelling van het contact tussen het ondermes en de messenkooi, ook als deze eerder acceptabel was. Er moet over de volle lengte een licht contact tussen de messenkooi en het ondermes zijn (zie Contact tussen snijplaat en messenkooi afstellen in de Gebruikershandleiding van de maai-eenheid).
Contact met de maai-eenheden of andere bewegende onderdelen kan lichamelijk letsel veroorzaken.
Houd uw vingers, handen en kleding uit de buurt van de maai-eenheden en andere bewegende onderdelen.
Probeer de maai-eenheden nooit met uw handen of voeten te draaien terwijl de motor draait.
Note: Aanvullende instructies en procedures met betrekking tot wetten kunt u vinden in de basishandleiding voor Toro maaiers met messenkooien (met richtlijnen voor het slijpen), documentnr. 09168SL.
Maak de machine klaar voor onderhoud; zie Vóór onderhoudswerkzaamheden.
Voer voor het wetten de eerste afstellingen uit van het contact tussen messenkooi en ondermes; raadpleeg de Gebruikershandleiding van de maai-eenheid.
Til de magnetisch gemonteerde kap van het bedieningspaneel (Figuur 87) op om bij het maaierverdeelstuk te kunnen komen.

Zet de wethendel in de achteruitstand (R) (Figuur 88).

Wanneer u het toerental van de motor tijdens het wetten verandert, kunnen de maai-eenheden tot stilstand komen.
Verander nooit het motortoerental tijdens het wetten
Wet uitsluitend als de motor stationair loopt.
Note: De stoelschakelaar wordt omgeleid als de wetknop in de wetstand staat. U hoeft niet op de stoel te zitten, maar de parkeerrem moet wel in werking zijn gesteld om de motor te laten starten.
Start de motor en laat deze op een laag stationair toerental lopen.
Druk de schakelaar van de maaiaandrijving in de INGESCHAKELDE stand.
Breng de wetpasta aan op de messenkooi met een borstel met lange steel.
Bewegende maai-eenheden aanraken kan lichamelijke letsels veroorzaken.
Om lichamelijk letsel te voorkomen, dient u buiten het bereik van de maai-eenheden te zijn voordat u verdere werkzaamheden uitvoert.
Important: Gebruik nooit een borstel met een korte steel.
Als u een aanpassing moet uitvoeren aan de maai-eenheden terwijl u aan het wetten bent, moet u als volgt te werk gaan:
Druk de schakelaar van de maaiaandrijving in de stand UITSCHAKELEN.
Zet de motor af en verwijder het sleuteltje.
Stel de maai-eenheden af.
Herhaal stap 1 tot en met 3.
Herhaal stappen 3 voor de andere maai-eenheden die u wilt wetten.
Druk de schakelaar van de maaiaandrijving in de stand UITSCHAKELEN.
Zet de motor af.
Zet de wethendel in de stand F (maaien) (Figuur 89).
Important: Als u de wethendel na het wetten niet in de stand F (maaien) zet, zullen de maai-eenheden niet naar behoren werken.

Monteer de kap van het bedieningspaneel op het bedieningspaneel.
Spoel alle wetpasta van de maai-eenheden.
Voor een betere snijrand moet u de voorkant van het ondermes bijvijlen als u klaar bent met wetten.
Note: Hiermee verwijdert u bramen of ruwe randen die kunnen zijn ontstaan op de snijrand.
Reinig de machine indien nodig met alleen water of een mild reinigingsmiddel. U kunt een vod gebruiken wanneer u de machine wast.
Important: Gebruik geen brak of teruggewonnen water om de machine schoon te maken.
Important: Gebruik nooit een hogedrukreiniger om de machine schoon te maken. Hogedrukreinigers kunnen het elektrische systeem beschadigen, belangrijke stickers losweken en noodzakelijk vet op wrijvingspunten wegspoelen. Gebruik niet te veel water in de buurt van het bedieningspaneel, de motor en de accu.
Important: Reinig de machine niet terwijl de motor loopt. Doet u dit wel, dan kan dit leiden tot interne motorschade.
Doe het volgende voordat u de bestuurdersstoel verlaat:
Parkeer de machine op een horizontaal oppervlak.
Schakel de maai-eenheden uit en laat deze zakken.
Haal de parkeerrem aan.
Zet de motor af en verwijder het sleuteltje.
Wacht totdat alle bewegende onderdelen tot stilstand zijn gekomen.
Laat de machine afkoelen voordat u deze afstelt, reinigt, stalt of er onderhoudswerkzaamheden aan verricht.
Bewaar de machine en het brandstofvat niet op plaatsen waar open vlammen, vonken of waakvlammen (bv. van een boiler of een ander toestel) aanwezig kunnen zijn.
Plaats de machine op een horizontaal oppervlak, laat de maai-eenheden zakken, stel de parkeerrem in werking, zet de motor af en verwijder het sleuteltje.
Reinig de tractie-eenheid, de maai-eenheden en de motor grondig.
Controleer de bandenspanning; zie De bandenspanning controleren.
Controleer of alle bevestigingsmiddelen vastzitten; zet ze vast indien nodig.
Smeer alle smeer- en draaipunten met vet of olie. Neem overtollig vet op.
Plaatsen waar de lak is bekrast, beschadigd of geroest, moeten licht geschuurd en bijgewerkt worden. Eventuele deuken in de metalen carrosserie uitdeuken.
Verricht de volgende onderhoudswerkzaamheden aan de accu en de kabels; zie Veiligheid van het elektrisch systeem:
Haal de accuklemmen los van de accupolen.
Reinig de accu, de klemmen en de polen met behulp van een staalborstel en een oplossing van zuiveringszout (natriumbicarbonaat).
Smeer een dun laagje Grafo 112X-vet (Toro- onderdeelnr. 505-47) of vaseline (petrolatum) op de kabelklemmen en de accupolen om corrosie te voorkomen.
Laad de accu om de 60 dagen 24 uur lang op om loodsulfatie van de accu te voorkomen.
Tap de motorolie af uit het carter en plaats de aftapplug.
Verwijder het oliefilter en gooi het weg. Plaats een nieuw oliefilter.
Vul de motor met de opgegeven motorolie.
Start de motor en laat deze ongeveer twee minuten stationair lopen.
Zet de motor af en verwijder het sleuteltje.
Spoel de brandstoftank met verse, schone brandstof.
Zet alle fittings van het brandstofsysteem vast.
Zorg ervoor dat het luchtfilter grondig wordt gereinigd en een onderhoudsbeurt krijgt.
Plak de luchtfilterinlaat en de uitlaat af met weerbestendige tape.
Controleer de antivriesbescherming en vul het systeem bij met een oplossing die half uit water, half uit ethyleenglycol bestaat. Vul zoveel bij als nodig is met het oog op de plaatselijk te verwachten minimumtemperatuur.
Als u de machine langer dan 30 dagen stalt, moet u de accu verwijderen en volledig opladen. U moet de accu apart opslaan of in het voertuig laten zitten. De accukabels mogen niet aangesloten zijn op de accu als u deze in de machine opslaat. Sla de accu op in een koele omgeving om te voorkomen dat de accu snel ontlaadt. Om te voorkomen dat de accu bevriest, moet deze volledig zijn opgeladen. Het soortelijk gewicht van een volledig opgeladen batterij is 1,265-1,299.
De Standard Control Module is een ingekapseld elektronisch apparaat dat is vervaardigd in een 'one size fits all'-configuratie. De module gebruikt halfgeleider- en mechanische elementen ten behoeve van de controle en regeling van de standaard elektrische functies die nodig zijn voor een veilig gebruik van het product.
De module controleert inputs zoals neutraalstand, parkeerrem, aftakas, starten, wetten en hoge temperatuur. De module activeert outputs zoals de solenoïde voor de aftakas, de startmotor en de ETR (activering om te lopen).
De module is verdeeld in inputs en outputs. Inputs en outputs worden aangegeven door groene led-controlelampjes die zijn aangebracht op de printplaat.
De input voor het startcircuit wordt geactiveerd door 12 VDC. Alle andere inputs worden geactiveerd als het circuit wordt gesloten om massa te maken. Elke input heeft een led die gaat branden als het desbetreffende circuit wordt geactiveerd. Gebruik de input-leds om problemen met het circuit van de schakelaar en de input te verhelpen.
De output-circuits worden geactiveerd door correcte input-condities. De 3 outputs omvatten Aftakas, ETR en STARTEN. De output-leds controleren de conditie van de relais en geven aan dat er elektrische spanning op een van de drie contactpunten voor de output is.
De output-circuits stellen niet vast of het output-apparaat correct functioneert, zodat in geval van problemen met de elektrische functies ook de leds en de werking van de gewone apparatuur en de kabelboom moeten worden gecontroleerd. Meet de impedantie van het losgekoppelde onderdeel, de impedantie door de kabelboom (loskoppelen bij de SCM), of voer een test uit waarbij het desbetreffende onderdeel tijdelijk wordt geactiveerd.
De SCM is niet aangesloten op een externe computer of een draagbaar apparaat, kan niet opnieuw worden geprogrammeerd en registreert geen periodieke gegevens over storingen en problemen.
Des sticker op de SCM bevat uitsluitend symbolen. Het output-vak bevat symbolen voor de leds van de drie outputs. Alle andere leds zijn inputs. Op de onderstaande tabel staan de symbolen.

Hier vindt u in logische volgorde de stappen die u moeten nemen op de SCM om problemen te verhelpen.
Stel vast welke output-storing u wilt verhelpen (aftakas, Starten of ETR).
Draai het contactsleuteltje naar de stand AAN en kijk of het rode ledlampje voor het vermogen brandt.
Beweeg alle input-schakelaars om er zeker van te zijn dat alle leds van status veranderen.
Zet de input-apparaten in de juiste stand om de correcte output te verkrijgen. Gebruik de volgende tabel om de correcte input-conditie te bepalen.
Als een specifieke output-led brandt zonder de juiste output-functie, moet u de bedrading van de output, de aansluitingen en het onderdeel controleren. Indien nodig repareren.
Als een specifieke output-led niet brandt, moet u beide zekeringen controleren.
Als een specifieke output-led niet brandt en de inputs zijn in goede conditie, moet u een nieuwe SCM plaatsen en kijken of de storing verdwijnt.
Elke (horizontale) rij in de volgende tabel geeft de input- en output-vereisten voor elke specifieke functie van het product aan. De functies van het product worden vermeld in de linkerkolom. De symbolen geven de conditie van een specifiek circuit aan zoals: geactiveerd voor spanning, gesloten om massa te maken en geopend om massa te maken.
| INPUTS | OUTPUTS | ||||||||||
|---|---|---|---|---|---|---|---|---|---|---|---|
| Functie | Voeding AAN | In neutraalstand | Start AAN | Rem AAN | Aftakas AAN | In stoel | Hoge temp. | Wetten | Start | ETR | Aftakas |
| Start | — | — | + | O | O | — | O | O | + | + | O |
| Lopen (machine Uit) | — | — | O | O | O | O | O | O | O | + | O |
| Lopen (machine Aan) | — | O | O | — | O | — | O | O | O | + | O |
| Maaien | — | O | O | — | — | — | O | O | O | + | + |
| Wetten | — | — | O | O | — | O | O | — | O | + | + |
| Hoge temp. | — | O | — | O | O | O | |||||
(–) Geeft aan dat een circuit is gesloten om massa te maken – led AAN.
(O) Geeft aan dat een circuit is geopend om massa te maken of is gedeactiveerd – led UIT.
(+) Geeft aan dat een circuit is geactiveerd (koppelingspoel, solenoïde of input voor starten) – led AAN.
Een leeg vakje geeft aan dat de tabel niet van toepassing is op een circuit.
Om problemen te verhelpen, moet u het sleuteltje omdraaien zonder de motor te starten. Bepaal welke specifieke functie een storing vertoont, en ga volgens de tabel te werk. Controleer de conditie van elke input-led om er zeker van te zijn dat deze in overeenstemming is met de tabel.
Als de input-leds correct zijn, moet u de output-led controleren. Als de output-led brandt maar het apparaat is niet geactiveerd, moet u de beschikbare spanning bij het output-apparaat, de continuïteit van het losgekoppelde apparaat en de potentiële spanning op het massacircuit (zwevende massa) meten. De reparatie is afhankelijk van uw bevindingen.