| Периодичность технического обслуживания | Порядок технического обслуживания |
|---|---|
| Перед каждым использованием или ежедневно |
|
Ездовая газонокосилка с режущим аппаратом вращательно-цилиндрического типа предназначена для коммерческого использования профессиональными наемными операторами. Она предназначена главным образом для скашивания травы на благоустроенных газонах. Использование этого изделия не по прямому назначению может быть опасным для пользователя и находящихся рядом людей.
Внимательно прочтите данное Руководство, чтобы знать, как правильно использовать и обслуживать машину, не допуская ее повреждения и травмирования персонала. Вы несете ответственность за правильное и безопасное использование машины.
Посетите www.Toro.com для получения дополнительной информации, в том числе рекомендаций по технике безопасности, обучающих материалов, информации о вспомогательных приспособлениях, для помощи в поисках дилера или для регистрации изделия.
Для выполнения технического обслуживания, приобретения оригинальных запчастей Exmark или получения дополнительной информации обращайтесь в сервисный центр официального дилера или в отдел технического обслуживания компании Exmark. Не забудьте при этом указать модель и серийный номер изделия. На Рисунок 1 показано расположение номера модели и серийного номера. Запишите номера в предусмотренном для этого месте.
Important: С помощью мобильного устройства вы можете отсканировать QR-код на табличке с серийным номером (при наличии), чтобы получить информацию по гарантии и запчастям, а также другие сведения об изделии.

Данное изделие удовлетворяет всем соответствующим европейским директивам; подробные сведения содержатся в документе «Декларация о соответствии» на каждое отдельное изделие.
Раздел 4442 или 4443 Калифорнийского свода законов по общественным ресурсам запрещает использовать или эксплуатировать на землях, покрытых лесом, кустарником или травой, двигатель без исправного искрогасительного устройства, описанного в разделе 4442 и поддерживаемого в надлежащем рабочем состоянии; или двигатель должен быть изготовлен, оборудован и проходить обслуживание с учетом противопожарной безопасности.
Прилагаемое Руководство владельца двигателя содержит информацию о требованиях Агентства по охране окружающей среды США (EPA) и (или) Директивы по контролю вредных выбросов штата Калифорния, касающихся систем выхлопа, технического обслуживания и гарантии. Запасные части можно заказать у изготовителя двигателя.
КАЛИФОРНИЯ
Положение 65, Предупреждение
Согласно законам штата Калифорния считается, что выхлопные газы дизельного двигателя и некоторые их составляющие вызывают рак, врождённые пороки, и представляют опасность для репродуктивной функции.
Полюсные выводы аккумуляторной батареи, клеммы, и сопутствующие принадлежности содержат свинец и соединения свинца - химические вещества, которые в штате Калифорния расцениваются как вызывающие рак и нарушающие репродуктивную функцию. После работы с этими элементами необходимо мыть руки.
Лица, использующие данное вещество, должны иметь в виду, что, согласно информации, имеющейся в распоряжении компетентных органов штата Калифорния, оно содержит химическое соединение (соединения), отнесенные к категории канцерогенных, способных вызвать врождённые пороки и оказывающих вредное воздействие на репродуктивную систему человека.
Данное изделие может привести к травматической ампутации конечностей, а также к травмированию отброшенными предметами.
Перед запуском двигателя прочтите и усвойте содержание настоящего Руководства оператора.
При работе на данной машине следует быть предельно внимательным. Во избежание травмирования людей или повреждения имущества запрещается отвлекаться во время работы.
Запрещается помещать руки и ноги рядом с движущимися компонентами машины.
Запрещается эксплуатировать машину без установленных на ней исправных ограждений и других защитных устройств.
Запрещается допускать посторонних лиц и детей в рабочую зону. Запрещается допускать детей к эксплуатации машины.
Прежде чем покинуть рабочее место оператора, следует выключить двигатель, извлечь ключ и дождаться остановки всех движущихся частей машины. Дайте машине остыть перед регулировкой, техническим обслуживанием, очисткой или помещением на хранение.
Символ предупреждения об опасности (Рисунок 2), содержащийся в этом руководстве и на машине, обозначает важные сообщения о безопасности, которые следует выполнять для предотвращения несчастных случаев.

Символ предупреждения об опасности расположен над текстом, который сообщает вам о небезопасных действиях или ситуациях, этот символ сопровождается словами: ОПАСНО!, ПРЕДУПРЕЖДЕНИЕ! или ОСТОРОЖНО!.
ОПАСНО! указывает на неотвратимую опасную ситуацию, которая, если ее не предотвратить, приведет к серьезной травме, в том числе с летальным исходом.
ПРЕДУПРЕЖДЕНИЕ! указывает на потенциально опасную ситуацию, которая, если ее не предотвратить, может привести к серьезной травме, в том числе с летальным исходом.
ОСТОРОЖНО! указывает на потенциально опасную ситуацию, которая, если ее не предотвратить, может привести к травмам легкой или средней тяжести.
Для выделения информации в данном руководстве используются два слова. Внимание — привлекает внимание к специальной информации, относящейся к механической части машины, и Примечание — выделяет общую информацию, требующую специального внимания.
![]() |
Предупреждающие наклейки и инструкции по технике безопасности должны быть хорошо видны оператору и установлены во всех местах потенциальной опасности. При отсутствии или повреждении наклейки следует установить новую наклейку. |














Note: Определите левую и правую стороны машины относительно места оператора.
Детали, требуемые для этой процедуры:
| Переднее колесо в сборе | 2 |
| Заднее колесо в сборе | 1 |
Important: Обод и шина заднего колеса более узкие, чем ободья и шины у двух передних колес.
Установите колесо в сборе на ступицу колеса так, чтобы золотник был снаружи.
Закрепите колесо на ступице зажимными гайками и затяните гайки в перекрестном порядке с моментом от 61 до 88 Н∙м.
Повторите действия, описанные в пунктах 1 и 2, с другими колесами в сборе.
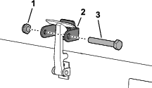
Детали, требуемые для этой процедуры:
| Рулевое колесо | 1 |
| Крышка рулевого колеса | 1 |
| Большая шайба | 1 |
| Контргайка | 1 |
| Винт | 1 |
Электролит аккумулятора содержит серную кислоту, которая является смертельно опасным веществом при проглатывании и вызывает тяжелые ожоги.
Не пейте электролит и не допускайте его попадания на кожу, в глаза или на одежду. Надевайте защитные очки и резиновые перчатки.
Заливайте электролит в аккумулятор в месте, где всегда имеется чистая вода для промывки кожи.
Отверните 2 ручки, с помощью которых крышка аккумулятора подсоединена к машине, и снимите крышку (Рисунок 4).

Измерьте напряжение аккумулятора.
Note: Если измеренное напряжение составляет 12,4 В или выше, аккумулятор заряжен.
Если измеренное значение напряжения 12,3 В или ниже, заряжайте аккумулятор током от 3 до 4 А в течение 4–8 часов.
При зарядке аккумулятора выделяются взрывоопасные газы.
Следите, чтобы вблизи аккумулятора не было искр и открытого пламени.
Никогда не курите рядом с аккумулятором.
Когда аккумулятор зарядится, отсоедините зарядное устройство от электророзетки и штырей аккумулятора.
Подсоедините положительный (красный) кабель к положительной (+) клемме аккумулятора и закрепите его Т-образным болтом с гайкой (Рисунок 5).
Note: Убедитесь, что положительная (+) клемма полностью надета на штырь, а кабель плотно прикреплен к аккумуляторной батарее.
Important: Кабель не должен касаться крышки аккумулятора.
Подсоедините отрицательный (черный) кабель к отрицательной клемме (-) аккумулятора и закрепите его Т-образным болтом с гайкой (Рисунок 5).
Неправильное подключение кабеля к аккумулятору может вызвать искрение и привести к повреждению машины и кабеля. Искры могут вызвать взрыв аккумуляторных газов, что приведет к получению травмы.
Всегда отсоединяйте отрицательный (черный) кабель аккумулятора перед отсоединением положительного (красного) кабеля.
Всегда присоединяйте положительный (красный) кабель аккумулятора перед присоединением отрицательного (черного) кабеля.

Important: Если предусмотрен демонтаж аккумулятора, убедитесь, что крепежные болты зажимов аккумулятора направлены головками вниз, а гайками вверх. Если болты зажимов перевернуты, они могут задевать гидравлические трубки при перемещении режущих блоков.
Для предотвращения коррозии нанесите на оба соединения аккумулятора консистентную смазку Grafo 112X (покровную) (№ 505-47 по каталогу Exmark) или негустую консистентную смазку.
Наденьте на положительную клемму резиновый чехол для предотвращения возможного замыкания на массу.
Установите крышку аккумулятора.
Детали, требуемые для этой процедуры:
| Защитная дуга в сборе | 1 |
| Болт с фланцем | 4 |
| Контргайка | 4 |
| Шланговый хомут | 1 |
При работе на машине с измененной конструкцией защитной дуги или с поврежденной защитной дугой она не сможет защитить вас надлежащим образом, что может привести к возможной травме, в том числе с летальным исходом, в случае опрокидывания машины.
Не устанавливайте поврежденную защитную дугу или защитную дугу с измененной конструкцией на машину.
Замените поврежденную защитную дугу; ремонт или переделка ее не допускаются.
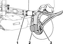
Опустите защитную дугу на монтажные кронштейны тягового блока, совместив монтажные отверстия. Убедитесь, что вентиляционная трубка на защитной дуге находится с левой стороны машины (Рисунок 6).

Прикрепите каждую сторону защитной дуги к монтажным кронштейнам с помощью 2 болтов с фланцем и 2 контргаек (Рисунок 6). Затяните крепежные элементы с моментом 81 Н∙м.
Подсоедините вентиляционный шланг топливной линии к вентиляционной трубке на защитной дуге с помощью шлангового хомута.
При запуске двигателя с отсоединенным вентиляционным шлангом топливной линии от вентиляционной трубки топливо вытечет из шланга, что может повысить опасность возгорания или взрыва. Возгорание или взрыв топлива могут вызвать ожоги у людей и повредить имущество.
Подсоедините вентиляционный шланг топливной линии к вентиляционной трубке перед запуском двигателя.
Детали, требуемые для этой процедуры:
| Комплект подъемного рычага (дополнительный – заказывайте отдельно) | 1 |
Вставьте ось поворота в каждый подъемный рычаг и совместите монтажные отверстия (Рисунок 7).

Прикрепите оси поворота к подъемным рычагам с помощью 2 болтов (5/16 x ⅞ дюйма).
Затяните болты с моментом от 37 до 45 Н∙м.
В передней части машины отверните 2 фланцевых колпачковых винта (½ x 2 дюйма), которые крепят тягу оси поворота к осям поворота подъемного рычага и снимите тягу (Рисунок 8).
Note: Сохраните тягу оси поворота и колпачковые винты.

Установите подъемные рычаги на оси поворота подъемного рычага, как показано на Рисунок 9.

Прикрепите тягу оси поворота к осям поворота подъемного рычага (Рисунок 9) с помощью 2 колпачковых винтов с фланцем (½ x 2 дюйма), снятых при выполнении пункта Подготовка к установке подъемных рычагов.
Затяните колпачковые винты с фланцем с моментом 95 Н·м.
Тип консистентной смазки: консистентная смазка № 2 на литиевой основе
Совместите конец гидроцилиндра подъема со стороны крышки с отверстиями во фланцах левого подъемного рычага (Рисунок 10).

Установите гидроцилиндр на фланцы с помощью монтажного штифта и 2 стопорных колец (Рисунок 10).
Заправьте консистентной смазкой № 2 на литиевой основе масленки на подъемном рычаге и гидроцилиндре (Рисунок 10).
Тип консистентной смазки: консистентная смазка № 2 на литиевой основе
Поместите сливной поддон под гидравлические штуцеры гидроцилиндра подъема (Рисунок 11).

На гидроцилиндре подъема ослабьте прямой поворотный штуцер шланга линии возврата и прямоугольный поворотный штуцер шланга линии подъема (Рисунок 12).

Оберните штуцеры шлангов ветошью.
Медленно переместите шток гидроцилиндра подъема так, чтобы он совместился с отверстиями во фланцах правого подъемного рычага (Рисунок 13).
Important: При перемещении штока гидроцилиндра подъема небольшой объем гидравлической жидкости будет вытеснен из шланговых штуцеров.

Установите шток на фланцы с помощью монтажного штифта, 2 проставок и 2 стопорных колец (Рисунок 13).
Заправьте консистентной смазкой № 2 на литиевой основе масленки на подъемном рычаге и гидроцилиндре (Рисунок 13).
Затяните поворотные штуцеры шланга линии возврата и шланга линии подъема с моментом от 37 до 45 Н∙м.

Удалите гидравлическую жидкость с машины.
Детали, требуемые для этой процедуры:
| Режущий блок (дополнительная часть – заказывается отдельно) | 3 |
Извлеките режущие блоки из коробок.
Отрегулируйте режущие блоки в соответствии с указаниями в Руководстве оператора для режущих блоков.
Note: Передние несущие рамы входят в дополнительный комплект подъемного рычага.
Совместите отверстия в пластинах передней несущей рамы с отверстиями в монтажных пластинах режущего блока (Рисунок 15).

Установите шайбу между несущей пластиной и тягой (Рисунок 15) и соедините пластины и проставку, не затягивая, с помощью каретного болта (⅜ x 2¼ дюйма), шайбы и фланцевой контргайки (⅜ дюйма).
Note: Если вы начинаете сборку с задней части режущего блока, используйте среднее отверстие в пластине.
Повторите действия, описанные в пункте 2, на других отверстиях и тягах пластины.
Затяните фланцевые контргайки с моментом от 37 до 45 Н∙м.
Повторите действия, описанные в пунктах с 1 по 4, для другого переднего режущего блока и несущей рамы.
Note: Задняя несущая рама входит в дополнительный комплект подъемного рычага.
Совместите отверстие в пластинах задней несущей рамы с отверстием в монтажных пластинах режущего блока.

Установите шайбу между несущей пластиной и тягой (Рисунок 16) и соедините пластины и проставку, не затягивая, с помощью каретного болта (⅜ x 2¼ дюйма), шайбы и фланцевой контргайки (⅜ дюйма).
Note: Если вы начинаете сборку с задней части режущего блока, используйте среднее отверстие в пластине.
Повторите действия, описанные в пункте 2, на других отверстиях и тягах пластины.
Затяните фланцевые контргайки с моментом от 37 до 45 Н∙м.
Note: Передние несущие рамы входят в дополнительный комплект подъемного рычага.
Совместите отверстия в пластинах передней несущей рамы с отверстиями в монтажных пластинах режущего блока (Рисунок 17).

Установите проставку между несущей и монтажной пластинами (Рисунок 17) и соедините пластины и проставку, не затягивая, с помощью каретного болта (⅜ x 1¼ дюйма) и фланцевой контргайки (⅜ дюйма).
Note: Если вы начинаете сборку с задней части режущего блока, используйте средние отверстия в каждой пластине.
Повторите действия, описанные в пункте 2, на других отверстиях пластины.
Затяните фланцевые контргайки с моментом от 37 до 45 Н∙м.
Повторите действия, описанные в пунктах с 1 по 4, для другого переднего режущего блока и несущей рамы.
Note: Задняя несущая рама входит в дополнительный комплект подъемного рычага.
Совместите отверстия в пластинах задней несущей рамы с отверстиями в монтажных пластинах режущего блока (Рисунок 13).

Установите проставку между несущей и монтажной пластинами (Рисунок 14) и соедините пластины и проставку, не затягивая, с помощью каретного болта (⅜ x 1¼ дюйма) и фланцевой контргайки (⅜ дюйма).
Note: Если вы начинаете сборку с задней части режущего блока, используйте средние отверстия в каждой пластине.
Повторите действия, описанные в пункте 2, на других отверстиях пластины.
Затяните фланцевые контргайки с моментом от 37 до 45 Н∙м.
Наденьте упорную шайбу на каждую ось поворота переднего подъемного рычага.
Наденьте несущую раму режущего блока на ось поворота и закрепите ее с помощью шплинта (Рисунок 19).
Note: На заднем режущем блоке расположите упорную шайбу между задней частью несущей рамы и шплинтом.

Смажьте все масленки подъемного рычага и оси поворота несущей рамы.
Important: Убедитесь, что шланги не перекручены и не имеют резких изгибов, а также, что шланги заднего режущего блока проложены, как показано на (Рисунок 20). Поднимите режущие блоки и сместите их влево (модель 03171). Шланги заднего режущего блока не должны соприкасаться с кронштейном тягового троса. При необходимости измените положение фитингов и/или шлангов.

Проденьте цепь опрокидывателя сквозь проем в конце каждой несущей рамы. Прикрепите цепь опрокидывателя к верхней части несущей рамы с помощью болта, шайбы и контргайки (Рисунок 21).

Расположите режущие блоки напротив осей поворота подъемных рычагов.
Снимите груз и уплотнительное кольцо (Рисунок 22) с внутреннего конца правого режущего блока.

Удалите пробку из корпуса подшипника с наружного конца правого режущего блока и установите грузы и прокладку.
Удалите транспортировочные пробки из корпусов подшипников остальных режущих блоков.
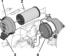
Установите уплотнительное кольцо (поставляемое в комплекте с режущим блоком) на фланец приводного двигателя (Рисунок 23).

Установите двигатель на приводной конец режущего блока и закрепите его двумя колпачковыми винтами, входящими в комплект режущего блока (Рисунок 23).
Запустите двигатель.
Поднимите режущие блоки.
На передних режущих блоках измерьте зазор между левым подъемным рычагом и кронштейном панели пола, а также между правым подъемным рычагом и кронштейном панели пола (Рисунок 24).
Note: Величина зазора должна быть в пределах от 5 до 8 мм. Если величина зазора не находится в пределах данного диапазона, отрегулируйте гидроцилиндр подъема режущего блока; см. разделы Регулировка зазора подъемного рычага и Регулировка упорных болтов подъемных рычагов.
Important: Недостаточный зазор в переднем кронштейне панели может привести к повреждению подъемных рычагов.

В задней части режущего блока измерьте зазор между износной накладкой на верхней части износной планки заднего режущего блока и упором буфера (Рисунок 25).
Note: Величина зазора должна быть в пределах от 0,51 до 2,54 мм. Если величина зазора не находится в пределах данного диапазона, отрегулируйте гидроцилиндр подъема режущего блока; см. раздел Регулировка зазора заднего режущего блока.
Important: Недостаточный зазор в задней износной планке может привести к повреждению режущего блока.

Запустите двигатель, опустите режущие блоки, выключите двигатель, извлеките ключ и дождитесь остановки всех движущихся частей.
На каждой стороне машины ослабьте зажимные гайки и ослабьте затяжку упорных болтов подъемных рычагов (Рисунок 26).

Ослабьте контргайку на штоке гидроцилиндра подъема (Рисунок 27).

Снимите штифт с торца штока и поверните скобу.
Установите штифт и проверьте зазор.
Если необходимо, повторите действия, указанные в пунктах 1–4.
Запустите двигатель, поднимите режущие блоки, выключите двигатель, извлеките ключ и дождитесь остановки всех движущихся частей.
Измерьте расстояние между левым и правым подъемными рычагами и кронштейнами панели пола.
Note: Величина зазора должна быть в пределах от 0,51 до 2,54 мм.
При необходимости повторите действия, описанные в пунктах с 3 по 7.
Затяните контргайку вилки.
Повторите действия, описанные в пунктах 2–9, на другой стороне машины; затем выполните процедуру, описанную в разделе Регулировка упорных болтов подъемных рычагов.
Important: Недостаточный зазор до упорных болтов может привести к повреждению подъемных рычагов.
Note: Если задний подъемный рычаг стучит при транспортировке, уменьшите зазор.
Запустите двигатель, поднимите режущие блоки, выключите двигатель, извлеките ключ и дождитесь остановки всех движущихся частей.
Отрегулируйте упорный болт так, чтобы зазор между упорным болтом и пластиной подъемного рычага составлял от 0,13 до 1,02 мм.

Повторите действие, описанное в пункте 2, для упорного болта другого подъемного рычага.
Запустите двигатель, опустите режущие блоки, выключите двигатель, извлеките ключ и дождитесь остановки всех движущихся частей.
Ослабьте контргайку на гидроцилиндре подъема (Рисунок 29).

Захватите шток гидроцилиндра вблизи гайки плоскогубцами и ветошью и поверните шток.
Note: Уменьшение длины штока снижает зазор между износной накладкой и упором буфера.
Запустите двигатель.
Поднимите режущие блоки и измерьте зазор между износной накладкой на верхней части износной планки заднего режущего блока и упором буфера.
Величина зазора должна быть в пределах от 0,51 до 2,54 мм.
При необходимости повторите действия, описанные в пунктах с 1 по 4.
Опустите режущие блоки, выключите двигатель, извлеките ключ и дождитесь остановки всех движущихся частей.
Затяните контргайку.
Отрегулируйте давление воздуха в каждой шине; см. раздел Проверка давления воздуха в шинах.
Note: На заводе перед поставкой в шинах устанавливается повышенное давление.
Детали, требуемые для этой процедуры:
| Стопорный кронштейн | 1 |
| Заклепка | 2 |
| Шайба | 1 |
| Винт (¼ x 2 дюйма) | 1 |
| Контргайка (¼ дюйма) | 1 |
Отсоедините защелку капота от кронштейна.
Удалите заклепки (2 шт.), которые крепят кронштейн защелки капота к капоту (Рисунок 30). Снимите кронштейн защелки капота с капота.

Выравнивая монтажные отверстия, поместите стопорный кронштейн стандарта CE и кронштейн защелки капота на капот. Стопорный кронштейн должен быть прижат к капоту (Рисунок 31). Не снимайте болт с гайкой в сборе с рычага стопорного кронштейна.

Совместите шайбы с отверстиями на внутренней стороне капота.
Приклепайте кронштейны и шайбы к капоту (Рисунок 31).
Введите защелку в зацепление с кронштейном защелки капота (Рисунок 32).

Вверните болт в другой рычаг кронштейна защелки капота для блокировки защелки в надлежащем положении (Рисунок 33).
Note: Затяните гайку и болт так, чтобы болт не мог перемещаться вперед и назад в стопорном кронштейне стандарта CE.

Детали, требуемые для этой процедуры:
| Ограждение выхлопа | 1 |
| Самонарезающий винт | 4 |
Детали, требуемые для этой процедуры:
| Наклейка CE с предупреждением об опасности наклона (140-7463) | 1 |
| Наклейка, указывающая год выпуска | 1 |
| Наклейка CE | 1 |
Начисто протрите левую раму рядом с табличкой с номером модели и серийным номером спиртом и дайте раме высохнуть (Рисунок 36).

Снимите подложку и приклейте наклейку, указывающую год выпуска, на раму рядом с табличкой с серийным номером, как показано на Рисунок 36.
Начисто протрите левую раму рядом с защелкой капота спиртом и дайте раме высохнуть (Рисунок 37).

Снимите подложку и приклейте наклейку с маркировкой CE к раме, как показано на Рисунок 37.
Детали, требуемые для этой процедуры:
| Опрокидыватель валика (не входит в комплект поставки) | 1 |
При скашивании с большими значениями высоты скашивания установите комплект опрокидывателя валика.
Поднимите режущие блоки вверх до упора.
Найдите кронштейн рамы над центральным режущим блоком (Рисунок 38).
Нажимая передний валик центрального режущего блока вниз, определите, какие отверстия кронштейна опрокидывателя совпадают с отверстиями кронштейна рамы и обеспечивают такой же контакт валика при установленном кронштейне опрокидывателя (Рисунок 38).

Опустите режущие блоки и установите кронштейн опрокидывателя на раму с помощью 2 каретных болтов и 2 гаек, поставляемых вместе с комплектом (Рисунок 38).


Перемещайте пяткой движок режима скашивания/транспортировки (Рисунок 40) влево в положение Транспортировка или вправо в положение Скашивание.
Режущие блоки работают только в случае, когда движок скашивания/транспортировки установлен в положение Скашивание.
Режущие блоки не опускаются, когда движок скашивания/транспортировки находится в положении Транспортировка.
Чтобы привести рулевое колесо в нужное положение, потяните рычаг регулировки наклона рулевой колонки (Рисунок 40) назад. Затем передвиньте рычаг вперед, чтобы зафиксировать выбранное положение.

Чтобы опустить режущие блоки на землю, переведите рычаг перемещения режущего блока вперед в положение Опускание (Рисунок 41).
Note: Режущие блоки не опускаются, когда двигатель не работает. Рычаг не нужно удерживать нажатым в переднем положении, когда режущие блоки опущены.
Чтобы поднять режущие блоки, потяните рычаг перемещения назад в положение Подъем.
Note: Барабаны не работают, когда режущие блоки подняты.
Переключатель привода режущего блока (Рисунок 41) имеет 2 положения: Включить и Выключить. Этот кулисный переключатель приводит в действие электромагнитный клапан в группе клапанов, который включает привод режущих блоков.
Контрольная лампа давления масла (Рисунок 41) загорается, если давление масла в двигателе падает ниже безопасного уровня.
Сигнальная лампа (Рисунок 41) загорается, если температура охлаждающей жидкости слишком высокая. При такой температуре режущие блоки выключаются. Если температура охлаждающей жидкости поднимается еще на 5,5 °C, двигатель останавливается для предотвращения повреждения.
Счетчик моточасов (Рисунок 41) показывает полную наработку машины в часах. Счетчик моточасов начинает работать при установке замка зажигания в положение «Вкл.».
При включении свечей предпускового подогрева загорается соответствующий индикатор (Рисунок 41).
При перемещении рычага дроссельной заслонки (Рисунок 41) вперед скорость двигателя увеличивается, а при перемещении назад — уменьшается.
Индикатор генератора (Рисунок 41) выключается, когда двигатель работает. Если индикатор генератора горит при работающем двигателе, проверьте и при необходимости отремонтируйте систему зарядки.
Выключатель зажигания (Рисунок 41) используется для запуска двигателя и включения световых приборов. Выключатель зажигания имеет 3 положения:
Положение ВЫКЛ — выключение двигателя.
Положение РАБОТА/ПРЕДПУСКОВОЙ ПОДОГРЕВ — работа двигателя или предпусковой подогрев головки блока цилиндров двигателя.
Положение ПУСК — подача питания на стартер.
Note: Когда выключатель находится в положении РАБОТА/ПРЕДПУСКОВОЙ ПОДОГРЕВ, подается питание на свечу предпускового подогрева и соответствующий индикатор загорается приблизительно на 7 секунд.
Переместите фиксатор рычага подъема (Рисунок 41) назад для предотвращения опускания режущих блоков.
При выключенном двигателе необходимо всегда включать стояночный тормоз (Рисунок 41), чтобы предотвратить непреднамеренное движение машины. Для включения стояночного тормоза потяните рычаг вверх; для выключения стояночного тормоза опустите рычаг вниз.
Note: Если нажать педаль управления тягой при включенном стояночном тормозе, двигатель остановится.
Коллектор газонокосилки расположен под крышкой консоли управления (Рисунок 42).

Ручка регулировки скорости вращения барабана на коллекторе газонокосилки используется для регулировки частота скашивания (частоты вращения барабанов) режущих блоков (Рисунок 42).
Для увеличения скорости вращения барабана поверните ручку регулировки скорости барабана против часовой стрелки.
Для снижения скорости вращения барабана поверните ручку по часовой стрелке.
Сведения о том, как отрегулировать скорость вращения барабана, см. в разделах Частота скашивания (частота вращения барабана) и Регулировка частоты вращения барабана.
Рычаг заточки обратным вращением используется для управления направлением вращения режущих блоков при скашивании или при заточке обратным вращением барабанов и неподвижных ножей (Рисунок 42).
При скашивании рычаг заточки обратным вращением должен быть установлен в положение F.
Для заточки режущих блоков обратным вращением поверните рычаг в положение R.
Important: Не изменяйте положение рычага заточки обратным вращением, когда барабаны вращаются.
Указатель уровня топлива (Рисунок 43) показывает количество топлива в баке.

Переместите рычаг (Рисунок 43), находящийся сбоку сиденья, наружу, переместите сиденье в нужное положение и отпустите рычаг, чтобы зафиксировать сиденье в выбранном положении.
Note: Технические характеристики и конструкция могут быть изменены без уведомления.
| Транспортная ширина | 203 см при ширине скашивания 183 см234 см при ширине скашивания 216 см |
| Ширина скашивания | 183 см или 216 см |
| Длина | 248 см |
| Высота | 193 см с установленной конструкцией ROPS |
| Чистая масса* | 844 кг |
| Емкость топливного бака | 28 л |
| Скорость движения по земле | Скашивание: 0–10 км/ч; Транспортировка: 0–14 км/ч. Задний ход: 0–6 км/ч. |
| * С режущими блоками и рабочими жидкостями | |
Для улучшения и расширения возможностей машины можно использовать ряд утвержденных компанией Exmark вспомогательных приспособлений и навесного оборудования. Обратитесь в сервисный центр официального дилера, к официальному дистрибьютору компании Toro или посетите сайт www.Toro.com, на котором приведен список всего утвержденного навесного оборудования и принадлежностей.
Для поддержания оптимальных рабочих характеристик машины и регулярного прохождения сертификации безопасности всегда приобретайте только оригинальные запасные части и приспособления компании Toro. Использование запасных частей и приспособлений, изготовленных другими производителями, может быть опасным и привести к аннулированию гарантии на изделие.
Note: Определите левую и правую стороны машины относительно места оператора.
Запрещается допускать к эксплуатации или обслуживанию данной машины детей или неподготовленных людей. Минимальный возраст оператора устанавливается местными правилами и нормами. Владелец несет ответственность за подготовку всех операторов и механиков.
Ознакомьтесь с приемами безопасной эксплуатации оборудования, органами управления и знаками безопасности.
Прежде чем покинуть рабочее место оператора, выполните следующие действия:
Установите машину на ровной поверхности.
Выключите и опустите режущие блоки.
Включите стояночный тормоз.
Выключите двигатель и извлеките ключ из замка зажигания.
Дождитесь остановки всех движущихся частей.
Дайте машине остыть перед регулировкой, техническим обслуживанием, очисткой или помещением на хранение.
Освойте порядок экстренной остановки машины и двигателя.
Запрещается эксплуатировать машину без установленных на ней исправных ограждений и других защитных устройств.
Перед скашиванием обязательно осмотрите машину, чтобы убедиться в исправном рабочем состоянии режущих блоков.
Осмотрите участок, где будет использоваться машина, и удалите все посторонние предметы, которые могут быть отброшены машиной.
Данное изделие создает электромагнитное поле. Если вы используете имплантируемое электронное медицинское устройство, проконсультируйтесь со своим лечащим врачом перед использованием этого изделия.
Будьте предельно осторожны при обращении с топливом. Топливо легко воспламеняется, а его пары взрывоопасны.
Потушите все сигареты, сигары, трубки и другие источники возгорания.
Используйте только разрешенную к применению емкость для топлива.
Запрещается снимать крышку топливного бака и доливать топливо в бак во время работы двигателя или когда двигатель нагрет.
Запрещается доливать или сливать топливо в закрытом пространстве.
Запрещается хранить машину или емкость с топливом в местах, где есть открытое пламя, искры или малая горелка, используемая, например, в водонагревателе или другом оборудовании.
В случае разлива топлива не пытайтесь запустить двигатель; пока пары топлива не рассеются, следите, чтобы не возникло возгорания.
Используйте только чистое, свежее дизельное топливо со сверхмалым (менее 15 частей/млн) или малым (менее 1000 частей/млн) содержанием серы. Чтобы топливо всегда было свежим, приобретайте его в количествах, которые могут быть использованы в течение 180 дней.
Important: Если вы будете использовать дизельное топливо с высоким содержанием серы (от 0,5% [5000 частей/млн] до 1,0% [10000 частей/млн]), заменяйте масло в двигателе и масляный фильтр через каждые 75 часов работы.
Используйте летнее дизельное топливо (№ 2-D) при температуре выше -7 °C и зимнее (№ 1-D или смесь № 1-D/2-D) при более низкой температуре. Применение зимнего топлива при пониженных температурах обеспечивает более низкую температуру вспышки и требуемую текучесть при низких температурах, что облегчает запуск и уменьшает засорение топливного фильтра.
Применение летнего топлива при температуре выше -7 °C способствует увеличению срока службы топливного насоса и обеспечивает более высокую мощность по сравнению с зимним топливом.
Данная машина может также работать на смеси с биодизельным топливом в пропорции до B20 (20% биодизтоплива, 80% нефтяного дизтоплива). Нефтяное дизтопливо должно иметь низкое или сверхнизкое содержание серы. Соблюдайте следующие меры предосторожности:
Биодизельная часть топлива должна отвечать стандартам ASTM D6751 или EN14214.
Состав смешанного топлива должен отвечать стандартам ASTM D975 или EN590.
Биодизельные смеси могут повредить окрашенные поверхности.
В холодную погоду используйте смеси B5 (содержание биодизельного топлива 5%) или менее.
Проверяйте сальники, шланги и уплотнительные прокладки, находящиеся в контакте с топливом, т. к. со временем они могут изнашиваться.
После перехода на биодизельные смеси через какое-то время возможно засорение топливного фильтра.
Для получения дополнительной информации по смеси с биодизельным топливом свяжитесь с дистрибьютором.
Емкость топливного бака: приблизительно 28 л.
Установите машину на ровной поверхности, опустите режущие блоки, включите стояночный тормоз, выключите двигатель и извлеките ключ.
Очистите поверхность вокруг крышки топливного бака (Рисунок 44).

Снимите крышку топливного бака.
Заполните топливный бак до нижней границы заливной горловины.
Note: Не переполняйте топливный бак.
Установите крышку.
Сразу же вытирайте пролитое топливо.
| Периодичность технического обслуживания | Порядок технического обслуживания |
|---|---|
| Перед каждым использованием или ежедневно |
|
Каждый день перед запуском машины необходимо выполнять «Процедуру ежедневного обслуживания», описанную в разделе .
| Периодичность технического обслуживания | Порядок технического обслуживания |
|---|---|
| Перед каждым использованием или ежедневно |
|
В случае отсоединения или повреждения защитных блокировочных выключателей машина может неожиданно заработать, что приведет к получению травм.
Не вмешивайтесь в работу блокировочных выключателей.
Ежедневно проверяйте работу блокировочных выключателей и заменяйте все поврежденные выключатели перед эксплуатацией машины.
Important: Если на вашей машине при проверке выявится неисправность каких-либо блокировочных выключателей, свяжитесь с официальным дистрибьютором компании Toro.
Медленно выведите машину на открытое место.
Опустите режущие блоки, выключите двигатель и включите стояночный тормоз.
Займите место оператора.
Включите стояночный тормоз.
Нажмите на переключатель привода режущего блока, чтобы установить его в положение Выключить.
Нажмите педаль управления тягой.
Поверните ключ в положение ПУСК.
Note: Стартер не должен прокручивать двигатель при нажатой педали управления тягой.
Займите место оператора.
Включите стояночный тормоз.
Нажмите на переключатель привода режущего блока, чтобы установить его в положение Включить.
Снимите ногу с педали управления тягой.
Поверните ключ в положение ПУСК.
Note: Стартер не должен прокручивать двигатель, когда переключатель привода режущего блока находится в положении Включить.
Займите место оператора.
Включите стояночный тормоз.
Нажмите на переключатель привода режущего блока, чтобы установить его в положение Выключить.
Снимите ногу с педали управления тягой.
Запустите двигатель.
Выключите стояночный тормоз.
Встаньте с сиденья оператора.
Note: Двигатель должен выключиться, когда вы встанете с сиденья оператора при выключенном стояночном тормозе.
Займите место оператора.
Включите стояночный тормоз.
Нажмите на переключатель привода режущего блока, чтобы установить его в положение Выключить.
Снимите ногу с педали управления тягой.
Запустите двигатель.
Нажмите педаль управления тягой.
Note: Двигатель должен остановиться, если вы переведете стояночный тормоз в положение Включить при нажатой педали управления тягой.
Займите место оператора.
Включите стояночный тормоз.
Нажмите на переключатель привода режущего блока, чтобы установить его в положение Выключить.
Снимите ногу с педали управления тягой.
Запустите двигатель.
Выключите стояночный тормоз.
Встаньте с сиденья оператора.
Нажмите педаль управления тягой.
Note: Двигатель должен остановиться в течение 1 секунды после того, как вы встанете с сиденья оператора и нажмете педаль управления тягой.
Владелец или пользователь несет полную ответственность за любые несчастные случаи с людьми, а также за нанесение ущерба имуществу, и должен предпринять все меры для предотвращения таких случаев.
Используйте подходящую одежду, включая защитные очки, длинные брюки, нескользящую прочную обувь и средства защиты органов слуха. Закрепляйте длинные волосы на затылке и не носите свободную одежду и ювелирные украшения.
Запрещается управлять машиной в состоянии болезни, усталости, а также под воздействием алкоголя или сильнодействующих лекарственных препаратов.
При работе на данной машине следует быть предельно внимательным. Во избежание травмирования людей или повреждения имущества запрещается отвлекаться во время работы.
Прежде чем запускать двигатель, убедитесь, что все приводы находятся в нейтральном положении, включите стояночный тормоз и займите место оператора.
Не перевозите на машине пассажиров и не допускайте посторонних лиц и детей в рабочую зону.
Эксплуатируйте машину только в условиях хорошей видимости, чтобы уберечься от ям или скрытых опасностей.
Не скашивайте влажную траву. Пониженная тяга может вызвать проскальзывание.
Следите, чтобы руки и ноги находились на безопасном расстоянии от режущих блоков.
Прежде чем начать движение задним ходом, посмотрите назад и вниз и убедитесь, что путь свободен.
Будьте осторожны, приближаясь к закрытым поворотам, кустарникам, деревьям или к другим объектам, которые могут ухудшать обзор.
Всегда останавливайте режущие блоки, когда не косите.
При выполнении поворотов, а также при пересечении дорог и тротуаров на машине замедляйте ход и будьте внимательны. Всегда уступайте дорогу другим транспортным средствам.
Эксплуатируйте двигатель только в хорошо проветриваемых зонах. Выхлопные газы содержат угарный газ, который может привести к гибели при вдыхании.
Не оставляйте работающую машину без присмотра.
Прежде чем покинуть рабочее место оператора, выполните следующие действия:
Установите машину на ровной поверхности.
Выключите и опустите режущие блоки.
Включите стояночный тормоз.
Выключите двигатель и извлеките ключ из замка зажигания.
Дождитесь остановки всех движущихся частей.
Дайте машине остыть перед регулировкой, техническим обслуживанием, очисткой или помещением на хранение.
Эксплуатируйте машину только при наличии хорошего обзора и в подходящих погодных условиях. Запрещается работать на машине, если существует вероятность удара молнией.
Используйте круиз-контроль (при наличии) только тогда, когда вы можете управлять машиной на открытой ровной площадке, свободной от препятствий, где машина может двигаться с постоянной скоростью без остановок.
Не снимайте с машины какие-либо компоненты конструкции ROPS.
Убедитесь, что ремень безопасности застегнут и вы можете быстро отстегнуть его в экстренной ситуации.
Всегда застегивайте ремень безопасности.
Тщательно проверяйте наличие препятствий сверху и не касайтесь их.
Содержите конструкцию ROPS (систему защиты при опрокидывании) в безопасном рабочем состоянии, периодические тщательно осматривая ее на наличие повреждений, и проверяя плотность затяжки креплений.
Заменяйте поврежденные компоненты конструкции ROPS. Ремонт или переделка запрещены.
Основная опасность при работе на склонах — потеря управляемости и опрокидывание машины, которое может привести к травме или гибели. Вы несете ответственность за безопасную работу на склонах. Эксплуатация машины на любых склонах требует максимальной осторожности.
Осмотрите склон и оцените условия на площадке, чтобы определить, безопасно ли работать на данном склоне. При выполнении этого осмотра всегда руководствуйтесь здравым смыслом и правильно оценивайте ситуацию.
Прежде чем начать работу на машине на склоне, ознакомьтесь с инструкциями по эксплуатации машины на склонах, приведенными ниже. Прежде чем работать на машине, оцените условия на площадке, чтобы определить, можно ли будет работать на машине при таких условиях в этот день и на этой рабочей площадке. Режим работы машины на склоне может меняться в зависимости от рельефа местности.
Старайтесь не начинать движение, не останавливаться и не поворачивать на склоне. Не изменяйте резко скорость или направление движения. Выполняйте повороты медленно и плавно.
Не эксплуатируйте машину в условиях, когда имеются сомнения относительно сцепления с грунтом, управляемости или устойчивости машины.
Устраните или пометьте препятствия, такие как канавы, ямы, колеи, впадины, камни или другие скрытые опасности. Высокая трава может скрывать различные препятствия. При движении по неровной поверхности машина может перевернуться.
Помните, что при работе на влажной траве, а также при движении поперек поверхности склонов или вниз по склону машина может потерять сцепление колес с поверхностью.
Будьте предельно осторожны при работе на машине рядом с обрывами, канавами, насыпями, водоемами или другими опасностями. Машина может внезапно опрокинуться в случае обрушения кромки. Поддерживайте установленную безопасную дистанцию между машиной и любой опасностью.
Находясь у основания склона, оцените степень его опасности. Если работа на машине опасна, скашивайте траву на склоне с помощью газонокосилки, управляемой идущим сзади оператором.
Во время работы на склонах старайтесь держать режущие блоки опущенными на землю. Подъем режущих блоков во время работы на склоне может привести к потере устойчивости машины.
Note: При наличии любого из следующих условий необходимо стравить воздух из топливной системы; см. раздел Удаление воздуха из топливной системы:
Первый запуск нового двигателя.
Двигатель заглох из-за отсутствия топлива.
Было выполнено техническое обслуживание компонентов топливной системы, например замена топливного фильтра.
Убедитесь, что стояночный тормоз включен и переключатель привода барабана находится в положении Выключено.
Снимите ногу с педали управления тягой и убедитесь, что педаль находится в нейтральном положении.
Переведите рычаг дроссельной заслонки в положение 1/2 от максимальных оборотов.
Вставьте ключ в замок зажигания, поверните его в положение Вкл./Подогрев и удерживайте в этом положении, пока не погаснет индикатор свечи предпускового прогрева (приблизительно 7 секунд); затем включите стартер, повернув ключ в положение Пуск. Когда двигатель заведется, отпустите ключ.
Note: Ключ автоматически вернется в положение Вкл./Работа.
Important: Для предотвращения перегрева электродвигателя стартера не включайте стартер более, чем на 15 секунд. После непрерывного прокручивания стартером в течение 10 секунд подождите 60 секунд до следующего включения стартера.
Когда двигатель запускается впервые или после капитального ремонта, поперемещайте машину вперед и назад в течение 1–2 минут. Также поработайте рычагом подъема и понажимайте переключатель привода режущего блока, чтобы убедиться в правильной работе всех частей.
Note: Поверните рулевое колесо влево и вправо, чтобы проверить реакцию рулевого управления, затем выключите двигатель и проверьте машину на наличие утечки масла, ослабления крепления частей и любых других видов износа и повреждений.
При проверке машины на отсутствие утечек масла, ослабления крепления деталей или других неисправностей можно получить травму.
Прежде чем проверять машину на утечки масла, ослабление креплений деталей и другие неисправности, выключите двигатель и дождитесь остановки всех движущихся частей.
Установите регулятор дроссельной заслонки в положение Холостой ход.
Включите стояночный тормоз.
Переведите переключатель привода режущего блока в положение Выключено.
Опустите режущие блоки.
Выключите двигатель, извлеките ключ и дождитесь остановки всех движущихся частей.
Переместите машину на рабочую площадку и установите ее за пределами зоны скашивания напротив первого прохода.
Убедитесь, что переключатель привода режущего блока переведен вверх (в положение Выключено); Переключатель привода режущего блока.
Переведите рычаг дроссельной заслонки в положение Быстро; см. Дроссельная заслонка.
С помощью рычага перемещения режущего блока опустите режущие блоки на землю; см. раздел Рычаг перемещения режущего блока – подъем/опускание.
Нажмите переключатель привода режущего блока, чтобы подготовить режущие блоки к работе (положение Включено).
С помощью рычага перемещения режущего блока поднимите режущие блоки с земли.
Начните движение машины по направлению к зоне скашивания и опустите режущие блоки.
Note: Режущие блоки работают.
Перед приближением к месту разворота потяните назад рычаг перемещения режущего блока только в такой степени, чтобы поднять режущие блоки, и отпустите рычаг управления.
Important: Не удерживайте рычаг перемещения режущего блока нажатым на себя во время разворота.
Разверните машину «по каплевидной траектории», чтобы быстро выровнять ее для следующего прохода.
Переведите переключатель привода режущего блока в положение Выключить.
Поднимите режущие блоки в транспортное положение.
Переведите движок скашивания/транспортировки влево, в положение Транспортировка.

Important: При проезде между объектами будьте внимательны, чтобы случайно не повредить машину или режущие блоки. Управляя машиной на склонах, будьте чрезвычайно осторожны. Во избежание опрокидывания двигайтесь медленно и старайтесь не делать резких поворотов на склонах.
Note: Режущие блоки невозможно опустить, когда вы управляете машиной в режиме транспортировки.
Для обеспечения стабильного качества скашивания и равномерной укладки скошенной травы частота вращения барабана должна выбираться соразмерно высоте скашивания.
Important: Недостаточная частота вращения барабана может привести к неполному и некачественному скашиванию. Чрезмерно высокая частота вращения барабана может привести к потере равномерности скашивания.
| Барабан с 5 ножами | Барабан с 8 ножами | Барабан с 11 ножами | |||||
|---|---|---|---|---|---|---|---|
| Высота скашивания | 8 км/ч | 9,6 км/ч | 8 км/ч | 9,6 км/ч | 8 км/ч | 9,6 км/ч | |
| 63,5 мм | 2½ дюйма | 3 | 3 | 3* | 3* | – | – |
| 60,3 мм | 2⅜ дюйма | 3 | 4 | 3* | 3* | – | – |
| 57,2 мм | 2¼ дюйма | 3 | 4 | 3* | 3* | – | – |
| 54,0 мм | 2⅛ дюйма | 3 | 4 | 3* | 3* | – | – |
| 50,8 мм | 2 дюйма | 3 | 4 | 3* | 3* | – | – |
| 47,6 мм | 1⅞ дюйма | 4 | 5 | 3* | 3* | – | – |
| 44,5 мм | 1¾ дюйма | 4 | 5 | 3* | 3* | – | – |
| 41,3 мм | 1⅝ дюйма | 5 | 6 | 3* | 3* | – | – |
| 38,1 мм | 1½ дюйма | 5 | 7 | 3 | 4 | – | – |
| 34,9 мм | 1⅜ дюйма | 5 | 8 | 3 | 4 | – | – |
| 31,8 мм | 1¼ дюйма | 6 | 9 | 4 | 4 | – | – |
| 28,8 мм | 1⅛ дюйма | 8 | 9* | 4 | 5 | – | – |
| 25 мм | 1 дюйм | 9 | 9* | 5 | 6 | – | – |
| 22,2 мм | ⅞ дюйма | 9* | 9* | 5 | 7 | – | – |
| 19,1 мм | ¾ дюйма | 9* | 9* | 7 | 9 | 6 | 7 |
| 15,9 мм | ⅝ дюйма | 9* | 9* | 9 | 9* | 7 | 7 |
| 12,7 мм | ½ дюйма | 9* | 9* | 9 | 9* | 8 | 8 |
| 9,5 мм | ⅜ дюйма | 9* | 9* | 9 | 9* | 9 | 9 |
|
* Компания Toro не рекомендует использовать эту высоту и/или скорость скашивания. |
|||||||
|
Note: Чем больше число, тем выше скорость. |
|||||||
Проверьте настройку высоты скашивания режущих блоков. Выберите в таблице выбора частоты вращения барабана столбец с нужным количеством ножей барабана (5, 8 или 11) и найдите в столбце высоты скашивания величину, ближайшую к фактической. Напротив выбранной высоты скашивания вы найдете номер, соответствующий определенной частоте вращения барабана.
Поднимите крышку с рычага управления (Рисунок 46).

Поверните ручку регулятора частоты вращения барабана (Рисунок 47) на определенный при выполнении пункта номер, обозначающий частоту вращения барабана 1.

Установите крышку на рычаг управления.
Поработайте на машине несколько дней, а затем оцените качество скашивания. Ручку регулятора частоты вращения барабана можно устанавливать на 1 позицию с любой стороны относительно величины частоты вращения барабана, указанной в таблице, с учетом различного состояния травы, длины убираемой травы и личных предпочтений.
Установите машину на ровной поверхности, опустите режущие блоки, включите стояночный тормоз, выключите двигатель и извлеките ключ.
Убедитесь, что топливный бак заполнен по меньшей мере наполовину.
Расфиксируйте и поднимите капот.
Выверните винт стравливания воздуха из насоса для впрыска топлива (Рисунок 48).

Поверните ключ в замке зажигания в положение Вкл.
Электрический топливный насос работает, вытесняя воздух через продувочный винт.
Note: Держите ключ в положении Вкл. до тех пор, пока через винт не пойдет сплошной поток топлива.
Затяните винт и поверните выключатель зажигания в положение ВЫКЛ.
Note: После выполнения указанной выше процедуры двигатель должен запуститься. Тем не менее, если двигатель не запускается, возможно, между насосом для впрыска топлива и инжекторами остался воздух; см. Стравливание воздуха из инжекторов.
Чтобы начать скашивание, включите режущие блоки, затем медленно приблизьтесь к зоне скашивания. Как только передние режущие блоки окажутся над зоной скашивания, опустите режущие блоки.
Чтобы добиться профессионального скашивания по прямой линии, а также требуемого в некоторых случаях расположения полос скошенной травы, выберите для ориентира дерево или другой объект, находящийся на некотором расстоянии, и двигайтесь прямо на него.
Как только передние режущие блоки достигнут края зоны скашивания, поднимите режущие блоки и выполните разворот по «каплевидной» траектории, чтобы быстро выровнять машину для следующего прохода.
Режущие блоки, как правило, отбрасывают траву в сторону передней или задней частей машины. Отброс в сторону передней части следует использовать при срезании меньшего количества травы, тем самым оставляя лучший внешний вид площадки после скашивания. Чтобы отбрасывать обрезанную траву вперед, просто закройте задний щиток на режущих блоках.
Во избежание травм персонала или повреждений машины не открывайте и не закрывайте щитки режущих блоков при работающем двигателе.
Перед открыванием или закрыванием щитков режущих блоков выключите двигатель и дождитесь остановки всех движущихся частей.
При скашивании большого объема травы расположите щитки чуть ниже горизонтального положения. Не открывайте щитки слишком сильно, иначе чрезмерное количество скошенной травы может собраться на раме, задней решетке радиатора и в зоне двигателя.
Режущие блоки также оборудованы балансировочными грузами. Они установлены на стороне, противоположной двигателю, и предназначены для обеспечения ровного среза. Обеспечение ровного среза производится добавлением или удалением балансировочных грузов.
Установите машину на ровной поверхности.
Выключите и опустите режущие блоки.
Включите стояночный тормоз.
Выключите двигатель и извлеките ключ из замка зажигания.
Дождитесь остановки всех движущихся частей.
Дайте машине остыть перед регулировкой, техническим обслуживанием, очисткой или помещением на хранение.
Чтобы предотвратить возгорание, не допускайте скопления травы и мусора на режущих блоках, приводах, глушителях, охлаждающих решетках и в двигательном отсеке. Удалите следы утечек масла или топлива.
Отключайте привод навесного оборудования при транспортировке или когда машина не используется.
При необходимости обслужите и очистите ремень (ремни) безопасности.
Запрещается хранить машину или емкость с топливом в местах, где есть открытое пламя, искры или малая горелка, используемая, например, в водонагревателе или другом оборудовании.
Промойте машину и смажьте ее; см. разделы Мойка машины и Смазка подшипников и втулок.
В экстренной ситуации машину можно отбуксировать на небольшое расстояние, однако компания Exmark не рекомендует использовать буксировку в качестве стандартной рабочей процедуры.
Important: Во избежание повреждения системы привода запрещается буксировать машину быстрее 3-4 км/ч. Если машину требуется перевезти на значительное расстояние, транспортируйте ее на грузовом автомобиле или прицепе.
Расфиксируйте защелки и откройте капот.
Поверните на 90° ручку перепускного клапана на насосе (Рисунок 49), расположенного рядом с правой защелкой капота.

Закройте и зафиксируйте защелкой капот.
Подсоедините буксирный автомобиль к машине в точках крепления; см. раздел Определение расположения точек крепления.
Займите место оператора и, если необходимо, используйте стояночный тормоз для контроля машины во время ее буксировки.
Important: Не запускайте двигатель, когда перепускной клапан открыт.
Перед запуском двигателя закройте перепускной клапан, повернув ручку на 90° (1/4 оборота).

При погрузке машины на прицеп или грузовик используйте широкий наклонный въезд.
Надежно привяжите машину в точках крепления.
Note: Определите левую и правую стороны машины относительно места оператора.
Note: Загрузите бесплатную электрическую или гидравлическую схему, посетив веб-сайт www.Toro.com, где можно найти модель своей машины, перейдя по ссылке Manuals (Руководства) с главного экрана.
Important: Дополнительные процедуры технического обслуживания см. в руководстве оператора для двигателя и режущего блока. Техника безопасности при обслуживании
Прежде чем покинуть рабочее место оператора, выполните следующие действия:
Установите машину на ровной поверхности.
Выключите и опустите режущие блоки.
Включите стояночный тормоз.
Выключите двигатель и извлеките ключ из замка зажигания.
Дождитесь остановки всех движущихся частей.
Дайте машине остыть перед регулировкой, техническим обслуживанием, очисткой или помещением на хранение.
Используйте подходящую одежду, включая защитные очки, длинные брюки и прочную нескользящую обувь. Следите, чтобы руки, ноги, одежда, ювелирные украшения и длинные волосы находились на безопасном расстоянии от вращающихся частей.
Прежде чем выполнять техническое обслуживание, дайте компонентам машины остыть.
По возможности не выполняйте техническое обслуживание машины с работающим двигателем. Держитесь на безопасном расстоянии от движущихся частей.
Эксплуатируйте двигатель только в хорошо проветриваемых зонах. Выхлопные газы содержат угарный газ, который может привести к гибели при вдыхании.
При работе под машиной всегда используйте для поддержки машины подъемные опоры.
Осторожно сбрасывайте давление из компонентов с накопленной энергией.
Следите, чтобы все компоненты машины были в исправном состоянии, а все крепежные детали были затянуты.
Заменяйте изношенные или поврежденные наклейки.
Для обеспечения безопасной работы и поддержания оптимальных эксплуатационных характеристик машины используйте только оригинальные запасные части компании Toro. Использование запасных частей, изготовленных другими производителями, может быть опасным и привести к аннулированию гарантии на данное изделие.
| Периодичность технического обслуживания | Порядок технического обслуживания |
|---|---|
| Через первый час |
|
| Через первые 10 часа |
|
| Через первые 50 часа |
|
| Перед каждым использованием или ежедневно |
|
| Через каждые 25 часов |
|
| Через каждые 50 часов |
|
| Через каждые 100 часов |
|
| Через каждые 150 часов |
|
| Через каждые 200 часов |
|
| Через каждые 400 часов |
|
| Через каждые 500 часов |
|
| Через каждые 800 часов |
|
| Через каждые 1000 часов |
|
| Через каждые 2000 часов |
|
| Через каждые 2 года |
|
Скопируйте эту страницу для повседневного использования.
| Позиция проверки при техобслуживании | Дни недели: | ||||||
|---|---|---|---|---|---|---|---|
| Пн. | Вт. | Ср. | Чт. | Пт. | Сб. | Вс. | |
| Проверьте работу защитных блокировок. | |||||||
| Проверьте работу тормозов. | |||||||
| Проверьте уровень топлива. | |||||||
| Проверьте уровень масла в двигателе. | |||||||
| Проверьте уровень жидкости в системе охлаждения. | |||||||
| Опорожните водоотделитель для топлива. | |||||||
| Проверьте воздушный фильтр, пылезащитную крышку и предохранительный клапан гидросистемы. | |||||||
| Убедитесь в отсутствии посторонних шумов двигателя.1 | |||||||
| Проверьте радиатор и решетку на наличие мусора. | |||||||
| Убедитесь в отсутствии посторонних шумов при работе машины. | |||||||
| Проверьте уровень масла в гидравлической системе. | |||||||
| Проверьте гидравлические шланги на наличие повреждений. | |||||||
| Проверьте систему на наличие утечек жидкостей. | |||||||
| Проверьте уровень топлива. | |||||||
| Проверьте давление воздуха в шинах. | |||||||
| Проверьте работу приборов. | |||||||
| Проверьте регулировку контакта барабана с неподвижным ножом. | |||||||
| Проверьте регулировку высоты скашивания. | |||||||
| Заправьте все масленки консистентной смазкой.2 | |||||||
| Отремонтируйте поврежденное лакокрасочное покрытие. | |||||||
| Вымойте машину. | |||||||
|
1 Если запуск затруднен, на выхлопе чрезмерное количество дыма или двигатель работает неровно, проверьте свечи предпускового подогрева и сопла инжекторов. 2Сразу после каждой мойки и независимо от указанного интервала. |
|||||||
| Проверил: | ||
| Позиция | Дата | Информация |
| 1 | ||
| 2 | ||
| 3 | ||
| 4 | ||
| 5 | ||
Установите машину на ровной поверхности.
Опустите режущие блоки.
Включите стояночный тормоз.
Выключите двигатель и извлеките ключ.
Дождитесь остановки всех движущихся частей.
Заблокируйте колеса колодками.
Поднимите домкратом переднюю часть машины, установив домкрат под трубой квадратного сечения нижней рамы в точке, расположенной как можно ближе к боковой пластине.

Зафиксируйте машину с помощью подъемных опор, рассчитанных на вес вашей машины, установив их под трубу квадратного сечения или колесные моторы; см. раздел Технические характеристики.
Заблокируйте колеса колодками.
Прикрепите подъемное устройство к скобе крепления на вилке заднего колеса (Рисунок 52).

Осторожно поднимите машину.
Зафиксируйте машину с помощью подъемных опор, рассчитанных на вес вашей машины, установив их под раму; см. раздел Технические характеристики.
Заблокируйте колеса колодками.
Поднимите заднюю часть машины, установив домкрат под задний колесный мотор (Рисунок 63).

Зафиксируйте машину с помощью подъемных опор, рассчитанных на вес вашей машины, установив их под раму; см. раздел Технические характеристики.
Отверните 2 ручки, с помощью которых крышка аккумулятора подсоединена к машине, и снимите крышку (Рисунок 50).

| Периодичность технического обслуживания | Порядок технического обслуживания |
|---|---|
| Через каждые 50 часов |
|
| Через каждые 500 часов |
|
Характеристики консистентной смазки: консистентная смазка № 2 на литиевой основе
На машине установлены масленки для консистентной смазки, требующие регулярной заправки. В условиях повышенного запыления или загрязнения грязь может попасть в подшипники и втулки, что приведет к их ускоренному износу. Заправляйте масленки консистентной смазкой сразу после каждой мойки, независимо от указанного интервала техобслуживания.
Местонахождение и количество масленок:
Ось поворота заднего режущего блока (Рисунок 57)

Ось поворота переднего режущего блока (Рисунок 58)

Шарнир поворотного кулака (Рисунок 59).

Цилиндр поворота и подъема заднего подъемного рычага (2 места) (Рисунок 60)

Цилиндр поворота и подъема левого переднего подъемного рычага (2 места) (Рисунок 61)

Цилиндр поворота и подъема правого переднего подъемного рычага (2 места) (Рисунок 62)

Механизм регулировки нейтрали (Рисунок 63)

Ползунок режима скашивания/транспортировки (Рисунок 64)

Ось поворота механизма натяжения ремня (Рисунок 65)

Подшипники редко отказывают из-за дефектов материалов или изготовления. Наиболее частой причиной их отказа являются влага и загрязнения, проникающие сквозь защитные уплотнения. Смазываемые подшипники зависят от регулярного технического обслуживания, в ходе которого нежелательные загрязнения вытесняются из зоны подшипников. Состояние герметизированных подшипников зависит от их первоначального заполнения специальной консистентной смазкой и прочного встроенного уплотнения, не позволяющего загрязнениям и влаге проникнуть во вращающиеся элементы.
Для герметизированных подшипников не требуется смазка или частое техническое обслуживание. Это сводит к минимуму требуемое техническое обслуживание и снижает вероятность повреждения травяного покрова из-за загрязнения его консистентной смазкой. Эти комплекты герметичных подшипников обеспечивают хорошие эксплуатационные характеристики и длительный срок службы при штатной эксплуатации, но при этом необходимо периодически проверять состояние подшипников и целостность их уплотнений во избежание простоев оборудования. Проверяйте эти подшипники каждый сезон и заменяйте их в случае повреждения или износа. Подшипники должны работать равномерно и без признаков ухудшения технического состояния, таких как повышенный разогрев, шум, неплотное прилегание или следы коррозии (ржавчины).
Из-за условий работы, воздействующих на эти комплекты подшипников/уплотнений (т.е. песок, химикаты для травяного покрова, вода, удары и т.п.), они считаются деталями, подверженными нормальному износу. Как правило, условия гарантии распространяются только на подшипники, отказавшие по причине дефектов материалов или изготовления.
Note: На сроке службы подшипников могут отрицательно сказаться неправильные процедуры мойки. Не мойте машину, пока она не остыла, и не направляйте струю высокого давления или большой объем воды на подшипники.
Перед проверкой уровня масла или добавлением масла в картер выключите двигатель.
Не изменяйте настройку регулятора оборотов двигателя и не превышайте допустимую частоту вращения двигателя.
Используйте высококачественное моторное масло с низким содержанием золы, которое соответствует следующим техническим условиям или превосходит их:
|
ACEA – E6 |
|
API – CH-4 или выше |
|
JASO – DH-2 |
Предпочтительная вязкость масла: SAE 15W-40 (свыше -17 ºC)
Альтернативная вязкость масла: SAE 10W-30 или 5W-30 (все температуры)
Ваш официальный дистрибьютор компании Toro может предложить высококачественное моторное масло Toro с вязкостью 15W-40 или 10W-30.
| Периодичность технического обслуживания | Порядок технического обслуживания |
|---|---|
| Перед каждым использованием или ежедневно |
|
Двигатель поставляется с заправленным маслом картером, однако до и после первого пуска двигателя необходимо проверить уровень масла.
Note: Дистрибьютор может предложить высококачественное моторное масло Exmark с вязкостью 15W-40 или 10W-30. Номера масла см. в каталоге запчастей.
Note: Лучше всего проверять уровень масла на холодном двигателе перед его запуском в начале рабочего дня. Если он уже поработал, перед проверкой дайте маслу стечь в поддон (не менее 10 минут). Если уровень масла на щупе находится на метке «Добавить» или ниже, долейте масло так, чтобы его уровень доходил до отметки «Полный». Не допускайте переполнения. Если уровень масла находится между отметками «Полный» и «Добавить», то доливать масло не нужно.
Подготовьте машину к техническому обслуживанию; см. раздел Подготовка к операциям технического обслуживания.
Расфиксируйте защелки и откройте капот.
Выньте масломерный щуп (Рисунок 66) и протрите его чистой ветошью.

Вставьте масломерный щуп обратно в горловину и убедитесь, что он вошел в нее до упора, затем выньте щуп и проверьте уровень масла.
Если уровень масла ниже допустимого, снимите крышку маслозаливной горловины (Рисунок 67) и постепенно, небольшими порциями долейте масло, периодически проверяя его уровень, до отметки «Полный» на масломерном щупе.
Important: Следите, чтобы уровень масла находился между отметками верхнего и нижнего пределов по щупу. Избыточное или недостаточное количество масла в двигателе может стать причиной его серьезного повреждения.

Поставьте на место крышку маслозаливной горловины и масломерный щуп.
Закройте и зафиксируйте защелкой капот.
| Периодичность технического обслуживания | Порядок технического обслуживания |
|---|---|
| Через первые 50 часа |
|
| Через каждые 150 часов |
|
Емкость картера двигателя: примерно 3,8 л с фильтром
Подготовьте машину к техническому обслуживанию; см. раздел Подготовка к операциям технического обслуживания.
Расфиксируйте защелки и откройте капот, дайте двигателю остыть.
Снимите любую пробку сливного отверстия (Рисунок 68) и дайте маслу стечь в сливной поддон; когда масло перестанет вытекать, установите пробку сливного отверстия на место.

Снимите масляный фильтр (Рисунок 69).

Нанесите тонкий слой чистого масла на уплотнение нового фильтра и установите масляный фильтр.
Note: Не затягивайте фильтр слишком сильно.
Добавьте масло в картер двигателя; см. разделы Характеристики моторного масла и Проверка уровня масла в двигателе.
Закройте и зафиксируйте защелкой капот.
| Периодичность технического обслуживания | Порядок технического обслуживания |
|---|---|
| Через каждые 200 часов |
|
Проверьте корпус воздухоочистителя на наличие повреждений, которые могли бы вызвать утечку воздуха. Замените его в случае повреждения. Проверьте всю систему подачи воздуха на наличие утечек, повреждений, или ослабления хомутов для крепления шлангов.
Выполняйте техническое обслуживание воздухоочистителя с рекомендуемыми интервалами или чаще, если эксплуатационные характеристики двигателя ухудшаются из-за чрезвычайно пыльных или грязных условий работы. Замена воздушного фильтра без необходимости только увеличивает вероятность попадания грязи в двигатель при извлечении фильтра.
Убедитесь, что крышка установлена правильно и плотно прилегает к корпусу воздухоочистителя.
Подготовьте машину к техническому обслуживанию; см. раздел Подготовка к операциям технического обслуживания.
Откройте капот.
Отпустите защелки, фиксирующие крышку воздухоочистителя на его корпусе (Рисунок 70).

Снимите крышку воздухоочистителя с его корпуса.
Перед демонтажем фильтра удалите большие скопления мусора, образующиеся между наружной стороной фильтра грубой очистки и корпусом, с помощью сжатого воздуха низкого давления (2,76 бар, чистого и сухого). Во избежание проникновения загрязнений через фильтр в воздухозаборный канал использовать сжатый воздух не рекомендуется. Описанный процесс очистки предотвращает проникновение мусора в воздухозаборник при демонтаже фильтра грубой очистки.
Снимите элемент фильтра (Рисунок 70).
Note: Очистка использованного элемента может повредить фильтрующий материал фильтра.
Снимите резиновый выпускной клапан (Рисунок 70) с отверстия выпуска загрязнений на крышке воздухоочистителя.
Очистите выпускное отверстие и выпускной клапан и установите выпускной клапан на отверстие.
Проверьте новый фильтр на отсутствие повреждений при транспортировке, проверив уплотнительный конец фильтра и корпуса.
Important: Не используйте поврежденный фильтрующий элемент.
Вставьте новый фильтр, нажимая на наружный обод элемента, чтобы посадить его в корпус.
Important: Не давите на упругую середину фильтра.
Для ориентации крышки установите резиновый выпускной клапан в нижнее положение - примерно между 5 и 7 часами при взгляде с торца.
Зафиксируйте крышку 2 защелками.
Закройте и зафиксируйте защелкой капот.
| Периодичность технического обслуживания | Порядок технического обслуживания |
|---|---|
| Через каждые 2 года |
|
Подготовьте машину к техническому обслуживанию; см. раздел Подготовка к операциям технического обслуживания.
Слейте топливо из топливного бака и очистите бак, если топливная система загрязнена или если машина будет храниться в течение длительного периода. Для промывки бака используйте чистое топливо.
| Периодичность технического обслуживания | Порядок технического обслуживания |
|---|---|
| Через каждые 400 часов |
|
Подготовьте машину к техническому обслуживанию; см. раздел Подготовка к операциям технического обслуживания.
Расфиксируйте защелки и откройте капот.
Проверьте топливные трубопроводы и фитинги на ухудшение качества, повреждение или ослабление соединений.
Note: Отремонтируйте или замените все поврежденные или изношенные топливные трубопроводы или фитинги.
Закройте и зафиксируйте защелкой капот.
| Периодичность технического обслуживания | Порядок технического обслуживания |
|---|---|
| Перед каждым использованием или ежедневно |
|
Подготовьте машину к техническому обслуживанию; см. раздел Подготовка к операциям технического обслуживания.
Расфиксируйте защелки и откройте капот, дайте двигателю остыть.
Подставьте под топливный фильтр чистую емкость.
Открутите сливной кран в днище стакана фильтра (Рисунок 71).

Затяните сливной кран после слива.
Запустите двигатель, проверьте машину на наличие утечек, затем выключите двигатель.
Note: Устраните все утечки топлива.
Закройте и зафиксируйте защелкой капот.
| Периодичность технического обслуживания | Порядок технического обслуживания |
|---|---|
| Через каждые 400 часов |
|
Подготовьте машину к техническому обслуживанию; см. раздел Подготовка к операциям технического обслуживания.
Расфиксируйте защелки и откройте капот, дайте двигателю остыть.
Очистите область крепления корпуса фильтра (Рисунок 71).
Снимите корпус фильтра и очистите монтажную поверхность.
Смажьте прокладку на корпусе фильтра чистым маслом.
Заверните стакан фильтра вручную до контакта прокладки с монтажной поверхностью; затем доверните стакан еще на 1/2 оборота.
Запустите двигатель, проверьте машину на наличие утечек, затем выключите двигатель.
Note: Устраните все утечки топлива.
Закройте и зафиксируйте защелкой капот.
Note: Эту процедуру следует выполнять только в случае, если воздух был удален из топливной системы с помощью обычных процедур прокачки, но двигатель не запускается; см. Удаление воздуха из топливной системы.
Когда это возможно, выполните все действия, описанные в разделе Подготовка к операциям технического обслуживания.
Расфиксируйте защелки и откройте капот, и если двигатель горячий, дайте ему остыть.
Ослабьте натяжение гайки трубки топливного трубопровода, идущего к соплу топливного инжектора № 1.

Установите регулятор дроссельной заслонки в положение Быстро.
Поверните ключ в замке зажигания в положение Пуск и наблюдайте за потоком топлива вокруг соединителя. Когда поток станет непрерывным, поверните ключ в положение Выкл.
Important: Для предотвращения перегрева электродвигателя стартера не включайте стартер более, чем на 15 секунд. После непрерывного прокручивания стартером в течение 10 секунд подождите 60 секунд до следующего включения стартера.
Надежно затяните гайку трубки.
Удалите все остатки топлива с двигателя.
Повторите действия с 3 по 7 для остальных сопел топливных инжекторов.
Запустите двигатель, проверьте машину на наличие утечек, затем выключите двигатель.
Note: Устраните все утечки топлива.
Закройте и зафиксируйте защелкой капот.
Прежде чем приступать к ремонту машины, отсоедините аккумулятор. Сначала отсоедините отрицательную клемму, затем положительную. При повторном подключении аккумулятора сначала подсоедините положительную, затем отрицательную клемму.
Заряжайте аккумулятор в открытом, хорошо проветриваемом месте, вдали от искр и открытого огня. Отсоединяйте зарядное устройство перед подсоединением или отсоединением аккумулятора. Используйте защитную одежду и электроизолированный инструмент.
| Периодичность технического обслуживания | Порядок технического обслуживания |
|---|---|
| Через каждые 25 часов |
|
Электролит аккумуляторной батареи содержит серную кислоту, которая является смертельно опасным ядом при проглатывании и вызывает тяжелые ожоги.
Не проглатывайте электролит и не допускайте его попадания на кожу, в глаза или на одежду. Используйте средства защиты глаз и резиновые перчатки.
Заливайте электролит в аккумулятор в месте, где всегда имеется чистая вода для промывки кожи.
Неправильное подключение кабеля к аккумулятору может вызвать искрение и привести к повреждению машины и кабеля. Искры могут вызвать взрыв аккумуляторных газов, что приведет к получению травмы.
Всегда отсоединяйте отрицательный (черный) кабель аккумулятора перед отсоединением положительного (красного) кабеля.
Всегда присоединяйте положительный (красный) кабель аккумулятора перед присоединением отрицательного (черного) кабеля.
Подготовьте машину к техническому обслуживанию; см. раздел Подготовка к операциям технического обслуживания.
Снимите крышку аккумулятора; см. раздел Демонтаж крышки аккумулятора.
Снимите колпачки заливных отверстий аккумулятора.
Для поддержания уровня электролита в отсеках аккумулятора используйте дистиллированную или деминерализованную воду.
Note: Не заполняйте элементы выше нижнего края разрезного кольца внутри каждого элемента.
Установите колпачки заливных отверстий так, чтобы вентиляционные отверстия были направлены назад (в сторону топливного бака).
Поддерживайте чистоту верхней поверхности аккумулятора, для чего периодически промывайте ее кистью, смоченной в растворе аммиака или соды. После очистки промойте поверхность аккумулятора водой.
Important: При очистке не снимайте колпачки заливных отверстий.
Проверьте зажимы кабелей аккумулятора и штыри аккумулятора на наличие коррозии. При возникновении коррозии выполните следующие действия:
Отсоедините отрицательный (-) кабель аккумулятора.
Отсоедините положительный (+) кабель аккумулятора.
Очистите зажимы и штыри по отдельности.
Подсоедините положительный (+) кабель аккумулятора.
Подсоедините отрицательный (–) кабель аккумулятора.
Нанесите слой средства для защиты контактов аккумулятора на зажимы и клеммы.
Убедитесь в надежности крепления зажимов кабелей аккумулятора на штырях аккумулятора.
Установите крышку аккумулятора.
Note: Для предотвращения быстрой разрядки аккумуляторной батареи рекомендуется хранить машину в прохладном месте.
Подготовьте машину к техническому обслуживанию; см. раздел Подготовка к операциям технического обслуживания.
Поднимите крышку с рычага управления (Рисунок 73).

Найдите перегоревший предохранитель в держателе предохранителя или блоке предохранителей (Рисунок 73).
Замените предохранитель на предохранитель такого же типа и номинальной силы тока.
Установите крышку на рычаг управления (Рисунок 73).
| Периодичность технического обслуживания | Порядок технического обслуживания |
|---|---|
| Перед каждым использованием или ежедневно |
|
Низкое давление в шинах снижает устойчивость машины на склонах холмов. Это может привести к опрокидыванию машины, при этом оператор может получить травму или погибнуть.
Не допускайте недостаточной накачки шин.
Note: Поддерживайте рекомендуемое давление во всех шинах, чтобы обеспечить высокое качество скашивания и надлежащую производительность машины.
Измерьте давление воздуха в каждой шине. Давление в шинах должно составлять от 0,97 до 1,1 бар.
Если необходимо, подкачайте шины или стравите из них воздух, чтобы получить давление от 0,97 до 1,1 бар.
| Периодичность технического обслуживания | Порядок технического обслуживания |
|---|---|
| Через первый час |
|
| Через первые 10 часа |
|
| Через каждые 200 часов |
|
Затяните колесные гайки в перекрестном порядке с моментом от 61 до 88 Н∙м.
Плохо затянутые колесные гайки могут стать причиной травм.
Убедитесь, что колесные гайки затянуты с моментом 61–88 Н∙м.
| Периодичность технического обслуживания | Порядок технического обслуживания |
|---|---|
| Через первый час |
|
| Через первые 10 часа |
|
| Через каждые 200 часов |
|
Затяните гайки ступицы моста с моментом 339–373 Н∙м.
Если машина движется, когда педаль управления тягой находится в нейтральном положении, отрегулируйте кулачок тяги.
Установите машину на ровной поверхности, опустите режущие блоки, включите стояночный тормоз, выключите двигатель и извлеките ключ из замка зажигания.
Приподнимите над полом одно переднее и одно заднее колеса и установите под раму подставки.
Во избежание травм в результата падения машины используйте надежные опоры.
Приподнимите над полом переднее и заднее колеса, в ином случае машина будет перемещаться во время регулировки.
Ослабьте контргайку на кулачке регулировки тяги (Рисунок 74).

Для выполнения заключительной настройки кулачка регулировки тяги двигатель должен работать. Касание горячих или движущихся частей машины может привести к травме.
Держите руки, ноги, лицо и другие части тела подальше от глушителя, других горячих частей двигателя, а также вращающихся частей.
Запустите двигатель и поверните шестигранник кулачка в обоих направлениях, для определения среднего положения в диапазоне нейтрали.
Затяните контргайку для фиксации регулировки.
Выключите двигатель.
Удалите опорные подставки и опустите машину на пол мастерской. Убедитесь, что машина не движется, когда педаль управления тягой находится в нейтральном положении.
Проглатывание охлаждающей жидкости двигателя может вызвать отравление. Храните ее в месте, недоступном для детей и домашних животных.
Выброс под давлением горячей охлаждающей жидкости или прикосновение к горячему радиатору и расположенным рядом деталям могут привести к тяжелым ожогам.
Прежде чем снимать крышку радиатора, подождите не менее 15 минут, чтобы двигатель остыл.
При открывании крышки радиатора используйте ветошь; открывайте крышку медленно, чтобы выпустить пар.
Бачок охлаждающей жидкости заправлен на заводе охлаждающей жидкостью на основе водного раствора этиленгликоля 50/50 с увеличенным сроком службы.
Important: Используйте только имеющиеся в продаже охлаждающие жидкости, которые соответствуют спецификациям, перечисленным в таблице стандартов охлаждающих жидкостей с увеличенным сроком службы.Не допускается использовать в вашей машине традиционную (зеленую) охлаждающую жидкость, изготовленную по технологии, основанной на неорганических кислотах (IAT). Не допускается смешивать охлаждающую жидкость традиционного типа с охлаждающей жидкостью с увеличенным сроком службы.
|
Тип этиленгликолевой охлаждающей жидкости |
Тип ингибитора коррозии |
|
Антифриз с увеличенным сроком службы |
Технология, основанная на органических кислотах (OAT) |
|
Important: Не полагайтесь на цвет охлаждающей жидкости, чтобы определить разницу между стандартной (зеленой) охлаждающей жидкостью, изготовленной по технологии, основанной на неорганических кислотах (IAT), и жидкостью с увеличенным сроком службы.Производители охлаждающих жидкостей могут окрашивать охлаждающие жидкости с увеличенным сроком службы в один из следующих цветов: красный, розовый, оранжевый, желтый, синий, бирюзовый, фиолетовый и зеленый. Используйте охлаждающую жидкость, соответствующую спецификациям, перечисленным в таблице стандартов охлаждающих жидкостей с увеличенным сроком службы. |
|
|
Международный стандарт ATSM |
Международный стандарт SAE |
|
D3306 и D4985 |
J1034, J814 и 1941 |
Important: Охлаждающая жидкость по своей концентрации должна представлять собой смесь охлаждающей жидкости с водой в пропорции 50/50.
Предпочтительный способ: при приготовлении охлаждающей жидкости из концентрата смешивайте ее с дистиллированной водой.
Предпочтительный дополнительный вариант: если нет в наличии дистиллированной воды, используйте предварительно смешанную охлаждающую жидкость вместо концентрата.
Минимальное требование: если нет в наличии дистиллированной воды или предварительно смешанной охлаждающей жидкости, смешайте концентрат охлаждающей жидкости с чистой питьевой водой.
| Периодичность технического обслуживания | Порядок технического обслуживания |
|---|---|
| Перед каждым использованием или ежедневно |
|
Емкость системы охлаждения: приблизительно 5,7 л
При работе двигателя выброс горячей охлаждающей жидкости под давлением может стать причиной ожогов.
Открывать крышку радиатора на работающем двигателе запрещено.
При открывании крышки радиатора используйте ветошь; открывайте крышку медленно, чтобы выпустить пар.
Подготовьте машину к техническому обслуживанию; см. раздел Подготовка к операциям технического обслуживания.
Расфиксируйте защелки и откройте капот.
Проверьте уровень охлаждающей жидкости в расширительном бачке (Рисунок 75).

Note: На холодном двигателе уровень охлаждающей жидкости должен быть приблизительно посередине между отметками на боковой стенке бачка.
Если уровень охлаждающей жидкости низкий, снимите крышку расширительного бачка, долейте охлаждающую жидкость указанного типа в бачок так, чтобы уровень жидкости был посередине между отметками на боковой стенке бачка, затем установите крышку на бачок.
Important: Не переполняйте расширительный бачок.
Закройте и зафиксируйте защелкой капот.
| Периодичность технического обслуживания | Порядок технического обслуживания |
|---|---|
| Перед каждым использованием или ежедневно |
|
| Через каждые 2 года |
|
Удаляйте мусор из маслоохладителя и радиатора ежедневно. При эксплуатации машины в условиях повышенного загрязнения следует чистить эти компоненты чаще.
Подготовьте машину к техническому обслуживанию; см. раздел Подготовка к операциям технического обслуживания.
Поднимите капот.
Тщательно очистите область двигателя от всего мусора.
Снимите нижний щиток радиатора (Рисунок 76).

Тщательно очистите обе стороны радиатора водой или сжатым воздухом (Рисунок 76).
Установите нижний щиток радиатора.
Закройте и зафиксируйте защелкой капот.
| Периодичность технического обслуживания | Порядок технического обслуживания |
|---|---|
| Через каждые 200 часов |
|
Подготовьте машину к техническому обслуживанию; см. раздел Подготовка к операциям технического обслуживания.
Ослабьте установочный винт, который крепит ручку к рычагу стояночного тормоза (Рисунок 77).

Поворачивайте ручку до тех пор, пока усилие не достигнет требуемых для активации рычага 133–178 Н·м.
Затяните установочный винт.
| Периодичность технического обслуживания | Порядок технического обслуживания |
|---|---|
| Через первые 10 часа |
|
| Через каждые 100 часов |
|
Подготовьте машину к техническому обслуживанию; см. раздел Подготовка к операциям технического обслуживания.
Расфиксируйте защелки и откройте капот.
Проверьте натяжение, надавив на ремень посередине между шкивами генератора и коленчатого вала.
Note: При приложении усилия 98 Н прогиб ремня должен составлять 11 мм.

Если отклонение не соответствует требуемому, выполните следующие действия для регулировки натяжения ремня:
Ослабьте болт крепления скобы к двигателю и болт крепления генератора к скобе.
Вставьте монтировку между генератором и двигателем и переместите генератор наружу, действуя монтировкой как рычагом.
При достижении надлежащего натяжения ремня затяните болты генератора и скобы, чтобы зафиксировать полученное натяжение.
Закройте и зафиксируйте защелкой капот.
Наденьте гаечный ключ или небольшой отрезок трубы на конец пружины натяжения ремня.
При замене ремня гидрообъемного привода необходимо снять натяжение пружины, так как она находится под сильной нагрузкой. Неправильное снятие натяжения пружины может привести к серьезной травме.
Соблюдайте меры предосторожности при снятии натяжения пружины.
Потяните вниз за конец пружины натяжения ремня и выведите его из выемки в выступе крепления насоса, затем отведите конец пружины вперед (Рисунок 79).

Замените ремень.
Нажмите вниз и внутрь на конец пружины натяжения ремня, чтобы завести его в выемку в выступе крепления насоса.
Подготовьте машину к техническому обслуживанию; см. раздел Подготовка к операциям технического обслуживания.
Ослабьте контргайку на упорном винте ограничителя скорости.
Отрегулируйте упорный винт ограничения скорости следующим образом:
Note: Скорость скашивания устанавливается на заводе-изготовителе и составляет 9,7 км/ч.
Для уменьшения скорости скашивания поверните упорный винт ограничения скорости (Рисунок 80) по часовой стрелке.
Для увеличения скорости скашивания поверните упорный винт ограничения скорости против часовой стрелки.

Удерживая упорный винт, затяните контргайку.
Выполните пробную поездку на машине, чтобы убедиться в правильности настройки максимальной скорости скашивания.
Подготовьте машину к техническому обслуживанию; см. раздел Подготовка к операциям технического обслуживания.
Расфиксируйте защелки и откройте капот.
Установите рычаг дроссельной заслонки назад, чтобы он был прижат к пазу панели управления.
Ослабьте соединитель тросика дроссельной заслонки на плече рычага инжекторного насоса (Рисунок 81).

Удерживая плечо рычага инжекторного насоса прижатым к упору малой частоты холостого хода, затяните кабельный разъем.
Ослабьте винты крепления рычага управления дроссельной заслонкой к панели управления.
Переведите рычаг управления дроссельной заслонкой до упора вперед.
Сдвиньте упорную пластину до ее контакта с рычагом дроссельной заслонки и затяните винты, которые крепят рычаг управления дроссельной заслонкой к панели управления.
Если дроссельная заслонка не останется в своем положении во время работы, затяните контргайку, используемую для установки фрикционного устройства на рычаге дроссельной заслонки, с моментом 5 – 6 Н∙м.
Note: Максимальное усилие, необходимое для перемещения рычага дроссельной заслонки, должно составлять 89 Н.
Закройте и зафиксируйте защелкой капот.
При попадании жидкости под кожу немедленно обратитесь к врачу. Если жидкость оказалась впрыснута под кожу, необходимо, чтобы врач удалил ее хирургическим путем в течение нескольких часов.
Перед подачей давления в гидравлическую систему убедитесь, что все гидравлические шланги и трубопроводы исправны, а все гидравлические соединения и штуцеры герметичны.
Не приближайтесь к местам точечных утечек или штуцерам, из которых под высоким давлением выбрасывается гидравлическая жидкость.
Для обнаружения гидравлических утечек используйте картон или бумагу.
Перед выполнением любых работ на гидравлической системе полностью сбросьте давление в гидравлической системе безопасным способом.
| Периодичность технического обслуживания | Порядок технического обслуживания |
|---|---|
| Перед каждым использованием или ежедневно |
|
Проверьте гидравлические трубопроводы и шланги на наличие утечек, перекрученных труб, незакрепленных опор, износа, незатянутой арматуры, атмосферной и химической коррозии. Перед началом эксплуатации отремонтируйте все, что необходимо.
Бак гидросистемы заполняется на заводе высококачественной гидравлической жидкостью. Проверьте уровень гидравлической жидкости перед первым запуском двигателя и в дальнейшем проверяйте его ежедневно; см. раздел Проверка гидравлической жидкости.
Рекомендуемая гидравлическая жидкость: гидравлическая жидкость Exmark PX Extended Life (выпускается в 19-литровых емкостях или 208-литровых бочках).
Note: На машине, в которой используется рекомендуемая для замены жидкость, требуются менее частые замены жидкости и фильтра.
Другие варианты гидравлических жидкостей: при отсутствии гидравлической жидкости Exmark PX Extended Life допускается использование других стандартных гидравлических жидкостей на нефтяной основе, при условии, что они соответствуют всем указанным далее характеристикам материала и требованиям отраслевых стандартов. Не используйте синтетическую жидкость. Для определения подходящего продукта проконсультируйтесь у местного дистрибьютора смазочных материалов.
Note: Компания Exmark не несет ответственности за повреждения, вызванные применением нештатной рабочей жидкости, поэтому используйте продукты только признанных изготовителей, рекомендациям которых можно доверять.
| Свойства материалов: | ||
| Вязкость, ASTM D445 | сСт при 40 °C: от 44 до 48 | |
| Индекс вязкости по ASTM D2270 | 140 или выше | |
| Температура текучести, ASTM D97 | от -37°C до -45°C | |
| Отраслевые ТУ: | Eaton Vickers 694 (I-286-S, M-2950-S/35VQ25 или M-2952-S) | |
Note: Многие гидравлические жидкости почти бесцветны, что затрудняет обнаружение точечных утечек. Красный краситель для добавки в гидравлическую жидкость поставляется во флаконах емкостью 20 мл. Одного флакона достаточно для 15–22 л гидравлической жидкости. № по каталогу 44-2500 для заказа у местного официального дистрибьютора компании Exmark.
Important: Синтетическая биоразлагаемая гидравлическая жидкость Exmark Premium является единственной синтетической биоразлагаемой рабочей жидкостью, одобренной компанией Toro. Эта жидкость совместима с используемыми в гидравлических системах TORO эластомерами и пригодна для широкого диапазона температур. Эта жидкость совместима с традиционными минеральными маслами, но для максимальной биоразлагаемости и высоких эксплуатационных характеристик гидравлическую систему необходимо тщательно промыть стандартной рабочей жидкостью. Масло поставляется официальным дистрибьютором компании Exmark в 19-литровых канистрах или 208-литровых бочках.
| Периодичность технического обслуживания | Порядок технического обслуживания |
|---|---|
| Перед каждым использованием или ежедневно |
|
Бак гидросистемы заполняется на заводе высококачественной гидравлической жидкостью. Уровень гидравлической жидкости следует проверять, когда она холодная. Машина должна находиться в положении транспортировки.
Подготовьте машину к техническому обслуживанию; см. раздел Подготовка к операциям технического обслуживания.
Очистите зону вокруг заливной горловины и крышки гидравлического бака (Рисунок 82) и снимите крышку.

Извлеките масломерный щуп из заливной горловины и протрите его чистой ветошью.
Вставьте масломерный щуп в заливную горловину; затем извлеките его и проверьте уровень жидкости.
Note: Уровень жидкости должен находиться в пределах 6 мм от отметки на щупе.
Если уровень низкий, долейте жидкость указанного типа, чтобы поднять уровень до отметки «Полный»; см. Характеристики гидравлической жидкости.
Important: Не допускайте переполнения гидравлического бака.
Вставьте масломерный щуп и установите крышку на заливную горловину.
13,2 л; см. раздел Характеристики гидравлической жидкости
| Периодичность технического обслуживания | Порядок технического обслуживания |
|---|---|
| Через каждые 800 часов |
|
| Через каждые 2000 часов |
|
Горячая гидравлическая жидкость может вызвать сильные ожоги.
Прежде чем выполнять работы по техническому обслуживанию гидросистемы, дайте гидравлической жидкости остыть.
В случае загрязнения рабочей жидкости обратитесь к официальному дистрибьютору компании Toro, поскольку систему необходимо промыть. По сравнению с чистой загрязненная жидкость может выглядеть белесоватой или черной.
Подготовьте машину к техническому обслуживанию; см. раздел Подготовка к операциям технического обслуживания.
Отсоедините гидравлический шланг (Рисунок 83) или снимите гидравлический фильтр (Рисунок 84) и дайте гидравлической жидкости стечь в сливной поддон.


Когда гидравлическая жидкость полностью стечет, установите гидравлический шланг на место.
Залейте в гидравлический бак (Рисунок 85) приблизительно 22,7 литра гидравлической жидкости; см. раздел Характеристики гидравлической жидкости.
Important: Используйте только указанные гидравлические жидкости. Другие жидкости могут вызвать повреждение системы.

Вставьте масломерный щуп и установите крышку на заливную горловину.
Запустите двигатель и поработайте всеми органами управления гидравлической системы, чтобы распределить гидравлическую жидкость по всей системе.
Проверьте на отсутствие утечек, затем остановите двигатель.
Проверьте уровень жидкости и при необходимости доведите его до метки «Полный» на масломерном щупе.
Important: Не переполняйте бак.
| Периодичность технического обслуживания | Порядок технического обслуживания |
|---|---|
| Через каждые 800 часов |
|
| Через каждые 1000 часов |
|
Горячая гидравлическая жидкость может вызвать сильные ожоги.
Прежде чем выполнять работы по техническому обслуживанию гидросистемы, дайте гидравлической жидкости остыть.
Используйте сменный фильтр Toro (№ по кат. 86-3010).
Important: Использование любого другого фильтра может привести к аннулированию гарантии на некоторые компоненты.
Подготовьте машину к техническому обслуживанию; см. раздел Подготовка к операциям технического обслуживания.
Очистите область вокруг места крепления фильтра. Поместите поддон под фильтр (Рисунок 86), а затем снимите фильтр.

Смажьте новую прокладку фильтра и заполните фильтр гидравлической жидкостью.
Убедитесь, что область крепления фильтра чистая. Навинтите фильтр до контакта прокладки с монтажной пластиной, после чего затяните фильтр еще на половину оборота.
Запустите двигатель и дайте ему поработать примерно две минуты для удаления воздуха из системы. Выключите двигатель и проверьте систему на наличие утечек.
Износ или повреждение ножей барабанов или неподвижного ножа может привести к его разрушению и выбросу фрагментов в направлении оператора или находящихся поблизости людей, что может стать причиной серьезной травмы или гибели.
Периодически осматривайте подвижные и неподвижные ножи на наличие чрезмерного износа и повреждений.
При проверке ножей будьте внимательны. Обслуживайте ножи в перчатках и будьте осторожны. Выполняйте только замену подвижных и неподвижных ножей или их заточку обратным вращением; никогда не выпрямляйте и не сваривайте их.
На машинах с несколькими режущими блоками соблюдайте осторожность при проворачивании барабана режущего блока, поскольку это может вызвать вращение барабанов в других режущих блоках.
| Периодичность технического обслуживания | Порядок технического обслуживания |
|---|---|
| Перед каждым использованием или ежедневно |
|
Проверьте контакт барабана с неподвижным ножом, даже если качество среза было ранее приемлемым. Должен быть легкий контакт полностью по всей длине барабана и неподвижного ножа, см. раздел «Регулировка положения барабана относительно неподвижного ножа» в Руководстве по эксплуатации режущего блока.
Прикосновение к режущим блокам или другим движущимся частям может привести к травмированию.
Следите, чтобы пальцы, руки и одежда находились на безопасном расстоянии от режущих блоков и других движущихся частей.
Запрещается поворачивать режущие блоки рукой или ногой при работающем двигателе.
Note: Дополнительные указания и описания процедур обратного вращения для затачивания приведены в руководстве «Основы эксплуатации барабанных газонокосилок Toro (с указаниями по затачиванию)», форма 09168SL.
Подготовьте машину к техническому обслуживанию; см. раздел Подготовка к операциям технического обслуживания.
Выполните первоначальные регулировки контакта барабана с неподвижным ножом, подходящие для заточки обратным вращением; см. Руководство оператора для режущего блока.
Поднимите крышку консоли управления (Рисунок 87) на магнитном креплении, чтобы открыть доступ к коллектору газонокосилки.

Установите рычаг заточки обратным вращением в положение R (заточка обратным вращением) (Рисунок 88).

Изменение частоты вращения двигателя во время заточки обратным вращением может привести к остановке режущих блоков.
Запрещается изменять частоту вращения двигателя во время заточки обратным вращением
Выполняйте заточку обратным вращением только на холостом ходу.
Note: Переключатель сиденья не действует, когда регулятор заточки обратным вращением установлен в положение обратного вращения. Оператору не обязательно находиться на сиденье, но стояночный тормоз должен быть включен, иначе двигатель не будет работать.
Запустите двигатель и дайте ему поработать на малых холостых оборотах.
Нажмите на переключатель привода режущего блока, чтобы установить его в положение Включить.
Нанесите притирочную пасту на барабан, используя щетку с длинной ручкой.
Касание режущих блоков во время их движения может привести к травмированию.
Прежде чем продолжить операцию, отойдите на безопасное расстояние от режущих блоков во избежание получения травмы.
Important: Никогда не используйте щетку с короткой ручкой.
Если вам будет необходимо выполнить регулировку режущих блоков во время заточки обратным вращением, выполните следующие действия:
Нажмите на переключатель привода режущего блока, чтобы установить его в положение Выключить.
Выключите двигатель и извлеките ключ из замка зажигания.
Выполните регулировку режущих блоков.
Повторите действия, указанные в пунктах с 1 по 3.
Повторите действия, указанные в пункте 3, для других режущих блоков, которые вы хотите заточить обратным вращением.
Нажмите на переключатель управления режущим блоком, чтобы установить его в положение Выключить.
Выключите двигатель.
Установите рычаг заточки обратным вращением в положение F (скашивание) (Рисунок 89).
Important: Если после заточки обратным вращением не вернуть рычаг заточки в положение F (скашивание), режущие блоки не будут работать должным образом.

Установите крышку на консоль управления.
Смойте всю притирочную пасту с режущих блоков.
Для получения лучшей режущей кромки обработайте напильником переднюю лицевую поверхность неподвижного ножа после заточки обратным вращением.
Note: При этом будут удалены все заусенцы или неровные края, которые могут образоваться на режущей кромке.
Мойте машину по мере необходимости, используя только воду или воду с мягким моющим средством. При мойке машины можно использовать ткань.
Important: Не допускается использовать для очистки машины солоноватую воду или регенерированные сточные воды.
Important: Не допускается использовать для мойки машины оборудование, подающее воду под давлением. Мойка под давлением может вывести из строя электрооборудование, ослабить важные предупреждающие таблички или смыть необходимую консистентную смазку в трущихся местах. Старайтесь не использовать много воды около панели управления, двигателя и аккумулятора.
Important: Не мойте автомобиль при работающем двигателе. Это может привести к внутреннему повреждению двигателя.
Прежде чем покинуть рабочее место оператора, выполните следующие действия:
Установите машину на ровной поверхности.
Выключите и опустите режущие блоки.
Включите стояночный тормоз.
Выключите двигатель и извлеките ключ из замка зажигания.
Дождитесь остановки всех движущихся частей.
Дайте машине остыть перед регулировкой, техническим обслуживанием, очисткой или помещением на хранение.
Запрещается хранить машину или емкость с топливом в местах, где есть открытое пламя, искры или малая горелка, используемая, например, в водонагревателе или другом оборудовании.
Установите машину на ровной поверхности, опустите режущие блоки, включите стояночный тормоз, выключите двигатель и извлеките ключ.
Тщательно очистите тяговый блок, режущие блоки и двигатель.
Проверьте давление воздуха в шинах, см. Проверка давления воздуха в шинах.
Проверьте весь крепеж на ослабление затяжки; при необходимости подтяните.
Заправьте консистентной смазкой или маслом все масленки и оси поворота. Удалите всю излишнюю смазку.
Слегка зачистите и подкрасьте поцарапанные, сколотые или заржавевшие покрашенные поверхности. Выправите все вмятины в металлическом корпусе.
Выполните техническое обслуживание аккумулятора и кабелей следующим образом; см. раздел Правила техники безопасности при работе с электрической системой:
Снимите клеммы с полюсных штырей аккумулятора.
Очистите аккумулятор, клеммы и полюсные штыри проволочной щеткой и водным раствором пищевой соды.
Для предотвращения коррозии нанесите на кабельные наконечники и на полюсные штыри аккумулятора смазку Grafo 112X (№ по каталогу Toro 505-47) или технический вазелин.
Медленно подзаряжайте аккумулятор через каждые 60 дней в течение 24 часов для предотвращения сульфатации пластин аккумулятора.
Слейте моторное масло из поддона картера и установите на место пробку сливного отверстия.
Извлеките и удалите в отходы масляный фильтр. Установите новый масляный фильтр.
Заправьте двигатель моторным маслом указанного типа.
Запустите двигатель и дайте ему поработать на холостом ходу приблизительно две минуты.
Выключите двигатель и извлеките ключ из замка зажигания.
Промойте топливный бак свежим, чистым топливом.
Закрепите все штуцеры топливной системы.
Тщательно очистите и обслужите узел воздухоочистителя.
Загерметизируйте впуск воздухоочистителя и выпуск выхлопа водостойкой клейкой лентой.
Проверьте защиту от промерзания и добавьте раствор воды и этиленгликолевого антифриза в соотношении 50/50, если в вашем регионе ожидается низкая температура.
Если машина помещается на хранение на срок более 30 дней, снимите аккумулятор и полностью его зарядите. Храните его на полке или на машине. Оставьте кабели отсоединенными, если аккумулятор хранится на машине. Храните аккумулятор в прохладном месте во избежание быстрого снижения заряда. Для предотвращения замерзания аккумулятора храните его полностью заряженным. Удельный вес электролита полностью заряженного аккумулятора составляет 1,265–1,299.
Стандартный модуль управления является герметизированным электронным устройством с универсальной конфигурацией. В этом модуле используются твердотельные и механические компоненты для контроля и управления стандартными электрическими функциями, необходимыми для безопасной работы машины.
Модуль контролирует входы, включая нейтральное положение, стояночный тормоз, вал отбора мощности (ВОМ), запуск, обратное вращение и высокую температуру. Модуль подает питание на выходы, включая ВОМ, стартер и электромагнит блока ETR (с подачей питания на включение).
Модуль делится на входы и выходы. Входы и выходы обозначаются зелеными светодиодными индикаторами, установленными на печатной плате.
На вход цепи запуска подается напряжение 12 В пост. тока. На все остальные входы подается питание, когда цепь замыкается на землю. У каждого входа есть светодиод, который загорается, когда на данный контур подается питание. Используйте светодиоды входа для переключения и поиска/устранения неисправностей входных контуров.
Питание на выходные цепи подается в зависимости от определенного набора входных условий. Имеется три выхода: для ВОМ, блока подачи питания на включение (ETR) и запуска (START). Светодиоды выходов контролируют состояние реле, указывая на наличие напряжения на одной из трех выходных клемм.
Выходные цепи не определяют целостность выходных устройств, поэтому поиск и устранение неисправностей электрической системы включает осмотр выходных светодиодов, а также стандартную проверку самого устройства и целостности жгута проводов. Измерьте полное сопротивление отсоединенного компонента, сопротивление через жгут проводов (отсоединенный в месте расположения стандартного модуля управления [SCM]) или проведите временную «испытательную подачу напряжения» на конкретный компонент.
Модуль SCM не соединяется с внешним компьютером или портативным устройством, его нельзя перепрограммировать, и он не записывает данные поиска и устранения периодических отказов.
В наклейке на модуле SCM приведены только символы. Три символа выходных светодиодов показаны на выходном блоке. Все остальные светодиоды являются входами. В таблице ниже приведено описание этих символов.

Ниже приведена последовательность обнаружения неисправностей с помощью модуля SCM.
Определите, какую неисправность на выходе вы хотите устранить (ВОМ, START или ETR).
Поверните ключ зажигания в положение Вкл. и убедитесь, что загорелся красный светодиод питания.
Переключайте все входные выключатели, чтобы убедиться, что все светодиоды меняют свое состояние.
Установите входные устройства в соответствующее положение, чтобы получить необходимые выходные параметры. Используйте следующую логическую таблицу для определения соответствующего состояния входа.
Если какой-либо светодиод выхода загорелся без срабатывания соответствующей выходной функции, проверьте выходной жгут проводки, соединения и сам компонент. Отремонтируйте при необходимости.
Если отдельный светодиод выхода не загорелся, проверьте оба предохранителя.
Если отдельный светодиод выхода не загорелся, а входы находятся в надлежащем состоянии, установите новый модуль SCM и посмотрите, устранена ли неисправность.
Каждая строка приведенной ниже логической таблицы определяет входные и выходные требования для каждой конкретной функции изделия. Функции изделия перечислены в левом столбце. Символы обозначают конкретные состояния контуров, включая следующее: подано напряжение, замкнут на землю, разомкнут относительно земли.
| ВХОДЫ | ВЫХОДЫ | ||||||||||
|---|---|---|---|---|---|---|---|---|---|---|---|
| Функция | Питание ВКЛЮЧЕНО | В положении «Нейтраль» | Запуск ВКЛЮЧЕН | Тормоз ВКЛЮЧЕН | Вал отбора мощности ВКЛЮЧЕН | На сиденье | Останов | Заточка обратным вращением | Пуск | ETR (подача питания на включение) | ВОМ |
| Пуск | — | — | + | O | O | — | O | O | + | + | O |
| Работа (устройство выкл.) | — | — | O | O | O | O | O | O | O | + | O |
| Работа (устройство вкл.) | — | O | O | — | O | — | O | O | O | + | O |
| Скашивание | — | O | O | — | — | — | O | O | O | + | + |
| Заточка обратным вращением | — | — | O | O | — | O | O | — | O | + | + |
| Останов | — | O | — | O | O | O | |||||
(–) обозначает, что контур замкнут на землю – СВЕТОДИОД ГОРИТ.
(O) обозначает, что контур разомкнут относительно земли или обесточен – СВЕТОДИОД НЕ ГОРИТ.
(+) обозначает, что на контур подано напряжение (обмотка муфты, электромагнит или вход запуска) – СВЕТОДИОД ГОРИТ.
Пробел обозначает контур, который не включен в логическую таблицу.
Для поиска и устранения неисправностей поверните ключ зажигания в положение «Вкл.», но не запускайте двигатель. Определите конкретную функцию, которая не работает, и пройдите по всей логической таблице. Проверьте состояние каждого входного светодиода на соответствие логической таблице.
Если входные светодиоды работают правильно, проверьте выходной светодиод. Если выходной светодиод горит, но устройство обесточено, измерьте доступное напряжение на выходном устройстве, целостность соединения с устройством и напряжение на контуре заземления (плавающее заземление). Ремонт будет зависеть от обнаруженных неисправностей.