| Intervalo de mantenimiento y servicio | Procedimiento de mantenimiento |
|---|---|
| Cada vez que se utilice o diariamente |
|
Esta máquina es una segadora de asiento equipada con cuchillas de molinete, diseñada para ser usada por operadores profesionales contratados en aplicaciones comerciales. Se ha diseñado principalmente para cortar hierba en césped bien mantenido. El uso de este producto para otros propósitos que los previstos podría ser peligroso para usted y para otras personas.
Lea este manual detenidamente para aprender a utilizar y mantener correctamente su producto, y para evitar lesiones y daños al producto. Usted es responsable de utilizar el producto de forma correcta y segura.
Visite www.Toro.com para obtener más información, incluidos consejos de seguridad, materiales de formación, información sobre accesorios, ayuda para encontrar a un distribuidor o para registrar su producto.
Si necesita servicios, piezas genuinas Exmark o información adicional, póngase en contacto con un servicio técnico autorizado o con el servicio de atención al cliente de Exmark y tenga a mano el número de serie y de modelo del producto. Figura 1 identifica la ubicación de los números de modelo y serie en el producto. Escriba los números en el espacio provisto.
Important: Con su dispositivo móvil, puede escanear el código QR de la placa del número de serie (si dispone de ella) para acceder a información sobre la garantía, las piezas y otra información sobre el producto.

Este producto cumple todas las directivas europeas aplicables. Para obtener más detalles, consulte la Declaración de conformidad (DOC) de cada producto.
El uso o la operación del motor en cualquier terreno forestal, de monte o cubierto de hierba a menos que el motor esté equipado con parachispas (conforme a la definición de la sección 4442) mantenido en buenas condiciones de funcionamiento, o que el motor haya sido fabricado, equipado y mantenido para la prevención de incendios, constituye una infracción de la legislación de California (Sección 4442 o 4443 del California Public Resource Code).
El manual del propietario del motor adjunto ofrece información sobre las normas de la U.S. Environmental Protection Agency (EPA) y de la California Emission Control Regulation sobre sistemas de emisiones, mantenimiento y garantía. Puede solicitarse un manual nuevo al fabricante del motor.
CALIFORNIA
Advertencia de la Propuesta 65
Es sabido por el Estado de California que los gases de escape de los motores diesel y algunos de sus componentes causan cáncer, defectos congénitos y otros peligros para la reproducción.
Los bornes, terminales y otros accesorios de la batería contienen plomo y compuestos de plomo, productos químicos reconocidos por el Estado de California como causantes de cáncer y daños reproductivos. Lávese las manos después de manejar el material.
El uso de este producto puede provocar la exposición a sustancias químicas que el Estado de California considera causantes de cáncer, defectos congénitos u otros trastornos del sistema reproductor.
Este producto es capaz de amputar manos y pies y de lanzar objetos al aire.
Lea y comprenda el contenido de este manual del operador antes de arrancar el motor.
Preste toda su atención al utilizar la máquina. No realice ninguna actividad que genere distracciones, de lo contrario pueden producirse lesiones o daños en la propiedad.
No coloque las manos o los pies cerca de componentes en movimiento de la máquina.
No utilice la máquina a menos que tenga instalados y estén en funcionamiento todos los protectores y otros dispositivos de seguridad.
Mantenga a otras personas, especialmente a los niños, alejadas del área de operación. Nunca permita a los niños utilizar la máquina.
Apague el motor, retire la llave y espere a que se detenga todo movimiento antes de dejar el puesto del operador. Deje que la máquina se enfríe antes de realizar ajustes, tareas de mantenimiento y de limpieza o de guardarla.
El símbolo de alerta de seguridad (Figura 2) que aparece en este manual y en la máquina identifica mensajes de seguridad importantes que usted debe observar para evitar accidentes.

El símbolo de alerta de seguridad aparece encima de información que le alerta ante acciones o situaciones inseguras, y va seguido de la palabra PELIGRO, ADVERTENCIA, o CUIDADO.
PELIGRO: Indica una situación peligrosa inminente, que si no se evita, causará la muerte o lesiones graves.
ADVERTENCIA indica una situación potencialmente peligrosa que si no se evita, podría causar la muerte o lesiones graves.
CUIDADO: Indica una situación potencialmente peligrosa que si no se evita, podría causar lesiones menores o moderadas.
Este manual utiliza dos palabras más para resaltar información. Importante llama la atención sobre información mecánica especial, y Nota resalta información general que merece una atención especial.
![]() |
Las calcomanías e instrucciones de seguridad están a la vista del operador y están ubicadas cerca de cualquier zona de peligro potencial. Sustituya cualquier calcomanía que esté dañada o que falte. |














Note: Los lados derecho e izquierdo de la máquina se determinan desde la posición normal del operador.
Piezas necesarias en este paso:
| Conjunto de rueda delantera | 2 |
| Conjunto de rueda trasera | 1 |
Important: La llanta y el neumático de la rueda trasera son más estrechos que las 2 llantas y neumáticos delanteros.
Monte un conjunto de rueda en el cubo de la rueda con el vástago de la válvula hacia fuera.
Sujete la rueda al cubo con las tuercas, y apriete las tuercas en un patrón cruzado a 61-88 N·m.
Repita los pasos 1 y 2 con los demás conjuntos de rueda.
Piezas necesarias en este paso:
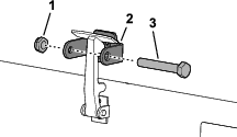
| Volante | 1 |
| Tapón del volante | 1 |
| Arandela grande | 1 |
| Tuerca autoblocante | 1 |
| Tornillo | 1 |
El electrolito de la batería contiene ácido sulfúrico, que es letal si se ingiere y causa quemaduras graves.
No beba electrolito y evite el contacto con la piel, los ojos y la ropa. Lleve gafas de seguridad y guantes de goma.
Llene la batería en un lugar que tenga disponible agua limpia para enjuagar la piel.
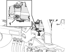
Retire los 2 pomos que sujetan la tapa de la batería a la máquina, y retire la tapa (Figura 4).

Mida el voltaje de la batería.
Note: Si la medición es de 12,4 V o superior, la batería está cargada.
Si la medición es de 12,3 V o menos, cargue la batería a un ritmo de 3 a 4 amperios durante 4 a 8 horas.
El proceso de carga de la batería produce gases que pueden explotar.
Mantenga alejadas de la batería las chispas y llamas.
No fume nunca cerca de la batería.
Cuando la batería esté cargada, desconecte el cargador de la toma de electricidad, luego de los bornes de la batería.
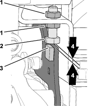
Conecte el cable positivo (rojo) al borne positivo (+) de la batería, y sujételos con un perno de cabeza cuadrada y una tuerca (Figura 5).
Note: Asegúrese de que el terminal positivo (+) está totalmente asentado en el borne, y que el cable está colocado junto a la batería.
Important: El cable no debe entrar en contacto con la tapa de la batería.
Conecte el cable negativo (negro) al borne negativo (–) de la batería, y sujételos con perno de cabeza cuadrada y una tuerca (Figura 5).
Un enrutado incorrecto de los cables de la batería podría dañar el tractor y los cables, causando chispas. Las chispas podrían hacer explotar los gases de la batería, causando lesiones personales.
Desconecte siempre el cable negativo (negro) de la batería antes de desconectar el cable positivo (rojo).
Conecte siempre el cable positivo (rojo) de la batería antes de conectar el cable negativo (negro).

Important: Si retira alguna vez la batería, asegúrese de que los pernos de la abrazadera de la batería están instalados con las cabezas abajo y las tuercas arriba. Si los pernos de la abrazadera se invierten, pueden interferir con los tubos hidráulicos al cambiar las unidades de corte.
Aplique una capa de grasa Grafo 112X (Pieza Exmark N° 505-47) o de grasa ligera a ambas conexiones de la batería para evitar la corrosión.
Deslice la cubierta de goma sobre el terminal positivo para evitar posibles cortocircuitos eléctricos.
Coloque la tapa de la batería.
Piezas necesarias en este paso:
| Conjunto de la barra antivuelco | 1 |
| Perno con arandela prensada | 4 |
| Contratuerca | 4 |
| Abrazadera | 1 |
El uso de la máquina con una barra antivuelco modificada o dañada puede que no le proteja lo suficiente y puede sufrir lesiones o la muerte si se produce un vuelco.
No instale una barra antivuelco dañada o modificada en la máquina.
Sustituya la barra antivuelco si está dañada; no la repare ni la modifique.
Baje la barra anti-vuelco sobre los soportes de montaje de la unidad de tracción, alineando los taladros de montaje. Asegúrese de que el tubo de ventilación de la barra anti-vuelco está en el lado izquierdo de la máquina (Figura 6).

Fije cada lado de la barra antivuelco a los soportes de montaje con 2 pernos con arandela prensada y 2 contratuercas (Figura 6). Apriete las fijaciones a 81 N·m.
Fije la manguera de ventilación del tubo de combustible al tubo de ventilación de la barra anti-vuelco con la abrazadera.
Si se arranca el motor con la manguera de ventilación del tubo de combustible desconectado del tubo de ventilación, saldrá combustible de la manguera, lo que aumenta el riesgo de incendio o explosión. Un incendio o explosión de combustible puede quemarle a usted y a otras personas y causar daños materiales.
Conecte la manguera de ventilación del tubo de combustible al tubo de ventilación antes de arrancar el motor.
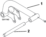
Piezas necesarias en este paso:
| Kit de brazo de elevación (kit opcional, se solicita por separado) | 1 |
Inserte una barra de giro en cada brazo de elevación y alinee los taladros de montaje (Figura 7).

Sujete las barras de giro a los brazos de elevación con 2 pernos (5/16" x ⅞").
Apriete los pernos a entre 37 y 45 N∙m.
En la parte delantera de la máquina, retire los 2 tornillos de caperuza con arandela prensada (½" x 2") que fijan el tirante del eje pivotante a los ejes pivotantes del brazo de elevación y retire el tirante (Figura 8
Note: Conserve el tirante del eje pivotante y los tornillos de caperuza.

Monte los brazos de elevación en los ejes pivotantes de los brazos de elevación, tal y como se muestra en la Figura 9.

Monte el tirante del eje pivotante en los ejes pivotantes de los brazos de elevación (Figura 9) con los 2 tornillos de caperuza con arandela prensada (½" x 2") que retiró en Preparación para instalar los brazos de elevación.
Apriete los tornillos de caperuza a 95 N∙m.
Tipo de grasa: grasa de litio n.º 2
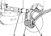
Alinee el extremo del tapón del cilindro de elevación con los taladros en las bridas del brazo de elevación izquierdo (Figura 10).

Monte el cilindro en las bridas con el pasador de montaje y 2 anillas a presión (Figura 10).
Aplique grasa de litio n.º 2 a los engrasadores del brazo de elevación y el cilindro hidráulico (Figura 10).
Tipo de grasa: grasa de litio n.º 2
Coloque un recipiente debajo de los acoplamientos hidráulicos del cilindro izquierdo (Figura 11).

En el cilindro de elevación, afloje el acoplamiento giratorio recto de la manguera de retorno y el acoplamiento giratorio de 90° de la manguera de elevación (Figura 12).

Coloque un trapo alrededor de los acoplamientos de las mangueras.
Mueva lentamente la varilla del cilindro de elevación hasta que quede alineada con los taladros en las bridas del brazo de elevación derecho (Figura 13).
Important: Parte del fluido hidráulico sale por los acoplamientos de la manguera al mover la varilla del cilindro de elevación.

Monte la varilla en las bridas con el pasador de montaje, 2 espaciadores y 2 anillas a presión (Figura 13).
Aplique grasa de litio n.º 2 a los engrasadores del brazo de elevación y el cilindro hidráulico (Figura 13).
Apriete los acoplamientos giratorios de las mangueras de retorno y elevación a entre 37 y 45 N·m.

Limpie el fluido hidráulico de la máquina.
Piezas necesarias en este paso:
| Unidad de corte (pieza opcional, se solicita por separado) | 3 |
Retire las unidades de corte de sus embalajes.
Ajuste las unidades de corte según lo indicado en el Manual del operador de las unidades de corte.
Note: Los bastidores de tiro delanteros son parte del kit de brazo de elevación opcional.
Alinee los taladros de las placas del bastidor de tiro delantero con los taladros de las placas de montaje de la unidad de corte (Figura 15).

Alinee una arandela entre la placa de tiro y el tirante (Figura 15), y monte provisionalmente las placas y el espaciador con un perno de cuello cuadrado (⅜" x 2¼"), una arandela y una contratuerca con arandela prensada (⅜").
Note: Si comienza el montaje en la parte trasera de la unidad de corte, utilice el taladro del medio de la placa.
Repita el paso 2 en los otros taladros de la placa y en los otros tirantes.
Apriete las contratuercas con arandela prensada a entre 37 y 45 N·m.
Repita los pasos 1 a 4 en la otra unidad de corte delantera y en el otro bastidor de tiro.
Note: El bastidor de tiro trasero es parte del kit de brazo de elevación opcional.
Alinee el taladro de las placas del bastidor de tiro trasero con los taladros de las placas de montaje de la unidad de corte.

Alinee una arandela entre la placa de tiro y el tirante (Figura 16), y monte provisionalmente las placas y el espaciador con un perno de cuello cuadrado (⅜" x 2¼"), una arandela y una contratuerca con arandela prensada (⅜").
Note: Si comienza el montaje en la parte trasera de la unidad de corte, utilice el taladro del medio de la placa.
Repita el paso 2 en los otros taladros de la placa y en los otros tirantes.
Apriete las contratuercas con arandela prensada a entre 37 y 45 N·m.
Note: Los bastidores de tiro delanteros son parte del kit de brazo de elevación opcional.
Alinee los taladros de las placas del bastidor de tiro delantero con los taladros de las placas de montaje de la unidad de corte (Figura 17).

Alinee un espaciador entre la placa de tiro y la placa de montaje (Figura 17), y monte provisionalmente las placas y el espaciador con un perno de cuello cuadrado (⅜" × 1¼") y una contratuerca con arandela prensada (⅜").
Note: Si comienza el montaje en la parte trasera de la unidad de corte, utilice los taladros del medio de cada placa.
Repita el paso 2 en los otros taladros de la placa.
Apriete las contratuercas con arandela prensada a entre 37 y 45 N·m.
Repita los pasos 1 a 4 en la otra unidad de corte delantera y en el otro bastidor de tiro.
Note: El bastidor de tiro trasero es parte del kit de brazo de elevación opcional.
Alinee los taladros de las placas del bastidor de tiro trasero con los taladros de las placas de montaje de la unidad de corte (Figura 13).

Alinee un espaciador entre la placa de tiro y la placa de montaje (Figura 14), y monte provisionalmente las placas y el espaciador con un perno de cuello cuadrado (⅜" × 1¼") y una contratuerca con arandela prensada (⅜").
Note: Si comienza el montaje en la parte trasera de la unidad de corte, utilice los taladros del medio de cada placa.
Repita el paso 2 en los otros taladros de la placa.
Apriete las contratuercas con arandela prensada a entre 37 y 45 N·m.
Deslice una arandela de empuje sobre la barra de giro de cada brazo de elevación delantero.
Deslice el bastidor de tiro de la unidad de corte sobre la barra de giro y fíjelo con un pasador de seguridad (Figura 19).
Note: En la unidad de corte trasera, coloque la arandela de empuje entre la parte trasera del bastidor de tiro y el pasador de seguridad.

Engrase todos los puntos de giro de los brazos de elevación y los bastidores de tiro.
Important: Asegúrese de que las mangueras no están dobladas, de que no tienen curvas muy cerradas y de que las mangueras de la unidad de corte trasera están colocadas según se muestra en Figura 20. Eleve las unidades de corte y desplácelas a la izquierda (Modelo 03171). Las mangueras de la unidad de corte trasera no deben entrar en contacto con el soporte del cable de tracción. Recoloque los acoplamientos y las mangueras si fuera necesario.

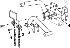
Pase una cadena de volteo por la ranura situada en el extremo de cada bastidor de tiro. Sujete la cadena de volteo a la parte superior del bastidor de tiro con un perno, una arandela, y una contratuerca (Figura 21).

Coloque las unidades de corte delante de las barras de giro de los brazos de elevación.
Retire el peso y la junta tórica (Figura 22) del extremo interior de la unidad de corte derecha.

Retire el tapón del alojamiento de cojinete del extremo exterior de la unidad de corte de la derecha, e instale los pesos y la junta.
Retire el tapón de transporte de los alojamientos de los cojinetes de las unidades de corte restantes.
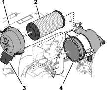
Inserte la junta tórica (suministrada con la unidad de corte) sobre la brida del motor de transmisión (Figura 23).

Monte el motor en el extremo de transmisión de la unidad de corte y fíjelo con 2 tornillos de caperuza suministrados con la unidad de corte (Figura 23).
Arranque el motor.
Eleve las unidades de corte.
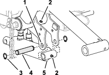
En las unidades de corte delanteras, mida la distancia entre el brazo de elevación izquierdo y el soporte de la chapa del suelo, y la del brazo de elevación derecho y el soporte de la chapa del suelo (Figura 24).
Note: El espacio correcto es de 5 a 8 mm. Si el espacio no se encuentra en este intervalo, ajuste el cilindro de elevación de la unidad de corte; consulte Ajuste de la distancia del brazo de elevación y Ajuste de los pernos de tope del brazo de elevación.
Important: La falta de distancia en el soporte de la placa delantera podría dañar los brazos de elevación.

En la unidad de corte trasera, mida la distancia entre la correa de desgaste en la parte superior de la barra de desgaste de la unidad de corte trasera y el tope de amortiguación Figura 25
Note: La distancia correcta es de 0,51 a 2,54 mm. Si la distancia no se encuentra en este intervalo, ajuste el cilindro de elevación de la unidad de corte; consulte Ajuste de la distancia de la unidad de corte trasera.
Important: La falta de distancia en la barra de desgaste trasera podría dañar la unidad de corte.

Arranque el motor, baje las carcasas izquierda y derecha, apague el motor, retire la llave y espere a que se detengan todas las piezas en movimiento.
A cada lado de la máquina, afloje las tuercas autoblocantes y haga retroceder los pernos del tope del brazo de elevación (Figura 26).

Afloje la tuerca autoblocante en la varilla del cilindro de elevación (Figura 27).

Retire el pasador del extremo de la varilla y gire la horquilla.
Instale el pasador y compruebe la holgura.
Repita los pasos 1 a 4 si es necesario.
Arranque el motor, eleve las unidades de corte, apague el motor, retire la llave y espere a que se detengan todas las piezas en movimiento.
Mida la distancia entre los brazos de elevación izquierdo y derecho y los soportes de la chapa del suelo.
Note: La distancia correcta es de 0,51 a 2,54 mm.
Repita los pasos 3 a 7 cuanto sea necesario.
Apriete la tuerca autoblocante de la horquilla.
Repita los pasos 2 a 9 en el otro lado de la máquina y, a continuación, realice el procedimiento Ajuste de los pernos de tope del brazo de elevación.
Important: La falta de distancia en los pernos de tope podría dañar los brazos de elevación.
Note: Si el brazo de elevación trasero baila durante el transporte, reduzca la holgura.
Arranque el motor, eleve las unidades de corte, apague el motor, retire la llave y espere a que se detengan todas las piezas en movimiento.
Ajuste el perno de tope hasta que mida de 0,13 a 1,02 mm entre el perno de tope y la placa del brazo de elevación.

Repita el paso 2 en el perno de tope del otro brazo de elevación.
Arranque el motor, baje las carcasas izquierda y derecha, apague el motor, retire la llave y espere a que se detengan todas las piezas en movimiento.
Afloje la tuerca autoblocante del cilindro de elevación (Figura 29).

Sujete la varilla del cilindro cerca de la tuerca con un alicate y un trapo, y gire la varilla.
Note: Al acortar la varilla se reduce la distancia de la correa de desgaste y el tope de amortiguación.
Arranque el motor.
Eleve las unidades de corte y mida la distancia entre la correa de desgaste en la parte superior de la barra de desgaste de la unidad de corte trasera y el tope de amortiguación.
La distancia correcta es de 0,51 a 2,54 mm.
Repita los pasos 1 a 4 cuanto sea necesario.
Baje las unidades de corte, apague el motor, retire la llave y espere a que se detengan todas las piezas en movimiento.
Apriete la contratuerca.
Ajuste la presión de aire de cada uno de los neumáticos; consulte Comprobación de la presión de los neumáticos.
Note: Los neumáticos se sobreinflan para el transporte.
Piezas necesarias en este paso:
| Seguro de cierre | 1 |
| Remache | 2 |
| Arandela | 1 |
| Tornillo (¼" x 2") | 1 |
| Contratuerca (¼") | 1 |
Desenganche el cierre del capó del cerradero del capó.
Retire los 2 remaches que sujetan el cerradero del capó al capó (Figura 30). Retire el cerradero del capó.

Alinee los taladros de montaje y posicione el cierre de seguridad para CE y el cerradero sobre el capó. El cierre de seguridad debe estar en contacto directo con el capó (Figura 31). No retire el conjunto de perno y tuerca del brazo del cierre de seguridad.

Alinee las arandelas con los taladros en el interior del capó.
Remache el seguro de cierre, el cerradero y las arandelas al capó (Figura 31).
Enganche el cierre en el cerradero del capó (Figura 32).

Enrosque el perno en el otro brazo del cierre de seguridad del capó para bloquear la posición del cierre (Figura 33).
Note: Apriete la tuerca y el perno hasta que el perno deje de moverse hacia delante y hacia atrás en el cierre de seguridad para CE.

Piezas necesarias en este paso:
| Protector del tubo de escape | 1 |
| Tornillo autorroscante | 4 |
Piezas necesarias en este paso:
| Pegatina de peligro de inclinación CE (140-7463) | 1 |
| Pegatina con el año de fabricación | 1 |
| Calcomanía CE | 1 |
Limpie con alcohol el bastidor izquierdo junto a la placa de modelo/número de serie y deje que se seque el bastidor (Figura 36).

Retire el reverso de la pegatina del año de producción y péguela en el bastidor, junto a la placa del número de serie, tal y como se muestra en la Figura 36.
Limpie con alcohol el bastidor izquierdo junto al cierre del capó y deje que se seque el bastidor (Figura 37).

Retire el reverso y coloque la pegatina CE en el bastidor, tal y como se muestra en la Figura 37.
Piezas necesarias en este paso:
| Kit de rodillo basculante (opcional) | 1 |
Al cortar con alturas de corte superiores, instale el Kit de rodillo basculante.
Eleve las unidades de corte a su altura máxima.
Localice el soporte del bastidor encima de la unidad de corte central (Figura 38).
Presione hacia abajo sobre el rodillo delantero de la unidad de corte central, y determine qué taladros del soporte basculante quedan alineados con los taladros del soporte del bastidor para obtener el mismo contacto del rodillo al instalarse el soporte basculante (Figura 38).

Baje las unidades de corte y monte el soporte basculante en el bastidor con los 2 pernos de cuello cuadrado y las 2 tuercas suministrados con el kit (Figura 38).


Pise el pedal de tracción hacia adelante (Figura 40) para desplazarse hacia adelante. Pise el pedal de tracción hacia atrás (Figura 40) para desplazarse hacia atrás o para ayudar a detener la máquina cuando vaya hacia adelante. También puede dejar que el pedal se desplace, o desplazarlo, a la posición de PUNTO MUERTO para detener la máquina.
Mueva con el talón la palanca de siega/transporte (Figura 40) a la izquierda, a la posición de TRANSPORTE, o bien a la derecha, a la posición de SIEGA.
Las unidades de corte solo funcionan cuando la palanca de siega/transporte está en la posición de SIEGA.
Las unidades de corte no se bajan cuando la palanca de siega/transporte está en la posición de TRANSPORTE.
Tire de la palanca de inclinación del volante (Figura 40) hacia atrás para mover el volante a la posición deseada. Luego empuje la palanca hacia adelante para fijar la posición.

Para bajar las unidades de corte al suelo, presione hacia delante la palanca de desplazamiento de la unidad de corte a la posición de BAJAR (Figura 41).
Note: Las unidades de corte no bajan a menos que el motor esté en marcha. No necesita sostener la palanca en la posición hacia delante mientras las unidades de corte están bajadas.
Para elevar las unidades de corte, tire hacia atrás de la palanca a la posición de ELEVAR.
Note: Los molinetes no funcionan mientras las unidades de corte esté elevadas.
El interruptor de transmisión de las unidades de corte (Figura 41) tiene dos posiciones: ENGRANAR y DESENGRANAR. El interruptor basculante acciona una válvula de solenoide del banco de válvulas para accionar las unidades de corte.
El indicador de presión del aceite (Figura 41) se enciende si la presión de aceite del motor cae por debajo de un nivel seguro.
El indicador de advertencia de temperatura (Figura 41) se enciende si la temperatura del refrigerante del motor es alta. A esta temperatura, las unidades de corte se apagan. Si la temperatura del refrigerante aumenta otros 5,5 °C, el motor se apaga para evitar daños mayores.
El contador de horas (Figura 41) muestra el número total de horas de operación de la máquina. El contador de horas empieza a funcionar cuando el interruptor de encendido se mueve a Conectado.
El indicador de la bujía (Figura 41) se ilumina cuando las bujías están encendidas.
Mueva el acelerador (Figura 41) hacia adelante para aumentar la velocidad del motor, y hacia atrás para reducir la velocidad.
La luz del alternador (Figura 41) se apaga cuando el motor está en marcha. Si la luz del alternador se ilumina cuando el motor está en marcha, compruebe el sistema de carga y repárelo si es necesario.
Utilice el interruptor de encendido (Figura 41) para poner en marcha el motor y las luces. El interruptor de encendido tiene 3 posiciones:
La posición de APAGADO apaga el motor.
La posición de MARCHA/PRECALENTAMIENTO deja el motor en marcha o precalienta la culata del motor.
La posición ARRANQUE enciende el arrancador.
Note: Cuando la llave está en la posición de MARCHA/PRECALENTAMIENTO, la bujía se enciende y el indicador se ilumina durante aproximadamente 7 segundos.
Mueva el bloqueo de la palanca de elevación (Figura 41) hacia atrás para impedir que desciendan las unidades de corte.
Cada vez que se apaga el motor, ponga el freno de estacionamiento (Figura 41) para evitar que la máquina se desplace accidentalmente. Para accionar el freno de estacionamiento, tire de la palanca hacia arriba y, para quitarlo, presione la palanca hacia abajo.
Note: El motor se apaga si se pisa el pedal de tracción con el freno de estacionamiento puesto.
El colector de la segadora está situado bajo la cubierta de la consola de control (Figura 42).

Utilice el mando de velocidad de los molinetes del colector de la segadora para ajustar la frecuencia de corte (velocidad de los molinetes) de las unidades de corte (Figura 42).
Gire el mando de velocidad de los molinetes en sentido antihorario para aumentar la velocidad de los molinetes.
Gire el mando en sentido horario para reducir la velocidad de los molinetes.
Consulte Frecuencia de corte (velocidad de los molinetes) y Ajuste de la velocidad de los molinetes para obtener información sobre cómo ajustar el control de velocidad de los molinetes.
La palanca de autoafilado controla la dirección en que giran las unidades de corte al segar o al realizar el autoafilado de los molinetes y las contracuchillas (Figura 42).
Gire la palanca de autoafilado a la posición F al segar.
Gire la palanca a la posición R al realizar el autoafilado de las unidades de corte.
Important: No cambie la posición del palanca de autoafilado cuando los molinetes estén girando.
El indicador de combustible (Figura 43) registra la cantidad de combustible que hay en el depósito.

Mueva la palanca (Figura 43) que está en el lado izquierdo del asiento hacia fuera, deslice el asiento hasta la posición deseada y suelte la palanca para fijar el asiento en esa posición.
Note: Las especificaciones y diseños están sujetos a modificación sin previo aviso.
| Anchura de transporte | 203 cm con anchura de corte de 183 cm234 cm con anchura de corte de 216 cm |
| Anchura de corte | 183 cm o 216 cm |
| Longitud | 248 cm |
| Altura | 193 cm con ROPS |
| Peso neto* | 844 kg |
| Capacidad del depósito de combustible | 28 litros |
| Velocidad de avance | Siega: 0 a 10 km/h; Transporte: 0 a 14 km/h. Marcha atrás: 0 a 6 km/h |
| * Con unidades de corte y fluidos | |
Se encuentra disponible una selección de aperos y accesorios homologados por Exmark que se pueden utilizar con la máquina con el fin de potenciar y aumentar sus prestaciones. Póngase en contacto con su servicio técnico autorizado o con su distribuidor Toro autorizado, o bien visite www.Toro.com para obtener una lista de todos los aperos y accesorios homologados.
Para asegurar un rendimiento óptimo y mantener la certificación de seguridad de la máquina, utilice solamente piezas y accesorios genuinos Toro. Las piezas de repuesto y accesorios de otros fabricantes podrían ser peligrosos, y su uso podría invalidar la garantía del producto.
Note: Los lados derecho e izquierdo de la máquina se determinan desde la posición normal del operador.
No deje nunca que la máquina sea utilizada o mantenida por niños o por personas que no hayan recibido la formación adecuada al respecto. La normativa local puede imponer límites sobre la edad del operador. El propietario es responsable de proporcionar formación a todos los operadores y mecánicos.
Familiarícese con la operación segura del equipo, los controles del operador y las señales de seguridad.
Antes de dejar el puesto del operador, realice lo siguiente:
Aparque la máquina en una superficie nivelada.
Desengrane y baje las unidades de corte.
Accione el freno de estacionamiento.
Apague el motor y retire la llave.
Espere a que se detenga todo movimiento.
Deje que la máquina se enfríe antes de realizar ajustes, tareas de mantenimiento y de limpieza o de guardarla.
Sepa cómo parar la máquina y apagar el motor rápidamente.
No utilice la máquina a menos que tenga instalados y estén en funcionamiento todos los protectores y otros dispositivos de seguridad.
Antes de segar, siempre inspeccione la máquina para asegurarse de que las unidades de corte están en buenas condiciones de funcionamiento.
Inspeccione la zona en la que va a utilizar la máquina y retire cualquier objeto que pudiera ser arrojado por la máquina.
Este producto genera un campo electromagnético. Si usted lleva un dispositivo médico electrónico implantable, consulte a su profesional sanitario antes de utilizar este producto.
Extreme las precauciones al manejar el combustible. Es inflamable y sus vapores son explosivos.
Apague cualquier cigarrillo, cigarro, pipa u otra fuente de ignición.
Utilice solamente un recipiente de combustible homologado.
No retire la tapa de combustible ni llene el depósito de combustible si el motor está en marcha o está caliente.
No añada ni drene combustible en un lugar cerrado.
No guarde la máquina o un recipiente de combustible en un lugar donde pudiera haber una llama desnuda, chispas o una llama piloto, por ejemplo en un calentador de agua u otro electrodoméstico.
Si se derrama combustible, no intente arrancar el motor; evite crear fuentes de ignición hasta que los vapores del combustible se hayan disipado.
Utilice únicamente combustible diésel limpio y nuevo con contenido sulfúrico ultrabajo (<15 ppm) o bajo (<1000 ppm). Compre el combustible en cantidades que puedan ser consumidas en 180 días para asegurarse de que el combustible es nuevo.
Important: Si utiliza diésel con alto contenido sulfúrico (contenido sulfúrico de 0,50 % (5000 ppm) a 1,0 % (10000 ppm)), cambie el aceite del motor y el filtro del motor cada 75 horas.
Utilice combustible diésel tipo verano (Nº 2-D) a temperaturas superiores a -7 °C y combustible tipo invierno (Nº 1-D o mezcla de Nº 1-D/2-D) a temperaturas inferiores a -7 °C. El uso de combustible tipo invierno a bajas temperaturas proporciona un punto de inflamación menor y unas características de flujo en frío que facilitan el arranque y reducen la obturación del filtro del combustible.
El uso de combustible tipo verano con temperaturas por encima de los -7 °C contribuirá a alargar la vida útil de la bomba de combustible y a incrementar la potencia en comparación con el combustible tipo invierno.
Esta máquina puede emplear también un combustible mezclado de biodiésel de hasta B20 (20% biodiésel, 80% petrodiésel). La parte de petrodiésel deberá ser baja o muy baja en azufre. Observe las siguientes precauciones:
La parte de biodiésel del combustible deberá cumplir con la especificación ASTM D6751 o EN 14214.
La composición del combustible mezclado deberá cumplir con ASTM D975 o EN 590.
Las mezclas de biodiésel pueden dañar las superficies pintadas.
Utilice B5 (contenido de biodiésel del 5 %) o mezclas menores cuando hace frío.
Vigile los retenes, las mangueras y las juntas que estén en contacto con el combustible porque pueden degradarse con el tiempo.
El filtro del combustible se puede obstruir durante cierto tiempo tras pasarse a las mezclas de biodiésel.
Consulte a su distribuidor si desea más información sobre mezclas de combustible biodiésel.
Capacidad del depósito de combustible: aproximadamente 28 litros
Aparque la máquina en una superficie nivelada, baje las unidades de corte, ponga el freno de estacionamiento, apague el motor y retire la llave.
Limpie la zona alrededor del tapón del depósito de combustible (Figura 44).

Retire el tapón del depósito de combustible.
Llene el depósito hasta la parte inferior del cuello de llenado.
Note: No llene el depósito de combustible en exceso.
Coloque el tapón.
Limpie cualquier combustible derramado.
| Intervalo de mantenimiento y servicio | Procedimiento de mantenimiento |
|---|---|
| Cada vez que se utilice o diariamente |
|
Antes de arrancar la máquina cada día, realice los procedimientos diarios indicados en .
| Intervalo de mantenimiento y servicio | Procedimiento de mantenimiento |
|---|---|
| Cada vez que se utilice o diariamente |
|
Si los interruptores de seguridad son desconectados o están dañados, la máquina podría ponerse en marcha inesperadamente, causando lesiones personales.
No manipule los interruptores de seguridad.
Compruebe la operación de los interruptores de seguridad cada día, y sustituya cualquier interruptor dañado antes de operar la máquina.
Important: Si su máquina no supera cualquiera de las comprobaciones de los interruptores de seguridad, póngase en contacto con su distribuidor autorizado Toro.
Conduzca la máquina lentamente a una zona abierta.
Baje las unidades de corte, apague el motor y ponga el freno de estacionamiento.
Siéntese en el asiento del operador.
Accione el freno de estacionamiento.
Ponga el interruptor de la transmisión de la unidad de corte en la posición de DESENGRANADA.
Pise el pedal de tracción.
Gire la llave a la posición de ARRANQUE.
Note: El motor de arranque no debe hacer girar el motor con el pedal de tracción pisado.
Siéntese en el asiento del operador.
Accione el freno de estacionamiento.
Ponga el interruptor de la transmisión de la unidad de corte en la posición de ENGRANADA.
No pise el pedal de tracción.
Gire la llave a la posición de ARRANQUE.
Note: El motor de arranque no debe hacer girar el motor con el interruptor de la transmisión de la unidad de corte en la posición ENGRANADA.
Siéntese en el asiento del operador.
Accione el freno de estacionamiento.
Ponga el interruptor de la transmisión de la unidad de corte en la posición de DESENGRANADA.
No pise el pedal de tracción.
Arranque el motor.
Quite el freno de estacionamiento.
Levántese del asiento del operador.
Note: El motor debe apagarse si está fuera del asiento del operador y el freno de estacionamiento está quitado.
Siéntese en el asiento del operador.
Accione el freno de estacionamiento.
Ponga el interruptor de la transmisión de la unidad de corte en la posición de DESENGRANADA.
No pise el pedal de tracción.
Arranque el motor.
Pise el pedal de tracción.
Note: El motor debe apagarse si el freno de estacionamiento está ENGRANADO y se está pisando el pedal de tracción.
Siéntese en el asiento del operador.
Accione el freno de estacionamiento.
Ponga el interruptor de la transmisión de la unidad de corte en la posición de DESENGRANADA.
No pise el pedal de tracción.
Arranque el motor.
Quite el freno de estacionamiento.
Levántese del asiento del operador.
Pise el pedal de tracción.
Note: El motor debe apagarse en 1 segundo si está fuera del asiento del operador y se pisa el pedal de tracción.
El propietario/operador puede prevenir y es responsable de cualquier accidente que pudiera provocar lesiones personales o daños materiales.
Lleve ropa adecuada, incluida protección ocular, pantalones largos, calzado resistente y antideslizante y protección auricular. Si tiene el pelo largo, recójaselo, y no lleve prendas o joyas sueltas.
No utilice la máquina si está enfermo, cansado o bajo la influencia de alcohol o drogas.
Preste toda su atención al utilizar la máquina. No realice ninguna actividad que genere distracciones, de lo contrario pueden producirse lesiones o daños en la propiedad.
Antes de arrancar el motor, asegúrese de que todas las transmisiones están en punto muerto, de que el freno estacionamiento está accionado y de que usted se encuentra en la posición del operador.
No lleve pasajeros en la máquina y mantenga a otras personas alejadas de la zona de trabajo.
Utilice la máquina únicamente con buena visibilidad para evitar agujeros y peligros ocultos.
Evite segar la hierba mojada. La reducción de la tracción podría hacer que la máquina se resbalara.
Mantenga las manos y los pies alejados de las unidades de corte.
Mire hacia atrás y hacia abajo antes de poner marcha atrás para asegurarse de que el camino está despejado.
Tenga cuidado al acercarse a esquinas ciegas, arbustos, árboles u otros objetos que puedan dificultar la visión.
Pare las unidades de corte si no está segando.
Vaya más despacio y tenga cuidado al girar y al cruzar calles y aceras con la máquina. Ceda el paso siempre.
Accione el motor únicamente en áreas bien ventiladas. Los gases de escape contienen monóxido de carbono, que resulta letal si se inhala.
No deje la máquina desatendida mientras esté funcionando.
Antes de dejar el puesto del operador, realice lo siguiente:
Aparque la máquina en una superficie nivelada.
Desengrane y baje las unidades de corte.
Accione el freno de estacionamiento.
Apague el motor y retire la llave.
Espere a que se detenga todo movimiento.
Deje que la máquina se enfríe antes de realizar ajustes, tareas de mantenimiento y de limpieza o de guardarla.
Utilice la máquina únicamente si existen condiciones meteorológicas y de visibilidad adecuadas. No utilice la máquina cuando exista riesgo de caída de rayos.
Utilice el control de crucero (si está instalado) únicamente cuando pueda utilizar la máquina en una zona abierta, llana y libre de obstáculos, y donde la máquina pueda desplazarse a una velocidad constante sin interrupción.
No retire ninguno de los componentes del ROPS de la máquina.
Asegúrese de abrocharse el cinturón de seguridad y de que puede desabrocharlo rápidamente en caso de emergencia.
Lleve puesto siempre el cinturón de seguridad.
Compruebe detenidamente si hay obstrucciones sobre la máquina y no entre en contacto con ellas.
Mantenga el ROPS en condiciones seguras de funcionamiento, inspeccionándolo periódicamente en busca de daños y manteniendo bien apretados todas las fijaciones de montaje.
Sustituya todos los componentes del ROPS dañados. No los repare ni los modifique.
Las pendientes son una de las principales causas de accidentes por pérdida de control y vuelcos, que pueden causar lesiones graves o la muerte. Usted es responsable de la seguridad cuando trabaja en pendientes. La conducción de la máquina en pendientes requiere extremar la precaución.
Evalúe las condiciones del lugar de trabajo para determinar si es seguro trabajar en la pendiente con la máquina; puede ser necesario realizar un estudio detallado de la zona. Aplique siempre el sentido común y un buen criterio a la hora de realizar esta valoración.
Revise las instrucciones sobre pendientes, que se indican a continuación, para conducir la máquina en pendientes. Antes de utilizar la máquina, revise las condiciones del lugar de trabajo para determinar si la máquina puede utilizarse en las condiciones reinantes en un día y un lugar determinados. Los cambios en el terreno pueden producir un cambio en el funcionamiento de la máquina en pendientes.
Evite arrancar, parar o girar la máquina en cuestas o pendientes. Evite realizar cambios bruscos de velocidad o de dirección. Realice giros de forma lenta y gradual.
No utilice la máquina en condiciones que puedan comprometer la tracción, la dirección o la estabilidad de la máquina.
Retire o señale obstrucciones como terraplenes, baches, surcos, montículos, rocas u otros peligros ocultos. La hierba alta puede ocultar obstrucciones. Un terreno irregular podría hacer volcar la máquina.
Tenga en cuenta que conducir en hierba mojada, atravesar pendientes empinadas, o bajar cuestas puede hacer que la máquina pierda tracción.
Extreme las precauciones cuando utilice la máquina cerca de terraplenes, fosas, taludes, obstáculos de agua u otros obstáculos. La máquina podría volcar repentinamente si una rueda pasa por el borde de un terraplén o fosa, o si se socava un talud. Establezca un área de seguridad entre la máquina y cualquier peligro.
Identifique peligros situados en la base de la pendiente. Si hay algún peligro, siegue la pendiente con una máquina controlada por un peatón.
Si es posible, mantenga las unidades de corte bajadas hasta el suelo al utilizar la máquina en pendientes. Si las unidades de corte se elevan en pendientes, la máquina puede desestabilizarse.
Note: Puede que necesite purgar el sistema de combustible si se ha producido alguna de las situaciones siguientes; consulte Purga del sistema de combustible:
Se trata del arranque inicial de un motor nuevo.
El motor se ha apagado por falta de combustible.
Ha realizado tareas de mantenimiento en componentes del sistema de combustible, como la sustitución del filtro de combustible.
Asegúrese de que el freno de estacionamiento está puesto y de que el interruptor de transmisión de los molinetes está en la posición de DESENGRANADO.
Retire el pie del pedal de tracción y asegúrese de que el pedal está en posición de PUNTO MUERTO.
Mueva el acelerador a la posición intermedia.
Introduzca la llave de contacto y gírela a la posición CONECTADO/PRECALENTAMIENTO hasta que se apague el indicador de la bujía (aproximadamente 7 segundos); luego gire la llave a la posición ARRANQUE para accionar el motor de arranque. Suelte la llave cuando el motor arranque.
Note: La llave se desplaza automáticamente a la posición de CONECTADO/MARCHA.
Important: Para evitar que se sobrecaliente el motor de arranque, no lo haga funcionar durante más de 15 segundos. Después de 10 segundos de arranque continuo, espere 60 segundos antes de utilizar el motor de arranque de nuevo.
Cuando se arranca el motor por primera vez, o después de realizar mantenimiento en el motor, haga funcionar la máquina en marcha adelante y marcha atrás durante uno o dos minutos. Accione también la palanca de elevación y el interruptor de transmisión de la unidad de corte para comprobar el funcionamiento correcto de todas las piezas.
Note: Gire el volante a la izquierda y a la derecha para comprobar la respuesta de la dirección; a continuación, pare el motor y compruebe que no haya fugas de aceite, piezas sueltas u otros signos de desgaste o daño.
La búsqueda de fugas de aceite, piezas sueltas u otros desperfectos podría causar lesiones.
Apague el motor y espere a que se detengan todas las piezas en movimiento antes de buscar fugas de aceite, piezas sueltas u otros desperfectos.
Mueva el control del acelerador a la posición de RALENTí.
Accione el freno de estacionamiento.
Ponga el interruptor de la transmisión de las unidades de corte en la posición de DESENGRANADO.
Baje las unidades de corte.
Apague el motor, retire la llave y espere a que se detengan todas las piezas en movimiento.
Desplace la máquina hasta el lugar del trabajo y colóquela fuera del área de corte para realizar el primer pase de corte.
Asegúrese de que el interruptor de la transmisión de las unidades de corte está hacia arriba (posición de DESENGRANADO); Interruptor de la transmisión de las unidades de corte.
Mueva el acelerador a la posición de RáPIDO; consulte Acelerador.
Utilice la palanca de desplazamiento de las unidades de corte para bajar las unidades de corte al suelo; consulte Palanca de desplazamiento de la unidad de corte – Elevar/bajar.
Presione el interruptor de la transmisión de las unidades de corte para preparar las unidades de corte para la operación (posición de ENGRANADO).
Utilice la palanca de desplazamiento de las unidades de corte para levantar las unidades de corte del suelo.
Comience moviendo la máquina hacia el área de corte y baje las unidades de corte.
Note: Las unidades de corte se ponen en marcha.
Antes de llegar al punto de giro, tire hacia atrás de la palanca de desplazamiento de las unidades de corte, sólo lo suficiente para elevar las unidades de corte, y suelte la palanca de control.
Important: No sujete hacia atrás la palanca de desplazamiento de las unidades de corte durante el giro.
Realice un giro en forma de lágrima para alinearse rápidamente para la siguiente pasada.
Ponga el interruptor de la transmisión de las unidades de corte en la posición de DESENGRANADA.
Eleve las unidades de corte a la posición de transporte.
Mueva la palanca de siega/transporte a la izquierda, hasta la posición de TRANSPORTE.

Important: Tenga cuidado al conducir entre objetos para no dañar accidentalmente la máquina ni las unidades de corte. Tenga un cuidado especial al utilizar la máquina en pendientes. Conduzca lentamente y evite giros cerrados en pendientes para evitar vuelcos.
Note: No puede bajar las unidades de corte mientras utiliza la máquina en el modo de transporte.
Para obtener una calidad de corte alta y constante, y un aspecto uniforme después de la siega, es importante ajustar la velocidad del molinete según la altura de corte.
Important: Si la velocidad del molinete es demasiado lenta, es posible que se observen marcas en el césped cortado. Si la velocidad del molinete es demasiado rápida, el corte no será limpio.
| Molinete de 5 cuchillas | Molinete de 8 cuchillas | Molinete de 11 cuchillas | |||||
|---|---|---|---|---|---|---|---|
| Altura de Corte | 8 km/h | 9,6 km/h | 8 km/h | 9,6 km/h | 8 km/h | 9,6 km/h | |
| 63,5 mm | 2½" | 3 | 3 | 3* | 3* | – | – |
| 60,3 mm | 2⅜" | 3 | 4 | 3* | 3* | – | – |
| 57,2 mm | 2¼" | 3 | 4 | 3* | 3* | – | – |
| 54,0 mm | 2⅛" | 3 | 4 | 3* | 3* | – | – |
| 50,8 mm | 2" | 3 | 4 | 3* | 3* | – | – |
| 47,6 mm | 1⅞" | 4 | 5 | 3* | 3* | – | – |
| 44,5 mm | 1¾" | 4 | 5 | 3* | 3* | – | – |
| 41,3 mm | 1⅝" | 5 | 6 | 3* | 3* | – | – |
| 38,1 mm | 1½" | 5 | 7 | 3 | 4 | – | – |
| 34,9 mm | 1⅜" | 5 | 8 | 3 | 4 | – | – |
| 31,8 mm | 1¼" | 6 | 9 | 4 | 4 | – | – |
| 28,8 mm | 1⅛" | 8 | 9* | 4 | 5 | – | – |
| 25 mm | 1" | 9 | 9* | 5 | 6 | – | – |
| 22,2 mm | ⅞" | 9* | 9* | 5 | 7 | – | – |
| 19.1 mm | ¾" | 9* | 9* | 7 | 9 | 6 | 7 |
| 15.9 mm | ⅝" | 9* | 9* | 9 | 9* | 7 | 7 |
| 12,7 mm | ½" | 9* | 9* | 9 | 9* | 8 | 8 |
| 9.5 mm | ⅜" | 9* | 9* | 9 | 9* | 9 | 9 |
|
* Toro no recomienda esta altura de corte y/o velocidad de siega. |
|||||||
|
Note: Cuanto más alto sea el número, mayor será la velocidad. |
|||||||
Compruebe el ajuste de altura de corte de las unidades de corte. Usando la columna de la Tabla de selección de la velocidad de los molinetes correspondiente a molinetes de 5, 8 u 11 cuchillas, localice la altura de corte más próxima a la altura de corte real. Busque en la tabla el número de la velocidad de molinete que corresponde a dicha altura de corte.
Retire la cubierta del brazo de control (Figura 46).

Gire el pomo de control de velocidad de los molinetes (Figura 47) al número de velocidad de los molinetes determinado en el Paso 1.

Coloque la cubierta en el brazo de control.
Trabaje con la máquina durante varios días, luego examine el corte para asegurarse de que la calidad es satisfactoria. El pomo de velocidad de los molinetes puede ajustarse un número más arriba o más abajo del número de velocidad de los molinetes indicado en la tabla para compensar diferencias en la condición del césped, la longitud de la hierba cortada, y la preferencia personal.
Aparque la máquina en una superficie nivelada, baje las unidades de corte, ponga el freno de estacionamiento, apague el motor y retire la llave.
Asegúrese de que el depósito de combustible está al menos medio lleno.
Desenganche y levante el capó.
Abra el tornillo de purga de aire de la bomba de inyección de combustible (Figura 48).

Ponga la llave de contacto en posición CONECTADO.
La bomba de combustible eléctrica se pone en marcha, forzando la salida de aire alrededor del tornillo de purga de aire.
Note: Deje la llave en posición de CONECTADO hasta que fluya una corriente continua de combustible alrededor del tornillo.
Apriete el tornillo y gire la llave de encendido a DESCONECTADO.
Note: El motor debe arrancar tras seguir el procedimiento indicado anteriormente. No obstante, si el motor no arranca, es posible que haya aire atrapado entre la bomba de inyección y los inyectores; consulte Purga de aire de los inyectores.
Para empezar a cortar, engrane las unidades de corte, y acérquese lentamente a la zona de siega. Cuando las unidades de corte delanteras entren en la zona de siega, baje las unidades de corte.
Para lograr un corte en línea recta y un rayado profesional, deseable para algunas aplicaciones, busque un árbol u otro objeto distante y conduzca directamente hacia él.
En cuanto las unidades de corte delanteras lleguen al borde de la zona de siega, eleve las unidades de corte y gire en forma de lágrima para alinearse rápidamente para la siguiente pasada.
Las unidades de corte tienden a expulsar hierba hacia la parte delantera o trasera de la máquina. Debe elegirse la descarga hacia adelante al cortar cantidad pequeñas de hierba, para mejorar el aspecto después del corte. Para descargar los recortes hacia adelante, simplemente cierre el deflector trasero de las unidades de corte.
Para evitar lesiones personales o daños en la máquina, no abra o retire las protecciones de seguridad mientras el motor esté en marcha.
Pare el motor y espere a que se detengan todas las piezas en movimiento antes de abrir o cerrar los deflectores de las unidades de corte.
Al cortar cantidades de hierba mayores, coloque los deflectores justo por debajo de la horizontal. No abra los deflectores demasiado, o puede haber una acumulación excesiva de recortes en el bastidor, la rejilla del radiador y la zona del motor.
Las unidades de corte también están equipadas de contrapesos, en el extremo que no lleva el motor, para proporcionar un corte homogéneo. Usted puede añadir o quitar pesos si se observa un corte desigual del césped.
Aparque la máquina en una superficie nivelada.
Desengrane y baje las unidades de corte.
Accione el freno de estacionamiento.
Apague el motor y retire la llave.
Espere a que se detenga todo movimiento.
Deje que la máquina se enfríe antes de realizar ajustes, tareas de mantenimiento y de limpieza o de guardarla.
Para ayudar a prevenir incendios, asegúrese de que las unidades de corte, las transmisiones, los silenciadores, las rejillas de refrigeración y el compartimento del motor están libres de acumulaciones de hierba y residuos. Limpie cualquier aceite o combustible derramado.
Desengrane la transmisión al accesorio siempre que transporte la máquina o no la esté utilizando.
Realice el mantenimiento de los cinturones y límpielos cuando sea necesario.
No guarde la máquina o un recipiente de combustible en un lugar donde pudiera haber una llama desnuda, chispas o una llama piloto, por ejemplo en un calentador de agua u otro electrodoméstico.
Lave y engrase la máquina; consulte Cómo lavar la máquina y Engrasado de cojinetes y casquillos.
En caso de emergencia, es posible remolcar la máquina una corta distancia; no obstante, Exmark no recomienda esto como procedimiento de serie.
Important: No remolque la máquina a una velocidad mayor que 3–4 km/h porque puede dañarse el sistema de transmisión. Si es necesario trasladar la máquina una distancia considerable, transpórtela sobre un camión o un remolque.
Desenganche y abra el capó.
Junto al cierre derecho del capó, gire la palanca de la válvula de desvío en la bomba (Figura 49) y gire la válvula 90°.

Cierre y enganche el capó.
Conecte el vehículo de remolque a la máquina en los puntos de amarre; consulte Identificación de los puntos de amarre.
Siéntese en el asiento del operador y, si es necesario, utilice el freno de estacionamiento para controlar la máquina mientras se remolca.
Important: No arranque el motor mientras la válvula de desvío esté abierta.
Antes de arrancar el motor, cierre la válvula de desvío girándola 90° (¼ de vuelta).

Utilice rampas de ancho completo para cargar la máquina en un remolque o un camión.
Amarre la máquina firmemente.
Note: Los lados derecho e izquierdo de la máquina se determinan desde la posición normal del operador.
Note: Para descargar una copia gratuita del esquema eléctrico o hidráulico, visite www.toro.com y busque su máquina en el enlace Manuales de la página de inicio.
Important: Consulte en el Manual del operador del motor y de la unidad de corte los procedimientos adicionales de mantenimiento. Seguridad en el mantenimiento
Antes de dejar el puesto del operador, realice lo siguiente:
Aparque la máquina en una superficie nivelada.
Desengrane y baje las unidades de corte.
Accione el freno de estacionamiento.
Apague el motor y retire la llave.
Espere a que se detenga todo movimiento.
Deje que la máquina se enfríe antes de realizar ajustes, tareas de mantenimiento y de limpieza o de guardarla.
Lleve ropa adecuada, incluyendo protección ocular, pantalón largo y calzado resistente y antideslizante. Mantenga las manos, los pies, las joyas y el pelo largo alejados de las piezas en movimiento.
Deje que los componentes de la máquina se enfríen antes de realizar el mantenimiento.
Si es posible, no realice tareas de mantenimiento con el motor en marcha. Manténgase alejado de las piezas en movimiento.
Accione el motor únicamente en áreas bien ventiladas. Los gases de escape contienen monóxido de carbono, que resulta letal si se inhala.
Apoye la máquina con caballetes siempre que trabaje debajo de la máquina.
Alivie con cuidado la tensión de aquellos componentes que tengan energía almacenada.
Mantenga todas las piezas en buen estado de funcionamiento y todos los herrajes bien apretados.
Sustituya cualquier calcomanía desgastada o deteriorada.
Para garantizar un rendimiento seguro y óptimo de la máquina, utilice únicamente piezas de repuesto genuinas Toro. Las piezas de repuesto de otros fabricantes podrían ser peligrosas y su uso podría invalidar la garantía del producto.
| Intervalo de mantenimiento y servicio | Procedimiento de mantenimiento |
|---|---|
| Después de la primera hora |
|
| Después de las primeras 10 horas |
|
| Después de las primeras 50 horas |
|
| Cada vez que se utilice o diariamente |
|
| Cada 25 horas |
|
| Cada 50 horas |
|
| Cada 100 horas |
|
| Cada 150 horas |
|
| Cada 200 horas |
|
| Cada 400 horas |
|
| Cada 500 horas |
|
| Cada 800 horas |
|
| Cada 1000 horas |
|
| Cada 2000 horas |
|
| Cada 2 años |
|
Duplique esta página para su uso rutinario.
| Elemento a comprobar | Para la semana de: | ||||||
|---|---|---|---|---|---|---|---|
| Lun. | Mar. | Miér. | Jue. | Vie. | Sáb. | Dom. | |
| Compruebe el funcionamiento de los interruptores de seguridad. | |||||||
| Compruebe el funcionamiento de los frenos. | |||||||
| Compruebe el nivel de combustible. | |||||||
| Compruebe el nivel de aceite del motor. | |||||||
| Compruebe el nivel del fluido del sistema de refrigeración. | |||||||
| Drene el separador de agua/combustible. | |||||||
| Compruebe el filtro de aire, la tapa del filtro y la válvula de alivio | |||||||
| Compruebe que no hay ruidos extraños en el motor.1 | |||||||
| Compruebe que el radiador y la rejilla están libres de residuos | |||||||
| Compruebe que no hay ruidos extraños de operación. | |||||||
| Compruebe el nivel del aceite del sistema hidráulico. | |||||||
| Compruebe que las mangueras hidráulicas no están dañadas. | |||||||
| Compruebe que no hay fugas de fluidos. | |||||||
| Compruebe el nivel de combustible. | |||||||
| Compruebe la presión de los neumáticos. | |||||||
| Compruebe la operación de los instrumentos. | |||||||
| Compruebe el ajuste del contacto molinete-contracuchilla. | |||||||
| Compruebe el ajuste de altura de corte. | |||||||
| Lubrique todos los engrasadores.2 | |||||||
| Retoque cualquier pintura dañada. | |||||||
| Lave la máquina. | |||||||
|
1Compruebe las bujías y las boquillas de los inyectores en caso de dificultad para arrancar, exceso de humo o funcionamiento irregular. 2Inmediatamente después de cada lavado, aunque no corresponda a los intervalos citados. |
|||||||
| Inspección realizada por: | ||
| Elemento | Fecha | Información |
| 1 | ||
| 2 | ||
| 3 | ||
| 4 | ||
| 5 | ||
Aparque la máquina en una superficie nivelada.
Baje las unidades de corte.
Accione el freno de estacionamiento.
Apague el motor y retire la llave.
Espere a que se detengan todas las piezas.
Calce los neumáticos.
Eleve con un gato la parte delantera de la máquina bajo el tubo cuadrado del bastidor inferior lo más cerca posible de la placa lateral.

Apoye la máquina con soportes con capacidad nominal suficiente para el peso de la máquina bajo el tubo cuadrado o los motores de las ruedas; consulte Especificaciones.
Calce los neumáticos.
Fije la grúa al punto de amarre de la horquilla de la rueda trasera (Figura 52).

Eleve la máquina con cuidado.
Apoye la máquina con soportes con capacidad nominal suficiente para el peso de la máquina bajo el bastidor; consulte Especificaciones.
Calce los neumáticos.
Eleve con un gato la parte trasera de la máquina bajo el motor de las ruedas traseras (Figura 63).

Apoye la máquina con soportes con capacidad nominal suficiente para el peso de la máquina bajo el bastidor; consulte Especificaciones.
Retire los 2 pomos que sujetan la tapa de la batería a la máquina, y retire la tapa (Figura 50).

| Intervalo de mantenimiento y servicio | Procedimiento de mantenimiento |
|---|---|
| Cada 50 horas |
|
| Cada 500 horas |
|
Especificación de grasa: grasa de litio Nº 2
La máquina tiene puntos de engrase que deben lubricarse con frecuencia. En condiciones de polvo y suciedad, podría entrar suciedad en los cojinetes y casquillos, provocando un desgaste acelerado. Lubrique los puntos de engrase inmediatamente después de cada lavado, aunque no corresponda a los intervalos citados.
La ubicación de los puntos de engrase y las cantidades requeridas son:
Pivote de la unidad de corte trasera (Figura 57)

Pivote de la unidad de corte delantera (Figura 58)

Pivote de dirección (Figura 59)

Pivote y cilindro de elevación del brazo de elevación trasero (2) (Figura 60)

Pivote y cilindro de elevación del brazo de elevación delantero izquierdo (2) (Figura 61)

Pivote y cilindro de elevación del brazo de elevación delantero derecho (2) (Figura 62)

Mecanismo de ajuste de punto muerto (Figura 63)

Mando segar/transportar (Figura 64)

Pivote tensor de la correa (Figura 65)

Los cojinetes no suelen fallar debido a defectos de materiales o mano de obra. La razón más común de los fallos es el paso de humedad y contaminación a través de las juntas protectoras y retenes. Los cojinetes engrasables necesitan un mantenimiento regular para purgar residuos dañinos de la zona de los cojinetes. Los cojinetes sellados dependen de un relleno inicial de grasa especial y una junta integrada robusta para alejar contaminantes y humedad de los elementos rodantes.
Los cojinetes sellados no requieren lubricación ni mantenimiento a corto plazo. De esta manera se minimiza el mantenimiento rutinario necesario, y se reduce la posibilidad de daños al césped debidos a contaminación con grasa. Estos paquetes de cojinetes sellados proporcionan buenas prestaciones y una vida útil larga en condiciones de uso normales, pero deben realizarse inspecciones periódicas de la condición de los cojinetes y la integridad de las juntas a fin de evitar averías. Inspeccione los cojinetes cada temporada, y sustitúyalos si están dañados o desgastados. Los cojinetes deben funcionar perfectamente sin características negativas tales como alto calor, ruido, holgura o señales de corrosión (óxido).
Debido a las condiciones de uso a las que están sometidos estos paquetes de cojinete/junta (es decir, arena, productos químicos usados en el tratamiento del césped, agua, impactos, etc.) se consideran como componentes sujetos a desgaste normal. Los cojinetes que sufren averías no atribuibles a defectos de materiales o de mano de obra no están cubiertos normalmente por la garantía.
Note: La vida de los cojinetes puede verse afectada negativamente por procedimientos de lavado inadecuados. No lave la máquina mientras está aún caliente, y evite dirigir chorros de agua a alta presión o en grandes volúmenes a los cojinetes.
Apague el motor antes de comprobar el aceite o añadir aceite al cárter.
No cambie la velocidad del regulador ni haga funcionar el motor a una velocidad excesiva.
Utilice aceite de motor de alta calidad y bajo contenido en ceniza que cumpla o supere las especificaciones siguientes:
|
ACEA – E6 |
|
API – CH-4 o superior |
|
JASO – DH-2 |
Viscosidad de aceite de preferencia: SAE 15W-40 (por encima de los -17 ºC)
Viscosidad de aceite alternativa: SAE 10W-30 o 5W-30 (todas las temperaturas)
Su distribuidor autorizado Toro dispone de aceite para motores Toro Premium, de viscosidad 15W-40 o 10W-30.
| Intervalo de mantenimiento y servicio | Procedimiento de mantenimiento |
|---|---|
| Cada vez que se utilice o diariamente |
|
El motor se suministra con aceite en el cárter; sin embargo, es necesario comprobar el nivel de aceite antes y después de la primera puesta en marcha del motor.
Note: Su distribuidor dispone de aceite para motores Exmark Premium de viscosidad 15W-40 o 10W-30. Consulte los números de pieza en el catálogo de piezas.
Note: El mejor momento para comprobar el aceite del motor es cuando el motor está frío, antes de arrancarlo al principio de la jornada. Si ya se ha arrancado, deje que el aceite se drene al cárter durante al menos 10 minutos antes de comprobar el nivel. Si el nivel del aceite está en o por debajo de la marca "añadir" de la varilla, añada aceite hasta que el nivel llegue a la marca "lleno". No llene demasiado.Si el nivel del aceite está entre las marcas de lleno y añadir, no es necesario añadir aceite.
Prepare la máquina para el mantenimiento; consulte Preparación para el mantenimiento.
Desenganche y abra el capó.
Retire la varilla (Figura 66) y límpiela con un paño limpio.

Introduzca la varilla en el tubo asegurándose de que entre a tope, luego retírela y compruebe el nivel de aceite.
Si el nivel de aceite es bajo, retire el tapón de llenado (Figura 67) y añada poco a poco pequeñas cantidades de aceite, comprobando el nivel frecuentemente, hasta que el nivel llegue a la marca de lleno de la varilla.
Important: Mantenga el nivel del aceite del motor entre los límites superior e inferior de la varilla. Si el nivel de aceite del motor es excesivo o insuficiente, se pueden producir graves daños en el motor.

Instale el tapón de llenado y la varilla.
Cierre y enganche el capó.
| Intervalo de mantenimiento y servicio | Procedimiento de mantenimiento |
|---|---|
| Después de las primeras 50 horas |
|
| Cada 150 horas |
|
Capacidad del cárter: 3,8 litros aproximadamente con el filtro
Prepare la máquina para el mantenimiento; consulte Preparación para el mantenimiento.
Desenganche y abra el capó, y espere a que el motor se enfríe.
Retire cualquiera de los tapones de vaciado (Figura 68) y deje fluir el aceite a un recipiente apropiado; cuando todo el aceite se haya drenado, instale el tapón de vaciado.

Retire el filtro de aceite (Figura 69).

Aplique una capa ligera de aceite limpio a la junta del filtro nuevo e instale el filtro de aceite.
Note: No apriete el filtro demasiado.
Añada aceite al cárter; consulte Especificación del aceite del motor y Comprobación del nivel de aceite del motor.
Cierre y enganche el capó.
| Intervalo de mantenimiento y servicio | Procedimiento de mantenimiento |
|---|---|
| Cada 200 horas |
|
Inspeccione la carcasa del limpiador de aire por si hubiera daños que pudieran causar una fuga de aire. Cámbielo si está dañado. Compruebe todo el sistema de admisión en busca de fugas, daños o abrazaderas sueltas.
Realice el mantenimiento del limpiador de aire en el intervalo de mantenimiento recomendado, o antes si el rendimiento del motor se reduce debido a condiciones extremas de suciedad o polvo. El cambiar el filtro antes de que sea necesario sólo aumenta la posibilidad de que entre suciedad en el motor al retirar el filtro.
Asegúrese de que la tapa está bien asentada y que hace un buen sello con la carcasa del limpiador de aire.
Prepare la máquina para el mantenimiento; consulte Preparación para el mantenimiento.
Abra el capó.
Abra los enganches que sujetan la tapa del limpiador de aire a la carcasa del limpiador de aire (Figura 70).

Retire la tapa de la carcasa del limpiador de aire.
Antes de retirar el filtro, utilice aire a baja presión (2,76 bar, limpio y seco) para ayudar a retirar cualquier acumulación importante de residuos aprisionada entre el exterior del filtro primario y el cartucho. Evite utilizar aire a alta presión, porque podría obligar a la suciedad a penetrar a través del filtro a la entrada. Este proceso de limpieza evita que los residuos migren a la entrada de aire al retirar el filtro primario.
Retire el elemento del filtro (Figura 70).
Note: La limpieza del elemento usado puede dañar el medio filtrante.
Retire la válvula de salida de goma (Figura 70) del orificio de expulsión de suciedad de la cubierta del limpiador de aire.
Limpie la válvula de salida y de expulsión e instale la válvula de salida en el orificio.
Asegúrese de que el filtro nuevo no ha sido dañado durante el transporte, y compruebe el extremo sellante del filtro y la carcasa.
Important: No utilice el elemento si está dañado.
Introduzca el filtro nuevo presionando el borde exterior del elemento para asentarlo en el cartucho.
Important: No aplique presión al centro flexible del filtro.
Instale la tapa orientando la válvula de salida de goma hacia abajo - aproximadamente entre las 5 y las 7, visto desde el extremo.
Fije la cubierta con los 2 cierres.
Cierre y enganche el capó.
| Intervalo de mantenimiento y servicio | Procedimiento de mantenimiento |
|---|---|
| Cada 2 años |
|
Prepare la máquina para el mantenimiento; consulte Preparación para el mantenimiento.
Drene y limpie el depósito si se contamina el sistema de combustible o si la máquina debe almacenarse durante un periodo de tiempo prolongado. Utilice combustible limpio para enjuagar el depósito.
| Intervalo de mantenimiento y servicio | Procedimiento de mantenimiento |
|---|---|
| Cada 400 horas |
|
Prepare la máquina para el mantenimiento; consulte Preparación para el mantenimiento.
Desenganche y abra el capó.
Compruebe que los tubos de combustible y los acoplamientos no estén deteriorados o dañados, y que las conexiones no estén sueltas.
Note: Repare o sustituya cualquier tubo de combustible o acoplamiento dañado o desgastado.
Cierre y enganche el capó.
| Intervalo de mantenimiento y servicio | Procedimiento de mantenimiento |
|---|---|
| Cada vez que se utilice o diariamente |
|
Prepare la máquina para el mantenimiento; consulte Preparación para el mantenimiento.
Desenganche y abra el capó, y espere a que el motor se enfríe.
Coloque un recipiente limpio debajo del filtro de combustible.
Afloje la válvula de vaciado en la parte inferior del cartucho del filtro (Figura 71).

Apriete la válvula después del vaciado.
Arranque el motor, compruebe que no haya fugas y apague el motor.
Note: Repare todas las fugas de combustible.
Cierre y enganche el capó.
| Intervalo de mantenimiento y servicio | Procedimiento de mantenimiento |
|---|---|
| Cada 400 horas |
|
Prepare la máquina para el mantenimiento; consulte Preparación para el mantenimiento.
Desenganche y abra el capó, y espere a que el motor se enfríe.
Limpie la zona de montaje del cartucho del filtro (Figura 71).
Retire el cartucho del filtro y limpie la superficie de montaje.
Lubrique la junta del cartucho del filtro con aceite limpio.
Instale el cartucho del filtro a mano hasta que la junta entre en contacto con la superficie de montaje, luego gírelo media vuelta más.
Arranque el motor, compruebe que no haya fugas y apague el motor.
Note: Repare todas las fugas de combustible.
Cierre y enganche el capó.
Note: Utilice este procedimiento sólo si el sistema de combustible ha sido purgado de aire con los procedimientos normales y el motor no arranca; consulte Purga del sistema de combustible.
Cuando sea posible, realice cada paso en Preparación para el mantenimiento.
Desenganche y abra el capó y, si el motor está caliente, espere a que se enfríe.
Afloje la tuerca del tubo de combustible a la boquilla del inyector de combustible n.º 1.

Mueva el acelerador a RáPIDO.
Gire la llave de contacto a la posición de ARRANQUE y observe el flujo de combustible alrededor del conector. Gire la llave a la posición de DESCONECTADO cuando haya un flujo continuo.
Important: Para evitar que se sobrecaliente el motor de arranque, no lo haga funcionar más de 15 segundos. Después de 10 segundos de arranque continuo, espere 60 segundos antes de utilizar el motor de arranque de nuevo.
Apriete firmemente la tuerca del tubo.
Limpie cualquier combustible residual del motor.
Repita los pasos 3 a 7 en las boquillas de inyectores de combustible restantes.
Arranque el motor, compruebe que no haya fugas y apague el motor.
Note: Repare todas las fugas de combustible.
Cierre y enganche el capó.
Desconecte la batería antes de reparar la máquina. Desconecte primero el terminal negativo y luego el positivo. Conecte primero el terminal positivo y luego el negativo.
Cargue la batería en una zona abierta y bien ventilada, lejos de chispas y llamas. Desenchufe el cargador antes de conectar o desconectar la batería. Lleve ropa protectora y utilice herramientas aisladas.
| Intervalo de mantenimiento y servicio | Procedimiento de mantenimiento |
|---|---|
| Cada 25 horas |
|
El electrolito de la batería contiene ácido sulfúrico, que es letal si se ingiere y causa quemaduras graves.
No beba electrolito y evite el contacto con la piel, los ojos y la ropa. Lleve protección ocular y guantes de goma.
Llene la batería en un lugar que tenga disponible agua limpia para enjuagar la piel.
Un enrutado incorrecto de los cables de la batería podría dañar el tractor y los cables, causando chispas. Las chispas podrían hacer explotar los gases de la batería, causando lesiones personales.
Desconecte siempre el cable negativo (negro) de la batería antes de desconectar el cable positivo (rojo).
Conecte siempre el cable positivo (rojo) de la batería antes de conectar el cable negativo (negro).
Prepare la máquina para el mantenimiento; consulte Preparación para el mantenimiento.
Retire la cubierta de la batería; consulte Retirada de la tapa de la batería.
Retire los tapones de llenado de la batería.
Mantenga el nivel de electrolito de la batería en las celdas de las baterías con agua destilada o desmineralizada.
Note: No llene las celdas por encima de la parte inferior de la anilla que hay dentro de cada celda.
Instale los tapones de llenado con los orificios de ventilación hacia atrás (hacia el depósito de combustible).
Limpie la superficie superior de la batería lavándola periódicamente con una brocha mojada en una solución de amoniaco o bicarbonato. Enjuague la superficie con agua después de limpiarla.
Important: No retire los tapones de llenado durante la limpieza.
Compruebe si presentan signos de corrosión las abrazaderas de los cables y los bornes de la batería. Si hay corrosión, haga lo siguiente:
Desconecte el cable negativo (–) de la batería.
Desconecte el cable positivo (+) de la batería.
Limpie por separado las abrazaderas y los bornes.
Conecte al cable positivo (+) de la batería.
Conecte el cable negativo (–) de la batería.
Cubra las abrazaderas y los terminales con protector de terminales de batería.
Compruebe que las abrazaderas de la batería estén apretadas en los bornes de la batería.
Coloque la tapa de la batería.
Note: Almacene la máquina en un lugar más bien fresco para evitar que la batería se descargue más rápidamente.
Prepare la máquina para el mantenimiento; consulte Preparación para el mantenimiento.
Retire la cubierta del brazo de control (Figura 73).

Localice el fusible fundido en el portafusibles o en el bloque de fusibles (Figura 73).
Cambie el fusible por un otro del mismo tipo y amperaje.
Monte la cubierta en el brazo de control (Figura 73).
| Intervalo de mantenimiento y servicio | Procedimiento de mantenimiento |
|---|---|
| Cada vez que se utilice o diariamente |
|
Si la presión de los neumáticos es baja, se reduce la estabilidad en pendientes laterales. Esto podría causar un vuelco, que podría dar lugar a lesiones personales o la muerte.
No use los neumáticos con presiones menores que las recomendadas.
Note: Mantenga la presión recomendada de todos los neumáticos para asegurar una buena calidad de corte y un rendimiento correcto de la máquina.
Mida la presión de aire en cada neumático. La presión correcta de los neumáticos es de 0,97 a 1,10 bar (14 a 16 psi).
Si es necesario, añada o elimine aire en los neumáticos hasta que llegue a entre 0,97 y 1,10 bar (14 y 16 psi).
| Intervalo de mantenimiento y servicio | Procedimiento de mantenimiento |
|---|---|
| Después de la primera hora |
|
| Después de las primeras 10 horas |
|
| Cada 200 horas |
|
Apriete las tuercas de las ruedas en un patrón cruzado a 61-88 N∙m.
Si no se mantienen correctamente apretadas las tuercas de las ruedas, podrían producirse lesiones personales.
Asegúrese de que las tuercas de las ruedas están apretadas a 61–88 N·m.
| Intervalo de mantenimiento y servicio | Procedimiento de mantenimiento |
|---|---|
| Después de la primera hora |
|
| Después de las primeras 10 horas |
|
| Cada 200 horas |
|
Apriete las tuercas los bujes del eje delantero a 339-373 N·m.
Si la máquina se desplaza cuando el pedal de tracción está en PUNTO MUERTO, ajuste la leva de tracción.
Aparque la máquina en una superficie nivelada, baje las unidades de corte, ponga el freno de estacionamiento, apague el motor y retire la llave del interruptor de encendido.
Levante una rueda delantera y una rueda trasera del suelo y coloque soportes debajo del bastidor.
Asegúrese de que la máquina está correctamente apoyada para que no pueda caerse accidentalmente y causar lesiones a cualquier persona que esté debajo.
Levante del suelo una rueda delantera y una rueda trasera; si no lo hace, la máquina se desplazará durante el ajuste.
Afloje la contratuerca de la leva de ajuste de tracción (Figura 74).

El motor debe estar en marcha para poder realizar el ajuste final de la leva de ajuste de la tracción. El contacto con piezas en movimiento o superficies calientes puede causar lesiones personales.
Mantenga las manos, los pies, la cara y otras partes del cuerpo alejados del silenciador, otras superficies calientes del motor y las piezas rotativas.
Arranque el motor y gire el eje hexagonal de la leva en ambos sentidos para determinar la posición intermedia de la sección de punto muerto.
Apriete la contratuerca para afianzar el ajuste.
Apague el motor.
Retire los soportes y baje la máquina al suelo. Haga una prueba de la máquina para asegurarse de que no se desplaza cuando el pedal de tracción está en punto muerto.
La ingestión del refrigerante del motor puede causar envenenamiento; manténgalo fuera del alcance de niños y animales domésticos.
Una descarga de refrigerante caliente bajo presión, o cualquier contacto con el radiador caliente y los componentes que lo rodean, puede causar quemaduras graves.
Siempre deje que el motor se enfríe durante al menos 15 minutos antes de retirar el tapón del radiador.
Utilice un trapo al abrir el tapón del radiador y ábralo lentamente para permitir la salida del vapor.
El depósito de refrigerante se llena en fábrica con una solución al 50 % de agua y refrigerante de etilenglicol de larga duración.
Important: Utilice solamente refrigerantes comerciales que cumplan las especificaciones relacionadas en la Tabla de estándares de refrigerantes de larga vida.No utilice refrigerante IAT (tecnología de ácido inorgánico) convencional (verde) en su máquina. No mezcle refrigerante convencional con refrigerante de larga vida.
|
Tipo de refrigerante de etilenglicol |
Tipo de inhibidor de corrosión |
|
Anticongelante de larga duración |
Tecnología de ácido orgánico (OAT) |
|
Important: No confíe en el color del refrigerante para identificar la diferencia entre refrigerante IAT (tecnología de ácido inorgánico) convencional (verde) y refrigerante de larga vida.Los fabricantes de refrigerante pueden teñir los refrigerantes de larga duración con uno de los siguientes colores: rojo, rosa, naranja, amarillo, azul, verde azulado, violeta o verde. Utilice refrigerante que cumpla las especificaciones de la Tabla de estándares de refrigerantes de larga vida. |
|
|
ATSM International |
SAE International |
|
D3306 y D4985 |
J1034, J814, y 1941 |
Important: La concentración del refrigerante debe ser una mezcla al 50% de refrigerante y agua.
Preferencia: Al hacer la mezcla a partir de un refrigerante concentrado, mézclelo con agua destilada.
Alternativa a la preferencia: Si no se dispone de agua destilada, utilice un refrigerante premezclado en lugar de un concentrado.
Requisito mínimo: Si no dispone de agua destilada ni tampoco de refrigerante premezclado, mezcle refrigerante concentrado con agua potable limpia.
| Intervalo de mantenimiento y servicio | Procedimiento de mantenimiento |
|---|---|
| Cada vez que se utilice o diariamente |
|
Capacidad del sistema de refrigeración: aproximadamente 5,7 litros
Si el motor ha estado en marcha, puede haber fugas de refrigerante caliente y bajo presión, que puede causar quemaduras.
No retire el tapón del radiador cuando el motor está en marcha.
Utilice un trapo al abrir el tapón del radiador y ábralo lentamente para permitir la salida del vapor.
Prepare la máquina para el mantenimiento; consulte Preparación para el mantenimiento.
Desenganche y abra el capó.
Compruebe el nivel de refrigerante del depósito de expansión (Figura 75).

Note: Con el motor frío, el nivel del refrigerante debe estar aproximadamente en el punto medio entre las marcas del lateral del depósito.
Si el nivel del refrigerante es bajo, quite el tapón del depósito de expansión, añada el refrigerante especificado al depósito, espere hasta que el nivel del refrigerante llegue a la mitad, entre las marcas del lateral del depósito, y coloque el tapón en el depósito.
Important: No llene demasiado el depósito de expansión.
Cierre y enganche el capó.
| Intervalo de mantenimiento y servicio | Procedimiento de mantenimiento |
|---|---|
| Cada vez que se utilice o diariamente |
|
| Cada 2 años |
|
Limpie cualquier suciedad del radiador y del enfriador de aceite cada día. Limpie con más frecuencia en condiciones de mucho polvo o suciedad.
Prepare la máquina para el mantenimiento; consulte Preparación para el mantenimiento.
Levante el capó.
Limpie a fondo la zona del motor, retirando todos los residuos.
Retire el protector del radiador inferior (Figura 76).

Limpie a fondo ambos lados del radiador con agua o aire comprimido (Figura 76).
Instale el protector del radiador inferior.
Cierre y enganche el capó.
| Intervalo de mantenimiento y servicio | Procedimiento de mantenimiento |
|---|---|
| Cada 200 horas |
|
Prepare la máquina para el mantenimiento; consulte Preparación para el mantenimiento.
Afloje el tornillo de fijación que sujeta el pomo a la palanca del freno de estacionamiento (Figura 77).

Gire el pomo hasta que se requiera una fuerza de 133 a 178 N·m para accionar la palanca.
Apriete el tornillo de fijación.
| Intervalo de mantenimiento y servicio | Procedimiento de mantenimiento |
|---|---|
| Después de las primeras 10 horas |
|
| Cada 100 horas |
|
Prepare la máquina para el mantenimiento; consulte Preparación para el mantenimiento.
Desenganche y abra el capó.
Compruebe la tensión presionando la correa en el punto intermedio entre las poleas del alternador y el cigüeñal.
Note: Con una fuerza de 98 N, la correa debe desviarse 11 mm.

Si la desviación no es correcta, ajuste la correa de la siguiente manera:
Afloje el perno que fija el tirante al motor y el perno que fija el alternador al tirante.
Introduzca una palanca entre el alternador y el motor y, haciendo palanca, desplace el alternador hacia fuera.
Cuando consiga la tensión correcta de la correa, apriete los pernos del tirante y del alternador para afianzar el ajuste.
Cierre y enganche el capó.
Coloque una llave de tubo o un tubo corto en el extremo del muelle de tensado de la correa.
Al cambiar la correa de transmisión hidrostática, debe liberar la tensión en el muelle, ya que está sometido a una gran carga. Si se libera de forma incorrecta la tensión en el muelle, se pueden producir lesiones personales graves.
Tenga cuidado al liberar la tensión en el muelle.
Presione hacia abajo el extremo del muelle de tensión de la correa, sáquelo de la muesca en la pestaña del soporte de la bomba y mueva el extremo del muelle hacia delante (Figura 79).

Sustituya la correa.
Presione hacia abajo y hacia dentro el extremo del muelle de la tensión de la correa y asegúrese de alinearlo en la muesca de la pestaña del soporte de la bomba.
Prepare la máquina para el mantenimiento; consulte Preparación para el mantenimiento.
Afloje la tuerca autoblocante del tornillo de tope de velocidad.
Ajuste el tornillo de tope de velocidad del siguiente modo:
Note: La velocidad de siega se ajusta en fábrica a 9,7 km/h.
Para reducir la velocidad de siega, gire el tornillo de tope de velocidad (Figura 80) en sentido horario.
Para aumentar la velocidad de siega, gire el tornillo de tope de velocidad en sentido antihorario.

Sostenga el tornillo de tope y apriete la tuerca autoblocante.
Realice una conducción de prueba de la máquina para confirmar el ajuste de velocidad máxima para la siega.
Prepare la máquina para el mantenimiento; consulte Preparación para el mantenimiento.
Desenganche y abra el capó.
Mueva la palanca del acelerador hacia atrás hasta que haga tope contra la ranura del panel de control.
Afloje el conector del cable del acelerador en la palanca de la bomba de inyección (Figura 81).

Sujete la palanca de la bomba de inyección contra el tope de ralentí lento y apriete el conector del cable.
Afloje los tornillos que sujetan el control del acelerador al panel de control.
Empuje la palanca de control del acelerador hacia adelante hasta que haga tope.
Deslice el tope hasta que entre en contacto con la palanca del acelerador y apriete los tornillos que sujetan el control del acelerador al panel de control.
Si el acelerador no se mantiene en su posición durante el uso, apriete la contratuerca utilizada para ajustar el dispositivo de fricción en la palanca del acelerador a entre 5 y 6 N∙m.
Note: La fuerza máxima necesaria para accionar la palanca del acelerador debe ser de 89 N.
Cierre y enganche el capó.
Busque atención médica inmediatamente si el fluido penetra en la piel. Un médico deberá eliminar quirúrgicamente el fluido inyectado en pocas horas.
Asegúrese de que todas las mangueras y líneas de fluido hidráulicos están en buenas condiciones de uso, y que todos los acoplamientos y conexiones hidráulicos están apretados, antes de aplicar presión al sistema hidráulico.
Mantenga el cuerpo y las manos alejados de fugas pequeñas o boquillas que liberan fluido hidráulico a alta presión.
Utilice un cartón o un papel para buscar fugas hidráulicas.
Alivie de manera segura toda presión en el sistema hidráulico antes de realizar trabajo alguno en el sistema hidráulico.
| Intervalo de mantenimiento y servicio | Procedimiento de mantenimiento |
|---|---|
| Cada vez que se utilice o diariamente |
|
Inspeccione las líneas y mangueras hidráulicas para comprobar que no tienen fugas, que no están dobladas, que los soportes no están sueltos, y que no hay desgaste, elementos sueltos, o deterioro causado por agentes ambientales o químicos. Haga todas las reparaciones necesarias antes de operar la máquina.
El depósito se llena en la fábrica con fluido hidráulico de alta calidad. Compruebe el nivel del fluido hidráulico antes de arrancar el motor por primera vez y luego a diario; consulte Comprobación del fluido hidráulico.
Fluido hidráulico recomendado: fluido hidráulico Exmark PX Extended Life, disponible en recipientes de 19 litros o en bidones de 208 litros.
Note: Una máquina que utilice el fluido de recambio recomendado necesita menos cambios de filtro y de fluido.
Fluidos hidráulicos alternativos: si no se encuentra disponible el fluido hidráulico Exmark PX Extended Life, puede utilizar otro fluido hidráulico convencional basado en petróleo cuyas especificaciones referentes a todas las propiedades materiales estén dentro de los intervalos relacionados a continuación y que cumpla las normas industriales. No utilice fluidos sintéticos. Consulte a su distribuidor de lubricantes para identificar un producto satisfactorio.
Note: Exmark no asume responsabilidad alguna por daños causados por sustituciones no adecuadas, por lo que debe utilizar solamente productos de fabricantes reputados que respalden sus recomendaciones.
| Propiedades de materiales: | ||
| Viscosidad, ASTM D445 | cSt a 40 °C 44 a 48 | |
| Índice de viscosidad ASTM D2270 | 140 o más | |
| Punto de descongelación, ASTM D97 | -37 °C a -45 °C | |
| Especificaciones industriales: | Eaton Vickers 694 (I-286-S, M-2950-S/35VQ25 o M-2952-S) | |
Note: La mayoría de los fluidos hidráulicos son casi incoloros, por lo que es difícil detectar fugas. Está disponible un aditivo de tinte rojo para el fluido hidráulico, en botellas de 20 ml. Una botella es suficiente para 15 a 22 litros de fluido hidráulico. Solicite el N.º de pieza 44-2500 a su distribuidor autorizado Exmark.
Important: El fluido hidráulico biodegradable Exmark Premium Synthetic es el único fluido sintético biodegradable homologado por Toro. Este fluido es compatible con los elastómeros usados en los sistemas hidráulicos Toro, y es apropiado para un amplio intervalo de temperaturas. Este fluido es compatible con aceites minerales convencionales, pero para obtener la máxima biodegradabilidad y rendimiento es necesario purgar el sistema hidráulico completamente de fluido convencional. Su distribuidor Exmark autorizado dispone de este aceite en recipientes de 19 litros o en bidones de 208 litros.
| Intervalo de mantenimiento y servicio | Procedimiento de mantenimiento |
|---|---|
| Cada vez que se utilice o diariamente |
|
El depósito se llena en la fábrica con fluido hidráulico de alta calidad. El mejor momento para comprobar el fluido hidráulico es cuando el fluido está frío. La máquina debe estar configurada para el transporte.
Prepare la máquina para el mantenimiento; consulte Preparación para el mantenimiento.
Limpie la zona alrededor del cuello de llenado y el tapón del depósito de fluido hidráulico (Figura 82) y retire el tapón.

Retire la varilla del cuello de llenado y límpiela con un paño limpio.
Inserte la varilla en el cuello de llenado; luego retírela y compruebe el nivel del fluido.
Note: El nivel del aceite debe estar a menos de 6 mm de la marca de la varilla.
Si el nivel es bajo, añada el fluido especificado para aumentar el nivel hasta la marca de lleno; consulte Especificación del fluido hidráulico.
Important: No llene demasiado el depósito hidráulico.
Coloque la varilla y el tapón en el cuello de llenado.
13,2 litros; consulte Especificación del fluido hidráulico
| Intervalo de mantenimiento y servicio | Procedimiento de mantenimiento |
|---|---|
| Cada 800 horas |
|
| Cada 2000 horas |
|
El fluido hidráulico caliente puede causar graves quemaduras.
Deje que se enfríe el fluido hidráulico antes de realizar cualquier tarea de mantenimiento en el sistema hidráulico.
Si el fluido se contamina, póngase en contacto con su distribuidor autorizado Toro, porque es necesario purgar el sistema. El fluido contaminado tiene un aspecto lechoso o negro en comparación con el fluido limpio.
Prepare la máquina para el mantenimiento; consulte Preparación para el mantenimiento.
Desconecte la manguera hidráulica (Figura 83) o retire el filtro hidráulico (Figura 84) y deje fluir el fluido hidráulico en un recipiente apropiado.


Vuelva a colocar la manguera hidráulica cuando el fluido hidráulico se haya drenado.
Llene el depósito (Figura 85) con aproximadamente 22,7 litros de fluido hidráulico; consulte Especificación del fluido hidráulico.
Important: Utilice solamente los fluidos hidráulicos especificados. Otros fluidos podrían causar daños en el sistema.

Coloque la varilla y el tapón en el cuello de llenado.
Arranque el motor y utilice todos los controles hidráulicos para distribuir el aceite hidráulico por todo el sistema.
Compruebe que no hay fugas, luego pare el motor.
Compruebe el nivel de aceite y añada suficiente para que el nivel llegue a la marca Lleno de la varilla.
Important: No llene demasiado el depósito.
| Intervalo de mantenimiento y servicio | Procedimiento de mantenimiento |
|---|---|
| Cada 800 horas |
|
| Cada 1000 horas |
|
El fluido hidráulico caliente puede causar graves quemaduras.
Deje que se enfríe el fluido hidráulico antes de realizar cualquier tarea de mantenimiento en el sistema hidráulico.
Utilice un filtro de recambio genuino Toro (Pieza Nº 86-3010).
Important: El uso de cualquier otro filtro puede anular la garantía de algunos componentes.
Prepare la máquina para el mantenimiento; consulte Preparación para el mantenimiento.
Limpie la zona de montaje del filtro. Coloque un recipiente debajo del filtro (Figura 86) y retire el filtro.

Lubrique la junta del filtro nuevo y llene el filtro de aceite hidráulico.
Asegúrese de que la zona de montaje del filtro está limpia. Enrosque el filtro nuevo hasta que la junta toque la placa de montaje, luego apriete el filtro ½ vuelta más.
Arranque el motor y déjelo funcionar durante unos 2 minutos para purgar el aire del sistema. Apague el motor y compruebe que no hay fugas.
Una cuchilla o una contracuchilla desgastada o dañada puede romperse, y un trozo de la cuchilla podría ser arrojado hacia usted u otra persona, lo que puede provocar lesiones personales graves o la muerte.
Inspeccione periódicamente las cuchillas y las contracuchillas, para asegurarse de que no presentan un desgaste excesivo ni daños.
Tenga cuidado al comprobar las cuchillas. Lleve guantes y extreme las precauciones durante su mantenimiento. Las cuchillas y las contracuchillas solo se pueden cambiar o afilar; no las enderece ni las suelde nunca.
En máquinas con múltiples unidades de corte, tenga cuidado al girar una unidad de corte, ya que puede hacer que giren los molinetes en las otras unidades de corte.
| Intervalo de mantenimiento y servicio | Procedimiento de mantenimiento |
|---|---|
| Cada vez que se utilice o diariamente |
|
Compruebe el contacto entre el molinete y la contracuchilla, aunque anteriormente la calidad de corte haya sido aceptable. Debe haber un contacto ligero en toda la longitud del molinete y la contracuchilla; consulte Ajuste del molinete a la contracuchilla en el Manual del operador de la unidad de corte.
El contacto con las unidades de corte u otras piezas en movimiento puede causar lesiones.
Mantenga los dedos, las manos y la ropa alejados de las unidades de corte u otras piezas en movimiento.
No intente nunca girar las unidades de corte con la mano o con el pie mientras el motor está en marcha.
Note: La publicación Fundamentos de las segadoras de molinete Toro (con directrices sobre el afilado), Impreso 09168SL, contiene instrucciones y procedimientos adicionales relacionados con el autoafilado.
Prepare la máquina para el mantenimiento; consulte Preparación para el mantenimiento.
Realice los ajustes iniciales de contacto molinete–contracuchilla apropiados para el autoafilado; consulte el Manual del operador de la unidad de corte.
Eleve la cubierta de la consola montada magnéticamente (Figura 87) para exponer el colector de la segadora.

Mueva la palanca de autoafilado a la posición R (autoafilado) (Figura 88).

Si se cambia la velocidad del motor durante el autoafilado, las unidades de corte pueden atascarse.
No cambie nunca la velocidad del motor durante el autoafilado
Realice el autoafilado únicamente a velocidad de ralentí bajo.
Note: El interruptor del asiento no está habilitado cuando el mando de autoafilado está en la posición de autoafilado. No es necesario estar sentado en el asiento, pero el freno de estacionamiento debe estar puesto para que el motor funcione.
Arranque el motor y déjelo funcionar a ralentí bajo.
Ponga el interruptor de la transmisión de la unidad de corte en la posición de ENGRANADA.
Aplique compuesto de autoafilado al molinete con un cepillo de mango largo.
El contacto con las unidades de corte cuando éstas están en movimiento podría causar lesiones personales.
Para evitar lesiones personales, asegúrese de apartarse de las unidades de corte antes de continuar.
Important: No utilice nunca una brocha de mango corto.
Si necesita ajustar las unidades de corte durante el autoafilado, siga estos pasos:
Ponga el interruptor de la transmisión de la unidad de corte en la posición de DESENGRANADA.
Apague el motor y retire la llave.
Ajuste las unidades de corte.
Repita los pasos 1 a 3.
Repita los pasos 3 para las demás unidades de corte que desee autoafilar.
Ponga el interruptor de control de la unidad de corte en la posición de DESENGRANADA.
Apague el motor.
Mueva la palanca de autoafilado a la posición F (siega) (Figura 89).
Important: Si la palanca de autoafilado no se coloca en la posición F (siega) después del autoafilado, las unidades de corte no funcionarán correctamente.

Monte la cubierta de la consola en la consola de control.
Lave las unidades de corte para eliminar toda la pasta de autoafilado.
Para obtener un filo de corte mejor, pase una lima por la cara delantera de la contracuchilla después de afilar.
Note: Esto elimina cualquier rebaba o aspereza que pueda haber aparecido en el filo de corte.
Lave la máquina cuanto sea necesario solo con agua o con un detergente suave. Puede utilizar un trapo para lavar la máquina.
Important: No utilice agua reciclada o salada para limpiar la máquina.
Important: No utilice equipos de lavado a presión para lavar la máquina. Estos equipos pueden dañar el sistema eléctrico, hacer que se desprendan calcomanías importantes, o eliminar grasa necesaria en los puntos de fricción. Evite el uso excesivo de agua cerca del panel de control, el motor y la batería.
Important: No lave la máquina con el motor en funcionamiento. Si lo hace, pueden producirse daños internos en el motor.
Antes de dejar el puesto del operador, realice lo siguiente:
Aparque la máquina en una superficie nivelada.
Desengrane y baje las unidades de corte.
Accione el freno de estacionamiento.
Apague el motor y retire la llave.
Espere a que se detenga todo movimiento.
Deje que la máquina se enfríe antes de realizar ajustes, tareas de mantenimiento y de limpieza o de guardarla.
No guarde la máquina o un recipiente de combustible en un lugar donde pudiera haber una llama desnuda, chispas o una llama piloto, por ejemplo en un calentador de agua u otro electrodoméstico.
Aparque la máquina en una superficie nivelada, baje las unidades de corte, ponga el freno de estacionamiento, apague el motor y retire la llave.
Limpie a fondo la unidad de tracción, las unidades de corte y el motor.
Compruebe la presión de los neumáticos; consulte Comprobación de la presión de los neumáticos.
Compruebe que todas las fijaciones están bien apretadas; apriételas si es necesario.
Aplique grasa o aceite a todos los engrasadores y puntos de giro. Limpie cualquier exceso de lubricante.
Lije suavemente y aplique pintura de retoque a cualquier zona pintada que esté rayada, desconchada u oxidada. Repare cualquier desperfecto de la carrocería.
Mantenga la batería y los cables del siguiente modo; consulte Seguridad del sistema eléctrico:
Retire los terminales de los bornes de la batería.
Limpie la batería, los terminales y los bornes con un cepillo de alambre y una solución de bicarbonato.
Aplique una capa de grasa Grafo 112X (No. de Pieza Toro 505-47) o de vaselina a los terminales de los cables y a los bornes de la batería para evitar la corrosión.
Cargue la batería lentamente durante 24 horas cada 60 días para evitar el sulfatado de plomo de la batería.
Vacíe el aceite de motor del cárter y coloque el tapón de vaciado.
Retire y deseche el filtro de aceite. Instale un filtro de aceite nuevo.
Llene el motor con aceite de motor del tipo especificado.
Arranque el motor y déjelo funcionar a velocidad de ralentí durante aproximadamente 2 minutos.
Apague el motor y retire la llave.
Enjuague el depósito de combustible con combustible limpio y nuevo.
Apriete todos los elementos del sistema de combustible.
Realice una limpieza y un mantenimiento completos del conjunto del limpiador de aire.
Selle la entrada del limpiador de aire y la salida del tubo de escape con cinta impermeabilizante.
Compruebe el anticongelante y añada una solución al 50 % de agua y anticongelante de etilenglicol según sea necesario dependiendo de la temperatura mínima prevista para su zona.
Si la máquina va a estar inactiva durante más de 30 días, retire la batería y cárguela totalmente. Guárdela en una estantería o en la máquina. Deje desconectados los cables si los va a guardar con la máquina. Guarde la batería en un ambiente fresco para evitar el rápido deterioro de la carga. Para evitar que la batería se congele, asegúrese de que está totalmente cargada. La gravedad específica de una batería totalmente cargada es de 1265 a 1299.
El Módulo de control de serie es un dispositivo electrónico encapsulado fabricado en una sola configuración polivalente. El módulo utiliza componentes mecánicos y de estado sólido para monitorizar y controlar las características eléctricas de serie necesarias para la operación segura del producto.
El módulo monitoriza entradas que incluyen punto muerto, freno de estacionamiento, toma de fuerza, arranque, autoafilado y alta temperatura. El módulo energiza salidas que incluyen Toma de fuerza, Arranque y el solenoide ETR (energizar para el arranque).
El módulo está dividido en entradas y salidas. Las entradas y salidas están identificadas con indicadores LED de color verde montados en el circuito impreso.
La entrada del circuito de arranque se energiza a 12 VCC. Todas las demás entradas son energizadas cuando el circuito está cerrado a tierra. Cada entrada tiene un LED que se ilumina cuando se energiza el circuito correspondiente. Utilice los LED de entrada para localizar problemas en interruptores y circuitos de entrada.
Los circuitos de salida son energizados por un conjunto apropiado de condiciones de entrada. Las tres salidas son TDF, ETR y Arranque. Los LED de salida monitorizan la condición de los relés, e indican la presencia de tensión en uno de tres terminales de salida concretos.
Los circuitos de salida no determinan la integridad del dispositivo de salida, de manera que la localización y solución de problemas eléctricos incluye la inspección de los LED de salida y pruebas convencionales de la integridad de dispositivos y cableado. Mida la impedancia de los componentes desconectados, la impedancia a través del cableado (desconéctelo en el MCE) o con una prueba de energización temporal del componente específico.
El MCE no puede conectarse a un ordenador externo ni a otro dispositivo portátil, no puede ser reprogramado y no registra datos de localización de fallos intermitentes.
La pegatina del MCE incluye únicamente símbolos. El recuadro de salida incluye tres símbolos de LED de salida. Todos los demás LED son entradas. El gráfico siguiente identifica estos símbolos.

A continuación se describen los pasos lógicos de localización de problemas con el dispositivo MCE.
Determine el fallo de salida que hay que resolver (Toma de fuerza, Arranque o ETR).
Ponga la llave de contacto en CONECTADO y asegúrese de que se ilumina el LED rojo de "corriente".
Mueva todos los interruptores de entrada para asegurarse de que todos los LED cambian de estado.
Coloque los dispositivos de entrada en la posición adecuada para obtener la salida correspondiente. Utilice la siguiente tabla lógica para determinar la condición de entrada adecuada.
Si un LED de salida determinado se ilumina sin que exista la función de salida correspondiente, compruebe el cableado, las conexiones y el componente de salida. Haga las reparaciones necesarias.
Si un LED de salida determinado no se ilumina, compruebe ambos fusibles.
Si un LED de salida determinado no se ilumina y la condición de las entradas es correcta, instale un SCM nuevo y compruebe si el fallo desaparece.
Cada fila (horizontal) de la tabla lógica que aparece a continuación identifica los requisitos de entrada y salida para cada función específica del producto. Las funciones del producto aparecen en la columna de la izquierda. Los símbolos identifican condiciones específicas de cada circuito, incluyendo: energizado (con tensión), cerrado (conectado) a tierra y abierto (no conectado) a tierra.
| ENTRADAS | SALIDAS | ||||||||||
|---|---|---|---|---|---|---|---|---|---|---|---|
| Función | Encendido ACTIVADO | En punto muerto | Arranque ACTIVADO | Freno PUESTO | TDF ENGRANADA | Asiento ocupado | Temperatura alta | Autoafilado | Arranque | ETR | Toma de fuerza |
| Arranque | – | – | + | O | O | – | O | O | + | + | O |
| Marcha (Fuera de la unidad) | – | – | O | O | O | O | O | O | O | + | O |
| Marcha (En la unidad) | – | O | O | – | O | – | O | O | O | + | O |
| Siega | – | O | O | – | – | – | O | O | O | + | + |
| Autoafilado | – | – | O | O | – | O | O | – | O | + | + |
| Temperatura alta | – | O | – | O | O | O | |||||
(–) Indica un circuito cerrado a tierra — LED ENCENDIDO.
(O) Indica un circuito abierto a tierra o sin energizar — LED APAGADO.
(+) Indica un circuito energizado (bobina del embrague, solenoide, o entrada de arranque) - LED ENCENDIDO.
Un espacio en blanco indica un circuito que no interviene en la lógica.
Para localizar problemas, gire la llave de contacto sin arrancar el motor. Identifique la función específica que no responde y vaya recorriendo la tabla lógica. Inspeccione la condición de cada LED de entrada para asegurarse de que coincide con la tabla lógica.
Si los LED de entrada son correctos, compruebe el LED de salida. Si el LED de salida está iluminado pero el dispositivo no está energizado, mida la tensión disponible en el dispositivo de salida, la continuidad del dispositivo desconectado, y la tensión en el circuito de tierra (masa flotante). Las reparaciones dependerán de los resultados.