| Périodicité d'entretien | Procédure d'entretien |
|---|---|
| À chaque utilisation ou une fois par jour |
|
Cette machine est une tondeuse autoportée à cylindres prévue pour les utilisateurs professionnels employés à des applications professionnelles. Elle est principalement conçue pour tondre les pelouses régulièrement entretenues. L'utilisation de ce produit à d'autres fins que celle prévue peut être dangereuse pour vous-même et toute personne à proximité.
Lisez attentivement cette notice pour apprendre comment utiliser et entretenir correctement votre produit, et éviter ainsi de l'endommager ou de vous blesser. Vous êtes responsable de l'utilisation sûre et correcte du produit.
Pour plus d’informations, y compris des conseils de sécurité, des documents de formation, des renseignements concernant un accessoire, pour obtenir l'adresse d'un concessionnaire ou pour enregistrer votre produit, rendez-vous sur www.Toro.com.
Pour obtenir des prestations de service, des pièces de rechange Exmark d'origine ou des renseignements complémentaires, munissez-vous des numéros de modèle et de série du produit et contactez un concessionnaire-réparateur ou le service client Exmark agréé. La Figure 1 indique l'emplacement des numéros de modèle et de série sur le produit. Inscrivez les numéros dans l'espace réservé à cet effet.
Important: Avec votre appareil mobile, vous pouvez scanner le code QR sur la plaque du numéro de série (le cas échéant) pour accéder aux informations sur la garantie, les pièces détachées et autres renseignements sur le produit.

Ce produit est conforme à toutes les directives européennes pertinentes. Pour plus de renseignements, consultez la Déclaration de conformité spécifique du produit fournie séparément.
Vous commettez une infraction à la section 4442 ou 4443 du Code des ressources publiques de Californie si vous utilisez cette machine dans une zone boisée, broussailleuse ou recouverte d'herbe à moins d'équiper le moteur d'un pare-étincelles, tel que défini à la section 4442, maintenu en bon état de marche, ou à moins de construire, équiper et entretenir le moteur de manière à prévenir les incendies.
Le Manuel du propriétaire du moteur ci-joint est fourni à titre informatif concernant la réglementation de l'Agence américaine pour la protection de l'environnement (EPA) et la réglementation antipollution de l'état de Californie relative aux systèmes antipollution, à leur entretien et à leur garantie. Vous pouvez vous en procurer un nouvel exemplaire en vous adressant au constructeur du moteur.
CALIFORNIE
Proposition 65 - Avertissement
L'état de Californie considère les gaz d'échappement des moteurs diesel et certains de leurs composants comme susceptibles de provoquer des cancers, des malformations congénitales et autres troubles de la reproduction.
Les bornes de la batterie et accessoires connexes contiennent du plomb et des composés de plomb. L'état de Californie considère ces substances chimiques comme susceptibles de provoquer des cancers et des troubles de la reproduction. Lavez-vous les mains après avoir manipulé la batterie.
L'utilisation de ce produit peut entraîner une exposition à des substances chimiques considérées pas l'état de Californie comme capables de provoquer des cancers, des anomalies congénitales ou d'autres troubles de la reproduction.
Ce produit peut sectionner les mains ou les pieds et projeter des objets.
Vous devez lire et comprendre le contenu de ce Manuel de l'utilisateur avant de démarrer le moteur.
Accordez toute votre attention à l'utilisation de la machine. Ne faites rien d’autre qui puisse vous distraire, au risque de causer des dommages corporels ou matériels.
N'approchez pas les mains ou les pieds des composants mobiles de la machine.
N'utilisez pas la machine s'il manque des capots ou d'autres dispositifs de protection, ou s'ils sont défectueux.
N'admettez personne, notamment les enfants, dans le périmètre de travail. N'autorisez jamais les enfants à utiliser la machine.
Avant de quitter la position d'utilisation, coupez le moteur, enlevez la clé et attendez l'arrêt complet de tout mouvement. Laissez refroidir la machine avant de la régler, d'en faire l'entretien, de la nettoyer ou de la remiser.
Le symbole de sécurité (Figure 2) utilisé dans ce manuel et sur la machine identifie d'importants messages de sécurité dont vous devez tenir compte pour éviter des accidents.

Le symbole de sécurité apparaît au-dessus de toute information signalant des actions ou des situations dangereuses. Il est suivi de la mention DANGER, ATTENTION ou PRUDENCE.
DANGER signale un danger immédiat qui, s'il n'est pas évité, entraînera obligatoirement des blessures graves ou mortelles.
ATTENTION signale un danger potentiel qui, s'il n'est pas évité, risque d'entraîner des blessures graves ou mortelles.
PRUDENCE signale un danger potentiel qui, s'il n'est pas évité, peut éventuellement entraîner des blessures légères ou modérées.
Ce manuel utilise également deux autres termes pour faire passer des informations essentielles : Important pour attirer l'attention sur des informations d'ordre mécanique spécifiques et Remarque pour souligner des informations d'ordre général méritant une attention particulière.
![]() |
Des autocollants de sécurité et des instructions bien visibles par l'utilisateur sont placés près de tous les endroits potentiellement dangereux. Remplacez tout autocollant endommagé ou manquant. |














Note: Les côtés gauche et droit de la machine sont déterminés d'après la position d'utilisation normale.
Pièces nécessaires pour cette opération:
| Roue avant | 2 |
| Roue arrière | 1 |
Important: La jante et le pneu de la roue arrière sont plus étroits que ceux des 2 roues avant.
Montez une roue sur le moyeu de roue en plaçant la valve à l'extérieur.
Fixez la roue sur le moyeu à l'aide des écrous de roue, et serrez les écrous en étoile à un couple de 61 à 88 N·m.
Répétez les opérations 1 et 2 pour les autres roues.
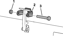
Pièces nécessaires pour cette opération:
| Volant | 1 |
| Couvre-moyeu de volant | 1 |
| Grande rondelle | 1 |
| Écrou de blocage | 1 |
| Vis | 1 |
L'électrolyte contient de l'acide sulfurique, dont l'ingestion est fatale et qui cause de graves brûlures.
Ne buvez jamais l'électrolyte et évitez tout contact avec les yeux, la peau ou les vêtements. Portez une protection oculaire et des gants en caoutchouc.
Faites le plein d'électrolyte à proximité d'une arrivée d'eau propre, de manière à pouvoir rincer abondamment la peau en cas d'accident.
Retirez les 2 boutons qui fixent le couvercle de la batterie sur la machine et déposez le couvercle (Figure 4).

Mesurez la tension de la batterie.
Note: Si elle est égale ou supérieure à 12,4 V, la batterie est chargée.
Si la tension est égale ou inférieure à 12,3 V, chargez la batterie au régime de 3 à 4 ampères durant 4 à 8 heures.
La batterie en charge produit des gaz qui peuvent exploser.
N'approchez pas la batterie de cigarettes, flammes ou sources d'étincelles.
Ne fumez jamais près de la batterie.
Une fois la batterie chargée, débranchez le chargeur du secteur et des bornes de la batterie.
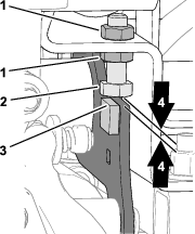
Installez le câble positif (rouge) sur la borne positive (+) de la batterie, et fixez-les avec un boulon en T et un écrou (Figure 5).
Note: Assurez-vous que le collier du câble positif (+) est bien engagé sur la borne de la batterie et que le câble est disposé tout près de la batterie.
Important: Le câble ne doit pas toucher le couvercle de la batterie.
Installez le câble négatif (noir) sur la borne négative (-) de la batterie et fixez-les avec un boulon en T et un écrou (Figure 5).
S'ils sont mal acheminés, les câbles de la batterie peuvent subir des dommages ou endommager le tracteur et produire des étincelles. Les étincelles peuvent provoquer l'explosion des gaz de la batterie et vous blesser.
Débranchez toujours le câble négatif (noir) de la batterie avant le câble positif (rouge).
Branchez toujours le câble positif (rouge) avant le câble négatif (noir).

Important: Si vous enlevez la batterie, veillez à placer les têtes des boulons de la barrette de maintien en dessous et les écrous sur le dessus quand vous la remettez en place. S'ils sont montés dans l'autre sens, les boulons pourront gêner les tubes hydrauliques quand vous déplacez les unités de coupe.
Pour prévenir la corrosion, enduisez les bornes de la batterie de graisse Grafo 112X Skin-Over (réf. Exmark 505-47) ou de graisse légère.
Placez le capuchon en caoutchouc sur la borne positive pour éviter les courts-circuits.
Posez le couvercle de la batterie.
Pièces nécessaires pour cette opération:
| Arceau de sécurité | 1 |
| Boulon à embase | 4 |
| Contre-écrou | 4 |
| Collier | 1 |
L'utilisation de la machine avec un arceau de sécurité modifié ou endommagé risque de ne pas vous protéger de manière adéquate, et peut entraîner des blessures ou la mort en cas de retournement.
N'installez pas un arceau de sécurité endommagé ou modifié sur la machine.
Remplacez toujours l'arceau de sécurité s'il est endommagé ; vous ne devez jamais le réparer ou le modifier.
Abaissez l'arceau de sécurité sur les supports de montage du groupe de déplacement en alignant les trous de montage. Le tube d'évent de l'arceau de sécurité doit être placé du côté gauche de la machine (Figure 6).

Fixez chaque côté de l'arceau de sécurité aux supports de montage avec 2 boulons à embase et 2 contre-écrous (Figure 6). Serrez les fixations à 81 N·m.
Fixez le flexible d'évent de la conduite de carburant au tube d'évent de l'arceau de sécurité à l'aide d'un collier.
Si vous démarrez le moteur alors que le flexible d'évent de la conduite de carburant est débranché du tube d'évent, le carburant s'écoulera par le flexible ce qui augmentera le risque d'incendie ou d'explosion. Un incendie ou une explosion causé(e) par du carburant peut vous brûler, ainsi que d'autres personnes, et causer des dommages matériels.
Branchez le flexible d'évent de la conduite de carburant au tube d'évent avant de démarrer le moteur.
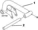
Pièces nécessaires pour cette opération:
| Kit bras de levage (kit en option – à commander séparément) | 1 |
Insérez une tige de pivot dans chaque bras de levage et alignez les trous de fixation (Figure 7).

Fixez les tiges de pivot aux bras de levage au moyen de 2 boulons (5/16" x ⅞").
Serrez les boulons à un couple de 37 à 45 N·m.
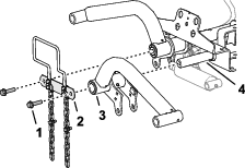
À l’avant de la machine, déposez les 2 vis à embase (½ x 2") qui fixent le maillon d’axe de pivot aux axes de pivot des bras de levage, puis déposez le maillon (Figure 8).
Note: Conservez la biellette des axes de pivot et les vis.

Montez les bras de levage sur les axes de pivot, comme montré à la Figure 9).

Montez le maillon d'axe de pivot sur les axes de pivot des bras de levage (Figure 9) à l’aide des 2 vis à embase (½ x 2") retirées à l’étape Préparatifs d'installation des bras de levage.
Serrez les vis à 95 N·m.
Type de graisse : graisse au lithium nº 2
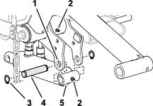
Alignez le côté chapeau du vérin de levage sur les trous dans les brides du bras de levage gauche (Figure 10).

Fixez le vérin sur les brides à l'aide de la goupille de montage et de 2 circlips (Figure 10).
Appliquez de la graisse au lithium nº 2 sur le bras de levage et le vérin hydraulique (Figure 10).
Type de graisse : graisse au lithium nº 2
Placez un bac de vidange sous les raccords hydrauliques du vérin de levage (Figure 11).

Sur le vérin de levage, desserrez le raccord pivotant droit du flexible de retour et le raccord pivotant à 90° du flexible de levage (Figure 12).

Enroulez un chiffon autour des raccords de flexible.
Déplacez lentement la tige du vérin de levage jusqu'à ce qu'elle soit alignée sur les trous des brides du bras de levage droit (Figure 13).
Important: Une petite quantité de liquide hydraulique est éjectée par les raccords des flexibles quand vous déplacez la tige du vérin de levage.

Fixez la tige sur les brides à l'aide de la goupille de montage, de 2 entretoises et de 2 circlips (Figure 13).
Appliquez de la graisse au lithium nº 2 sur le bras de levage et le vérin hydraulique (Figure 13).
Serrez les raccords pivotants des flexibles de retour et de levage à un couple de 37 à 45 N·m.

Nettoyez le liquide hydraulique éventuellement répandu dur la machine.
Pièces nécessaires pour cette opération:
| Unité de coupe (pièce en option – à commander séparément) | 3 |
Sortez les unités de coupe des cartons d'expédition.
Réglez les unités de coupe comme expliqué dans le Manuel de l'utilisateur des unités de coupe.
Note: Les bâtis porteurs avant font partie du kit bras de levage optionnel.
Alignez les trous dans les plaques du bâti porteur avant sur les trous des plaques de montage de l'unité de coupe (Figure 15).

Alignez une rondelle entre la plaque porteuse et la biellette (Figure 15) et assemblez les plaques et l’entretoise sans serrer, au moyen d’un boulon de carrosserie (⅜ x 2¼"), d’une rondelle et d’un contre-écrou à embase (⅜").
Note: Si vous commencez le montage à l'arrière de l'unité de coupe, utilisez le trou central de la plaque.
Répétez l'opération 2 pour les autres trous de la plaque et les autres biellettes.
Serrez les contre-écrous à embase à un couple de 37 à 45 N·m.
Répétez les opérations 1 à 4 pour l'autre unité de coupe avant et l'autre bâti porteur.
Note: Le bâti porteur arrière fait partie du kit bras de levage optionnel.
Alignez le trou dans les plaques du bâti porteur arrière sur le trou des plaques de montage de l'unité de coupe.

Alignez une rondelle entre la plaque porteuse et la biellette (Figure 16) et assemblez les plaques et l’entretoise sans serrer, au moyen d’un boulon de carrosserie (⅜ x 2¼"), d’une rondelle et d’un contre-écrou à embase (⅜").
Note: Si vous commencez le montage à l'arrière de l'unité de coupe, utilisez le trou central de la plaque.
Répétez l'opération 2 pour les autres trous de la plaque et les autres biellettes.
Serrez les contre-écrous à embase à un couple de 37 à 45 N·m.
Note: Les bâtis porteurs avant font partie du kit bras de levage optionnel.
Alignez les trous dans les plaques du bâti porteur avant sur les trous des plaques de montage de l'unité de coupe (Figure 17).

Alignez une entretoise entre la plaque porteuse et la plaque de montage (Figure 17) et assemblez les plaques et l’entretoise sans serrer, au moyen d’un boulon de carrosserie (⅜ x 1¼") et d’un contre-écrou à embase (⅜").
Note: Si vous commencez le montage à l'arrière de l'unité de coupe, utilisez les trous au centre de chaque plaque.
Répétez l'opération 2 pour les autres trous de la plaque.
Serrez les contre-écrous à embase à un couple de 37 à 45 N·m.
Répétez les opérations 1 à 4 pour l'autre unité de coupe avant et l'autre bâti porteur.
Note: Le bâti porteur arrière fait partie du kit bras de levage optionnel.
Alignez les trous dans les plaques du bâti porteur arrière sur les trous des plaques de montage de l'unité de coupe (Figure 13).

Alignez une entretoise entre la plaque porteuse et la plaque de montage (Figure 14) et assemblez les plaques et l’entretoise sans serrer, au moyen d’un boulon de carrosserie (⅜ x 1¼") et d’un contre-écrou à embase (⅜").
Note: Si vous commencez le montage à l'arrière de l'unité de coupe, utilisez les trous au centre de chaque plaque.
Répétez l'opération 2 pour les autres trous de la plaque.
Serrez les contre-écrous à embase à un couple de 37 à 45 N·m.
Glissez une rondelle de butée sur chaque tige de pivot de bras de levage.
Poussez le bâti porteur de l'unité de coupe sur la tige de pivot et fixez-le avec une goupille à anneau (Figure 19).
Note: Sur l'unité de coupe arrière, placez la rondelle de butée entre l'arrière du bâti porteur et la goupille à anneau.

Graissez tous les points de pivot des bras de levage et des bâtis porteurs.
Important: Vérifiez que les flexibles ne sont ni tordus ni pliés à angle droit et que les flexibles de l'unité de coupe arrière sont acheminés comme montré (Figure 20). Levez les unités de coupe et déportez-les à gauche (modèle 03171). Les flexibles de l'unité de coupe arrière ne doivent pas toucher le support du câble de traction. Repositionnez les raccords et/ou les flexibles si nécessaires.

Passez une chaîne de basculement dans la fente à l'extrémité de chaque bâti porteur. Fixez la chaine de basculement sur le haut du bâti porteur à l'aide d'un boulon, d'une rondelle et d'un contre-écrou (Figure 21).

Placez les unités de coupe devant les tiges de pivot des bras de levage.
Retirez la masse et le joint torique (Figure 22) de l'extrémité intérieure de l'unité de coupe droite.

Retirez l'obturateur du logement de roulements à l'extrémité extérieure de l'unité de coupe droite et montez les masses et le joint.
Retirez l'obturateur de transport des logements de roulements sur les unités de coupe restantes.
Placez le joint torique (fourni avec l'unité de coupe) sur le flasque du moteur d'entraînement (Figure 23).

Montez le moteur du côté entraînement de l'unité de coupe et fixez-le avec 2 vis d'assemblage fournies avec l'unité de coupe (Figure 23).
Démarrez le moteur.
Levage des unités de coupe
Sur les unités de coupe avant, mesurez la distance entre le bras de levage gauche et le support du panneau de plancher, et entre le bras de levage droit et le support du panneau de plancher (Figure 24).
Note: La distance correcte est de 5 à 8 mm. Si ce n'est pas le cas, réglez le vérin de levage de l'unité de coupe ; voir Réglage du jeu des bras de levage et Réglage des boulons d'arrêt des bras de levage.
Important: Un jeu insuffisant au niveau du support du panneau de plancher avant peut endommager les bras de levage.

Sur l'unité de coupe arrière, mesurez l'espace entre la bande d'usure sur la barre d'usure de l'unité de coupe et la butée (Figure 25).
Note: L'espace correct est de 0,51 à 2,54 mm. Si ce n'est pas le cas, réglez le vérin de levage de l'unité de coupe ; voir Réglage du jeu de l'unité de coupe arrière.
Important: Un espace insuffisant au niveau de la barre d'usure arrière peut endommager l'unité de coupe.

Démarrez le moteur, abaissez les unités de coupe, coupez le moteur, retirez la clé et attendez l'arrêt complet de toutes les pièces mobiles.
De chaque côté de la machine, desserrez les écrous de blocage et dévissez les boulons d'arrêt des bras de levage (Figure 26).

Desserrez l'écrou de blocage sur la tige du vérin de levage (Figure 27).

Retirez l'axe côté tige et tournez la chape.
Remettez l'axe et vérifiez l'écartement.
Répétez les opérations 1 à 4 au besoin.
Démarrez le moteur, levez les unités de coupe, coupez le moteur, retirez la clé et attendez l'arrêt complet de toutes les pièces mobiles.
Mesurez la distance entre les bras de levage gauche et droit et les supports du panneau de plancher.
Note: L'espace correct est de 0,51 à 2,54 mm.
Répétez les opérations 3 à 7 au besoin.
Resserrez l'écrou de blocage de la chape.
Répétez les opérations 2 à 9 de l'autre côté de la machine, puis effectuez la procédure Réglage des boulons d'arrêt des bras de levage.
Important: Un jeu insuffisant au niveau des boulons d'arrêt peut endommager les bras de levage.
Note: Si le bras de levage arrière cogne pendant le transport, réduisez l'écartement.
Démarrez le moteur, levez les unités de coupe, coupez le moteur, retirez la clé et attendez l'arrêt complet de toutes les pièces mobiles.
Réglez le boulon d'arrêt jusqu'à obtention d'un jeu de 0,13 à 1,02 mm entre le boulon et la plaque du bras de levage.

Répétez l'opération 2 pour le boulon d'arrêt de l'autre bras de levage.
Démarrez le moteur, abaissez les unités de coupe, coupez le moteur, retirez la clé et attendez l'arrêt complet de toutes les pièces mobiles.
Desserrez l'écrou de blocage de la tige du vérin de levage (Figure 29).

En vous aidant d'une pince et d'un chiffon, tenez la tige du vérin près de l'écrou et tournez la tige.
Note: Raccourcir la tige permet de réduire le jeu entre la bande d'usure et la butée.
Démarrez le moteur.
Levez les unités de coupe et mesurez le jeu entre la bande d'usure sur la barre d'usure de l'unité de coupe et la butée.
L'espace correct est de 0,51 à 2,54 mm.
Répétez les opérations 1 à 4 au besoin.
Abaissez les unités de coupe, coupez le moteur, retirez la clé et attendez l'arrêt complet de toutes les pièces mobiles.
Resserrez l'écrou de blocage.
Réglez la pression de chaque pneu ; voir Contrôle de la pression des pneus.
Note: Les pneus sont surgonflés pour l'expédition.
Pièces nécessaires pour cette opération:
| Support du loquet | 1 |
| Rivet | 2 |
| Rondelle | 1 |
| Vis (¼" x 2") | 1 |
| Contre-écrou (¼") | 1 |
Décrochez le loquet de capot de son support.
Retirez les rivets (2) qui fixent le support de loquet au capot (Figure 30). Enlevez le support de loquet du capot.

Alignez les trous de montage, puis positionnez le support de loquet CE et le support de loquet du capot sur le capot. Le support de loquet doit être appuyé contre le capot (Figure 31). Ne retirez pas le boulon et l'écrou du bras de support de loquet.

Placez les rondelles en face des trous à l'intérieur du capot
Rivetez les supports et les rondelles sur le capot (Figure 31).
Accrochez le loquet du capot sur son support (Figure 32).

Vissez le boulon dans l'autre bras du support de loquet pour bloquer le loquet en position (Figure 33).
Note: Serrez l'écrou et le boulon jusqu'à ce que le boulon ne se déplace plus d'avant en arrière dans le support du loquet CE.

Pièces nécessaires pour cette opération:
| Protection de l'échappement | 1 |
| Vis autotaraudeuse | 4 |
Pièces nécessaires pour cette opération:
| Autocollant CE – danger d’inclinaison (140-7463) | 1 |
| Autocollant de l'année de production | 1 |
| Autocollant CE | 1 |
Utilisez de l’alcool pour nettoyer le cadre gauche près de la plaque du numéro de modèle/série, et laissez sécher le cadre (Figure 36).

Retirez la pellicule protectrice au dos de l'autocollant de l'année de production et apposez-le sur le cadre, près de la plaque du numéro de série, comme montré à la Figure 36.
Utilisez de l’alcool pour nettoyer le cadre gauche près du loquet de capot, et laissez sécher le cadre (Figure 37).

Retirez le film protecteur et apposez l’autocollant CE sur le cadre, comme montré à la Figure 37.
Pièces nécessaires pour cette opération:
| Kit de levage de rouleau (non compris) | 1 |
Installez le kit rouleau de basculement quand vous utilisez des hauteurs de coupe supérieures.
Levez les unités de coupe à la hauteur maximale.
Localisez le support de cadre au-dessus de l'unité de coupe centrale (Figure 38).
Appuyez sur le rouleau avant de l'unité de coupe centrale et déterminez quels sont les trous du support de basculement qui doivent s'aligner sur les trous du support de cadre pour obtenir le même contact du rouleau quand le support de basculement est monté (Figure 38).

Abaissez les unités de coupe et montez le support de basculement sur le cadre au moyen des 2 boulons de carrosserie et des 2 écrous fournis avec le kit (Figure 38).


Appuyez sur la pédale de déplacement en marche avant (Figure 40) pour faire avancer la machine. Appuyez sur la pédale de marche arrière (Figure 40) pour reculer ou pour faciliter l'arrêt en marche avant. Laissez la pédale revenir à la position NEUTRE ou ramenez-la à cette position pour arrêter la machine.
Avec le talon, poussez le sélecteur de tonte/transport (Figure 40) vers la gauche à la position TRANSPORT, ou vers la droite à la position TONTE.
Les unités de coupe ne peuvent fonctionner que si le sélecteur de tonte/transport est en position TONTE.
Les unités de coupe ne peuvent pas s’abaisser lorsque le sélecteur de tonte/transport est en position TRANSPORT.
Tirez le levier de réglage d'inclinaison (Figure 40) en arrière pour incliner le volant à la position voulue. Repoussez ensuite le levier en avant pour le bloquer en position.

Pour abaisser les unités de coupe au sol, poussez le levier de commande en avant à la position ABAISSEMENT (Figure 41).
Note: Les unités de coupe ne peuvent s'abaisser que si le moteur est en marche. Il n'est pas nécessaire de maintenir le levier en avant pendant que les unités de coupe s'abaissent.
Pour lever les unités de coupe, tirez le levier en arrière à la position de LEVAGE.
Note: Les cylindres ne tournent pas pendant le levage des unités de coupe.
La commande des unités de coupe (Figure 41) a 2 positions : ENGAGéE et DéSENGAGéE. Le commutateur à bascule actionne une électrovanne sur le distributeur pour commander les unités de coupe.
Le témoin de pression d'huile (Figure 41) s'allume quand la pression de l'huile moteur descend au-dessous du niveau admissible.
Le témoin de surchauffe (Figure 41) s'allume si la température du liquide de refroidissement est trop élevée. À cette température, les unités de coupe s’arrêtent. Si la température du liquide de refroidissement monte encore de 5,5 °C, le moteur s'arrête pour éviter de causer d'autres dommages.
Le compteur horaire (Figure 41) indique le nombre total d'heures de fonctionnement de la machine. Il se déclenche chaque fois que la clé de contact est tournée à la position Contact.
Le témoin de préchauffage (Figure 41) s'allume quand les bougies de préchauffage sont activées.
Déplacez la commande d'accélérateur (Figure 41) en avant pour augmenter le régime moteur et en arrière pour le diminuer.
Le témoin d'alternateur (Figure 41) s’éteint quand le moteur tourne. Si le témoin d'alternateur s'allume alors que le moteur tourne, vérifiez le système de charge et réparez-le au besoin.
Utilisez le commutateur d'allumage (Figure 41) pour faire tourner le moteur et allumer les phares. Le commutateur d'allumage a trois positions :
La position ARRêT coupe le moteur.
La position CONTACT/PRéCHAUFFAGE permet de faire tourner le moteur ou de préchauffer la culasse.
La position DéMARRAGE active le démarreur.
Note: Lorsque la clé est à la position CONTACT/PRéCHAUFFAGE, la bougie de préchauffage est activée et le témoin s'allume pendant approximativement 7 secondes.
Déplacez le verrou du levier de levage (Figure 41) en arrière pour empêcher les unités de coupe de retomber.
Chaque fois que vous arrêtez le moteur, serrez le frein de stationnement (Figure 41) pour éviter que la machine ne se déplace accidentellement. Tirez sur le levier pour serrer le frein de stationnement et poussez le levier pour desserrer le frein de stationnement.
Note: Le moteur s'arrête si vous enfoncez la pédale de déplacement alors que le frein de stationnement est serré.
Le collecteur de tonte est situé sous le couvercle de la console de commande (Figure 42).

Utilisez le bouton de commande de vitesse des cylindres du collecteur de tonte pour régler la vitesse de tonte (vitesse des cylindres) des unités de coupe (Figure 42).
Tournez le bouton dans le sens antihoraire pour augmenter la vitesse des cylindres.
Tournez le bouton dans le sens horaire pour réduire la vitesse des cylindres.
Voir les sections Vitesse de tonte (vitesse des cylindres) et Réglage de la vitesse des cylindres pour savoir comment régler la vitesse des cylindres.
Le levier de rodage commande le sens de rotation des unités de coupe pendant la tonte ou pendant le rodage des cylindres et des contre-lames (Figure 42).
Tournez le levier de rodage à la position F quand vous tondez.
Tournez le levier à la position R pour roder les unités de coupe.
Important: Ne modifiez pas la position du levier de rodage pendant la rotation des cylindres.
La jauge de carburant (Figure 43) indique la quantité de carburant dans le réservoir.

Déplacez le levier (Figure 43) situé sur le côté du siège vers l'extérieur, faites coulisser le siège à la position voulue, puis relâchez le levier pour bloquer le siège en position.
Note: Les spécifications et la conception peuvent faire l'objet de modifications sans préavis.
| Largeur de transport | 203 cm pour largeur de coupe de 183 cm234 cm pour largeur de coupe de 216 cm |
| Largeur de coupe | 183 cm ou 216 cm |
| Longueur | 248 cm |
| Hauteur | 193 cm avec ROPS |
| Poids net* | 844 kg |
| Capacité du réservoir de carburant | 28 litres |
| Vitesse de déplacement | Tonte : 0 à 10 km/h ; Transport : 0 à 14 km/h. 0 à 6 km/h |
| * Avec unités de coupe et tous pleins faits | |
Une sélection d'outils et d'accessoires agréés par Exmark est disponible pour augmenter et améliorer les capacités de la machine. Pour obtenir la liste de tous les outils et accessoires agréés, contactez votre concessionnaire-réparateur ou votre distributeur Toro agréé, ou rendez-vous sur www.Toro.com.
Pour garantir un rendement optimal et conserver la certification de sécurité de la machine, utilisez uniquement des pièces de rechange et accessoires d'origine Toro. Les pièces de rechange et accessoires provenant d'autres constructeurs peuvent être dangereux, et leur utilisation risque d'annuler la garantie de la machine.
Note: Les côtés gauche et droit de la machine sont déterminés d'après la position d'utilisation normale.
Ne confiez jamais l'utilisation ou l'entretien de la machine à des enfants ou à des personnes non qualifiées. La réglementation locale peut imposer un âge minimum pour les utilisateurs. Le propriétaire de la machine doit assurer la formation de tous les utilisateurs et mécaniciens.
Familiarisez-vous avec le maniement correct du matériel, les commandes et les symboles de sécurité.
Avant de quitter la position d'utilisation, effectuez la procédure suivante :
Garez la machine sur une surface plane et horizontale.
Débrayez et abaissez les unités de coupe.
Serrez le frein de stationnement.
Coupez le moteur et retirez la clé.
Attendez l'arrêt complet de tout mouvement.
Laissez refroidir la machine avant de la régler, d'en faire l'entretien, de la nettoyer ou de la remiser.
Apprenez à arrêter la machine et le moteur rapidement.
N'utilisez pas la machine s'il manque des capots ou d'autres dispositifs de protection, ou s'ils sont défectueux.
Avant de tondre, vérifiez toujours que les unités de coupe sont en bon état de marche.
Inspectez la zone de travail et débarrassez-la de tout objet pouvant être projeté par la machine.
Ce produit génère un champ électromagnétique. Si vous portez un dispositif médical électronique implantable, consultez votre professionnel de santé avant d'utiliser ce produit.
Faites preuve de la plus grande prudence quand vous manipulez du carburant, en raison de son inflammabilité et du risque d'explosion des vapeurs qu'il dégage.
Éteignez cigarettes, cigares, pipes et autres sources d'étincelles.
Utilisez exclusivement un bidon à carburant homologué.
N'enlevez pas le bouchon du réservoir de carburant et n'ajoutez pas de carburant pendant que le moteur tourne ou est encore chaud.
N'ajoutez pas de carburant et ne vidangez pas le réservoir dans un local fermé.
Ne rangez pas la machine ni les bidons de carburant à proximité d'une flamme nue, d'une source d'étincelles ou d'une veilleuse, telle celle d'un chauffe-eau ou autre appareil.
Si vous renversez du carburant, ne mettez pas le moteur en marche. Évitez toute source possible d'inflammation jusqu'à dissipation complète des vapeurs de carburant.
Utilisez uniquement du gazole propre et neuf à très faible (<15 ppm) ou faible (<1000 ppm) teneur en soufre. Pour garantir la fraîcheur du carburant, n'achetez pas plus que la quantité normalement consommée en 6 mois.
Important: Si vous utilisez du gazole à haute teneur en soufre (teneur en soufre comprise entre 0,50 % [5 000 ppm] et 1 % [10 000 ppm]), vidangez l'huile moteur et remplacez le filtre à huile toutes les 75 heures.
Utilisez du gazole de qualité été (nº 2-D) si la température ambiante est supérieure à -7 °C et du gazole de qualité hiver (nº 1-D ou mélange nº 1-D/2-D) en dessous de cette température. L'usage de carburant de qualité hiver à basses températures réduit le point d'éclair et les caractéristiques d'écoulement à froid, ce qui facilite le démarrage et réduit le colmatage du filtre à carburant.
L'usage de carburant de qualité été au-dessus de -7 °C contribue à prolonger la vie de la pompe à carburant et augmente la puissance comparé au carburant de qualité hiver.
Cette machine peut aussi utiliser un mélange carburant et biodiesel jusqu'à B20 (20 % biodiesel, 80 % pétrodiesel). La partie gazole doit être à faible ou à très faible teneur en soufre. Prenez les précautions suivantes :
La partie biodiesel du carburant doit être conforme à la norme ASTM D6751 ou EN 14214.
Le mélange de carburant doit être conforme à la norme ASTM D975 ou EN590.
Les mélanges au biodiesel peuvent endommager les surfaces peintes.
Utilisez du B5 (teneur en biodiesel de 5 %) ou un mélange de plus faible teneur par temps froid.
Examinez régulièrement les joints et flexibles en contact avec le carburant, car ils peuvent se détériorer avec le temps.
Le filtre à carburant peut se colmater pendant quelque temps après l'adoption de mélanges au biodiesel.
Pour tout renseignement complémentaire sur le carburant biodiesel, veuillez contacter votre concessionnaire.
Capacité du réservoir de carburant : environ 28 l.
Garez la machine sur une surface plane et horizontale, abaissez les unités de coupe, serrez le frein de stationnement, coupez le moteur et enlevez la clé.
Nettoyez la surface autour du bouchon du réservoir de carburant (Figure 44).

Enlevez le bouchon du réservoir de carburant.
Remplissez le réservoir jusqu'à la base du goulot de remplissage.
Note: Ne remplissez pas excessivement le réservoir de carburant.
Remettez le bouchon en place.
Essuyez le carburant éventuellement répandu.
| Périodicité d'entretien | Procédure d'entretien |
|---|---|
| À chaque utilisation ou une fois par jour |
|
Avant de démarrer la machine chaque jour, effectuez les procédures décrites à la section .
| Périodicité d'entretien | Procédure d'entretien |
|---|---|
| À chaque utilisation ou une fois par jour |
|
Si les contacteurs de sécurité sont déconnectés ou endommagés, la machine peut se mettre en marche inopinément et causer des blessures.
Ne modifiez pas abusivement les contacteurs de sécurité.
Vérifiez chaque jour le fonctionnement des contacteurs de sécurité et remplacez ceux qui sont endommagés avant d'utiliser la machine.
Important: Si la machine échoue à l'un des contrôles des contacteurs de sécurité, contactez votre concessionnaire Toro agréé.
Conduisez la machine lentement jusqu'à une surface dégagée.
Abaissez les unités de coupe au sol, coupez le moteur et serrez le frein de stationnement.
Asseyez-vous sur le siège du conducteur.
Serrez le frein de stationnement.
Placez la commande des unités de coupe en position DéSENGAGéE.
Appuyez sur la pédale de déplacement.
Tournez la clé à la position DéMARRAGE.
Note: Le démarreur ne doit pas lancer le moteur quand la pédale de déplacement est enfoncée.
Asseyez-vous sur le siège du conducteur.
Serrez le frein de stationnement.
Placez la commande des unités de coupe en position ENGAGéE.
N'appuyez pas sur la pédale de déplacement.
Tournez la clé à la position DéMARRAGE.
Note: Le démarreur ne doit pas lancer le moteur quand la commande des unités de coupe est en position ENGAGéE.
Asseyez-vous sur le siège du conducteur.
Serrez le frein de stationnement.
Placez la commande des unités de coupe en position DéSENGAGéE.
N'appuyez pas sur la pédale de déplacement.
Démarrez le moteur.
Desserrez le frein de stationnement.
Soulevez-vous du siège du conducteur.
Note: Le moteur doit s'arrêter si vous vous soulevez du siège et si le frein de stationnement est desserré.
Asseyez-vous sur le siège du conducteur.
Serrez le frein de stationnement.
Placez la commande des unités de coupe en position DéSENGAGéE.
N'appuyez pas sur la pédale de déplacement.
Démarrage du moteur.
Appuyez sur la pédale de déplacement.
Note: Le moteur doit s'arrêter si le frein de stationnement est SERRé et si la pédale de déplacement est enfoncée.
Asseyez-vous sur le siège du conducteur.
Serrez le frein de stationnement.
Placez la commande des unités de coupe en position DéSENGAGéE.
N'appuyez pas sur la pédale de déplacement.
Démarrez le moteur.
Desserrez le frein de stationnement.
Soulevez-vous du siège du conducteur.
Appuyez sur la pédale de déplacement.
Note: Le moteur doit s'arrêter en 1 seconde si vous vous soulevez du siège du conducteur et si vous enfoncez la pédale de déplacement.
Le propriétaire/l'utilisateur est responsable des accidents pouvant entraîner des dommages corporels ou matériels et peut les prévenir.
Portez une tenue adaptée, y compris une protection oculaire, un pantalon, des chaussures solides à semelle antidérapante et des protecteurs d'oreilles. Si vos cheveux sont longs, attachez-les et ne portez pas de vêtements amples ni de bijoux pendants.
N'utilisez pas la machine si vous êtes fatigué(e), malade ou sous l'emprise de l'alcool, de médicaments ou de drogues.
Accordez toute votre attention à l'utilisation de la machine. Ne faites rien d’autre qui puisse vous distraire, au risque de causer des dommages corporels ou matériels.
Avant de mettre le moteur en marche, assurez-vous que tous les embrayages sont au point mort, que le frein de stationnement est serré et que vous êtes au poste d'utilisation.
Ne transportez pas de passagers sur la machine et tenez tout le monde, y compris les enfants, à l'écart de la zone de travail.
N'utilisez la machine que si la visibilité est bonne pour éviter les trous ou autres dangers cachés.
Ne tondez pas l'herbe humide. La perte de motricité peut faire déraper la machine.
N'approchez pas les pieds ni les mains des unités de coupe.
Avant de faire marche arrière, vérifiez que la voie est libre juste derrière la machine et sur sa trajectoire.
Soyez prudent à l'approche de tournants sans visibilité, de buissons, d'arbres ou d'autres objets susceptibles de vous masquer la vue.
Arrêtez les unités de coupe quand vous ne tondez pas.
Ralentissez et faites preuve de prudence quand vous changez de direction, ainsi que pour traverser des routes et des trottoirs avec la machine. Cédez toujours le passage.
Ne faites tourner le moteur que dans des lieux bien aérés. Les gaz d'échappement contiennent du monoxyde de carbone, qui est mortel en cas d'inhalation.
Ne laissez pas la machine en marche sans surveillance.
Avant de quitter la position d'utilisation, effectuez la procédure suivante :
Garez la machine sur une surface plane et horizontale.
Débrayez et abaissez les unités de coupe.
Serrez le frein de stationnement.
Coupez le moteur et retirez la clé.
Attendez l'arrêt complet de tout mouvement.
Laissez refroidir la machine avant de la régler, d'en faire l'entretien, de la nettoyer ou de la remiser.
N'utilisez la machine que si la visibilité est suffisante et les conditions météorologiques favorables. N'utilisez pas la machine s'il y a risque d'orage.
Utilisez le régulateur de vitesse (selon l'équipement) uniquement sur les surfaces dégagées, planes et sans obstacles où la machine peut rouler à vitesse constante sans interruption.
Ne retirez aucun des composants du système ROPS de la machine.
Attachez bien la ceinture de sécurité et apprenez à la détacher rapidement en cas d'urgence.
Attachez toujours la ceinture de sécurité.
Vérifiez soigneusement où se trouvent les obstacles en hauteur et ne les touchez pas.
Maintenez le système ROPS en bon état en vérifiant minutieusement et régulièrement s'il est endommagé et en maintenant toutes les fixations bien serrées.
Remplacez tous les composants du ROPS qui sont endommagés. Ne les réparez pas et ne les modifiez pas.
Les pentes augmentent significativement les risques de perte de contrôle et de retournement de la machine pouvant entraîner des accidents graves, voire mortels. Vous êtes responsable de la sécurité d'utilisation de la machine sur les pentes. L'utilisation de la machine sur une pente, quelle qu'elle soit, demande une attention particulière.
Vous devez évaluer l'état du terrain, l'étudier et le baliser pour déterminer si la pente permet d'utiliser la machine sans risque. Faites toujours preuve de bon sens et de discernement quand vous réalisez cette étude.
Lisez les instructions relatives à l'utilisation sur les pentes ci-dessous avant d'utiliser la machine sur une pente. Avant d'utiliser la machine, examinez l'état actuel du terrain pour déterminer s'il se prête à l'utilisation de la machine. Les variations de terrain peuvent modifier le fonctionnement de la machine sur les pentes.
Évitez de démarrer, de vous arrêter ou de tourner sur les pentes. Évitez de changer soudainement de vitesse ou de direction. Tournez lentement et graduellement.
N'utilisez pas la machine si l'adhérence, la direction ou la stabilité peuvent être compromises.
Enlevez ou balisez les obstacles tels que fossés, trous, ornières, bosses, rochers ou autres dangers cachés. L'herbe haute peut masquer les accidents du terrain. Les irrégularités du terrain peuvent provoquer le retournement de la machine.
Tenez compte du fait qu'une perte de l'adhérence peut se produire sur l'herbe humide, en travers des pentes ou dans les descentes.
Faites preuve de la plus grande prudence lorsque vous utilisez la machine près de fortes dénivellations, de fossés, de berges, d'étendues d'eau ou autres dangers. La machine pourrait se retourner brusquement si une roue passe par-dessus une dénivellation quelconque et se retrouve dans le vide, ou si un bord s'effondre. Établissez une zone de sécurité entre la machine et tout danger potentiel.
Identifiez les dangers potentiels depuis le bas de la pente. Si vous constatez la présence de dangers, tondez la pente avec une machine à conducteur marchant.
Dans la mesure du possible, gardez les unités de coupe abaissées au sol quand vous utilisez la machine sur des pentes. La machine peut devenir instable si vous levez les unités de coupe alors qu'elle se déplace sur une pente.
Note: Il peut être nécessaire de purger le système d'alimentation dans les cas suivants ; voir Purge du circuit d'alimentation :
Lors du premier démarrage d'un moteur neuf.
Après un arrêt du moteur dû à une panne de carburant.
Après l'entretien des composants du système d'alimentation, comme le remplacement du filtre à carburant.
Vérifiez que le frein de stationnement est serré et que la commande des cylindres est position DéSENGAGéE.
Enlevez le pied de la pédale de déplacement et vérifiez qu'elle revient à la position NEUTRE.
Placez la commande d'accélérateur à mi-course.
Insérez la clé dans le commutateur d'allumage et tournez-la à la position CONTACT/PRéCHAUFFAGE jusqu'à ce le témoin de préchauffage s'éteigne (environ 7 secondes), puis tournez la clé à la position DéMARRAGE pour engager le démarreur. Relâchez la clé quand le moteur démarre.
Note: Elle revient automatiquement à la position CONTACT.
Important: Pour éviter de faire surchauffer le démarreur, ne l'actionnez pas plus de 15 secondes de suite. Après 10 secondes de lancement continu, attendez 60 secondes avant d'actionner de nouveau le démarreur.
Quand le moteur est mis en marche pour la première fois ou après une révision du moteur, faites fonctionner la machine en marche avant et en marche arrière pendant 1 à 2 minutes. Actionnez aussi le levier de levage et la commande des unités de coupe pour vérifier le bon fonctionnement de toutes les pièces.
Note: Tournez le volant à droite et gauche pour vérifier la réponse de la direction, puis coupez le moteur et vérifiez qu'il n'y pas de fuites d'huile, de pièces desserrées ou d'autres signes d'usure ou de dommages.
La recherche de fuites d'huile, de pièces desserrées et d'autres anomalies peut causer des blessures.
Coupez le moteur et attendez l'arrêt de toutes les pièces mobiles avant de rechercher des fuites d'huile, des pièces desserrées ou autres anomalies.
Placez la commande d'accélérateur en position de RALENTI.
Serrez le frein de stationnement.
Placez la commande des unités de coupe en position DéSENGAGéE.
Abaissez les unités de coupe.
Coupez le moteur, enlevez la clé et attendez l'arrêt complet de toutes les pièces mobiles.
Conduisez la machine jusqu'au lieu de travail et placez-la à l'extérieur de la zone à tondre pour effectuer la première passe.
Tirez sur la commande des unités de coupe (position DéSENGAGéE) ; Commande des unités de coupe.
Placez la commande d'accélérateur en position HAUT RéGIME ; voir Commande d'accélérateur.
Abaissez les unités de coupe au sol au moyen du levier de déplacement des unités de coupe ; voir Levier de commande des unités de coupe – levage/abaissement.
Enfoncez la commande des unités de coupe pour préparer la mise en service des unités de coupe (position ENGAGéE).
Levez les unités de coupe au-dessus du sol au moyen du levier de déplacement.
Commencer à avancer la machine vers la zone à tondre et abaissez les unités de coupe.
Note: Les unités sont en marche.
Avant d'atteindre le point où vous allez tourner, tirez le levier de déplacement des unités de coupe juste le temps de lever les unités de coupe, puis relâchez le levier.
Important: Ne maintenez pas le levier de déplacement des unités de coupe en arrière pendant que vous tournez.
Exécutez un demi-tour en « goutte d'eau » pour aligner rapidement la machine pour la passe suivante.
Placez la commande des unités de coupe en position DéSENGAGéE.
Levez les unités de coupe en position de transport.
Poussez le sélecteur de tonte/transport vers la gauche, à la position TRANSPORT.

Important: Lorsque vous passez entre deux obstacles, veillez à ne pas endommager la machine ou les unités de coupe accidentellement. Soyez particulièrement prudents lorsque vous travaillez sur des terrains en pente. Conduisez lentement et évitez de prendre des virages serrés sur les pentes, pour ne pas retourner la machine.
Note: Vous ne pouvez pas baisser les unités de coupe quand la machine est en mode transport.
Pour obtenir systématiquement de bons résultats et un aspect uniforme, il est important d'associer la vitesse des cylindres à la hauteur de coupe.
Important: Si les cylindres tournent trop lentement, des traînées seront visibles à la surface de l'herbe. S'ils tournent trop rapidement, la coupe ne sera pas nette.
| Cylindre à 5 lames | Cylindre à 8 lames | Cylindre à 11 lames | |||||
|---|---|---|---|---|---|---|---|
| Hauteur de coupe | 8 km/h | 9,6 km/h | 8 km/h | 9,6 km/h | 8 km/h | 9,6 km/h | |
| 63,5 mm | 3 | 3 | 3* | 3* | – | – | |
| 60,3 mm | 3 | 4 | 3* | 3* | – | – | |
| 57,2 mm | 3 | 4 | 3* | 3* | – | – | |
| 54,0 mm | 3 | 4 | 3* | 3* | – | – | |
| 50,8 mm | 3 | 4 | 3* | 3* | – | – | |
| 47,6 mm | 4 | 5 | 3* | 3* | – | – | |
| 44,5 mm | 4 | 5 | 3* | 3* | – | – | |
| 41,3 mm | 5 | 6 | 3* | 3* | – | – | |
| 38,1 mm | 5 | 7 | 3 | 4 | – | – | |
| 34,9 mm | 5 | 8 | 3 | 4 | – | – | |
| 31,8 mm | 6 | 9 | 4 | 4 | – | – | |
| 28,8 mm | 8 | 9* | 4 | 5 | – | – | |
| 25 mm | 9 | 9* | 5 | 6 | – | – | |
| 22,2 mm | 9* | 9* | 5 | 7 | – | – | |
| 19,1 mm | 9* | 9* | 7 | 9 | 6 | 7 | |
| 15,9 mm | 9* | 9* | 9 | 9* | 7 | 7 | |
| 12,7 mm | 9* | 9* | 9 | 9* | 8 | 8 | |
| 9,5 mm | 9* | 9* | 9 | 9* | 9 | 9 | |
|
* Toro déconseille l'utilisation de cette hauteur de coupe et/ou vitesse de tonte. |
|||||||
|
Note: Plus le numéro est élevé, plus la vitesse est élevée. |
|||||||
Vérifiez la hauteur de coupe sélectionnée sur les unités de coupe. Dans la colonne du tableau de sélection de vitesse des cylindres à 5, 8 ou 11 lames, trouvez la hauteur de coupe la plus proche de celle qui existe sur la machine. Sur la même ligne, trouvez le numéro de vitesse de cylindre correspondant à cette hauteur de coupe.
Soulevez et déposez le couvercle du bras de commande (Figure 46).

Tournez le bouton de commande de vitesse des cylindres (Figure 47) à la position correspondant au numéro trouvé à l'opération 1.

Reposez le couvercle sur le bras de commande.
Utilisez la machine pendant plusieurs jours, puis examinez la zone de travail pour vérifier la qualité de la coupe. Vous pouvez décaler la position du bouton de vitesse des cylindres d'un cran de chaque côté du numéro indiqué sur le tableau pour tenir compte de l'état de la zone de travail, de la longueur de l'herbe coupée et de votre propre préférence.
Garez la machine sur une surface plane et horizontale, abaissez les unités de coupe, serrez le frein de stationnement, coupez le moteur et enlevez la clé.
Vérifiez que le réservoir de carburant est au moins à moitié plein.
Déverrouillez et soulevez le capot.
Desserrez la vis de purge sur la pompe d'injection (Figure 48).

Tournez la clé dans le commutateur d'allumage à la position CONTACT.
La pompe d'alimentation électrique se met en marche et force l'air autour de la vis de purge.
Note: Laissez la clé à la position CONTACT jusqu'à ce que le carburant s'écoule régulièrement par la vis.
Resserrez la vis et tournez la clé de contact en position ARRêT.
Note: Le moteur devrait démarrer si vous suivez la procédure ci-dessus. Toutefois, si le moteur refuse de démarrer, il se peut qu'il reste de l'air entre la pompe d'injection et les injecteurs ; voir Purge de l'air des injecteurs.
Pour commencer à travailler, engagez les unités de coupe, puis approchez-vous lentement de la zone de travail. Lorsque les unités de coupe avant se trouvent au-dessus de la zone de travail, abaissez-les.
Pour obtenir la coupe professionnelle avec des bandes droites apparentes recherchées pour certaines applications, choisissez un arbre ou autre objet éloigné et dirigez-vous droit dessus.
Dès que les unités de coupe avant arrivent au bout de la zone de travail, levez les unités de coupe et exécutez un demi-tour en « goutte d'eau » pour aligner rapidement la machine pour la passe suivante.
Les unités de coupe ont tendance à projeter l'herbe à l'avant et à l'arrière de la machine. L'éjection avant est préférable quand on coupe de petites quantités d'herbe, car la finition sera de meilleure qualité. Pour éjecter l'herbe à l'avant, il suffit de fermer le déflecteur arrière sur les unités de coupe.
Pour éviter de vous blesser ou d'endommager la machine, n'ouvrez pas et ne fermez pas les déflecteurs des unités de coupe quand le moteur est en marche.
Coupez le moteur et attendez l'arrêt complet de toutes les pièces mobiles avant d'ouvrir ou de fermer les déflecteurs des unités de coupe.
Pour couper de plus grands volumes d'herbe, positionnez les déflecteurs juste en dessous de l'horizontale. N'ouvrez pas trop les déflecteurs pour éviter que de grosses quantités d'herbe coupée ne viennent s'accumuler sur le cadre, la grille de radiateur arrière et le moteur.
Les unités de coupe sont aussi équipées de masses d'équilibrage du côté opposé au moteur afin d'obtenir une coupe uniforme. Il est possible d'ajouter ou d'enlever des masses si la qualité de la coupe n'est pas uniforme.
Garez la machine sur une surface plane et horizontale.
Débrayez et abaissez les unités de coupe.
Serrez le frein de stationnement.
Coupez le moteur et retirez la clé.
Attendez l'arrêt complet de tout mouvement.
Laissez refroidir la machine avant de la régler, d'en faire l'entretien, de la nettoyer ou de la remiser.
Pour éviter les risques d'incendie, enlevez les débris d'herbe coupée et autres agglomérés sur les unités de coupe, les dispositifs d'entraînement, les silencieux, les grilles de refroidissement et le compartiment moteur. Nettoyez les coulées éventuelles d'huile ou de carburant.
Désengagez l'entraînement de l'outil quand vous transportez la machine ou qu'elle ne sert pas.
Faites l'entretien de la ou des ceintures de sécurité, et nettoyez-les au besoin.
Ne rangez pas la machine ni les bidons de carburant à proximité d'une flamme nue, d'une source d'étincelles ou d'une veilleuse, telle celle d'un chauffe-eau ou d'autres appareils.
Lavez et graissez la machine ; voir Lavage de la machine et Graissage des roulements et bagues.
En cas d'urgence, vous pouvez remorquer la machine sur une courte distance. Exmark déconseille toutefois d'employer cette procédure de manière habituelle.
Important: Ne remorquez pas la machine à plus 3 à 4 km/h au risque d'endommager la transmission. S'il est nécessaire de déplacer la machine sur une longue distance, faites-la transporter par camion ou chargez-la sur une remorque.
Déverrouillez et soulevez le capot.
Près du loquet de capot droit, tournez la vanne de dérivation sur la pompe (Figure 49) de 90° à l'aide de la poignée.

Fermez et verrouillez le capot.
Reliez le véhicule de remorquage à la machine au niveau des points d'attache ; voir Identification des points d'attache.
Asseyez-vous sur le siège et servez-vous du frein de stationnement si nécessaire pour contrôler la machine pendant le remorquage.
Important: Ne mettez pas le moteur en marche quand la vanne de dérivation est ouverte.
Avant de mettre le moteur en marche, tournez la vanne de dérivation de 90° (1/4 de tour) pour la fermer.

Utilisez des rampes d'une seule pièce pour charger la machine sur une remorque ou un camion.
Arrimez solidement la machine.
Note: Les côtés gauche et droit de la machine sont déterminés d'après la position d'utilisation normale.
Note: Vous pouvez télécharger un exemplaire gratuit du schéma hydraulique ou électrique en vous rendant sur www.Toro.com et en cherchant votre machine sous le lien Manuels sur la page d'accueil.
Important: Reportez-vous au Manuel du propriétaire du moteur et au Manuel de l'utilisateur des unités de coupe pour tout renseignement sur les procédures d'entretien complémentaires. Consignes de sécurité pendant l'entretien
Avant de quitter la position d'utilisation, effectuez la procédure suivante :
Garez la machine sur une surface plane et horizontale.
Débrayez et abaissez les unités de coupe.
Serrez le frein de stationnement.
Coupez le moteur et retirez la clé.
Attendez l'arrêt complet de tout mouvement.
Laissez refroidir la machine avant de la régler, d'en faire l'entretien, de la nettoyer ou de la remiser.
Portez une tenue adaptée, notamment une protection oculaire, un pantalon et des chaussures solides à semelle antidérapante. Gardez mains, pieds, vêtements, bijoux et cheveux longs à l'écart des pièces mobiles.
Laissez refroidir les composants de la machine avant d'effectuer toute opération d'entretien.
Si possible, n'effectuez aucun entretien quand le moteur est en marche. Ne vous approchez pas des pièces mobiles.
Ne faites tourner le moteur que dans des lieux bien aérés. Les gaz d'échappement contiennent du monoxyde de carbone, qui est mortel en cas d'inhalation.
Soutenez la machine avec des chandelles chaque fois que vous devez travailler dessous.
Libérez la pression emmagasinée dans les composants avec précaution.
Maintenez toutes les pièces de la machine en bon état de marche et toutes les fixations bien serrées.
Remplacez tous les autocollants usés ou endommagés.
Pour garantir le fonctionnement sûr et optimal de la machine, utilisez exclusivement des pièces de rechange d'origine Toro. Les pièces de rechange provenant d'autres constructeurs peuvent être dangereuses, et leur utilisation risque d'annuler la garantie de la machine.
| Périodicité d'entretien | Procédure d'entretien |
|---|---|
| Après la 1ère heure de fonctionnement |
|
| Après les 10 premières heures de fonctionnement |
|
| Après les 50 premières heures de fonctionnement |
|
| À chaque utilisation ou une fois par jour |
|
| Toutes les 25 heures |
|
| Toutes les 50 heures |
|
| Toutes les 100 heures |
|
| Toutes les 150 heures |
|
| Toutes les 200 heures |
|
| Toutes les 400 heures |
|
| Toutes les 500 heures |
|
| Toutes les 800 heures |
|
| Toutes les 1000 heures |
|
| Toutes les 2000 heures |
|
| Tous les 2 ans |
|
Copiez cette page pour pouvoir vous en servir régulièrement.
| Entretiens à effectuer | Pour la semaine du : | ||||||
|---|---|---|---|---|---|---|---|
| Lun. | Mar. | Mer. | Jeu. | Ven. | Sam. | Dim. | |
| Vérifiez le fonctionnement du système de sécurité. | |||||||
| Vérifiez le fonctionnement des freins. | |||||||
| Contrôlez le niveau de carburant. | |||||||
| Contrôlez le niveau d'huile moteur. | |||||||
| Contrôlez le niveau du liquide de refroidissement. | |||||||
| Vidangez le séparateur d'eau/de carburant. | |||||||
| Contrôlez le filtre à air, la cuvette à poussière et la valve de purge. | |||||||
| Vérifiez les bruits anormaux en provenance du moteur.1 | |||||||
| Vérifiez la propreté du radiateur et de l'écran. | |||||||
| Vérifiez les bruits de fonctionnement anormaux. | |||||||
| Contrôlez le niveau d'huile hydraulique. | |||||||
| Vérifiez l'état des flexibles hydrauliques. | |||||||
| Recherchez des fuites éventuelles. | |||||||
| Contrôlez le niveau de carburant. | |||||||
| Contrôlez la pression des pneus. | |||||||
| Vérifiez le fonctionnement des instruments. | |||||||
| Contrôlez le contact cylindre/contre-lame. | |||||||
| Vérifiez le réglage de la hauteur de coupe. | |||||||
| Lubrifiez tous les graisseurs.2 | |||||||
| Retouchez les peintures endommagées. | |||||||
| Lavez la machine. | |||||||
|
1Contrôlez les bougies de préchauffage et les injecteurs en cas de démarrage difficile, de fumée excessive ou de fonctionnement irrégulier du moteur. 2Immédiatement après chaque lavage, quelle que soit la fréquence d'entretien indiquée. |
|||||||
| Contrôle effectué par : | ||
| Point contrôlé | Date | Information |
| 1 | ||
| 2 | ||
| 3 | ||
| 4 | ||
| 5 | ||
Garez la machine sur une surface plane et horizontale.
Abaissez les unités de coupe.
Serrez le frein de stationnement.
Coupez le moteur et enlevez la clé.
Attendez l'arrêt complet de tout mouvement.
Calez les roues.
Levez l'avant de la machine en plaçant un cric sous le tube carré du cadre inférieur, aussi près que possible de la plaque latérale.

Soutenez la machine en plaçant des chandelles capables d'en supporter le poids sous le tube carré ou les moteurs de roues ; voir Caractéristiques techniques.
Calez les roues.
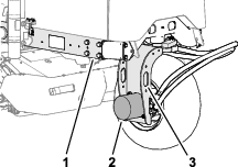
Fixez le palan au point d'attache de la fourche de la roue arrière (Figure 52).

Soulevez la machine avec précaution.
Soutenez la machine avec des chandelles capables d'en supporter le poids ; voir Caractéristiques techniques.
Calez les roues.
Soulevez l'arrière de la machine en plaçant un cric sous le moteur de la roue arrière (Figure 63).

Soutenez la machine avec des chandelles capables d'en supporter le poids ; voir Caractéristiques techniques.
Retirez les 2 boutons qui fixent le couvercle de la batterie sur la machine et déposez le couvercle (Figure 50).

| Périodicité d'entretien | Procédure d'entretien |
|---|---|
| Toutes les 50 heures |
|
| Toutes les 500 heures |
|
Type de graisse : graisse au lithium nº 2
Les graisseurs de la machine doivent être lubrifiés régulièrement. Si vous utilisez la machine dans des conditions sales et poussiéreuses, des impuretés peuvent pénétrer dans les roulements et les bagues, et en accélérer l'usure. Lubrifiez les graisseurs immédiatement après chaque lavage, quelle que soit la fréquence d'entretien indiquée.
Emplacements et nombre de graisseurs :
Pivot d'unité de coupe arrière (Figure 57)

Pivot d'unité de coupe avant (Figure 58)

Pivot de direction (Figure 59)

Pivot de bras de levage arrière et vérin de levage (2) (Figure 60)

Pivot de bras de levage avant gauche et vérin de levage (2) (Figure 61)

Pivot de bras de levage avant droit et vérin de levage (2) (Figure 62)

Mécanisme de réglage du point mort (Figure 63)

Sélecteur de tonte/transport (Figure 64)

Pivot de tension de courroie (Figure 65)

Les roulements souffrent rarement de défauts de matériaux ou de fabrication. Les pannes les plus courantes sont dues à l'humidité et à la contamination qui réussissent à pénétrer les joints de protection. Les roulements graissés doivent être nettoyés régulièrement afin d'éliminer les débris destructeurs. Les roulements étanches sont prégarnis de graisse spéciale et un solide joint intégré empêche les contaminants et l'humidité d'atteindre les éléments rotatifs.
Les roulements étanches n'ont pas besoin d'être graissés et ne nécessitent aucun entretien à court terme. Cela minimise l'entretien courant nécessaire et réduit les risques de contamination du gazon par la graisse. Ces roulements étanches assurent de bonnes performances et une longue durée de vie dans des conditions normales d'utilisation, mais vous devez vérifier périodiquement l'état des roulements et l'intégrité des joints pour éviter les temps d'arrêt. Examinez les roulements à chaque saison et remplacez-les s'ils sont endommagés ou usés. Les roulements sont sensés fonctionner en douceur, sans échauffement, silencieusement, sans se desserrer et sans corrosion (rouille).
En raison des conditions d'utilisation (c.-à-d. sable, produits chimiques d'entretien des gazons, eau, impacts, etc.), les ensembles roulements/joints sont considérés comme des pièces à usure normale. Les pannes de roulements qui ne sont pas dues à des défauts de matériau ou de fabrication ne sont normalement pas couvertes par la garantie.
Note: La durée de vie des roulements peut être réduite par de mauvaises procédures de lavage. Ne lavez pas la machine quand elle est encore chaude et évitez d'utiliser un jet d'eau puissant et une grande quantité d'eau directement sur les roulements.
Coupez le moteur avant de contrôler le niveau d'huile ou d'ajouter de l'huile dans le carter.
Ne modifiez pas le réglage du régulateur et ne faites pas tourner le moteur à un régime excessif.
Utilisez une huile moteur de qualité à basse teneur en cendre conforme ou supérieure aux spécifications suivantes :
|
ACEA – E6 |
|
API – CH-4 ou mieux |
|
JASO – DH-2 |
Viscosité d'huile préconisée : SAE 15W-40 (au-dessus de -17 °C)
Autre viscosité d’huile possible : SAE 10W-30 ou 5W-30 (toutes températures)
L'huile moteur Toro Premium est en vente chez votre distributeur Toro agréé avec l'indice de viscosité 15W-40 ou 10W-30.
| Périodicité d'entretien | Procédure d'entretien |
|---|---|
| À chaque utilisation ou une fois par jour |
|
À la livraison, le carter moteur contient de l'huile ; vérifiez toutefois le niveau d'huile avant et après le premier démarrage du moteur.
Note: L'huile moteur Exmark Premium est en vente chez les distributeurs avec la viscosité 15W-40 ou 10W-30. Consultez le catalogue de pièces pour les numéros de référence.
Note: Le meilleur moment pour vérifier le niveau d'huile moteur est en début de journée, quand le moteur est froid avant sa mise en marche. Si le moteur a déjà tourné, attendez au moins 10 minutes que l'huile retourne dans le carter avant de contrôler le niveau. Si le niveau d'huile est à la même hauteur ou en dessous du repère minimum sur la jauge, faites l'appoint pour l'amener au repère maximum. Ne remplissez pas excessivement. Si le niveau d'huile se situe entre les repères minimum et maximum, il n'est pas nécessaire de faire l'appoint.
Préparez la machine pour l'entretien ; voir Préparation à l'entretien.
Déverrouillez et soulevez le capot.
Retirez la jauge (Figure 66) et essuyez-la sur un chiffon propre.

Remettez la jauge dans le tube en l'enfonçant au maximum, puis ressortez-la et vérifiez le niveau d'huile.
Si le niveau est bas, retirez le bouchon de remplissage (Figure 67) et versez progressivement de petites quantités d'huile, en vérifiant fréquemment le niveau, jusqu'à ce que l'huile atteigne le repère maximum sur la jauge.
Important: Maintenez le niveau d'huile moteur entre les repères maximum et minimum sur la jauge. Un niveau d'huile moteur insuffisant ou excessif peut endommager gravement le moteur.

Remettez le bouchon de remplissage et la jauge en place.
Fermez et verrouillez le capot.
| Périodicité d'entretien | Procédure d'entretien |
|---|---|
| Après les 50 premières heures de fonctionnement |
|
| Toutes les 150 heures |
|
Capacité du carter moteur : environ 3,8 litres avec le filtre
Préparez la machine pour l'entretien ; voir Préparation à l'entretien.
Déverrouillez et soulevez le capot, et attendez que le moteur refroidisse.
Enlevez un bouchon de vidange (Figure 68) et laissez couler l'huile dans un bac de vidange. Remettez le bouchon en place lorsque la vidange est terminée.

Déposez le filtre à huile (Figure 69).

Appliquez une fine couche d'huile propre sur le joint du filtre de rechange avant de le mettre en place.
Note: Ne serrez pas le filtre excessivement.
Rajoutez de l'huile dans le carter moteur ; voir Spécifications de l'huile moteur et Contrôle du niveau d'huile moteur.
Fermez et verrouillez le capot.
| Périodicité d'entretien | Procédure d'entretien |
|---|---|
| Toutes les 200 heures |
|
Vérifiez si le boîtier du filtre à air présente des dommages susceptibles d'occasionner des fuites d'air. Remplacez-le s'il est endommagé. Vérifiez que le système d'admission ne présente pas de fuites, de dommages ou de colliers de flexible desserrés.
Effectuez l'entretien du filtre à air aux intervalles prescrits ou plus fréquemment si les performances du moteur baissent en raison de conditions de travail extrêmement poussiéreuses ou sales. Changer le filtre à air prématurément ne fait qu'accroître le risque de contamination du moteur par des impuretés quand le filtre est déposé.
Le couvercle doit être parfaitement ajusté sur le boîtier du filtre à air.
Préparez la machine pour l'entretien ; voir Préparation à l'entretien.
Ouvrez le capot.
Desserrez les fixations qui maintiennent le couvercle sur le boîtier du filtre à air (Figure 70).

Déposez le couvercle du boîtier du filtre à air.
Avant de déposer le filtre, utilisez de l'air comprimé à basse pression (2,76 bar) propre et sec pour éliminer toute accumulation importante de débris entre l'extérieur du préfiltre et la cartouche. N'utilisez pas d'air sous haute pression car il pourrait forcer les impuretés à travers le filtre et dans le canal d'admission. Cette procédure de nettoyage évite que des débris n'aboutissent dans l'admission lors du retrait du préfiltre.
Retirez l’élément filtrant (Figure 70).
Note: Le nettoyage de l'élément usagé peut endommager le matériau du filtre.
Déposez la valve de sortie en caoutchouc (Figure 70) de l’orifice d'éjection de saletés du couvercle du filtre à air.
Nettoyez la valve de sortie et l'orifice d'éjection, et remettez la valve sur l'orifice.
Vérifiez que le filtre de rechange n'a pas été endommagé pendant le transport. Vérifiez l'extrémité d'étanchéité du filtre et du boîtier.
Important: N'utilisez pas l'élément s'il est endommagé.
Insérez l'élément de rechange en appuyant sur le bord extérieur pour l'engager dans la cartouche.
Important: N'appuyez pas sur la partie centrale flexible de l'élément.
Montez le couvercle en dirigeant la valve de sortie en caoutchouc vers le bas, entre les positions 5:00 et 7:00 heures environ vu de l'extrémité.
Fixez le couvercle avec les 2 attaches.
Fermez et verrouillez le capot.
| Périodicité d'entretien | Procédure d'entretien |
|---|---|
| Tous les 2 ans |
|
Préparez la machine pour l'entretien ; voir Préparation à l'entretien.
Vidangez et nettoyez le réservoir si le circuit d'alimentation est contaminé ou si vous prévoyez de remiser la machine pendant une période prolongée. Rincez le réservoir avec du carburant neuf.
| Périodicité d'entretien | Procédure d'entretien |
|---|---|
| Toutes les 400 heures |
|
Préparez la machine pour l'entretien ; voir Préparation à l'entretien.
Déverrouillez et soulevez le capot.
Vérifiez que les canalisations et les raccords de carburant ne sont pas détériorés, endommagés ou desserrés.
Note: Réparez ou remplacez les canalisations et les raccords de carburant usés ou endommagés.
Fermez et verrouillez le capot.
| Périodicité d'entretien | Procédure d'entretien |
|---|---|
| À chaque utilisation ou une fois par jour |
|
Préparez la machine pour l'entretien ; voir Préparation à l'entretien.
Déverrouillez et soulevez le capot, et attendez que le moteur refroidisse.
Placez un bac de vidange propre sous le filtre à carburant.
Desserrez le robinet de vidange au bas de la cartouche du filtre (Figure 71).

Resserrez le robinet quand la vidange est terminée.
Démarrez le moteur, recherchez des fuites éventuelles, puis coupez le moteur.
Note: Réparez toutes les fuites de carburant.
Fermez et verrouillez le capot.
| Périodicité d'entretien | Procédure d'entretien |
|---|---|
| Toutes les 400 heures |
|
Préparez la machine pour l'entretien ; voir Préparation à l'entretien.
Déverrouillez et soulevez le capot, et attendez que le moteur refroidisse.
Nettoyez la surface autour des supports de la cartouche du filtre (Figure 71).
Déposez la cartouche et nettoyez la surface de montage.
Lubrifiez le joint de la cartouche avec de l'huile propre.
Installez la cartouche à la main jusqu'à ce que le joint soit en appui contre la surface de montage. Serrez ensuite la cartouche d'un demi-tour supplémentaire.
Démarrez le moteur, recherchez des fuites éventuelles, puis coupez le moteur.
Note: Réparez toutes les fuites de carburant.
Fermez et verrouillez le capot.
Note: Cette procédure ne doit être utilisée que si l'air du circuit d'alimentation a été purgé en suivant les procédures d'amorçage normales et que le moteur refuse de démarrer ; voir Purge du circuit d'alimentation.
Si possible, effectuez chaque opération de la procédure indiquée sous Préparation à l'entretien.
Déverrouillez et ouvrez le capot et attendez que le moteur refroidisse s'il est chaud.
Desserrez l'écrou-raccord sur la conduite de carburant reliée à l'injecteur nº 1.

Placez la commande d'accélérateur en position HAUT RéGIME.
Tournez la clé en position DéMARRAGE et observez l'écoulement du carburant autour du raccord. Tournez la clé à la position ARRêT lorsque le carburant s'écoule régulièrement.
Important: Pour éviter de faire surchauffer le démarreur, ne l'actionnez pas plus de 15 secondes de suite. Après 10 secondes de lancement continu, attendez 60 secondes avant d'actionner de nouveau le démarreur.
Serrez fermement l'écrou-raccord.
Nettoyez toute trace de carburant sur le moteur.
Répétez les opérations 3 à 7 pour les autres injecteurs.
Démarrez le moteur, recherchez des fuites éventuelles, puis coupez le moteur.
Note: Réparez toutes les fuites de carburant.
Fermez et verrouillez le capot.
Débranchez la batterie avant de réparer la machine. Débranchez toujours la borne négative avant la borne positive. Rebranchez la borne positive avant la borne négative.
Chargez la batterie dans un endroit dégagé et bien aéré, à l'écart des flammes ou sources d'étincelles. Débranchez le chargeur du secteur avant de brancher ou de débrancher la batterie. Portez des vêtements de protection et utilisez des outils isolés.
| Périodicité d'entretien | Procédure d'entretien |
|---|---|
| Toutes les 25 heures |
|
L'électrolyte contient de l'acide sulfurique, qui est mortel en cas d'ingestion et cause de graves brûlures.
Ne buvez jamais l'électrolyte et évitez tout contact avec les yeux, la peau ou les vêtements. Portez une protection oculaire et des gants en caoutchouc.
Faites le plein d'électrolyte à proximité d'une arrivée d'eau propre, de manière à pouvoir rincer abondamment la peau en cas d'accident.
S'ils sont mal acheminés, les câbles de la batterie peuvent subir des dommages ou endommager le tracteur et produire des étincelles. Les étincelles peuvent provoquer l'explosion des gaz de la batterie et vous blesser.
Débranchez toujours le câble négatif (noir) de la batterie avant le câble positif (rouge).
Branchez toujours le câble positif (rouge) avant le câble négatif (noir).
Préparez la machine pour l'entretien ; voir Préparation à l'entretien.
Déposez le couvercle de la batterie ; voir Retrait du couvercle de la batterie.
Enlevez les bouchons de remplissage de la batterie.
Faites l’appoint d'électrolyte dans les éléments de la batterie avec de l’eau distillée ou déminéralisée.
Note: Le niveau ne doit pas dépasser la base de l'anneau fendu dans chaque élément.
Mettez en place les bouchons de remplissage en dirigeant les reniflards vers l'arrière (vers le réservoir de carburant).
Nettoyez régulièrement le dessus de la batterie avec une brosse trempée dans une solution d'ammoniac ou de bicarbonate de soude. Rincez la surface avec de l'eau après le nettoyage.
Important: Les bouchons de remplissage doivent rester en place pendant le nettoyage.
Vérifiez que les cosses des câbles de batterie et les bornes de la batterie ne sont pas corrodées. En cas de corrosion, procédez comme suit :
Débranchez le câble négatif (–) de la batterie.
Débranchez le câble positif (+) de la batterie.
Nettoyez séparément les cosses et les bornes.
Branchez le câble positif (+) de la batterie.
Branchez le câble négatif (–) de la batterie.
Enduisez les cosses et les bornes de produit de protection pour bornes de batterie.
Vérifiez que les cosses des câbles sont bien serrées sur les bornes de la batterie.
Posez le couvercle de la batterie.
Note: Remisez la machine dans un lieu où la température est plus basse plutôt que plus élevée pour éviter que la batterie se décharge plus rapidement.
Préparez la machine pour l'entretien ; voir Préparation à l'entretien.
Soulevez et déposez le couvercle du bras de commande (Figure 73).

Localisez le fusible ouvert dans le porte-fusibles ou la boîte à fusibles (Figure 73).
Remplacez le fusible par un fusible de même type et de même intensité.
Reposez le couvercle sur le bras de commande (Figure 73).
| Périodicité d'entretien | Procédure d'entretien |
|---|---|
| À chaque utilisation ou une fois par jour |
|
La stabilité de la machine sur les pentes est réduite si les pneus ne sont pas suffisamment gonflés. Celle-ci risque alors de se retourner et de vous blesser, parfois mortellement.
Veillez à toujours utiliser une pression de gonflage suffisante.
Note: Les pneus doivent être uniformément gonflés à la pression préconisée pour garantir de bons résultats et de bonnes performances.
Contrôlez la pression de chaque pneu. Les pneus doivent être gonflés à une pression de 0,97 à 1,10 bar.
Au besoin, gonflez ou dégonflez les pneus jusqu'à obtenir une pression de 0,97 à 1,10 bar.
| Périodicité d'entretien | Procédure d'entretien |
|---|---|
| Après la 1ère heure de fonctionnement |
|
| Après les 10 premières heures de fonctionnement |
|
| Toutes les 200 heures |
|
Serrez les écrous de roues en étoile à un couple de 61 à 88 N·m.
Un mauvais serrage des écrous de roues peut occasionner des blessures.
Serrez les écrous de roues à un couple de 61 à 88 N·m.
| Périodicité d'entretien | Procédure d'entretien |
|---|---|
| Après la 1ère heure de fonctionnement |
|
| Après les 10 premières heures de fonctionnement |
|
| Toutes les 200 heures |
|
Serrez les écrous de moyeu de l'essieu à un couple de 339 à 373 N·m.
Si la machine se déplace alors que la pédale de déplacement est à la positon NEUTRE, réglez la came de transmission.
Garez la machine sur une surface plane et horizontale, abaissez les unités de coupe, serrez le frein de stationnement, coupez le moteur et enlevez la clé de contact.
Soulevez une roue avant et une roue arrière et placez des chandelles sous le cadre.
Si la machine n'est pas supportée correctement, elle risque de retomber accidentellement et de blesser la personne qui se trouve dessous.
Pour que la machine ne bouge pas pendant le réglage, soulevez une roue avant et la roue arrière au-dessus du sol.
Desserrez le contre-écrou de la came de réglage de la transmission (Figure 74).

Le moteur doit tourner pour effectuer le réglage final de la came de réglage de transmission. Les pièces mobiles et les surfaces brûlantes peuvent causer des blessures.
Gardez les mains, les pieds, le visage et toute autre partie du corps à l'écart du silencieux et autres parties brûlantes du moteur, ainsi que des pièces rotatives.
Mettez le moteur en marche et tournez l'hexagone de la came dans un sens puis dans l'autre déterminer la position centrale de la course de réglage du point mort.
Serrez le contre-écrou pour bloquer le réglage.
Coupez le moteur.
Retirez les chandelles qui soutiennent la machine et abaissez la machine au sol. Faites un essai de conduite pour vérifier que la machine ne bouge plus quand la pédale de déplacement est en position neutre.
L'ingestion de liquide de refroidissement peut être toxique ; rangez-le hors de la portée des enfants et des animaux domestiques.
Les projections de liquide de refroidissement brûlant sous pression ou le contact avec le radiateur brûlant et les pièces qui l'entourent peuvent causer des brûlures graves.
Laissez toujours refroidir le moteur pendant au moins 15 minutes avant d'enlever le bouchon du radiateur.
Servez-vous d'un chiffon pour ouvrir le bouchon du radiateur et desserrez-le lentement pour laisser la vapeur s'échapper.
Le réservoir de liquide de refroidissement est rempli à l'usine d'un mélange 50/50 d'eau et de liquide de refroidissement longue durée à base d'éthylène glycol.
Important: Utilisez uniquement des liquides de refroidissement en vente dans le commerce et répondant aux spécifications énoncées dans le Tableau des normes des liquides de refroidissement longue durée.N'utilisez pas de liquide de refroidissement ordinaire (vert) issu de la technologie des acides inorganiques (IAT) dans la machine. Ne mélangez pas les liquides de refroidissement ordinaires et longue durée.
|
Type à l'éthylène-glycol |
Type avec inhibiteur de corrosion |
|
Antigel longue durée |
Technologie des acides organiques (OAT) |
|
Important: Ne vous fiez pas à la couleur du liquide de refroidissement pour différencier les types de liquides de refroidissement ordinaire (IAT) et longue durée.Les fabricants de liquides de refroidissement peuvent teinter les liquides de refroidissement longue durée dans les couleurs suivantes : rouge, rose, orange, jaune, bleu, vert-bleu, violet et vert. Utilisez un liquide de refroidissement répondant aux spécifications énoncées dans le Tableau des normes des liquides de refroidissement longue durée. |
|
|
ATSM International |
SAE International |
|
D3306 et D4985 |
J1034, J814 et 1941 |
Important: Le mélange concentré doit être constitué à part égale de liquide de refroidissement et d'eau.
De préférence : si le liquide de refroidissement est mélangé à partir de concentré, le mélanger avec de l'eau distillée.
Option privilégiée : en l'absence d'eau distillée, utiliser un liquide de refroidissement prémélangé au lieu de concentré.
Minimum requis : en l'absence d'eau distillée et de liquide de refroidissement prémélangé, mélanger du liquide concentré avec de l'eau potable propre.
| Périodicité d'entretien | Procédure d'entretien |
|---|---|
| À chaque utilisation ou une fois par jour |
|
Capacité du circuit de refroidissement : environ 5,7 litres
Si le moteur vient de tourner, le liquide de refroidissement sous pression peut s'échapper et vous brûler.
N'enlevez pas le bouchon du radiateur si le moteur tourne.
Servez-vous d'un chiffon pour ouvrir le bouchon du radiateur et desserrez-le lentement pour laisser la vapeur s'échapper.
Préparez la machine pour l'entretien ; voir Préparation à l'entretien.
Déverrouillez et soulevez le capot.
Vérifiez le niveau de liquide de refroidissement dans le vase d'expansion (Figure 75).

Note: Quand le moteur est froid, le niveau du liquide de refroidissement doit se situer à peu près entre les deux repères qui figurent sur le côté du vase d'expansion.
Si le niveau de liquide de refroidissement est trop bas, faites l'appoint de liquide de refroidissement spécifié jusqu'à ce que le niveau soit à mi-chemin entre les repères sur le côté du vase d'expansion, puis remettez le bouchon en place.
Important: Ne remplissez pas excessivement le vase d'expansion.
Fermez et verrouillez le capot.
| Périodicité d'entretien | Procédure d'entretien |
|---|---|
| À chaque utilisation ou une fois par jour |
|
| Tous les 2 ans |
|
Enlevez chaque jour les débris qui se trouvent sur le refroidisseur d'huile et le radiateur. Nettoyez-les plus fréquemment s'il y a beaucoup de saleté.
Préparez la machine pour l'entretien ; voir Préparation à l'entretien.
Ouvrez le capot.
Nettoyez soigneusement la surface du moteur.
Déposez la protection inférieure du radiateur (Figure 76).

Nettoyez soigneusement les deux côtés du radiateur avec de l'eau ou de l'air comprimé (Figure 76).
Reposez la protection inférieure du radiateur.
Fermez et verrouillez le capot.
| Périodicité d'entretien | Procédure d'entretien |
|---|---|
| Toutes les 200 heures |
|
Préparez la machine pour l'entretien ; voir Préparation à l'entretien.
Desserrez la vis de fixation du pommeau sur le levier du frein de stationnement (Figure 77).

Tournez le pommeau jusqu'à ce qu'une force de 133 à 178 N soit nécessaire pour actionner le levier.
Serrez la vis de fixation.
| Périodicité d'entretien | Procédure d'entretien |
|---|---|
| Après les 10 premières heures de fonctionnement |
|
| Toutes les 100 heures |
|
Préparez la machine pour l'entretien ; voir Préparation à l'entretien.
Déverrouillez et soulevez le capot.
Contrôlez la tension de la courroie en appuyant dessus à mi-chemin entre les poulies d'alternateur et de vilebrequin.
Note: La courroie devrait présenter une flèche de 11 mm quand une force de 98 N est exercée.

Si la flèche n'est pas correcte, tendez la courroie en procédant comme suit :
Desserrez le boulon qui fixe le renfort au moteur et le boulon qui fixe l'alternateur au renfort.
Insérez un levier entre l'alternateur et le moteur pour extraire l'alternateur.
Lorsque vous avez obtenu la tension correcte, resserrez les boulons de l'alternateur et du renfort pour fixer le réglage.
Fermez et verrouillez le capot.
Insérez un tourne-écrou ou un petit bout de tuyau à l'extrémité du ressort de tension de la courroie.
Quand vous remplacez la courroie d'entraînement hydrostatique, vous devez détendre le ressort qui est soumis à une forte charge. Vous risquez de vous blesser gravement si vous ne relâchez pas la tension du ressort correctement.
Procédez avec prudence pour détendre le ressort.
Appuyez sur l'extrémité du ressort de tension de la courroie pour la sortir du cran dans la patte du support de pompe, puis tirez l'extrémité du ressort vers l'avant (Figure 79).

Remplacez la courroie.
Poussez l'extrémité du ressort de tension de la courroie vers le bas et l'intérieur l'insérer dans le cran de la patte du support de pompe.
Préparez la machine pour l'entretien ; voir Préparation à l'entretien.
Desserrez l'écrou de blocage de la vis de butée de vitesse.
Réglez la vis de butée de vitesse comme suit :
Note: La vitesse de tonte est réglée à l'usine à 9,7 km/h.
Pour réduire la vitesse de tonte, tournez la vis de butée (Figure 80) dans le sens horaire.
Pour augmenter la vitesse de tonte, tournez la vis de butée dans le sens antihoraire.

Maintenez la vis de butée et serrez l’écrou de blocage.
Faites un essai de conduite de la machine pour vérifier le réglage de la vitesse de tonte maximale.
Préparez la machine pour l'entretien ; voir Préparation à l'entretien.
Déverrouillez et soulevez le capot.
Ramenez la commande d'accélérateur en arrière jusqu'à ce qu'elle bute contre la fente dans le panneau de commande.
Desserrez le connecteur du câble d'accélérateur sur le bras du levier de la pompe d'injection (Figure 81).

Maintenez le bras du levier de la pompe d'injection en appui contre la butée de régime de ralenti et serrez le connecteur du câble.
Desserrez les vis de fixation de la commande d'accélérateur sur le panneau de commande.
Poussez la commande d'accélérateur complètement en avant.
Faites glisser la plaque de butée jusqu'à ce quelle touche la commande d'accélérateur et serrez les vis de fixation de la commande sur le panneau de commande.
Si l'accélérateur ne reste pas en position durant cette opération, serrez le contre-écrou utilisé pour régler le dispositif de friction sur la commande d'accélérateur, à un couple de 5 à 6 N·m.
Note: La force nécessaire pour actionner la commande d'accélérateur ne doit pas excéder 89 N.
Fermez et verrouillez le capot.
Consultez immédiatement un médecin si du liquide est injecté sous la peau. Toute injection de liquide hydraulique sous la peau doit être éliminée dans les quelques heures qui suivent par une intervention chirurgicale réalisée par un médecin.
Vérifiez l'état de tous les flexibles et conduits de liquide hydraulique, ainsi que le serrage de tous les raccords et branchements avant de mettre le système hydraulique sous pression.
N'approchez pas les mains ni aucune autre partie du corps des fuites en trou d'épingle ou des gicleurs d'où sort du liquide hydraulique sous haute pression.
Utilisez un morceau de papier ou de carton pour détecter les fuites.
Évacuez avec précaution toute la pression du système hydraulique avant toute intervention sur le système.
| Périodicité d'entretien | Procédure d'entretien |
|---|---|
| À chaque utilisation ou une fois par jour |
|
Vérifiez que les conduites et flexibles hydrauliques ne présentent pas de fuites, ne sont pas pliés, usés, détériorés par les conditions atmosphériques ou les produits chimiques, et que les supports de montage et les raccords ne sont pas desserrés. Effectuez les réparations nécessaires avant d'utiliser la machine.
Le réservoir est rempli en usine de liquide hydraulique de haute qualité. Contrôlez néanmoins le niveau du liquide hydraulique avant le tout premier démarrage du moteur, puis tous les jours ; voir Contrôle du niveau de liquide hydraulique.
Liquide hydraulique recommandé : liquide hydraulique longue durée Exmark PX ; disponible en bidons de 19 litres ou barils de 208 litres.
Note: Si vous utilisez le liquide de remplacement recommandé dans la machine vous n'aurez pas besoin de vidanger le liquide et de remplacer le filtre aussi souvent.
Autres liquides hydrauliques possibles : si vous ne disposez pas de liquide hydraulique longue durée Exmark PX, vous pouvez utiliser d'autres liquides hydrauliques classiques à base de pétrole à condition qu'ils soient conformes aux caractéristiques physiques et aux spécifications de l'industrie suivantes. N'utilisez pas de liquide synthétique. Consultez votre distributeur de lubrifiants pour identifier un produit qui convient.
Note: Exmark décline toute responsabilité en cas de dommage causé par l'utilisation d'huiles de remplacement inadéquates. Utilisez uniquement des produits provenant de fabricants réputés qui répondent de leur recommandation.
| Propriétés physiques : | ||
| Viscosité, ASTM D445 | 44 à 48 cSt à 40 °C | |
| Indice de viscosité, ASTM D2270 | 140 ou plus | |
| Point d'écoulement, ASTM D97 | -37 à -45 °C | |
| Spécifications de l'industrie : | Eaton Vickers 694 (I-286-S, M-2950-S/35VQ25 ou M-2952-S) | |
Note: De nombreuses huiles hydrauliques sont presque incolores, ce qui rend difficile la détection des fuites. Un additif colorant rouge pour liquide hydraulique est disponible en bouteilles de 20 ml. Une bouteille suffit pour 15 à 22 litres de liquide hydraulique. Vous pouvez commander ces bouteilles chez les concessionnaires Exmark agréés (réf. 44-2500).
Important: Le liquide hydraulique biodégradable synthétique « Exmark Premium Synthetic Bio Hyd Fluid » est le seul liquide biodégradable synthétique agréé par Toro. Il est compatible avec les élastomères utilisés dans les systèmes hydrauliques Toro et convient pour de larges plages de températures. Ce liquide est compatible avec les huiles minérales traditionnelles ; toutefois vous devez rincer soigneusement le système hydraulique pour le débarrasser de l'ancien liquide afin d'optimiser la biodégradabilité et les performances. Cette huile est disponible en bidons de 19 litres ou en barils de 208 litres chez votre distributeur Exmark agréé.
| Périodicité d'entretien | Procédure d'entretien |
|---|---|
| À chaque utilisation ou une fois par jour |
|
Le réservoir est rempli en usine de liquide hydraulique de haute qualité. Le moment le plus propice pour contrôler le niveau d'huile hydraulique est quand l'huile est froide. La machine doit être dans la configuration de transport.
Préparez la machine pour l'entretien ; voir Préparation à l'entretien.
Nettoyez la surface autour du goulot et du bouchon de remplissage du réservoir hydraulique (Figure 82), et enlevez le bouchon.

Dévissez la jauge du goulot de remplissage et essuyez-la sur un chiffon propre.
Remettez la jauge dans le goulot de remplissage, ressortez-la et contrôlez le niveau de liquide.
Note: Le niveau ne doit pas être à moins de 6 mm du repère sur la jauge.
Si le niveau est trop bas, ajoutez une quantité suffisante du liquide spécifié pour atteindre le repère maximum ; voir Liquides hydrauliques spécifiés.
Important: Ne remplissez pas excessivement le réservoir hydraulique.
Remettez la jauge dans le goulot et revissez le bouchon en place.
13,2 litres ; voir Liquides hydrauliques spécifiés.
| Périodicité d'entretien | Procédure d'entretien |
|---|---|
| Toutes les 800 heures |
|
| Toutes les 2000 heures |
|
Le liquide hydraulique chaud peut causer de graves brûlures.
Laissez refroidir l'huile hydraulique avant de procéder à un quelconque entretien du système hydraulique.
Si le liquide est contaminé, demandez à votre concessionnaire Toro agréé de rincer le système. Le liquide contaminé a un aspect laiteux ou noir comparé à du liquide propre.
Préparez la machine pour l'entretien ; voir Préparation à l'entretien.
Débranchez le flexible hydraulique (Figure 83) ou déposez le filtre hydraulique (Figure 84) et faites couler le liquide hydraulique dans un bac de vidange.


Rebranchez le flexible hydraulique quand la vidange est terminée.
Versez environ 22,7 litres de liquide hydraulique dans le réservoir (Figure 85) ; voir Liquides hydrauliques spécifiés.
Important: Utilisez uniquement les liquides hydrauliques spécifiés. Tout autre liquide est susceptible d'endommager le système.

Remettez la jauge dans le goulot et revissez le bouchon en place.
Mettez le moteur en marche et actionnez toutes les commandes hydrauliques pour faire circuler le liquide hydraulique dans tout le circuit.
Recherchez des fuites éventuelles, puis coupez le moteur.
Vérifiez le niveau d'huile et faites l'appoint pour amener le niveau jusqu'au repère maximum sur la jauge.
Important: Ne remplissez pas le réservoir excessivement.
| Périodicité d'entretien | Procédure d'entretien |
|---|---|
| Toutes les 800 heures |
|
| Toutes les 1000 heures |
|
Le liquide hydraulique chaud peut causer de graves brûlures.
Laissez refroidir l'huile hydraulique avant de procéder à un quelconque entretien du système hydraulique.
Utilisez un filtre de rechange d'origine Toro (réf. 86-3010).
Important: L'utilisation de tout autre filtre peut annuler la garantie de certaines pièces.
Préparez la machine pour l'entretien ; voir Préparation à l'entretien.
Nettoyez la zone autour de la surface de montage du filtre. Placez un bac de vidange sous le filtre (Figure 86) et enlevez le filtre.

Lubrifiez le joint du filtre de rechange et remplissez le filtre d'huile hydraulique.
Vérifiez la propreté de la surface de montage du filtre. Vissez le filtre jusqu'à ce que le joint touche la plaque de montage, puis serrez le filtre d'un demi-tour.
Mettez le moteur en marche et laissez-le tourner environ 2 minutes pour purger l'air du circuit. Coupez le moteur et recherchez des fuites éventuelles.
Une lame ou contre-lame usée ou endommagée peut se briser et projeter le morceau cassé dans votre direction ou celle d'autres personnes, et infliger des blessures graves ou mortelles.
Vérifiez périodiquement que les lames et les contre-lames ne sont pas excessivement usées ou endommagées.
Examinez toujours les lames avec prudence. Portez des gants et procédez toujours avec précaution pendant leur entretien. Limitez-vous à remplacer ou aiguiser les lames et contre-lames ; n'essayez jamais de les redresser ou de les souder.
Sur les machines à plusieurs unités de coupe, faites attention quand vous tournez une unité de coupe, car sa rotation peut entraîner celle des cylindres des autres unités de coupe.
| Périodicité d'entretien | Procédure d'entretien |
|---|---|
| À chaque utilisation ou une fois par jour |
|
Vérifiez le contact cylindre/contre-lame même si la qualité de la coupe est satisfaisante. Il doit exister un léger contact sur toute la longueur du cylindre et de la contre-lame ; voir Réglage cylindre/contre-lame dans le Manuel de l'utilisateur des unités de coupe.
Les unités de coupe et autres pièces mobiles peuvent causer des blessures.
N'approchez pas les mains, les doigts et les vêtements des unités de coupe et autres pièces mobiles.
N'essayez jamais de faire tourner les unités de coupe avec la main ou le pied quand le moteur est en marche.
Note: Vous trouverez des instructions et des procédures de rodage complémentaires dans les Principes de base des tondeuses à cylindres Toro (avec directives d'aiguisage) (Form nº 09168 SL).
Préparez la machine pour l'entretien ; voir Préparation à l'entretien.
Effectuez les premiers réglages cylindre/contre-lame nécessaires pour le rodage ; voir le Manuel de l'utilisateur des unités de coupe.
Soulevez le couvercle magnétique de la console (Figure 87) pour exposer le collecteur de la tondeuse.

Tournez le levier de rodage à la position R (rodage) (Figure 88).

Si vous modifiez le régime moteur pendant le rodage, les unités de coupe risquent de caler.
Ne variez jamais le régime moteur pendant le rodage.
Le rodage ne doit s'effectuer qu'au ralenti.
Note: Le contacteur du siège est neutralisé quand la commande de rodage est à la position de rodage. Vous n'avez pas besoin d'être assis sur le siège, mais le frein de stationnement doit être serré pour que le moteur tourne.
Mettez le moteur en marche et laissez-le tourner au ralenti.
Placez la commande des unités de coupe en position ENGAGéE.
Appliquez le produit de rodage sur le cylindre avec un pinceau à long manche.
Ne touchez pas les unités de coupe en rotation au risque de vous blesser.
Pour éviter de vous blesser, ne vous approchez pas des unités de coupe avant d'effectuer la procédure.
Important: N'utilisez jamais de pinceau à manche court.
Si est nécessaire d'effectuer un réglage sur les unités de coupe pendant le rodage, procédez comme suit :
Placez la commande des unités de coupe en position DéSENGAGéE.
Coupez le moteur et retirez la clé.
Réglez les unités de coupe.
Répétez les opérations 1 à 3.
Répétez les opérations 3 pour les autres unités de coupe que vous souhaitez roder.
Placez la commande des unités de coupe en position DéSENGAGéE.
Coupez le moteur.
Amenez le levier de rodage à la position F (tonte) (Figure 89).
Important: Si vous ne ramenez pas le levier de rodage à la position F après le rodage, les unités de coupe ne fonctionneront pas correctement.

Reposez le couvercle sur la console de commande.
Lavez toute trace de produit de rodage sur les unités de coupe.
Pour améliorer encore la qualité du tranchant, passez une lime sur la face avant de la contre-lame après le rodage.
Note: Cela permet d'éliminer les bavures ou les aspérités qui ont pu se former le long du tranchant.
Au besoin, lavez la machine seulement avec de l'eau ou en y ajoutant un détergent doux. Vous pouvez laver la machine à l'aide d'un chiffon.
Important: Ne nettoyez pas la machine avec de l'eau saumâtre ou recyclée.
Important: Ne lavez pas la machine au jet haute pression. Cela pourrait endommager le système électrique, décoller des autocollants importants ou enlever la graisse nécessaire aux points de frottement. N'utilisez pas trop d'eau près du panneau de commande, du moteur et de la batterie.
Important: Ne lavez pas la machine pendant que le moteur tourne. Cela pourrait causer des dommages internes au moteur.
Avant de quitter la position d'utilisation, effectuez la procédure suivante :
Garez la machine sur une surface plane et horizontale.
Débrayez et abaissez les unités de coupe.
Serrez le frein de stationnement.
Coupez le moteur et retirez la clé.
Attendez l'arrêt complet de tout mouvement.
Laissez refroidir la machine avant de la régler, d'en faire l'entretien, de la nettoyer ou de la remiser.
Ne rangez pas la machine ni les bidons de carburant à proximité d'une flamme nue, d'une source d'étincelles ou d'une veilleuse, telle celle d'un chauffe-eau ou autre appareil.
Garez la machine sur une surface plane et horizontale, abaissez les unités de coupe, serrez le frein de stationnement, coupez le moteur et enlevez la clé.
Nettoyez soigneusement le groupe de déplacement, les unités de coupe et le moteur.
Contrôlez la pression des pneus ; voir Contrôle de la pression des pneus.
Vérifiez le serrage de toutes les fixations et resserrez-les au besoin.
Lubrifiez tous les graisseurs et points de pivot. Essuyez tout excès de lubrifiant.
Poncez légèrement et retouchez la peinture rayée, écaillée ou rouillée. Réparez les déformations de la carrosserie.
Procédez à l'entretien de la batterie et des câbles ; voir Consignes de sécurité relatives au système électrique
Débranchez les câbles des bornes de la batterie.
Nettoyez la batterie, les cosses des câbles et les bornes de la batterie avec une brosse métallique et un mélange de bicarbonate de soude.
Pour prévenir la corrosion, enduisez les bornes de la batterie et les cosses des câbles de graisse Grafo 112X (Skin-Over) (réf. Toro 505-47) ou de vaseline.
Rechargez lentement la batterie tous les deux mois pendant 24 heures pour prévenir la sulfatation.
Vidangez le carter moteur et remettez le bouchon de vidange.
Déposez le filtre à huile et mettez-le au rebut. Posez un filtre neuf.
Remplissez le moteur d'huile moteur recommandée.
Démarrez le moteur et faites-le tourner au ralenti pendant environ 2 minutes.
Coupez le moteur et retirez la clé.
Rincez le réservoir avec du carburant frais et propre.
Rebranchez tous les raccords du circuit d'alimentation.
Effectuez un nettoyage et un entretien minutieux du filtre à air.
Bouchez l'entrée et l'orifice de sortie du filtre à air avec du ruban imperméable.
Vérifiez la protection antigel et ajoutez un mélange 50/50 d'eau et d'antigel à l'éthylène glycol en fonction de la température minimale anticipée dans votre région.
Si vous remisez la machine pendant plus d’un mois, enlevez la batterie et chargez-la au maximum. Rangez-la sur une étagère ou remettez-la sur la machine. Ne rebranchez pas les câbles si vous remettez la batterie sur la machine. Rangez la batterie dans un endroit frais pour éviter qu'elle ne se décharge trop rapidement. Pour protéger la batterie du gel, maintenez-la chargée au maximum. La densité de l'électrolyte d'une batterie chargée au maximum est comprise entre 1,265 et 1,299.
Le module de commande standard est un dispositif électronique encapsulé produit dans une configuration uniformisée. Le module utilise des composants mécaniques et à semi-conducteurs pour contrôler et commander les fonctions électriques standard qui assurent la sécurité de fonctionnement du produit.
Le module contrôle les entrées, notamment point mort, frein de stationnement, PDF, démarrage, rodage et température élevée. Le module excite les sorties y compris PDF, démarreur et solénoïde de mise sous tension (ETR).
Le module est divisé en entrées et sorties identifiées par des diodes vertes montées sur la carte de circuits imprimés.
L'entrée du circuit de démarrage est excitée par 12 V CC. Toutes les autres entrées sont excitées lorsque le circuit est fermé à la masse. Une diode s'allume pour chaque entrée lorsque le circuit spécifique est excité. Utilisez les diodes pour dépister les pannes des commandes et des circuits d'entrée.
Les circuits de sortie sont excités par une série de conditions d'entrée appropriées. Les 3 sorties comprennent PDF, ETR et démarrage. Les diodes des sorties surveillent l'état des relais indiquant la présence d'une tension à l'une de trois bornes de sortie spécifiques.
Les circuits de sortie ne déterminent pas l'intégrité des dispositifs de sortie, aussi le dépistage des anomalies électriques comprend le contrôle des diodes de sortie et l'essai d'intégrité du faisceau de câblage et des dispositifs habituels. Mesurez l'impédance des composants débranchés, l'impédance à travers le faisceau de câblage (débranché du module de commande standard) ou en appliquant une tension d'essai temporaire au composant spécifique.
Le SCM ne se connecte pas à un ordinateur externe ou à un appareil portable et ne peut pas être reprogrammé. Il n'enregistre pas de données de détection d'anomalies intermittentes.
L'autocollant collé sur le module de commande ne comporte que des symboles. Trois symboles de diode de sortie sont représentés dans la case sortie. Toutes les autres diodes sont des entrées. La figure ci-dessous explique la signification de ces symboles.

Vous trouverez ci-après la procédure logique de dépistage des pannes pour le module de commande standard.
Déterminez l'anomalie de sortie que vous essayez de corriger (PDF, DEMARRAGE OU ETR).
Tournez la clé de contact en position CONTACT et vérifiez que la diode d'alimentation rouge est allumée.
Actionnez toutes les commandes d'entrée pour vérifier que les diodes changent d'état.
Placez les dispositifs d'entrée à la position voulue pour obtenir la sortie appropriée. Reportez-vous au tableau logique pour déterminer l'état de l'entrée appropriée.
Si une diode de sortie spécifique est allumé sans la fonction de sortie correspondante, vérifiez le faisceau de sortie, les connexions et le composant. Effectuez les réparations nécessaires.
Si une diode de sortie spécifique n'est pas allumée, vérifiez les deux fusibles.
Si une diode de sortie spécifique n'est pas allumée et si les entrées sont à l'état voulu, remplacez le module de commande standard et vérifiez si l'anomalie disparaît.
Chaque ligne du tableau logique ci-après identifie les besoins d'entrée et de sortie de chaque fonction spécifique. Les fonctions sont énumérées dans la colonne de gauche. Les symboles identifient une condition de circuit spécifique dont : sous tension, fermé à la masse et ouvert à la masse.
| ENTRÉES | SORTIES | ||||||||||
|---|---|---|---|---|---|---|---|---|---|---|---|
| Fonction | Contact | Point mort | Démarrage | Frein serré | PDF engagée | Siège occupé | Haute température | Rodage | Démarrage | ETR | |
| Démarrage | — | — | + | O | O | — | O | O | + | + | O |
| Marche (siège vide) | — | — | O | O | O | O | O | O | O | + | O |
| Marche (siège occupé) | — | O | O | — | O | — | O | O | O | + | O |
| Tonte | — | O | O | — | — | — | O | O | O | + | + |
| Rodage | — | — | O | O | — | O | O | — | O | + | + |
| Haute température | — | O | — | O | O | O | |||||
(–) Indique un circuit fermé à la masse – Diode allumée.
(O) Indique un circuit ouvert à la masse ou hors tension – Diode éteinte.
(+) Indique un circuit sous tension (bobine d'embrayage, solénoïde ou démarrage) – Diode allumée.
Un blanc indique un circuit qui ne fait pas partie de la logique.
Pour réparer les pannes, tournez la clé de contact sans mettre le moteur en marche. Identifiez la fonction qui ne marche pas et reportez-vous au tableau logique. Vérifiez que l'état de chaque diode d'entrée correspond bien à ce qui est indiqué sur le tableau logique.
Si c'est le cas, vérifiez la diode de sortie. Si la diode de sortie est allumée mais que le dispositif n'est pas sous tension, mesurez la tension disponible au dispositif de sortie, la continuité du dispositif débranché et le potentiel sur le circuit de masse (circuit isolé de la masse). Les réparations dépendront de vos conclusions.