Read this manual carefully to learn how to operate and maintain your product properly. The information in this manual can help you and others avoid injury and product damage. Although Toro designs and produces safe products, you are responsible for operating the product properly and safely.
You may contact Toro directly at www.Toro.com for product safety and operation training materials, accessory information, help finding a dealer, or to register your product.
Whenever you need service, genuine Toro parts, or additional information, contact an Authorized Service Dealer or Toro Customer Service and have the model and serial numbers of your product ready. Figure 1 illustrates the location of the model and serial numbers on the product.

Note: This product complies with all relevant European directives. For details, please see the Declaration of Incorporation (DOI) at the back of this publication.Determine the left and right sides of the machine from the normal operating position.
Important: Teflon® tape is required for the installation of this kit. The tape is used to wrap threads of fittings before assembly. Threads should be wrapped starting at the base and traveling to the tip of fitting to ensure a waterproof seal.
Important: You will need a non-petroleum-based lubricant, such as vegetable oil, to install this kit.
CALIFORNIA
Proposition 65 Warning
Use of this product may cause exposure to chemicals known to the State of California to cause cancer, birth defects, or other reproductive harm.
Improper use or maintenance by the operator or owner can result in injury. To reduce the potential for injury, comply with these safety instructions and always pay attention to the safety alert symbol, which means Caution, Warning, or Danger—personal safety instruction. Failure to comply with the instruction may result in personal injury or death.
Read also the safety and operation instructions in the vehicle Operator's Manual.
Do not aim the hand sprayer at any person or animal. Fluids under high pressure can penetrate skin and cause severe injury, possibly resulting in amputation or death. Hot liquids and chemicals can also cause burns or injury. If any part of the body comes in contact with the spray stream, immediately consult a physician familiar with injected fluid injuries.
Do not place your hand or any other part of your body in front of the spray nozzle.
Do not leave the equipment under pressure when you are not present.
Do not use the hand sprayer if the hose, trigger lock, nozzle, or any other part is damaged or missing.
Do not use the hand sprayer if there are any leaks in any hoses, fittings, or other components.
Do not spray near power lines.
Do not drive while spraying with a hand sprayer.
Wear rubber gloves, safety goggles, and a full body protective suit when spraying chemicals with the hand sprayer.
Lightning can cause severe injury or death. If lightning is seen or thunder is heard in the area, do not operate the machine; seek shelter.
Chemicals are hazardous and can cause personal injury.
Read the directions on the chemical labels before handling the chemicals and follow all manufacturer recommendations and precautions.
Keep chemicals away from your skin. Should contact occur, wash the affected area thoroughly with soap and clean water.
Wear goggles and any other protective equipment recommended by the chemical manufacturer.
![]() |
Safety decals and instructions are easily visible to the operator and are located near any area of potential danger. Replace any decal that is damaged or lost. |

Ensure that the machine is empty of all fluids.
Note: If chemicals have been used in the machine, flush the system thoroughly with clean water; refer to your vehicle Operator's Manual for instructions.
Park the machine on a flat area, set the parking brake, stop the pump, stop the engine, and remove the ignition key.
Disconnect the terminal of the negative battery cable from the battery.
Parts needed for this procedure:
| Hose-reel frame | 2 |
| Shoulder bolt | 4 |
| Flange nut (5/16 inch) | 4 |
| Bolt (5/16 inch) | 2 |
| Jam nut | 2 |
| Hose-reel base | 1 |
| Long bolt (3/8 inch) | 4 |
| Flange nut (3/8 inch) | 4 |
Mount the 2 hose-reel frames to the side of the machine using 4 shoulder bolts and 4 flange nuts (5/16 inch) as shown in Figure 2.

Secure the underside of the hose-reel frames to the machine using 2 bolts (5/16 inch) and 2 jam nuts (Figure 2).
Lower the hose-reel base onto the hose-reel frames, and secure them with 4 long bolts (3/8 inch) and 4 flange nuts (3/8 inch) as shown in Figure 3.

Parts needed for this procedure:
| Wiring harness | 1 |
| Switch box | 1 |
| Swivel plate | 1 |
| Bolt (5/6 inch) | 2 |
| Flange nut (5/16 inch) | 2 |
| Thrust washer | 1 |
| Snap ring | 1 |
| Hose reel | 1 |
| Spray-gun bracket | 1 |
| Carriage bolt | 2 |
| Flange nut (5/16 inch) | 2 |
| Short bolt (3/8 inch) | 4 |
| Small washer | 4 |
| Flange nut (3/8 inch) | 4 |
| Spring pin | 1 |
| Large washer | 1 |
Route the wiring harness up through the hole in the bottom of the switch box.
Moving down the wiring harness, connect the harness to the rate switch, the hose-reel button, and the power relay (Figure 4).
Note: The fuse for the hose-reel motor is located in the switch box.

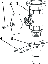
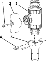
Drop the swivel plate into the hole on the hose-reel base.
On the underside of the hose-reel frame, attach the thrust washer and snap ring to the post on the swivel plate (Figure 5).

Mount the switch box to the swivel plate using 2 bolts (5/16 inch) and 2 flange nuts (5/16 inch) as shown in Figure 6.

Secure the wiring harness to the sides of the swivel plate using the existing clips (Figure 6).
Secure the hose reel to the swivel plate using 4 short bolts (3/8 inch), 4 small washers, and 4 flange nuts (3/8 inch) as shown in Figure 7.
Note: The hose-reel motor should face away from the switch panel.

Install the large washer and spring pin to the underside of the hose-reel frame (Figure 8).

Connect the remaining wiring harness plugs to the motor, the main-harness power, and the hose reel kit plugs.
Note: Retain all removed parts for later installation unless otherwise noted.
Remove the retainer that secures the actuator to the manifold valve for the section valve or agitation valve (Figure 9).
Note: Squeeze the 2 legs of the retainer together while pushing it down.
Note: Retain the actuator and retainer.

Remove the actuator from the manifold valve.
Remove the retainers holding the boom bypass valve cluster assembly, end cap, and the fitting and hose assembly as shown in Figure 10.
Note: You will not use the male cap, but keep the O-ring that is on the cap.

Note and record the current left and right knob settings.
Rotate the boom bypass valve cluster 180° as shown in Figure 11.

Adjust the left and right knobs to the previous settings.
Install the boom valve cluster using the retainers previously removed as shown in Figure .

Parts needed for this procedure:
| Control valve | 1 |
| Hose-reel supply hose | 1 |
| Gasket clamp | 1 |
| Straight, barbed fitting | 1 |
| Shutoff valve | 1 |
| Female cap | 1 |
| Fitting | 1 |
| Bracket | 1 |
| Valve mount | 2 |
| Bolt (M6) | 8 |
| Bolt 1/4-20 x 5/8 | 2 |
| Locknut (1/4 inch) | 2 |
| Manifold tee | 1 |
| Manifold tee cap | 1 |
| Flange | 1 |
| R-Clamp | 1 |
Assemble the red wing handle to the shutoff valve.

Secure the shutoff valve assembly to the boom valve with the previously removed O-ring and retainer.
Install the female cap, O-rings, fitting, and hose assembly onto the control valve using the retainers previously removed.

Install the previously removed actuators to the manifold valve using the previously-removed retainers.
Remove the pressure-sense hose from the coupler.
Assemble the green wing handle and straight fitting to the flanged control valve using the retainer.

Disconnect the cap and coupler from the pressure-gauge port.

Install the 90-degree fitting, control valve, coupler, and pressure gauge.

Install the previously removed actuators to the manifold valve using the previously-removed retainers
Install the control valve bracket onto the valve-mount frame using 2 flange-head bolts (1/4 x 5/8 inch) and locknuts (1/4 inch).

Assemble the red wing handle to a straight control valve.

Assemble the valve mount onto a straight control valve as shown in A of Figure 20.
Secure the valve mount to the control valve with the flange-head screw (#6), and tighten the screw by hand (B of Figure 20).

Install the control valve assembly onto the top of the control valve bracket using 4 screws (M6) as shown in Figure 21.

Secure the control valve assembly to the boom valve with the previously removed O-ring and retainer as shown in Figure 22.
Install the cap (1/2 inch), O-rings, fitting, and hose assembly onto the control valve using the retainers previously removed as shown in Figure 22.

Install the included T-manifold to the end of the valve section using the previously removed retainer.

Assemble the straight fitting to the other straight control valve using the retainer as shown in Figure 24.

Assemble the valve mount onto the control valve.

Secure the control valve assembly to the manifold T-fitting.

Install the control valve assembly onto the bottom of the control valve bracket using 4 bolts (M6).

Install the flange into the manifold tee fitting.

Secure the 90-degree fitting to the flange using a clamp.


Secure the cap to the 90-degree fitting using a clamp.


Install the coupler in the 90-degree fitting.

Install the pressure gauge into the cap.

Parts needed for this procedure:
| Hose-reel supply hose | 1 |
| Bolt 1/4-20 x 5/8 | 1 |
| Locknut (1/4 inch) | 1 |
| R-Clamp | 1 |
Connect the hose-reel supply hose to the control valve using a hose clamp.
Secure the straight, barbed fitting to the open end of the hose-reel supply hose with a hose clamp.
Route the hose-reel supply hose through the R-Clamp, and attach it to the hose reel with a hose clamp.
Note: If the Tank Cleanse Rinse Kit is installed, route the hose behind the rinse pump.



Secure the wiring harness to the supply hose using 2 cable ties.
Parts needed for this procedure:
| Long hose with fitting | 1 |
| Spray gun | 1 |
| Small hose clamp | 1 |
Wrap Teflon® tape around the threads of the hose fitting on the long hose, and install the fitting into the connecting tube on the reel (Figure 38).

Connect the free end of the long hose to the fitting on the spray gun (Figure 39).

Secure the end of the hose with a small hose clamp.
Connect the terminal of the negative battery cable to the battery.
Press the HOSE-WIND button, and carefully guide the hose onto the reel moving the hose from side to side to evenly distribute the hose.
Hands, loose clothing, long hair, and jewelry could get caught in the hose and reel while rewinding and cause injury.
Keep your hands clear of the reel and hose while it is rewinding.
Do not wear loose clothing or jewelry and tie up long hair.
Fluid under pressure can penetrate skin and cause injury.
Keep your body and hands away from nozzles that eject high-pressure fluid.
Do not aim the sprayer at any person or animal.
Make sure that all fluid hoses and lines are in good condition and that all connections and fittings are tight before applying pressure to the system.
Use cardboard or paper to find leaks.
Safely relieve all pressure in the system before performing any work on it.
Get immediate medical help if fluid is injected into skin.
Hot liquids and chemicals can cause burns or other harm.
Important: Always empty and clean the sprayer immediately after each use. Failure to do so may cause the chemicals to dry or thicken in the lines, clogging the pump and other components.
Clean the spray system after each spraying session. To properly clean the spray system:
Use 3 separate rinses.
Use a minimum of 189 L (50 gallons) for each rinse.
Use the cleaners and neutralizers as recommended by the chemical manufacturers.
Use pure, clean water (no cleaners or neutralizers) for the last rinse.
Stop the machine, turn the booms off, and set the parking brake.
Driving while using the hand sprayer can cause loss of control, resulting in injury or death.
Do not operate the hand sprayer while driving.
At the back of the machine, ensure that the trigger lock on the spray gun is locked.
Rotate the green handle on the control valve 90 degrees.
From the operating position, turn the pump on.
Switch the master boom to the On position.
Set the engine to the desired speed, then engage the neutral engine-speed lock.
Important: Do not use a pressure setting higher than 1034 kPa (150 psi) with the hand sprayer.
Pull out the desired amount of hose from the reel.
Important: Do not pull the hose with the spray gun. Always hold the hose and pull on it directly.
Release the trigger lock.
Direct the spray gun nozzle at the area to be sprayed and pull the trigger.
Release the trigger and set the trigger lock when you are finished.
Press the rewind button on the hose reel until only a few feet of hose is out of the reel.
Note: The hose-reel rewind button can only be used when the supervisor key on the sprayer console is in the Unlocked position.
Hands, loose clothing, long hair, and jewelry could get caught in the hose and reel while rewinding and cause injury.
Keep your hands clear of the reel and hose while it is rewinding.
Do not wear loose clothing or jewelry and tie up long hair.
Rotate the green handle on the control valve 90 degrees.
Direct the spray gun nozzle at an area where it is safe to spray, release the trigger lock, and pull the trigger until all remaining fluid is out of the hose, then set the trigger lock.
Return the spray gun to the holder on the back of the reel.
Return the engine to idle speed.
Stop the pump.
Important: Ensure that you flush the spray gun with fresh clean water during your daily cleaning routine (refer to your sprayer Operator's Manual). Failure to properly clean the spray gun may degrade the performance and reliability of the hose reel kit and spray gun.
Use the rate switch to set the desired pressure.