| Cadenza di manutenzione | Procedura di manutenzione |
|---|---|
| Prima di ogni utilizzo o quotidianamente |
|
Questo tosaerba a lame rotanti con operatore a terra è pensato per l'utilizzo da parte di privati. Il suo scopo è quello di tagliare l'erba di prati ben tenuti di complessi residenziali. L’utilizzo di questo prodotto per scopi non conformi alle funzioni per cui è stato concepito può essere pericoloso per l’utente e gli astanti.
Leggete attentamente queste informazioni al fine di utilizzare e mantenere correttamente il prodotto e di evitare infortuni e danni. Voi siete responsabili del corretto utilizzo del prodotto, all'insegna della sicurezza.
Visitate il sito www.Toro.com per maggiori informazioni, compresi suggerimenti sulla sicurezza, materiali di formazione, informazioni sugli accessori, assistenza nella localizzazione di un rivenditore o per registrare il vostro prodotto.
Per assistenza, ricambi originali Toro o ulteriori informazioni, rivolgetevi a un Distributore Toro autorizzato o a un Centro Assistenza Toro, e abbiate sempre a portata di mano il numero del modello e il numero di serie del prodotto. Figura 1 indica la posizione del numero di modello e di serie sul prodotto. Scrivete i numeri nell'apposito spazio.
Important: Con il vostro dispositivo mobile, potete scansionare il codice QR sull’adesivo del numero di serie (se presente) per accedere a informazioni su garanzia, ricambi e altre informazioni sui prodotti

Il sistema di avvertimento adottato dal presente manuale identifica i pericoli potenziali e riporta messaggi di sicurezza, identificati dal simbolo di avvertimento (Figura 2), che segnalano un pericolo in grado di provocare infortuni gravi o la morte se non si osservano le precauzioni raccomandate.

Per evidenziare le informazioni vengono utilizzate due parole. Importante indica informazioni meccaniche di particolare importanza, e Nota evidenzia informazioni generali di particolare rilevanza.
Questo prodotto è conforme a tutte le direttive europee pertinenti; vedere i dettagli nella Dichiarazione di Conformità (DICO) specifica del prodotto, fornita a parte.
Il manuale d'uso del motore in dotazione è fornito per informazioni relative all'Environmental Protection Agency (EPA) statunitense e al Regolamento di controllo delle emissioni della California dei sistemi di emissioni, manutenzione e garanzia. I pezzi di ricambio possono essere ordinati tramite il produttore del motore.
Coppia lorda o netta: La coppia lorda o netta di questo motore è stata valutata in laboratorio dal produttore del motore in conformità alla norma SAE (Society of Automotive Engineers) J1940 o J2723. La configurazione rispondente ai requisiti di sicurezza, emissione e funzionamento comporta una sensibile riduzione della potenza effettiva del motore di questa classe di tosaerba. Si rimanda alle informazioni del produttore del motore fornite con la macchina.
Non manomettete o disattivate i dispositivi di sicurezza sulla macchina e verificatene il corretto funzionamento regolarmente. Non tentate di regolare o manomettere il comando di velocità del motore: così facendo potreste creare condizioni operative non sicure e determinare infortuni personali.
Questa macchina è stata progettata in conformità con EN ISO 5395.
Questo prodotto è in grado di amputare mani e piedi e di scagliare oggetti. Rispettate sempre tutte le norme di sicurezza per evitare gravi infortuni.
Prima di avviare il motore leggete, comprendete ed osservate le istruzioni e le avvertenze riportate nel presente Manuale dell'operatore, sulla macchina e sugli accessori.
Non mettete le mani o i piedi vicino alle parti mobili della macchina o sotto di essa. Restate sempre lontani dall’apertura di scarico.
Non utilizzate la macchina senza che tutti gli schermi e gli altri dispositivi di protezione siano montati e funzionanti.
Tenete lontani gli astanti e i bambini dall’area operativa. Non permettete che bambini e ragazzi utilizzino la macchina. Permettete soltanto a persone responsabili, addestrate, che abbiano dimestichezza con le istruzioni e in adeguate condizioni fisiche di utilizzare la macchina.
Arrestate la macchina, spegnete il motore e attendete che tutte le parti in movimento si fermino prima di eseguire interventi di manutenzione, fare rifornimento di carburante o eliminare eventuali ostruzioni.
L’errato utilizzo o l’errata manutenzione di questa
macchina può causare infortuni. Per ridurre il rischio di incidenti,
rispettate le seguenti norme di sicurezza e fate sempre attenzione
al simbolo di allarme (
), che indica: Attenzione, Avvertenza o Pericolo
– “norme di sicurezza”. La mancanza di rispetto
delle presenti istruzioni può provocare infortuni o la morte.
![]() |
Adesivi e istruzioni di sicurezza sono chiaramente visibili all’operatore e ubicate vicino a qualsiasi area di potenziale pericolo. Sostituite eventuali adesivi se danneggiati o mancanti. |






Important: Togliete e gettate il foglio di protezione di plastica che ricopre il motore, così come qualsiasi altra plastica o elemento di confezionamento sulla macchina.
Note: Assicuratevi che i cavi siano disposti all'esterno della stegola e che non vengano schiacciati (D della Figura 3).



Important: Per avviare il motore in modo sicuro e facile ogniqualvolta usate la macchina, montate il cavo di avviamento a strappo nel guidacavo.

Important: Non avviate il motore con il livello dell’olio troppo basso o troppo alto, per evitare di danneggiare il motore stesso.




| Modello | Peso | Lunghezza | Larghezza | Altezza |
|---|---|---|---|---|
| 21764 | 40 kg | 151 cm | 59 cm | 109 cm |
Note: Stabilite i lati sinistro e destro della macchina dalla normale posizione operativa.
Spegnete sempre la macchina, attendete che tutte le parti in movimento si arrestino e lasciate raffreddare la macchina prima di eseguire interventi di riparazione, manutenzione, pulizia o di rimessarla.
Familiarizzate con il funzionamento sicuro dell'apparecchiatura, con i comandi dell'operatore e con gli adesivi di sicurezza.
Controllate che tutte le protezioni e i dispositivi di sicurezza, come deflettori e/o cesti di raccolta, siano montati e perfettamente funzionanti.
Controllate sempre la macchina per accertarvi che le lame e i bulloni delle lame non siano usurati o danneggiati.
Ispezionate l'area in cui userete la macchina ed eliminate tutti gli oggetti che potrebbero interferire con il suo funzionamento o che la macchina potrebbe scagliare.
Il contatto con la lama in movimento causa gravi ferite. Non inserite le dita sotto la scocca mentre regolate l'altezza di taglio.
Il carburante è estremamente infiammabile e altamente esplosivo. Un incendio o un’esplosione di carburante possono ustionare voi ed altre persone e causare danni.
Per impedire che una carica elettrostatica faccia incendiare il carburante, mettete la tanica e/o la macchina per terra prima del riempimento, mai in un veicolo o su un oggetto.
Fate il pieno di carburante all’aria aperta, a motore freddo. Tergete il carburante versato.
Non maneggiate il carburante quando fumate o nelle adiacenze di una fiamma libera o di scintille.
Non togliete il tappo del carburante né aggiungete carburante al serbatoio mentre il motore è in funzione o caldo.
Non cercate di avviare il motore se avete versato del carburante. Non create possibili fonti di incendio finché i vapori del carburante non si saranno dissipati.
Conservate il carburante in taniche omologate e tenete lontano dalla portata dei bambini.
Se ingerito, il carburante è nocivo o fatale. L’esposizione a lungo termine ai vapori di benzina può causare gravi danni e malattie.
Evitate di respirare a lungo i vapori.
Tenete il viso e le mani lontano dagli ugelli e dall’apertura del serbatoio del carburante.
Tenete il carburante lontano dagli occhi e dalla pelle.
Per ottenere risultati ottimali utilizzate solo benzina senza piombo fresca e pulita, di 87 o più ottani (metodo di classificazione (R+M)/2).
È accettabile il carburante ossigenato con etanolo fino al 10% o 15% di MTBE per volume.
Non utilizzate miscele di benzina con etanolo, come E15 o E85, superiore al 10% per volume. Possono verificarsi problemi di prestazioni e/o danni al motore non coperti dalla garanzia.
Non utilizzate benzina contenente metanolo.
Nella stagione invernale, non conservate il carburante nel serbatoio o nei contenitori senza aggiungere un apposito stabilizzatore al carburante.
Non aggiungete olio alla benzina.
Riempite il serbatoio del carburante con benzina normale fresca senza piombo, proveniente da una stazione di rifornimento di buona marca (Figura 10).
Important: Per ridurre i problemi di avviamento, aggiungete stabilizzatore/additivo del carburante al carburante fresco come indicato dal produttore dello stabilizzatore del carburante.
Fate riferimento al manuale del motore per avere maggiori informazioni.

| Cadenza di manutenzione | Procedura di manutenzione |
|---|---|
| Prima di ogni utilizzo o quotidianamente |
|
Important: Non avviate il motore con il livello dell’olio nel carter troppo basso o troppo alto per evitare di danneggiarlo.


Potete alzare o abbassare la stegola in 1 di 2 posizioni più comode per voi (Figura 12).

Rimuovete entrambe le manopole della stegola.
Spostate la stegola alla posizione dell'altezza desiderata.
Fissate la stegola con le relative manopole precedentemente rimosse.
Se il motore è stato acceso, il silenziatore sarà caldo e potrebbe provocarvi ustioni.
Non avvicinatevi al silenziatore caldo.
Regolate l'altezza di taglio come opportuno. Regolate tutte le ruote alla stessa altezza di taglio (Figura 13).


Indossate abbigliamento consono, comprendente occhiali di protezione, pantaloni lunghi, scarpe robuste e antiscivolo e protezioni per l’udito. Legate i capelli lunghi e non indossate indumenti larghi o gioielli pendenti.
Prestate piena attenzione quando utilizzate la macchina. Non effettuate alcuna attività che causi distrazioni; in caso contrario, potreste causare infortuni o danni alla proprietà.
Non utilizzate la macchina in caso di malattia, stanchezza o sotto l’effetto di alcol o droga.
La lama è affilata, e può causare gravi ferite. Prima di lasciare la postazione dell'operatore, spegnete il motore e attendete l'arresto di tutte le parti in movimento.
Quando rilasciate la barra di comando della lama, sia il motore sia la lama devono fermarsi entro 3 secondi. In caso contrario, smettete subito di usare il tosaerba e rivolgetevi ad un Centro Assistenza autorizzato.
Tenete lontani gli astanti dall'area operativa. Tenete i bambini piccoli fuori dall’area operativa e sotto attenta sorveglianza da parte di un adulto responsabile che non stia utilizzando la macchina. Fermate la macchina se qualcuno entra nell’area di lavoro.
Guardate sempre in basso e dietro prima di azionare la macchina in retromarcia.
Azionate la macchina soltanto in condizioni meteo idonee e di buona visibilità. Non utilizzate la macchina se c'è rischio di fulmini.
Erba e foglie bagnate possono causare gravi ferite se doveste scivolare e toccare la lama. Evitate di tosare in condizioni di bagnato.
Prestate la massima attenzione quando vi avvicinate a curve cieche, cespugli, alberi o ad altri oggetti che possano ostruire la visuale.
Non dirigete il materiale di scarico verso le persone. Evitate di scaricare il materiale contro un muro o un'ostruzione poiché potrebbe rimbalzare contro di voi. Fermate la/le lama/lame quando attraversate superfici in ghiaia.
Fate attenzione a buche, solchi, gobbe, rocce o altre insidie del terreno. Il terreno accidentato può far sì che perdiate l'equilibrio o la presa.
Se la macchina colpisce un oggetto o inizia a vibrare, spegnete immediatamente il motore, attendete l'arresto di tutte le parti in movimento e scollegate il cappellotto dalla candela prima di esaminare la macchina per escludere danni. Effettuate le riparazioni necessarie prima di riprendere a utilizzare la macchina.
Spegnete il motore e attendete che tutte le parti in movimento si fermino prima di lasciare la posizione di guida.
Se il motore è stato acceso, sarà caldo e potrebbe provocarvi ustioni. Non avvicinatevi al motore caldo.
Mettete in funzione il motore solo in zone con una buona ventilazione. I gas si scarico contengono monossido di carbonio, la cui inalazione è letale.
Controllate spesso i componenti del cesto di raccolta e il camino di scarico al fine di verificare la presenza di segni di usura o deterioramento e all'occorrenza sostituiteli con ricambi originali Toro.
Eseguite un movimento laterale, mai verso l'alto e il basso. Sulle pendenze invertite la direzione con la massima cautela.
Non tosate pendenze eccessivamente ripide. A causa della scarsa tenuta, la macchina potrebbe slittare e cadere.
Tosate con cautela in prossimità di scarpate, fossati o terrapieni.

Note: Se la macchina non si avvia dopo diversi tentativi, contattate un Centro Assistenza autorizzato.
Per azionare la trazione automatica, camminate tenendo le mani sulla sezione superiore della stegola e i gomiti vicino ai fianchi; la macchina terrà automaticamente il passo (Figura 15).

Note: Se dovete fare retromarcia dopo l'utilizzo della trazione automatica ma la macchina non si sposta liberamente, arrestatevi, tenete le mani in posizione corretta e lasciate che la macchina proceda per qualche centimetro in avanti per disinserire la trazione. Potete inoltre tentare di passare sotto la maniglia superiore per raggiungere la maniglia di metallo e spingere avanti la macchina di qualche centimetro. Se la macchina ancora non arretra facilmente, contattate un Centro Assistenza autorizzato.
| Cadenza di manutenzione | Procedura di manutenzione |
|---|---|
| Prima di ogni utilizzo o quotidianamente |
|
Per spegnere il motore, tenete premuto il pulsante di spegnimento del motore (Figura 17) fino allo spegnimento del motore.

Rilasciate la barra di comando della lama (Figura 20).

Important: Quando rilasciate la barra di comando della lama, quest'ultima deve fermarsi entro tre secondi. Se non si dovesse fermare perfettamente, smettete immediatamente di usare la macchina e rivolgetevi ad un Distributore autorizzato.
Verificate la barra di comando prima di ogni utilizzo per assicurarvi che la frizione del freno della lama funzioni correttamente.
| Cadenza di manutenzione | Procedura di manutenzione |
|---|---|
| Prima di ogni utilizzo o quotidianamente |
|
Potete usare il cesto di raccolta per eseguire un'altra prova di verifica della frizione del freno della lama.
Montate il cesto di raccolta vuoto sulla macchina.
Avviate il motore.
Innestate la lama.
Note: Se il cesto di raccolta inizia a gonfiarsi è segno che la lama è innestata e gira.
Rilasciate la barra di comando della lama.
Note: Se il cesto di raccolta non si sgonfia immediatamente, la lama continua a girare. La frizione del freno della lama si può deteriorare, e se non viene riattata può essere pericolosa durante l'uso. Fate controllare e revisionare la macchina da un Distributore autorizzato.
Spegnete il motore e attendete che tutte le parti in movimento si siano fermate.
Portate la macchina su una zona lastricata e priva di vento.
Impostate tutte e 4 le ruote a un'impostazione dell'altezza di taglio di 83 mm.
Prendete mezzo foglio di carta di giornale e arrotolatelo in una pallina del diametro di 76 mm circa, così che possa inserirsi sotto la scocca della macchina.
Mettete la pallina di giornale davanti alla macchina, a una distanza di 13 cm.
Avviate il motore.
Innestate la lama.
Rilasciate la barra di comando della lama.
Spingete subito la macchina sopra la pallina di giornale.
Spegnete il motore e attendete che tutte le parti in movimento si siano fermate.
Andate davanti alla macchina e controllate la pallina di giornale.
Note: Se la pallina di giornale non è andata sotto la macchina, ripetete le voci da 4 a 10.
Se la pallina di giornale si è aperta o è tagliuzzata, è segno che la lama non si è fermata correttamente, e che il tosaerba non può essere utilizzato con sicurezza. Rivolgetevi a un Centro Assistenza autorizzato.
Il tosaerba viene spedito dalla fabbrica pronto per il riciclaggio dello sfalcio e delle foglie nel tappeto erboso.
Se il cesto di raccolta è montato sulla macchina e la leva Bag-on-demand è in posizione di raccolta spostatela in posizione di riciclaggio; fate riferimento a Utilizzo della leva Bag-on-Demand. Se il condotto di scarico laterale è montato sulla macchina, toglietelo; vedere Rimozione del camino di scarico laterale.
Utilizzate il cesto di raccolta quando desiderate raccogliere lo sfalcio e le foglie dal tappeto erboso.
Rimuovete il condotto di scarico laterale se installato sulla macchina; fate riferimento a Rimozione del camino di scarico laterale Se la leva di comando del cesto è in posizione di riciclaggio, spostatela in posizione di raccolta; vedere Utilizzo della leva Bag-on-Demand.
Per rimuovere il cesto, eseguite le fasi in Montaggio del cesto di raccolta in ordine inverso.
La funzionalità Bag-on-Demand vi consente di raccogliere o riciclare lo sfalcio e le foglie con il cesto montato.
Per insaccare erba e sfalcio, premete il pulsante sulla leva Bag-on-Demand e spostatela in avanti fino a quando il pulsante sulla leva non si solleva di scatto (Figura 22).

Per la funzionalità Recycler o lo scarico laterale di erba e sfalcio, premete il pulsante sulla leva e spostatela indietro fino a quando il pulsante sulla leva non si solleva di scatto.
Important: Per il corretto funzionamento, spegnete il motore, attendete che tutte le parti in movimento si arrestino e poi rimuovete eventuale sfalcio e detriti dallo sportello Bag-on-demand e dall'apertura circostante (Figura 23) prima di spostare la leva Bag-on-demand dalla posizione 1 a un'altra posizione.

Utilizzate lo scarico laterale per il taglio dell'erba molto alta.
Se il cesto di raccolta è montato sulla macchina e la leva Bag-on-demand è in posizione di raccolta spostatela in posizione di riciclaggio; fate riferimento a Utilizzo della leva Bag-on-Demand.
Sbloccate e sollevate il deflettore laterale e montate il camino di scarico laterale (Figura 24).

Per rimuovere il camino di scarico laterale, sollevate il deflettore laterale, rimuovete il camino di scarico laterale e abbassate il deflettore di scarico laterale sinché non si aggancia saldamente.
Ispezionate l'area in cui userete la macchina ed eliminate tutti gli oggetti che la macchina potrebbe scagliare.
Evitate di colpire oggetti solidi con la lama. Non tosate deliberatamente sopra un oggetto.
Se la macchina colpisce un oggetto o inizia a vibrare, spegnete immediatamente il motore, rimuovete la chiave (se in dotazione), scollegate il cappellotto dalla candela e verificate se il tosaerba ha subito danni.
Per ottenere prestazioni ottimali montate una nuova lama prima dell'inizio della stagione della tosatura.
All'occorrenza sostituite la lama con una lama di ricambio Toro.
Falciate soltanto un terzo del filo d'erba per volta. Non falciate con impostazioni inferiori a 51 mm, a meno che l'erba non sia rada o nel tardo autunno, quando l'erba inizia a rallentare la crescita.
Per falciare erba alta più di 15 cm, tosate prima all'altezza di taglio superiore camminando lentamente, quindi tosate di nuovo ad un'altezza inferiore per ottenere un tappeto erboso più attraente. Se l'erba è troppo alta, il tosaerba può intasarsi e arrestare il motore.
Erba e foglie bagnate tendono ad ammucchiarsi sul tappeto erboso, e possono intasare il tosaerba o arrestare il motore. Evitate di tosare in condizioni di bagnato.
In condizioni di particolare siccità prestate attenzione al rischio di incendio, seguite le relative avvertenze locali e mantenete la macchina libera da erba secca e scarti di foglie.
Alternate la direzione di tosatura, per contribuire a disperdere lo sfalcio sul tappeto erboso ed ottenere una fertilizzazione uniforme.
Se l'aspetto del tappeto erboso tosato non è soddisfacente, provate uno o più dei seguenti:
Sostituite la lama o fatela affilare.
Camminate più lentamente mentre tosate.
Alzate l'altezza di taglio del tosaerba.
Tosate l'erba più di frequente.
Sovrapponete le passate, anziché falciare un'intera andana ad ogni passata.
Dopo la tosatura del tappeto erboso, almeno metà di esso deve essere visibile attraverso le foglie. All'occorrenza, effettuate più di una sola passata sulle foglie.
Se le foglie sul prato superano i 13 cm, tagliate a un'altezza di taglio maggiore, quindi all'altezza di taglio desiderata.
Se il tosaerba non sminuzza finemente le foglie, rallentate la velocità di tosatura.
Spegnete sempre la macchina, attendete che tutte le parti in movimento si arrestino e lasciate raffreddare la macchina prima di eseguire interventi di riparazione, manutenzione, pulizia o di rimessarla.
Per prevenire un incendio, eliminate erba e detriti dalla macchina. Tergete l’olio e il carburante versati.
Non depositate mai la macchina o la tanica del carburante in presenza di fiamme libere, scintille o spie, come vicino a uno scaldabagno o altre apparecchiature.
Prestate cautela durante il carico o lo scarico della macchina.
Fissate la macchina per evitare il rotolamento.
| Cadenza di manutenzione | Procedura di manutenzione |
|---|---|
| Prima di ogni utilizzo o quotidianamente |
|
Per ottenere i migliori risultati, pulite la macchina subito dopo aver terminato il lavoro.
Portate la macchina su una superficie lastricata e pianeggiante.
Prima di lasciare la postazione dell'operatore, spegnete il motore e attendete l'arresto di tutte le parti in movimento.
Abbassate la macchina all'altezza di taglio minima. Fate riferimento a Regolazione dell'altezza di taglio.
Lavate l'area sotto lo sportello posteriore, attraverso il quale lo sfalcio viene trasferito dal sottoscocca al cesto di raccolta.
Note: Lavate l'area con il sistema Bag-on-demand (se in dotazione) nelle posizioni completamente avanti e completamente indietro.
Collegate una canna da giardino al rubinetto dell'acqua e al foro di lavaggio (Figura 25).

Aprite il rubinetto.
Avviate il motore e lasciatelo in funzione fino a quando lo sfalcio non fuoriesce più da sotto la macchina.
Spegnete il motore.
Chiudete il rubinetto dell'acqua e scollegate la canna dalla macchina.
Avviate il motore per alcuni minuti per asciugare il sottoscocca e impedire che arrugginisca.
Spegnete il motore e lasciatelo raffreddare prima di riporre la macchina in un'area chiusa.
L'incorretta apertura o chiusura della stegola può danneggiare i cavi e creare condizioni di utilizzo pericolose.
Fate attenzione a non danneggiare i cavi quando aprite o chiudete la stegola.
Se un cavo è danneggiato, rivolgetevi a un Centro Assistenza autorizzato.
Togliete e conservate le 2 manopole della stegola e i 2 bulloni a testa tonda dalle staffe della stegola (Figura 26).
Important: Mentre piegate la stegola, fate passare i cavi all'esterno delle sue manopole.

Piegate la stegola, ruotandola in avanti (Figura 27).

Inserite il bullone a testa tonda (con la testa del bullone rivolta verso l'interno) attraverso la staffa della stegola e il foro superiore nell'estremità della stegola. Assicuratevi che i bordi quadrati di ciascun bullone a testa tonda si inseriscano nel foro quadrato superiore o inferiore nella relativa staffa della stegola (Figura 28).

Montate, senza serrarle, le manopole della stegola e i bulloni a testa tonda sulle staffe della stegola.
Per aprire la stegola fate riferimento a Montaggio e apertura della stegola.
| Cadenza di manutenzione | Procedura di manutenzione |
|---|---|
| Prima di ogni utilizzo o quotidianamente |
|
| Ogni 25 ore |
|
| Ogni anno |
|
| Ogni anno o prima del rimessaggio |
|
Important: Per ulteriori interventi di manutenzione si rimanda al vostro manuale d'uso del motore.
Staccate il cappellotto dalla candela prima di eseguire interventi di manutenzione.
Indossate i guanti e la protezione per gli occhi durante la manutenzione della macchina.
La lama è affilata, e può causare gravi ferite. Indossate i guanti per eseguire la manutenzione della lama. Non eseguite riparazioni o revisioni sulla lama/e.
Non manomettere i dispositivi di sicurezza. Controllatene il funzionamento ad intervalli regolari.
Inclinando la macchina potreste fare fuoriuscire il carburante. Il carburante è infiammabile, esplosivo e può causare infortuni. Fate girare il motore finché non è vuoto, o togliete la benzina con una pompa a mano; non travasatela mai per mezzo di un sifone.
Per garantire prestazioni ottimali della macchina, utilizzate solo ricambi e accessori originali Toro. I ricambi e gli accessori realizzati da altri produttori possono essere pericolosi e tale utilizzo può rendere nulla la garanzia del prodotto.
Spegnete il motore e attendete che tutte le parti in movimento si arrestino.
Scollegate il cappellotto dalla candela (Figura 29).

Al termine dell’intervento di manutenzione ricollegate il cappellotto alla candela.
Important: Prima di inclinare la macchina per il cambio dell'olio o la sostituzione della lama, utilizzatela finché il serbatoio del carburante non sarà completamente vuoto. Nel caso dobbiate inclinare la macchina prima di restare senza benzina, rimuovete il carburante dal serbatoio mediante una pompa carburante manuale. Inclinate sempre la macchina sul fianco con l'asta di livello in basso.
| Cadenza di manutenzione | Procedura di manutenzione |
|---|---|
| Ogni 25 ore |
|
| Ogni anno |
|
Sbloccate la parte superiore del coperchio del filtro dell'aria (Figura 30).

Rimuovete il filtro (Figura 30).
Controllate il filtro dell'aria.
Note: Se il filtro dell'aria è eccessivamente sporco, sostituitelo con uno nuovo. Altrimenti, picchiettatelo delicatamente su una superficie dura per staccare i detriti.
Montate il filtro dell'aria.
Utilizzate la clip per montare il coperchio del filtro dell'aria.
| Cadenza di manutenzione | Procedura di manutenzione |
|---|---|
| Ogni anno |
|
Non è necessario cambiare l'olio motore, ma qualora decidiate di farlo, seguite la procedura indicata.
Note: Fate girare il motore per alcuni minuti prima di cambiare l’olio, per riscaldarlo. L’olio caldo fluisce meglio e trasporta una maggiore quantità di sostanze inquinanti.
| Capacità dell’olio motore | 0,44 litri* |
| Viscosità dell’olio | Olio detergente SAE 30 o SAE 10W-30 |
| Classificazione di servizio API | SJ o superiore |
*Dopo il drenaggio dell’olio, ci sarà un residuo nella coppa. Non versate l’intera quantità di olio nella coppa. Riempitela con l’olio come indicato dai seguenti step.
Portate la macchina su una superficie pianeggiante.
Fate riferimento a Preparazione per la manutenzione.
Girate il tappo in senso antiorario ed estraete l’asta di livello (Figura 31).


Inclinate la macchina sul fianco (di modo che il filtro dell'aria si trovi in alto) per scaricare l'olio usato attraverso il tubo di riempimento (Figura 32).

Dopo avere fatto defluire l'olio usato, riportate la macchina in posizione operativa.
Versate con cautela una quantità d'olio pari a circa ¾ della capacità del motore nel tubo di riempimento dell'olio.
Attendete per 3 minuti che l’olio si stabilizzi nel motore
Tergete l’asta con un panno pulito.
Inserite l’asta di livello nel tubo di riempimento ed estraetela.
Controllate il livello dell’olio sull’asta (Figura 31).
Se il livello dell’olio sull’asta è troppo basso, versate con cautela una piccola quantità di olio nel relativo tubo di riempimento, attendete 3 minuti e ripetete le fasi da 8 a 10 fino a raggiungere il livello corretto sull’asta.
Se il livello dell'olio sull'asta è troppo alto, drenate l'olio in eccesso finché l'olio sull'asta non appare al livello adeguato.
Important: Non avviate il motore con il livello dell'olio troppo basso o troppo alto, per evitare di danneggiare il motore stesso.
Inserite l'asta di livello nel tubo di riempimento dell'olio e chiudete saldamente.
Riciclate correttamente l’olio esausto.
| Cadenza di manutenzione | Procedura di manutenzione |
|---|---|
| Ogni anno |
|
Important: Per il corretto montaggio della lama dovete usare una chiave torsiometrica. Se non disponete di una chiave torsiometrica o avete dubbi sull'esecuzione di questa operazione, contattate un Centro Assistenza autorizzato.
Esaminate la lama ogniqualvolta esaurite il carburante. Se la lama è danneggiata, sostituitela immediatamente. Se il tagliente è smussato o scheggiato, fatelo affilare e livellare, oppure sostituite la lama.
La lama è affilata, e può causare gravi ferite.
Indossate i guanti per eseguire la manutenzione della lama.
Scollegate il cappellotto dalla candela; fate riferimento a Preparazione per la manutenzione.
Inclinate la macchina sul fianco, con il filtro dell'aria in alto.
Togliete i due dadi della lama ed il rinforzo (Figura 33).

Togliete la lama (Figura 33).
Montate la lama nuova (Figura 33).
Montate il rinforzo tolto in precedenza.
Montate i dadi della lama e serrateli a 20–37 N·m.
| Cadenza di manutenzione | Procedura di manutenzione |
|---|---|
| Ogni 25 ore |
|
Pulite ogni anno il carter della frizione del freno della lama per impedire che la lama si fermi mentre tosate.
Scollegate il cappellotto dalla candela; fate riferimento a Preparazione per la manutenzione.
Inclinate la macchina sul fianco con l'asta di livello in basso.
Togliete i due dadi della lama ed il rinforzo (Figura 34).

Togliete la lama (Figura 34).
Togliete il giralama e il disco (Figura 34).
Pulite il carter della frizione del freno della lama (Figura 34).
Spazzolate o soffiate via i detriti dall'interno del carter e attorno ai componenti.
Montate il carter della frizione del freno della lama rimosso in precedenza.
Montate il giralama e il disco tolti in precedenza.
Montate la lama ed il rinforzo tolti in precedenza (Figura 34).
Montate i dadi della lama e serrateli a 20–37 N·m.
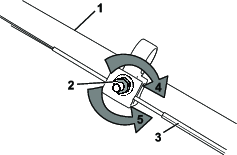
Ogni volta che installate un nuovo cavo della trazione automatica o se la trazione non è regolata, regolate la trazione automatica.
Girate il dado di regolazione in senso antiorario per allentare la regolazione del cavo (Figura 35).


Regolate la tensione del cavo (Figura 35) tirandolo indietro o spingendolo in avanti e mantenendo quella posizione.
Note: Spingete il cavo verso il motore per aumentare la trazione; tirate il cavo lontano dal motore per ridurre la trazione.
Ruotate il dado di regolazione in senso orario per stringere la regolazione del cavo.
Note: Serrate saldamente il dado con una bussola o una chiave.
Riponete la macchina in un luogo fresco, pulito e asciutto.
Spegnete sempre la macchina, attendete che tutte le parti in movimento si arrestino e lasciate raffreddare la macchina prima di eseguire interventi di riparazione, manutenzione, pulizia o di rimessarla.
Nell'ultimo rifornimento dell'anno, aggiungete l'apposito stabilizzatore al carburante (come Toro Premium Fuel Treatment) come indicato sull'etichetta.
Smaltite ecologicamente il carburante non utilizzato. Riciclatelo secondo le normative locali o usatelo per l'automobile.
Note: Il carburante stantio nel serbatoio è la causa principale delle difficoltà di avviamento. Non conservate il carburante senza l'apposito stabilizzatore per oltre 30 giorni e non conservate il carburante stabilizzato per oltre 90 giorni.
Lasciate in funzione la macchina fino a quando il motore non si spegne per esaurimento del carburante.
Riavviate il motore e lasciatelo girare fino allo spegnimento. Quando non si accende più, il motore è asciutto abbastanza.
Scollegate il cappellotto dalla candela e collegate il cappellotto al polo rimanente (se presente).
Togliete la candela, aggiungete 30 ml di olio motore attraverso il relativo foro e tirate lentamente il cavo di avviamento varie volte per distribuire l’olio in tutto il cilindro ed evitare la corrosione del cilindro durante la stagione di fermo.
Montate la candela senza stringerla.
Serrate tutti i dadi, i bulloni e le viti.
Controllate tutti i dispositivi di fermo e serrateli.
Rimuovete la candela e fate girare rapidamente il motore tirando la maniglia di avviamento a strappo per eliminare l’olio in eccesso dal cilindro.
Montate la candela e serratela con una chiave torsiometrica a 20 N∙m.
Osservate le procedure di manutenzione; vedere .
Controllate il livello dell’olio motore; vedere Controllo del livello dell’olio motore.
Rabboccate il serbatoio del carburante con carburante fresco; vedere Riempimento del serbatoio del carburante.
Collegate il cappellotto alla candela.