| Częstotliwość serwisowania | Procedura konserwacji |
|---|---|
| Przed każdym użyciem lub codziennie |
|
Ta pchana kosiarka z obrotowymi ostrzami jest przeznaczona dla właścicieli domów z posesją. Została zaprojektowana przede wszystkim do koszenia trawy na dobrze utrzymanych trawnikach na posesjach. Używanie produktu w celach niezgodnych z jego przeznaczeniem może okazać się niebezpieczne dla operatora i osób postronnych.
Przeczytaj uważnie poniższe informacje, aby poznać zasady właściwej obsługi i konserwacji urządzenia, nie uszkodzić go i uniknąć obrażeń ciała. Odpowiedzialność za prawidłowe i bezpieczne użytkowanie produktu spoczywa na Tobie.
Aby uzyskać więcej informacji, w tym dotyczących bezpieczeństwa, materiałów szkoleniowych, informacji na temat akcesoriów, pomocy w znalezieniu autoryzowanego sprzedawcy lub rejestracji produktu odwiedź www.Toro.com.
Aby skorzystać z serwisu, zakupić oryginalne części Toro lub uzyskać dodatkowe informacje, skontaktuj się z przedstawicielem autoryzowanego serwisu lub biurem obsługi klienta firmy Toro, a także przygotuj numer modelu i numer seryjny urządzenia. Rysunek 1 przedstawia położenie numeru modelu i numeru seryjnego na produkcie. Zapisz numery w przewidzianym na to miejscu.
Important: Urządzeniem mobilnym zeskanuj kod QR na tabliczce z numerem seryjnym (jeśli występuje), aby uzyskać informacje o gwarancji, częściach zamiennych i innych kwestiach związanych z produktem

Niniejsza instrukcja zawiera opis potencjalnych zagrożeń, a zawarte w niej ostrzeżenia zostały oznaczone symbolem ostrzegawczym (Rysunek 2), który sygnalizuje niebezpieczeństwo mogące spowodować poważne obrażenia lub śmierć w razie zlekceważenia zalecanych środków ostrożności.

W niniejszej instrukcji występują dwa słowa podkreślające wagę informacji. Ważne zwraca uwagę na szczególne informacje techniczne, a Uwaga podkreśla informacje ogólne wymagające uwagi.
Opisywane urządzenie jest zgodne ze wszystkimi obowiązującymi dyrektywami Unii Europejskiej; szczegółowe informacje zamieszczone są w odpowiedniej deklaracji zgodności, w oddzielnym arkuszu.
Dołączona instrukcja obsługi silnika zawiera informacje dotyczące wymagań amerykańskiej Agencji Ochrony Środowiska (EPA) oraz prawa stanu Kalifornia dotyczącego kontroli emisji w systemach emisji, konserwacji i gwarancji. Części zamienne mogą być zamawiane u producenta silnika.
Moment obrotowy na wale lub moment użyteczny: Moment obrotowy na wale silnika lub moment użyteczny silnika został wyznaczony laboratoryjnie przez producenta silnika, zgodnie z wytycznymi Stowarzyszenia Inżynierów Motoryzacji (SAE) J1940 lub J2723. Rzeczywisty moment obrotowy silnika w kosiarce tej klasy może być znacznie niższy z powodu jej dostosowania do wymagań dotyczących bezpieczeństwa, emisji oraz eksploatacji. Można je znaleźć w dołączonej do maszyny dokumentacji producenta silnika.
Nie wolno ingerować w zabezpieczenia maszyny ani wyłączać ich. Należy regularnie sprawdzać poprawność ich działania. Nie wolno podejmować prób regulacji lub manipulacji przy elementach sterujących prędkością obrotową silnika. Może to spowodować wystąpienie niebezpiecznego stanu, prowadzącego do obrażeń ciała.
Maszyna została zaprojektowana zgodnie z normą EN ISO 5395.
Produkt ten może spowodować amputację dłoni i stóp oraz wyrzucać obiekty. Aby uniknąć poważnych obrażeń ciała, zawsze przestrzegaj wszystkich instrukcji dotyczących bezpieczeństwa.
Przed uruchomieniem silnika należy przeczytać, zrozumieć i przestrzegać instrukcje i ostrzeżenia zawarte w niniejszej Instrukcji obsługi oraz na maszynie i osprzęcie.
Nie zbliżać dłoni ani stóp do ruchomych części maszyny, ani nie wkładać ich pod nią. Nie zbliżać się do otworów wyrzutowych.
Zabronione jest używanie maszyny bez założonych i poprawnie funkcjonujących wszystkich osłon oraz innych urządzeń ochronnych.
Nie zezwalaj osobom postronnym ani dzieciom na podchodzenie w pobliże obszaru pracy. Nigdy nie pozwalaj dzieciom obsługiwać maszyny. Obsługiwać maszynę mogą jedynie osoby odpowiedzialne, przeszkolone, zaznajomione z instrukcją i dysponujące odpowiednimi możliwościami fizycznymi.
Przed przystąpieniem do serwisowania, uzupełniania paliwa czy usuwania przyczyny zatkania się zatrzymaj maszynę, wyłącz silnik i odczekaj, aż wszystkie części ruchome się zatrzymają.
Niewłaściwe użytkowanie lub konserwacja maszyny
może spowodować obrażenia ciała. W celu zmniejszenia
ryzyka obrażeń ciała postępuj zgodnie z tymi
zasadami bezpieczeństwa i zawsze zwracaj uwagę na ostrzegawczy
symbol bezpieczeństwa
, który oznacza: Uwaga, Ostrzeżenie
lub Niebezpieczeństwo – zasady bezpieczeństwa
osobistego. Nieprzestrzeganie powyższych zasad może doprowadzić
do obrażeń ciała lub śmierci.
![]() |
Etykiety dotyczące bezpieczeństwa oraz instrukcje są wyraźnie widoczne dla operatora i znajdują się w pobliżu wszystkich miejsc potencjalnego zagrożenia. Uszkodzone i brakujące etykiety należy wymienić. |






Important: Zdejmij i wyrzuć zabezpieczający arkusz z tworzywa osłaniający silnik oraz wszelkie inne elementy z tworzywa lub folii użyte do zabezpieczenia maszyny.
Note: Upewnij się, że linki są poprowadzone na zewnątrz uchwytu i nie są przyciśnięte (D na Rysunek 3).



Important: Aby bezpiecznie i łatwo uruchomić silnik przed każdym użyciem maszyny, umieść linkę rozrusznika linkowego w prowadnicy.

Important: Jeśli poziom oleju w skrzyni korbowej jest zbyt niski lub zbyt wysoki, uruchomienie silnika może spowodować jego uszkodzenie.




| Model | Ciężar | Długość | Szerokość | Wysokość |
|---|---|---|---|---|
| 21764 | 40 kg | 151 cm | 59 cm | 109 cm |
Note: Określ lewą i prawą stronę maszyny ze standardowego stanowiska operatora.
Przed przystąpieniem do regulacji, serwisowania, czyszczenia lub przed przechowywaniem sprzętu należy zawsze wyłączyć maszynę i zaczekać, aż wszystkie elementy ruchome się zatrzymają, a maszyna ostygnie.
Należy zapoznać się z bezpieczną obsługą urządzeń, elementami sterującymi operatora i znakami bezpieczeństwa.
Sprawdź, czy osłony i zabezpieczenia, takie jak deflektory lub wychwytywacze trawy, są prawidłowo zamocowane i działają prawidłowo.
Zawsze sprawdzaj maszynę, aby upewnić się, że ostrza oraz śruby ostrzy nie są zużyte ani uszkodzone.
Sprawdź obszar, w którym zamierzasz używać maszyny i usuń wszelkie obiekty, które mogłyby wpłynąć na pracę maszyny lub zostać podrzucone przez maszynę.
Zetknięcie się z ruchomym ostrzem prowadzi do poważnych obrażeń ciała. Regulując wysokość koszenia nie wkładaj palców pod obudowę.
Paliwo jest niezwykle łatwopalne i wybuchowe. Zapłon lub wybuch paliwa może poparzyć operatora i osoby postronne oraz spowodować straty materialne.
Aby zapobiec zapaleniu paliwa przez ładunek elektrostatyczny, przed napełnianiem ustaw kanister lub urządzenie bezpośrednio na podłożu, a nie w pojeździe ani na innym przedmiocie.
Uzupełniaj zbiornik paliwa na zewnątrz, na otwartej przestrzeni, gdy silnik jest zimny. Wytrzyj paliwo, które się rozlało.
Nie zbliżaj się do paliwa, kiedy palisz. Paliwo nie może znajdować się w pobliżu otwartego płomienia ani iskier.
Nigdy nie zdejmuj korka zbiornika paliwa ani nie uzupełniaj paliwa w trakcie pracy silnika lub gdy jest on rozgrzany.
W przypadku rozlania paliwa nie próbuj włączać silnika. Unikaj możliwości spowodowania zapłonu do czasu rozproszenia oparów paliwa.
Przechowuj paliwo w atestowanym kanistrze, poza zasięgiem dzieci.
W przypadku połknięcia paliwo jest szkodliwe dla zdrowia i może prowadzić do śmierci. Długotrwałe wystawienie na działanie oparów może wywołać poważne obrażenia i choroby.
Unikaj długotrwałego wdychania oparów paliwa.
Nie zbliżaj rąk ani twarzy do pistoletu dystrybutora paliwa i otworu zbiornika paliwa.
Unikaj kontaktu paliwa z oczami i ze skórą.
W celu uzyskania najlepszych wyników używaj wyłącznie czystej, świeżej benzyny bezołowiowej o liczbie oktanowej 87 lub wyższej (metoda szacowania (R+M)/2)
Akceptowalne jest paliwo z oksygenatami, zawierające do 10% objętościowych etanolu lub 15% MTBE.
Nie używaj mieszanin etanolu z benzyną, takich jak E15 lub E85, zawierających powyżej 10% objętościowych etanolu. Może to powodować problemy dotyczące osiągów i/lub uszkodzenia silnika, które mogą nie być objęte gwarancją.
Nie używaj benzyny zawierającej metanol.
Nie przechowuj zimą paliwa w zbiorniku paliwa lub w kanistrach na paliwo, jeśli do paliwa nie został dodany stabilizator.
Nie dolewaj oleju do benzyny.
Uzupełniaj zbiornik paliwa świeżą, zwykłą benzyną bezołowiową zakupioną na stacji renomowanego dostawcy paliw (Rysunek 10).
Important: Aby ograniczyć problemy z uruchamianiem, dodaj do świeżego paliwa środek stabilizujący/dodatek uszlachetniający w ilości wskazanej przez producenta.
Dodatkowe informacje zostały podane w instrukcji obsługi silnika.

| Częstotliwość serwisowania | Procedura konserwacji |
|---|---|
| Przed każdym użyciem lub codziennie |
|
Important: Jeśli poziom oleju w skrzyni korbowej jest zbyt niski lub zbyt wysoki, uruchomienie silnika może spowodować jego uszkodzenie.


Uchwyt można podnosić lub opuszczać do pozycji 1 lub 2, aby uzyskać najwygodniejsze położenie (Rysunek 12).

Usuń oba pokrętła uchwytu.
Przesuń uchwyt na pożądaną wysokość.
Zabezpiecz uchwyt usuniętymi wcześniej pokrętłami uchwytu.
Jeśli silnik pracował, tłumik może być gorący i spowodować poważne oparzenia.
Zachowaj odległość od gorącego tłumika.
Wyreguluj odpowiednio wysokość koszenia. Ustaw wszystkie cztery koła na takiej samej wysokości koszenia (Rysunek 13).


Noś odpowiednią odzież, w tym ochronę oczu, długie spodnie, pełne obuwie robocze z podeszwą antypoślizgową i ochronniki słuchu. Zwiąż włosy, jeśli są długie, i nie noś luźnej odzieży ani długiej biżuterii.
Podczas obsługi maszyny zachowaj pełne skupienie. Nie podejmuj żadnych rozpraszających czynności, w przeciwnym razie możesz spowodować obrażenia lub wyrządzić szkody w mieniu.
Nie używaj maszyny będąc chorym, zmęczonym lub pod wpływem alkoholu lub narkotyków.
Ostrze jest ostre; kontakt z nim może doprowadzić do poważnych obrażeń ciała. Zanim opuścisz stanowisko operatora, wyłącz silnik i zaczekaj, aż wszystkie ruchome części się zatrzymają.
Po zwolnieniu dźwigni sterującej ostrzami silnik powinien się wyłączyć, a ostrze powinno się zatrzymać w ciągu trzech sekund. Jeżeli tak się nie stanie, natychmiast przestań korzystać z maszyny i skontaktuj się z przedstawicielem autoryzowanego serwisu.
Nie zezwalaj osobom postronnym na podchodzenie w pobliże obszaru pracy. Nie zezwalaj dzieciom na podchodzenie w pobliże obszaru pracy. Dopilnuj, aby znajdowały się pod opieką osoby dorosłej innej niż operator. Zatrzymaj maszynę, jeśli ktokolwiek wejdzie w obszar pracy.
Przed i podczas wykonywania maszyną ruchu do tyłu patrz zawsze w dół i za siebie.
Korzystaj z urządzenia tylko przy dobrej widoczności i odpowiednich warunkach pogodowych. Nie używaj maszyny, jeżeli występuje ryzyko wystąpienia wyładowań atmosferycznych.
Mokra trawa lub liście mogą doprowadzić do poważnych obrażeń ciała w przypadku poślizgnięcia się na nich i kontaktu z ostrzem. Unikaj koszenia w mokrych warunkach.
Zachowaj szczególną ostrożność, zbliżając się do zakrętów z ograniczoną widocznością, krzewów, drzew lub innych obiektów, które mogą ograniczać widoczność.
Nie wolno kierować wyrzucanego materiału w kierunku żadnej osoby. Unikaj wyrzucania materiału na ściany lub przeszkody – może się on odbić w Twoją stronę. Przekraczając powierzchnie pokryte żwirem zatrzymaj ostrze(-a).
Uważaj na dziury, koleiny, garby, kamienie lub inne ukryte obiekty. Nierówne podłoże może spowodować utratę równowagi lub oparcia dla stóp.
Jeśli maszyna uderzy w jakiś przedmiot lub zacznie wibrować, natychmiast wyłącz silnik, odczekaj, aż wszystkie części ruchome się zatrzymają i odłącz przewód świecy zapłonowej przed sprawdzeniem, czy maszyna nie jest uszkodzona. Przed kontynuowaniem pracy przeprowadź wszystkie niezbędne naprawy.
Przed opuszczeniem stanowiska operatora wyłącz silnik i zaczekaj, aż wszystkie ruchome części się zatrzymają.
Jeśli silnik pracował, będzie on gorący i może spowodować poważne oparzenia. Zachowuj bezpieczną odległość od rozgrzanego silnika.
Uruchamiaj silnik jedynie w dobrze wentylowanych miejscach. Spaliny zawierają tlenek węgla, którego wdychanie prowadzi do śmierci.
Sprawdzaj często elementy wychwytywacza trawy oraz kanału wyrzutowego pod kątem zużycia lub pogorszenia ich stanu i wymieniaj je w razie potrzeby na oryginalne części Toro.
Koś zawsze w poprzek zbocza; nigdy w górę lub w dół. Zachowaj szczególną ostrożność, gdy zmieniasz kierunek jazdy na zboczach.
Nie wolno kosić na nadmiernie stromych zboczach. Przy słabym oparciu stóp o grunt mogą wystąpić spowodowane ześlizgnięciem się i upadkiem.
Zachowaj ostrożność przy koszeniu w pobliżu zboczy, rowów lub nasypów.

Note: Jeśli maszyna nie uruchamia się mimo kilku prób, skontaktuj się z przedstawicielem autoryzowanego serwisu.
Aby użyć napędu trybu samobieżnego, wystarczy iść, z łokciami przy bokach, uchwyciwszy rękoma górny uchwyt; maszyna automatycznie dostosuje prędkość do operatora (Rysunek 15).

Note: Jeżeli urządzenie nie cofa się swobodnie po skorzystaniu z trybu samobieżnego, zatrzymaj się z rękami nieruchomo i pozwól kosiarce przejechać kilka centymetrów do przodu, aby zwolnić napęd kół. Możesz również sięgnąć pod górny uchwyt, chwytając metalową rączkę, i przesunąć maszynę do przodu o kilka centymetrów. Jeśli urządzenia dalej nie jeździ z łatwością do tyłu, skontaktuj się z autoryzowanym przedstawicielem serwisowym.
| Częstotliwość serwisowania | Procedura konserwacji |
|---|---|
| Przed każdym użyciem lub codziennie |
|
Aby zatrzymać silnik, naciśnij i przytrzymaj wyłącznik silnika (Rysunek 17), aż do wyłączenia silnika.

Zwolnij dźwignię sterującą ostrzami (Rysunek 20).

Important: Po zwolnieniu dźwigni sterującej ostrzem powinno się ono zatrzymać w ciągu 3 sekund. Jeśli nie zatrzyma się w prawidłowy sposób, natychmiast przestań używać kosiarki i skontaktuj się z przedstawicielem autoryzowanego serwisu.
Przed każdym użyciem sprawdź dźwignię sterującą, aby upewnić się, czy sprzęgło/hamulca ostrza działa prawidłowo.
| Częstotliwość serwisowania | Procedura konserwacji |
|---|---|
| Przed każdym użyciem lub codziennie |
|
W celu przeprowadzenia dodatkowego testu działania sprzęgła/hamulca ostrza można użyć worka na trawę.
Zamontuj na maszynie pusty worek na trawę.
Uruchom silnik.
Załącz ostrze.
Note: Worek powinien zacząć zwiększać objętość, wskazując, że ostrza są włączone i obracają się.
Zwolnij dźwignię sterującą ostrzami.
Note: Jeśli worek nie zmniejsza objętości, ostrze nadal obraca się. Stan sprzęgła hamulca ostrza może pogarszać się, co w przypadku zignorowania może doprowadzić do niebezpiecznego stanu. Oddaj maszynę do przeglądu i naprawy przez przedstawiciela autoryzowanego serwisu.
Wyłącz silnik i zaczekaj, aż wszystkie ruchome części się zatrzymają.
Przemieść maszynę na utwardzoną nawierzchnię, w obszarze, na którym nie wieje wiatr.
Ustaw wszystkie 4 koła na wysokość koszenia 83 mm.
Pół arkusza gazety zgnieć w kulkę wystarczająco małą, aby można było ją włożyć pod obudowę urządzenia (o średnicy około 76 mm).
Umieść kulkę zrobioną z gazety około 13 cm przed maszyną.
Uruchom silnik.
Załącz ostrze.
Zwolnij dźwignię sterującą ostrzami.
Natychmiast przesuń kosiarkę nad kulką z gazety.
Wyłącz silnik i zaczekaj, aż wszystkie ruchome części się zatrzymają.
Przejdź do przodu maszyny i sprawdź kulkę zrobioną z gazety.
Note: Jeśli kulka zrobiona z gazety nie znalazła się pod maszyną, powtórz kroki od 4 do 10.
Jeśli kulka została rozwinięta lub postrzępiona, ostrze nie zatrzymuje się prawidłowo, co może skutkować niebezpiecznymi warunkami eksploatacji. Skontaktuj się z przedstawicielem autoryzowanego serwisu.
Urządzenie jest fabrycznie przystosowane do recyklingu ścinków trawy i liści oraz kierowania ich z powrotem na trawnik.
Jeśli na maszynie zamontowany jest worek na trawę, a dźwignia ustawienia worka jest w pozycji Workowanie”, przesuń dźwignię w pozycję Recykling”; patrz Obsługa dźwigni ustawienia worka. Jeśli na maszynie jest zamontowany boczny tunel wyrzutowy, zdemontuj go: patrz Demontaż tunelu wyrzutu bocznego.
Aby pozbierać ścinki liści z trawnika, użyj worka na trawę.
Jeśli na maszynie jest zamontowany boczny tunel wyrzutowy, zdemontuj go: patrz Demontaż tunelu wyrzutu bocznego. Jeśli dźwignia ustawienia worka jest w pozycji Recykling”, przesuń ją w pozycję Workowanie”; patrz Obsługa dźwigni ustawienia worka.
Aby zdemontować worek na trawę, wykonaj czynności w odwrotnej kolejności niż w punkcie Montaż worka na trawę.
Możliwość zmiany ustawień worka umożliwia operatorowi zbieranie lub recykling ścinków trawy i liści, gdy worek na trawę jest zamontowany na maszynie.
W celu workowania ścinków trawy i liści naciśnij przycisk na dźwigni ustawienia worka i przesuwaj dźwignię do przodu do momentu, gdy przycisk na dźwigni wyskoczy (Rysunek 22).

W celu rozdrabniania lub wyrzutu bocznego ścinków trawy i liści naciśnij przycisk na dźwigni i przesuwaj dźwignię do tyłu, do momentu gdy przycisk na dźwigni wyskoczy.
Important: Aby zapewnić prawidłową pracę, przed zmianą pozycji dźwigni ustawienia worka wyłącz silnik, zaczekaj aż wszystkie ruchome elementy zatrzymają się, a następnie usuń wszelkie ścinki traw i zabrudzenia z drzwiczek worka oraz otaczającego je otworu (Rysunek 23).

Przy koszeniu bardzo wysokiej trawy użyj trybu wyrzutu bocznego.
Jeśli na maszynie zamontowany jest worek na trawę, a dźwignia ustawienia worka jest w pozycji Workowanie”, przesuń dźwignię w pozycję Recykling”; patrz Obsługa dźwigni ustawienia worka.
Odblokuj i unieś deflektor boczny i zamontuj tunel wyrzutu bocznego (Rysunek 24).

Aby zdemontować tunel wyrzutu bocznego, unieś deflektor boczny, zdejmij tunel wyrzutu bocznego, a następnie opuść deflektor wyrzutu bocznego aż do bezpiecznego zatrzaśnięcia.
Sprawdź obszar, w którym zamierzasz używać maszyny, i usuń wszelkie obiekty, które mogłyby zostać podrzucone przez maszynę.
Unikaj uderzania ostrzem w lite obiekty. Nigdy nie koś celowo nad żadnym obiektem.
Jeśli maszyna uderzy w jakiś przedmiot lub zacznie wibrować, natychmiast wyłącz silnik, wyjmij kluczyk (jeżeli występuje), odłącz przewód świecy zapłonowej i sprawdź, czy maszyna nie jest uszkodzona.
Aby uzyskać najlepszą wydajność, przez rozpoczęciem sezonu koszenia zamontuj nowe ostrze.
W razie konieczności wymień ostrze wykorzystując zamiennik marki Toro
Ścinaj za jednym razem tylko około jednej trzeciej źdźbła trawy. Nie koś przy ustawieniu wysokości niższym od 51 mm, z wyjątkiem sytuacji, gdy trawa jest rzadka lub koszenie odbywa się późną jesienią, kiedy wzrost jest spowolniony.
Kosząc trawę o wysokości powyżej 15 cm pracuj przy najwyższym ustawieniu wysokości koszenia i poruszaj się wolniej. Następnie koś przy niższym ustawieniu, aby uzyskać najlepszy wygląd trawy. Jeżeli trawa jest za długa, urządzenie może się zablokować, co spowoduje zgaśnięcie silnika.
Mokra trawa i liście mają tendencję do tworzenia brył w ogródku i powodować zablokowanie maszyny lub zgaśnięcie silnika. Unikaj koszenia w mokrych warunkach.
Pamiętaj, że gdy jest bardzo sucho, wzrasta zagrożenie pożarowe. Zwracaj uwagę na lokalne ostrzeżenia o zagrożeniu pożarowym. Maszyna musi się znajdować z dala od suchych liści i trawy.
Zmieniaj kierunek koszenia. Ułatwia to rozrzucanie ścinków na trawniku, zapewniając równomierne użyźnienie.
Jeśli wygląd trawnika po zakończeniu koszenia jest niezadowalający, spróbuj zastosować co najmniej jedną z następujących metod:
Wymień ostrze lub zleć jego naostrzenie.
Podczas koszenia przemieszczaj się wolniej.
Zwiększ wysokość koszenia maszyny.
Koś trawę częściej.
Nakładaj pokosy na siebie zamiast kosić jeden pokos za każdym przejazdem.
Po skoszeniu trawy sprawdź, czy trawnik jest częściowo widoczny spod pokrywy ściętych liści. Może być konieczne wykonanie więcej niż jednego przejazdu nad liśćmi.
Jeśli na trawniku znajduje się więcej niż 13 cm liści, wykonaj koszenie z ustawioną wyższą wysokością koszenia, po czym powtórz koszenie na pożądanej wysokości koszenia.
Jeśli maszyna nie tnie liści wystarczająco drobno, zmniejsz prędkość koszenia.
Przed przystąpieniem do regulacji, serwisowania, czyszczenia lub przed przechowywaniem sprzętu należy zawsze wyłączyć maszynę i zaczekać, aż wszystkie elementy ruchome się zatrzymają, a maszyna ostygnie.
Oczyść maszynę z trawy i innych pozostałości, aby zapobiec ewentualnym pożarom. Pamiętaj, aby usunąć rozlany olej lub rozlane paliwo.
Nie wolno przechowywać maszyny lub kanistra na paliwo w pobliżu otwartego ognia, iskier lub lamp kontrolnych, takich jak montowane na podgrzewaczu wody lub innych urządzeniach.
Zachowaj ostrożność podczas umieszczania maszyny na przyczepie lub zjeżdżania z niej.
Zabezpiecz maszynę przed stoczeniem się.
| Częstotliwość serwisowania | Procedura konserwacji |
|---|---|
| Przed każdym użyciem lub codziennie |
|
Najlepsze rezultaty daje mycie maszyny tuż po zakończeniu koszenia.
Ustaw maszynę na płaskiej utwardzonej nawierzchni.
Zanim opuścisz stanowisko operatora, wyłącz silnik i zaczekaj, aż wszystkie ruchome części się zatrzymają.
Opuść maszynę do najniższej wysokości koszenia. Patrz Regulacja wysokości cięcia.
Umyj wodą obszar za tylną pokrywą, w miejscu, gdzie ścinki trawy przemieszczają się ze spodniej strony maszyny do worka na trawę.
Note: Umyj obszar, gdy przełącznik workowania na żądanie (jeżeli występuje) ustawiony jest w pozycji wysuniętej najbardziej do przodu i do tyłu.
Podłącz wąż ogrodowy z wodą do złącza czyszczenia (Rysunek 25).

Włącz dopływ wody.
Uruchom silnik i zostaw uruchomiony, aż spod maszyny przestaną wydobywać się ścinki trawy.
Wyłącz silnik.
Wyłącz dopływ wody i odłącz wąż ogrodowy od maszyny.
Uruchom silnik i pozostaw go na kilka minut, aby osuszyć spód maszyny i zapobiec jego rdzewieniu.
Przed odstawieniem maszyny do zamkniętego pomieszczenia zaczekaj, aż po wyłączeniu silnika maszyna ostygnie.
Nieprawidłowe złożenie lub rozłożenie uchwytu może spowodować uszkodzenie linek, skutkując wystąpieniem niebezpiecznych warunków eksploatacji.
Rozkładając lub składając uchwyt, nie wolno dopuścić do uszkodzenia linek.
W przypadku uszkodzenia linki skontaktuj się z przedstawicielem autoryzowanego serwisu.
Wyjmij i odłóż w bezpieczne miejsce dwa pokrętła uchwytu oraz dwie śruby podsadzane ze wsporników uchwytu (Rysunek 26).
Important: Podczas składania uchwytu poprowadź linki na zewnątrz uchwytu.

Złóż uchwyt, obracając go do przodu (Rysunek 27).

Włóż śrubę podsadzaną (z łbem śruby skierowanym do środka) przez wspornik uchwytu i przez górny otwór w końcówce uchwytu. Upewnij się, że kwadratowe krawędzie każdej ze śrub podsadzanych są dobrze dopasowane do górnego lub dolnego kwadratowego otworu w odpowiednim wsporniku uchwytu (Rysunek 28).

Luźno zamocuj pokrętła uchwytu i śruby podsadzane wspornikach uchwytu.
Aby rozłożyć uchwyt, patrz Montowanie i rozkładanie uchwytu.
| Częstotliwość serwisowania | Procedura konserwacji |
|---|---|
| Przed każdym użyciem lub codziennie |
|
| Co 25 godzin |
|
| Co rok |
|
| Co rok lub przed składowaniem |
|
Important: Dodatkowe procedury konserwacyjne zostały podane w instrukcji obsługi silnika.
Przed wykonaniem którejkolwiek z procedur konserwacyjnych odłącz przewód świecy zapłonowej od świecy.
Podczas serwisowania maszyny należy stosować rękawice i okulary ochronne.
Ostrze jest ostre; kontakt z nim może doprowadzić do poważnych obrażeń ciała. Podczas serwisowania ostrza należy stosować rękawice ochronne. Zabrania się naprawiania lub modyfikowania ostrzy.
Nie manipuluj przy urządzeniach zabezpieczających. Regularnie sprawdzaj prawidłowość ich działania.
Wywrócenie maszyny może spowodować wyciek paliwa. Paliwo jest łatwopalne, ma właściwości wybuchowe i może spowodować obrażenia ciała. Poczekaj, aż pracujący silnik zgaśnie z braku paliwa lub usuń je pompką ręczną; nigdy nie odciągaj paliwa przez wyssanie przez rurkę.
Dla zagwarantowania optymalnej wydajności maszyny stosuj wyłącznie części zamienne/akcesoria zalecane przez firmę Toro. Części zamienne i akcesoria wykonane przez innych producentów mogą być niebezpieczne. Stosowanie ich mogłoby unieważnić gwarancję na produkt.
Wyłącz silnik i zaczekaj, aż wszystkie ruchome części się zatrzymają.
Odłącz przewód od świecy zapłonowej (Rysunek 29).

Po wykonaniu procedur konserwacyjnych podłącz kabel świecy zapłonowej do świecy.
Important: Przed przechyleniem maszyny w celu wymiany oleju lub wymiany ostrza kontynuuj normalną pracę, aż do wyczerpania się całego paliwa w zbiorniku. Jeśli konieczne jest przechylenie kosiarki przed wyczerpaniem się paliwa, użyj ręcznej pompy paliwowej, aby usunąć paliwo. Zawsze przewracaj maszynę na bok ze wskaźnikiem poziomu skierowanym w dół.
| Częstotliwość serwisowania | Procedura konserwacji |
|---|---|
| Co 25 godzin |
|
| Co rok |
|
Odepnij górę pokrywy filtra powietrza (Rysunek 30).

Wyjmij filtr powietrza (Rysunek 30).
Sprawdź filtr powietrza.
Note: Jeśli filtr powietrza jest zbyt brudny, wymień go na nowy. W przeciwnym wypadku delikatnie postukaj filtrem o twardą powierzchnię, aby usunąć zabrudzenia.
Załóż filtr powietrza.
Użyj zacisku, aby zamocować pokrywę filtra powietrza.
| Częstotliwość serwisowania | Procedura konserwacji |
|---|---|
| Co rok |
|
Wymiana oleju w silniku nie jest wymagana, ale jeżeli pojawi się taka potrzeba, postępuj zgodnie z poniższą procedurą.
Note: Uruchom silnik na kilka minut przed wymianą oleju, aby go rozgrzać. Rozgrzany olej łatwiej wypływa i zawiera więcej zanieczyszczeń.
| Ilość oleju silnikowego | 0,44 litra* |
| Lepkość oleju | Olej smarowy klasy SAE 30 lub SAE 10W-30 z detergentami |
| Klasa serwisowa API | SJ lub wyższa |
* Po spuszczeniu oleju w skrzyni korbowej zostaje pewna ilość szczątkowa. Nie napełniaj skrzyni korbowej olejem w ilości równej jej pojemności. Napełniaj skrzynię korbową olejem zgodnie z poniższym opisem.
Ustaw maszynę na równym podłożu.
Patrz Przygotowanie do konserwacji.
Wyjmij wskaźnik poziomu, obracając jego korek w lewo i wyciągając go (Rysunek 31).


Przechyl maszynę na bok (tak, aby filtr powietrza był skierowany w górę), aby spuścić zużyty olej przez szyjkę wlewu oleju (Rysunek 32).

Po spuszczeniu zużytego oleju ustaw maszynę ponownie w położeniu roboczym.
Ostrożnie wlej przez szyjkę wlewu oleju około ¾ pojemności skrzyni korbowej oleju.
Odczekaj 3 minuty na ustabilizowanie się poziomu oleju w silniku.
Oczyść wskaźnik poziomu za pomocą suchej szmatki.
Wsuń wskaźnik poziomu do szyjki wlewu oleju, a następnie wyjmij go.
Odczytaj poziom oleju na wskaźniku (Rysunek 31).
Jeżeli poziom oleju na wskaźniku poziomu jest zbyt niski, ostrożnie dolewaj olej niewielkimi porcjami przez szyjkę wlewu, odczekaj 3 minuty i powtarzaj czynności od 8 do 10 do czasu, gdy poziom oleju na wskaźniku osiągnie prawidłowy poziom.
Jeśli poziom oleju jest zbyt wysoki, spuść jego nadmiar, aby uzyskać prawidłowy poziom na wskaźniku.
Important: Jeśli poziom oleju w skrzyni korbowej jest zbyt niski lub zbyt wysoki, uruchomienie silnika może spowodować jego uszkodzenie.
Zamocuj pewnie wskaźnik poziomu w szyjce wlewu oleju.
Przekaż zużyty olej do recyklingu.
| Częstotliwość serwisowania | Procedura konserwacji |
|---|---|
| Co rok |
|
Important: Aby prawidłowo zainstalować ostrze, należy użyć klucza dynamometrycznego. Jeżeli nie posiadasz klucza dynamometrycznego lub nie jesteś pewny swoich działań, skontaktuj się z autoryzowanym serwisem.
Ostrze należy skontrolować za każdym razem, gdy w maszynie zabraknie paliwa. Jeżeli ostrze zostanie uszkodzone lub pęknie, należy je natychmiast wymienić. Jeżeli krawędź ostrza jest stępiona lub wyszczerbiona, ostrze należy naostrzyć i wyważyć, albo wymienić.
Ostrze jest ostre; kontakt z nim może doprowadzić do poważnych obrażeń ciała.
Podczas serwisowania ostrza należy stosować rękawice ochronne.
Odłącz przewód od świecy zapłonowej, patrz Przygotowanie do konserwacji.
Przechyl maszynę w bok tak, aby filtr powietrza był skierowany w górę.
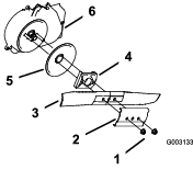
Odkręć 2 nakrętki ostrza i zdejmij usztywniacz (Rysunek 33).

Zdejmij ostrze (Rysunek 33).
Zamontuj nowe ostrze (Rysunek 33).
Zamontuj zdjęty wcześniej usztywniacz.
Przykręć nakrętki ostrza i dokręć je z momentem od 20 do 37 N·m.
| Częstotliwość serwisowania | Procedura konserwacji |
|---|---|
| Co 25 godzin |
|
Osłonę sprzęgła/hamulca ostrza czyść co roku, co pozwoli je zabezpieczyć przed unieruchomieniem podczas koszenia.
Odłącz przewód od świecy zapłonowej, patrz Przygotowanie do konserwacji.
Przechyl maszynę na bok tak, aby wskaźnik poziomu był skierowany w dół.
Odkręć 2 nakrętki ostrza i zdejmij usztywniacz (Rysunek 34).

Zdejmij ostrze (Rysunek 34).
Zdejmij człon napędzający ostrze i tarczę (Rysunek 34).
Zdejmij osłonę sprzęgła hamulca ostrza (Rysunek 34).
Usuń szczotką lub wydmuchaj zanieczyszczenia z wnętrza osłony i z okolicy części.
Zamontuj zdjętą wcześniej osłonę sprzęgła/hamulca ostrza.
Zamontuj zdjęty wcześniej człon napędzający ostrze i tarczę.
Zamontuj zdjęty wcześniej usztywniacz i ostrze (Rysunek 34).
Przykręć nakrętki ostrza i dokręć je z momentem od 20 do 37 N·m.
Zawsze po zamontowaniu nowej linki napędu samobieżnego lub jeśli napęd samobieżny jest rozregulowany należy przeprowadzić regulację linki napędu samobieżnego.
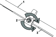
Obróć nakrętkę regulacyjną w lewo, aby poluzować mocowanie linki (Rysunek 35).


Wyreguluj naprężenie linki (Rysunek 35) pociągając ją do tyłu lub popychając do przodu i przytrzymując w tym położeniu.
Note: Popchnij linkę w kierunku do silnika, aby zwiększyć trakcję, lub pociągnij linkę w kierunku od silnika, aby zmniejszyć trakcję.
Obróć nakrętkę regulacyjną w prawo, aby dokręcić mocowanie linki.
Note: Mocno dokręć nakrętkę z wykorzystaniem klucza.
Przechowuj maszynę w chłodnym, czystym i suchym miejscu.
Przed przystąpieniem do regulacji, serwisowania, czyszczenia lub przed przechowywaniem sprzętu należy zawsze wyłączyć maszynę i zaczekać, aż wszystkie elementy ruchome się zatrzymają, a maszyna ostygnie.
Przy ostatnim tankowaniu w danym roku dodaj do paliwa stabilizator paliwa (taki jak dodatek uszlachetniający do paliwa Toro Premium) postępując zgodnie z wskazówkami na etykiecie.
Odpowiednio zutylizuj niewykorzystane paliwo. Paliwo należy zutylizować zgodnie z obowiązującymi przepisami lub wykorzystać w samochodzie.
Note: Głównym powodem trudności z rozruchem jest pozostawienie starego paliwa w zbiorniku. Nie należy przechowywać paliwa bez stabilizatora dłużej niż przez 30 dni oraz paliwa ze stabilizatorem dłużej niż 90 dni.
Uruchom maszynę i pozwól jej pracować, aż silnik zatrzyma się z powodu braku paliwa.
Ponownie uruchom silnik i poczekaj, aż sam się zatrzyma. Silnik będzie dostatecznie suchy, kiedy nie będzie można go uruchomić.
Odłącz kabel świecy zapłonowej od świecy i podłącz go do trzpienia przytrzymującego (jeżeli występuje).
Wykręć świecę zapłonową i wlej 30 ml oleju silnikowego przez otwór świecy, a następnie powoli pociągnij kilka razy za linkę rozrusznika, aby rozprowadzić olej w cylindrze, co zapobiegnie jego korozji podczas przechowywania poza sezonem.
Zainstaluj świecę zapłonową, lekko ją dokręcając.
Dokręć wszystkie nakrętki, śruby i wkręty.
Sprawdź i dokręć wszystkie mocowania.
Wykręć świecę zapłonową i szybko zakręć silnikiem, używając rozrusznika linkowego, aby wydmuchać nadmiar oleju z cylindra.
Wkręć świecę zapłonową i dokręć ją kluczem dynamometrycznym momentem 20 N∙m.
Wykonaj wszystkie wymagane procedury konserwacji, patrz .
Sprawdź poziom oleju w silniku, patrz Sprawdzanie poziomu oleju w silniku.
Uzupełnij zbiornik świeżym paliwem; patrz Uzupełnianie paliwa.
Podłącz kabel do świecy zapłonowej.