| Onderhoudsinterval | Onderhoudsprocedure |
|---|---|
| Bij elk gebruik of dagelijks |
|
Deze loopmaaier met draaiende messen is bedoeld voor gebruik door particulieren. De machine is voornamelijk ontworpen voor het maaien van gras op goed onderhouden particuliere gazons. Gebruik van dit product voor andere doeleinden dan deze kan gevaarlijk zijn voor u of omstanders.
Lees deze informatie zorgvuldig door, zodat u weet hoe u de machine op de juiste wijze moet gebruiken en onderhouden en om letsel en schade aan de machine te voorkomen. U bent verantwoordelijk voor het juiste en veilige gebruik van de machine.
Ga naar www.toro.com voor meer informatie, inclusief veiligheidstips, instructiemateriaal, informatie over accessoires, hulp bij het vinden van een dealer of om uw product te registreren.
Als u service, originele Toro- onderdelen of aanvullende informatie nodig hebt, kunt u contact opnemen met een erkende servicedealer of met de klantenservice van Toro. U dient hierbij altijd het modelnummer en het serienummer van het product te vermelden. De locatie van het plaatje met het modelnummer en het serienummer van het product is aangegeven op Figuur 1. U kunt de nummers noteren in de ruimte hieronder.
Important: U kunt met uw mobiel apparaat de QR-code op het plaatje met het serienummer (indien aanwezig) scannen om toegang te krijgen tot de garantie, onderdelen en andere productinformatie

Er worden in deze handleiding een aantal mogelijke gevaren en een aantal veiligheidsberichten genoemd (Figuur 2) met de volgende waarschuwingssymbolen, die duiden op een gevaarlijke situatie die zwaar lichamelijk letsel of de dood tot gevolg kan hebben wanneer de veiligheidsvoorschriften niet in acht worden genomen.

Er worden in deze handleiding twee woorden gebruikt om uw aandacht op bijzondere informatie te vestigen. Belangrijk attendeert u op bijzondere technische informatie en Opmerking duidt algemene informatie aan die bijzondere aandacht verdient.
Dit product voldoet aan alle relevante Europese richtlijnen; zie voor details de aparte productspecifieke conformiteitsverklaring.
De bij deze motor geleverde Gebruikershandleiding bevat informatie over het Environmental Protection Agency (EPA) in de Verenigde Staten, over de California Emission Control Regulation voor emissiesystemen, en over onderhoud en garantie. Bestel vervangingsonderdelen bij de fabrikant van de motor.
Bruto- en nettokoppel: Het bruto- en nettokoppel van deze motor is door de motorfabrikant in laboratoriumomstandigheden gemeten volgens standaard J1940 of J2723 van de Society of Automotive Engineers (SAE). Omdat bij de configuratie rekening is gehouden met de veiligheids- en gebruiksvoorschriften, zal dit type maaiers in de praktijk een veel lager motorkoppel hebben. Raadpleeg de informatie van de motorfabrikant die wordt meegeleverd met de machine.
Gelieve niet te knoeien met de veiligheidsvoorzieningen of deze uit te schakelen. Controleer ook regelmatig dat deze nog werken. Probeer het afgesteld motortoerental niet te veranderen, anders kan er een onveilige situatie ontstaan waardoor u letsel kunt oplopen.
Deze machine is ontworpen in overeenstemming met de EN-norm ISO 5395.
Dit product kan handen of voeten afsnijden en voorwerpen uitwerpen. Volg altijd alle veiligheidsinstructies op om ernstig letsel te voorkomen.
Voordat u de motor start, moet u de instructies en waarschuwingen in deze Gebruikershandleiding en op de machine en de werktuigen lezen, begrijpen en uitvoeren.
Houd uw handen en voeten uit de buurt van bewegende onderdelen van onder de machine. Blijf altijd uit de buurt van afvoeropeningen.
Gebruik de machine niet als er schermen of andere beveiligingsmiddelen ontbreken of als deze niet naar behoren werken.
Laat geen omstanders of kinderen het werkgebied betreden. Laat kinderen nooit de machine bedienen. Laat enkel mensen die verantwoordelijk en getraind zijn en die bovendien vertrouwd zijn met de instructies en fysiek ertoe in staat zijn de machine bedienen.
Stop de machine, zet de motor uit verwijder de elektrische startknop (indien de machine hiermee is uitgerust) en wacht totdat alle bewegende onderdelen tot stilstand zijn gekomen voordat u servicewerkzaamheden uitvoert, brandstof bijvult of verstoppingen verwijdert.
Onjuist gebruik of onderhoud van deze machine kan letsel tot
gevolg hebben. Om het risico op letsel te verkleinen, dient u zich
aan de volgende veiligheidsinstructies te houden en altijd op het
veiligheidssymbool
te letten, dat betekent Voorzichtig, Waarschuwing
of Gevaar – instructie voor persoonlijke veiligheid. Niet-naleving
van deze instructies kan leiden tot lichamelijk of dodelijk letsel.
![]() |
Veiligheidsstickers en veiligheidsinstructies zijn gemakkelijk zichtbaar voor de bestuurder en bevinden zich bij plaatsen waar gevaar kan ontstaan. Vervang alle beschadigde of ontbrekende stickers. |






Uitsluitend model met elektrisch startsysteem

Important: Verwijder het plastic waarmee de motor is afgedekt en eventueel ander plastic of verpakkingsmateriaal op de machine.
Important: Om te voorkomen dat de motor per ongeluk start, mag u de elektrische startknop pas in het elektrische contact (indien de machine hiermee is uitgerust) plaatsen als u klaar bent om de motor te starten.
Note: Zorg ervoor dat de kabels langs de buitenkant van de handgreep lopen en niet worden afgeklemd (D van Figuur 3).


Important: Om de motor veilig en snel te kunnen starten voor elk gebruik dient u de startkoord aan te brengen in de koordgeleider.

Important: Als het oliepeil in het motor te hoog of te laag is en u laat de motor toch draaien, kunt u deze beschadigen.


Uitsluitend model met elektrisch startsysteem
Zie De accu opladen.


| Model | Gewicht | Lengte | Breedte | Hoogte |
|---|---|---|---|---|
| 21762 | 36 kg | 151 cm | 59 cm | 109 cm |
| 21763 | 40 kg | 151 cm | 59 cm | 109 cm |
Een selectie van door Toro goedgekeurde werktuigen en accessoires is verkrijgbaar voor gebruik met de machine om de mogelijkheden daarvan te verbeteren en uit te breiden. Neem contact op met een erkende servicedealer of een erkende Toro distributeur of bezoek www.Toro.com voor een lijst van alle goedgekeurde werktuigen en accessoires.
Om de beste prestaties te verkrijgen en ervoor te zorgen dat de veiligheidscertificaten van de machine blijven gelden, moet u ter vervanging altijd originele onderdelen en accessoires van Toro aanschaffen. Gebruik ter vervanging nooit onderdelen en accessoires van andere fabrikanten, omdat dit gevaarlijk kan zijn en de productgarantie hierdoor kan vervallen.
Note: Bepaal vanuit de normale bestuurderspositie de linker- en rechterzijde van de machine.
Schakel altijd de machine uit, verwijder de elektrische startknop (indien de machine hiermee is uitgerust), wacht totdat alle bewegende onderdelen tot stilstand zijn gekomen en laat de machine afkoelen voordat u ze afstelt, schoonmaakt, stalt of er onderhoudswerkzaamheden aan verricht.
Zorg ervoor dat u vertrouwd raakt met de bedieningsorganen en de veiligheidssymbolen, en weet hoe u de machine veilig kunt gebruiken.
Controleer of de beschermplaten en veiligheidsvoorzieningen zoals grasgeleiders en/of de grasvanger op hun plaats zitten en naar behoren werken.
Controleer de machine altijd om er zeker van te zijn dat de messen en mesbouten niet versleten of beschadigd zijn.
Controleer het werkgebied en verwijder alle voorwerpen die het gebruik van de machine zouden kunnen hinderen of die de machine zou kunnen uitwerpen.
Contact met een bewegend mes veroorzaakt ernstig letsel. Plaats uw vingers niet onder de maaikast als u de maaihoogte instelt.
Brandstof is uiterst ontvlambaar en zeer explosief. Brand of explosie van brandstof kan brandwonden bij u of anderen en materiële schade veroorzaken.
Om te voorkomen dat een statische lading de brandstof tot ontbranding kan brengen, moet u het brandstofreservoir en/of de machine op de grond plaatsen voordat u de tank vult, niet op een voertuig of een ander object.
Vul de brandstoftank in de open lucht wanneer de motor koud is. Neem eventueel gemorste benzine op.
Rook niet als u omgaat met brandstof, en houd brandstof uit de buurt van open vuur of vonken.
Als de motor draait of heet is, mag de brandstoftankdop niet worden verwijderd en mag de tank niet met brandstof worden bijgevuld.
Probeer de motor niet te starten als u brandstof morst. Zorg ervoor dat er geen ontstekingsbronnen in de buurt zijn totdat de brandstofdampen volledig zijn verdwenen.
Bewaar brandstof in een goedgekeurd vat of blik en buiten bereik van kinderen.
Brandstof is schadelijk of dodelijk bij inname. Langdurige blootstelling aan dampen kan leiden tot ernstig letsel en ziekte.
Voorkom dat u dampen lange tijd inademt.
Houd uw handen en gezicht uit de buurt van de vulpijp en de opening van de brandstoftank.
Houd brandstof uit de buurt van uw ogen en huid.
Gebruik voor de beste resultaten uitsluitend schone, verse, loodvrije benzine met een octaangetal van 87 of hoger (indelingsmethode (R+M)/2).
Met zuurstof verrijkte benzine met ten hoogste 10% ethanol of 15% MTBE is geschikt.
Geen ethanolmengsels van benzine gebruiken (zoals E15 of E85) met meer dan 10% ethanol per volume. Dit kan leiden tot verminderde prestaties en/of motorschade die mogelijk niet gedekt wordt door de garantie.
Geen benzine gebruiken die methanol bevat.
Tijdens de winter geen brandstof bewaren in de brandstoftank of in brandstofblikken, tenzij een stabilizer aan de brandstof werd toegevoegd.
Meng nooit olie door benzine.
Vul de brandstoftank met verse loodvrije, normale benzine van een bekend merk (Figuur 9).
Important: Om startproblemen te verminderen, moet u stabilizer/conditioner toevoegen aan de verse brandstof volgens de voorschriften van de fabrikant van de stabilizer.
Raadpleeg de gebruikershandleiding van de motor voor verdere informatie.

| Onderhoudsinterval | Onderhoudsprocedure |
|---|---|
| Bij elk gebruik of dagelijks |
|
Important: Als het oliepeil in het carter te hoog of te laag is en u laat de motor toch draaien, kunt u deze beschadigen.


U kunt de handgreep 1 of 2 standen hoger of lager zetten in een stand die u comfortabel vindt (Figuur 11).

Verwijder beide handgreepknoppen.
Zet de handgreep in de gewenste hoogte.
Bevestig de handgreep met de handgreepknoppen die u eerder verwijderd hebt.
Als de motor heeft gelopen, kan de geluiddemper heet zijn en brandwonden veroorzaken.
Blijf uit de buurt van een hete geluiddemper.
Zet de maaihoogte op de gewenste stand. Stel alle wielen op dezelfde maaihoogte in (Figuur 12).


Draag geschikte kleding en uitrusting, zoals oogbescherming, een lange broek, stevige schoenen met een gripvaste zool en gehoorbescherming. Draag lang haar niet los en draag geen losse kleding of juwelen.
Geef uw volledige aandacht als u de machine gebruikt. Zorg ervoor dat u met niets anders bezig bent waardoor u kunt worden afgeleid, anders kan er letsel ontstaan of kan eigendom worden beschadigd.
Gebruik de machine niet als u ziek of moe bent of onder de invloed van alcohol of drugs bent.
Het maaimes is scherp, contact met het maaimes kan ernstig lichamelijk letsel veroorzaken. Zet de motor af, verwijder de elektrische startknop (alleen modellen met elektrisch startsysteem) en wacht totdat alle bewegende onderdelen tot stilstand zijn gekomen voordat u de bestuurderspositie verlaat.
Als u de bedieningsstang loslaat, moeten de motor en het mes binnen 3 seconden stoppen. Als dit niet het geval is, mag u de machine niet meer gebruiken en moet u contact opnemen met een erkende servicedealer.
Houd omstanders uit de buurt van het werkgebied. Houd kleine kinderen uit de buurt van het werkgebied en plaats ze onder toezicht van een verantwoordelijke volwassene die de machine niet aan het gebruiken is. Stop de machine als iemand het werkgebied betreedt.
Kijk altijd naar beneden en achterom voordat u achteruitrijdt.
Gebruik de machine enkel bij een goede zichtbaarheid en in geschikte weersomstandigheden. Gebruik de machine niet als het kan bliksemen.
Als u nat gras en natte bladeren maait, kunt u uitglijden, in aanraking komen met het mes en ernstig letsel oplopen. Gebruik de machine niet in vochtige omstandigheden.
Wees uiterst voorzichtig bij het naderen van blinde hoeken, struiken, bomen en andere objecten die uw zicht kunnen belemmeren.
Het materiaal dat afgevoerd wordt niet naar iemand richten. Voorkom het afvoeren van materiaal tegen een muur of afscherming; het materiaal kan naar u terugketsen. Zet het mes/de messen stil bij het oversteken van grindoppervlakken.
Kijk uit voor gaten, geulen, hobbels, stenen of andere verborgen objecten. Op oneffen terrein kunt u uw evenwicht verliezen of wegglijden.
Als de maaimachine toch een voorwerp raakt en begint te trillen, moet u meteen de motor afzetten, de elektrische startknop verwijderen (indien de machine hiermee is uitgerust), wachten totdat alle bewegende onderdelen tot stilstand zijn gekomen en de bougiekabel losmaken voordat u de maaimachine op beschadiging controleert. Voer alle noodzakelijke reparaties uit voordat u de machine weer in gebruik neemt.
Voordat u de bestuurderspositie verlaat, moet u de motor afzetten, de elektrische startknop (alleen modellen met elektrisch startsysteem) verwijderen en wachten tot alle bewegende onderdelen tot stilstand zijn gekomen.
Als de motor heeft gelopen, kan deze heet zijn en ernstige brandwonden veroorzaken. Blijf uit de buurt van de hete motor.
Laat de motor enkel in goed geventileerde ruimtes draaien. Uitlaatgassen bevatten koolstofmonoxide, dat bij inademing dodelijk is.
Controleer de onderdelen van de grasvanger en het uitwerpkanaal regelmatig op slijtage en beschadiging en vervang ze indien nodig door originele Toro onderdelen.
Maai met de helling mee, nooit helling op en af. Ga zeer zorgvuldig te werk als u van richting verandert op een helling.
Maai niet op al te steile hellingen. Het niet goed neerzetten van de voeten kan ongevallen veroorzaken waarbij de gebruiker wegglijdt en ten val komt.
Maai voorzichtig in de buurt van steile hellingen, greppels of dijken.
U kunt de motor starten met de elektrische startknop (indien de machine hiermee is uitgerust) of met het startkoord.
Houd de bedieningsstang van het maaimes tegen de handgreep (A in Figuur 13).
Als de elektrische startknop verwijderd is, moet u deze in de elektrische starter (B van Figuur 13) plaatsen.
Duw op de elektrische startknop tot de motor start (C van Figuur 13).
Note: Als de motor na enkele pogingen niet wil starten, moet u contact opnemen met een erkende Service Dealer.


Houd de bedieningsstang van het maaimes tegen de handgreep (A in Figuur 14).
Trek aan de handgreep van het startkoord (B van Figuur 14)
Note: Trek de starthandgreep langzaam uit totdat u weerstand voelt, daarna krachtig uittrekken. Laat het koord langzaam terugkeren.
Note: Als de motor na enkele pogingen niet wil starten, moet u contact opnemen met een erkende Service Dealer.


Om de zelfaandrijving te activeren, loopt u eenvoudig vooruit met uw handen op het bovenste deel van de handgreep en uw ellebogen naast uw lichaam; de maaimachine richt zich automatisch naar uw loopsnelheid (Figuur 15).

Note: Als de maaimachine niet vrij naar achteren rolt na het inschakelen van de zelfaandrijving, sta dan stil, houd uw handen bij de handgreep en laat de maaimachine een paar centimeter naar voren rollen om het aandrijfsysteem uit te schakelen. U kunt ook de metalen handgreep aanraken die zich net onder de bovenste handgreep bevindt en de machine een paar centimeter naar voren duwen. Als de maaimachine nog steeds niet naar achteren wil rollen, moet u contact opnemen met een erkende Service Dealer.
| Onderhoudsinterval | Onderhoudsprocedure |
|---|---|
| Bij elk gebruik of dagelijks |
|
Om de motor te stoppen moet u de bedieningsstang van het maaimes loslaten.
Note: Verwijder de elektrische startknop (indien de machine hiermee is uitgerust) als u de machine verlaat.
Important: Als u de bedieningsstang loslaat, moeten de motor en het mes binnen 3 seconden stoppen. Als dit niet gebeurt, mag u de machine niet verder gebruiken en moet u contact opnemen met een erkende servicedealer.
De machine kan maaisel en bladafval over het gazon verspreiden (recycling).
Als de grasvanger aan de maaimachine is bevestigd en de grasvangerhendel zich in de grasvangstand bevindt, eerst de hendel in de recycle-stand zetten (raadpleeg De grasvangerhendel bedienen). Als het zijuitwerpkanaal op de machine is bevestigd, moet u dit verwijderen, zie Het zijuitwerpkanaal verwijderen.
Gebruik de grasvanger als u maaisel en bladafval wilt verzamelen.
Als het zijuitwerpkanaal op de machine is bevestigd, moet u dit verwijderen, zie Het zijuitwerpkanaal verwijderen. Als de grasvangerhendel zich in de recycle-stand bevindt, zet deze dan in de grasvangstand (zie De grasvangerhendel bedienen).
Om de zak te verwijderen, voert u de stappen in Montage van de grasvanger in omgekeerde volgorde uit.
Met de grasvangfunctie kunt u kiezen tussen opvangen van het maaisel of recyclen van gras en bladeren terwijl de grasvanger aan de maaimachine is bevestigd.
Als u het gras en de bladeren wilt opvangen, druk dan op de knop van de grasvangerhendel en beweeg deze naar voren tot de knop op de hendel naar boven klikt (Figuur 17).

Als u het gras en de bladeren wilt recyclen of zijdelings uitwerpen, druk dan op de knop van de grasvangerhendel en beweeg deze naar achteren tot de knop op de hendel naar boven klikt.
Important: Voor een juiste werking, zet de motor uit, wacht totdat alle bewegende onderdelen tot stilstand zijn gekomen en verwijder eventueel maaisel en vuil van de grasvangerklep en de omgeving ervan (Figuur 18) voordat u de hendel in een andere stand zet.

Gebruik de zijuitworp als u zeer hoog gras maait.
Als de grasvanger aan de maaimachine is bevestigd en de grasvangerhendel zich in de grasvangstand bevindt, eerst de hendel in de recycle-stand zetten (raadpleeg De grasvangerhendel bedienen).
Ontgrendel de afsluiter en breng deze omhoog; plaats het zijuitwerpkanaal (Figuur 19).

Om het zijuitwerpkanaal te verwijderen, brengt u de afsluiter omhoog, verwijdert u het zijuitwerpkanaal en brengt u de afsluiter weer omlaag tot deze veilig sluit.
Controleer het werkgebied en verwijder alle voorwerpen die de machine zou kunnen uitwerpen.
Zorg ervoor dat het mes geen vaste voorwerpen raakt. Maai nooit met opzet over voorwerpen.
Als de machine een voorwerp raakt of begint te trillen, moet u meteen de motor afzetten, de bougiekabel losmaken, de elektrische startknop verwijderen (indien de machine hiermee is uitgerust) en de machine op beschadiging controleren.
De beste resultaten krijgt u door een nieuw mes te monteren voordat het maaiseizoen begint.
Vervang indien nodig het maaimes door een Toro mes.
U moet telkens niet meer dan ongeveer een derde van de lengte van het gras afmaaien. Maai niet met een stand lager dan 51 mm, tenzij de grasmat dun is, of als het laat in het najaar is wanneer het gras langzamer begint te groeien.
Als u gras wilt maaien dat langer dan 15 cm is, moet u maaien op de maximale maaihoogte en met een langzamere loopsnelheid. Vervolgens gaat u maaien op een lagere maaihoogte om het gazon een zo fraai mogelijk uiterlijk te geven. Als het gras te hoog is, kan de machine verstopt raken en de motor afslaan.
Nat gras en natte bladeren gaan aankoeken, waardoor de maaimachine verstopt kan raken of de motor kan afslaan. Gebruik de machine niet in vochtige omstandigheden.
Wees bedacht op het risico van brand in zeer droge omstandigheden; neem alle plaatselijke brandwaarschuwingen in acht en houd de machine vrij van droog gras en bladafval.
Maai steeds in wisselende richtingen. Hierdoor wordt het maaisel beter over het gazon verstrooid, zodat het gazon gelijkmatig wordt bemest.
Als u met het uiterlijk van het voltooide gazon niet tevreden bent, probeer dan een of meer van de volgende stappen:
Vervang het maaimes of laat het slijpen.
Loop langzamer tijdens het maaien.
Stel de maaimachine in op een hogere maaihoogte.
Maai het gras vaker.
Laat de maaibanen overlappen in plaats van steeds een volledig nieuwe baan te maaien.
Na het maaien moet altijd 50% van het gazon zichtbaar blijven door de bladerlaag. Dit kan een of meerdere rondgangen over de bladeren vereisen.
Als er een laag bladeren van meer dan 13 cm op het gazon ligt, moet u eerst met een hogere maaihoogte werken en vervolgens nogmaals maaien op de gewenste hoogte.
Als de maaimachine de bladeren niet fijn genoeg maakt, is het beter om wat langzamer te maaien.
Schakel altijd de machine uit, verwijder de elektrische startknop (indien de machine hiermee is uitgerust), wacht totdat alle bewegende onderdelen tot stilstand zijn gekomen en laat de machine afkoelen voordat u ze afstelt, schoonmaakt, stalt of er onderhoudswerkzaamheden aan verricht.
Verwijder gras en vuil van de machine om brand te voorkomen. Neem gemorste olie of brandstof op.
Bewaar de machine of brandstofhouder nooit bij een open vlam, vonk of waakvlam bij bv. een geiser of andere apparaten.
Verwijder de elektrische startknop (indien de machine hiermee is uitgerust) voordat u de machine inlaadt om te vervoeren.
Wees voorzichtig bij het in- of uitladen van de machine.
Zet de machine vast zodat ze niet kan gaan rollen.
| Onderhoudsinterval | Onderhoudsprocedure |
|---|---|
| Bij elk gebruik of dagelijks |
|
Om de beste resultaten te verkrijgen, dient u de machine te reinigen zodra u klaar bent met maaien.
Plaats de maaimachine op een vlakke en verharde ondergrond.
Zet de motor af en wacht totdat alle bewegende onderdelen tot stilstand zijn gekomen voordat u de bestuurderspositie verlaat.
Zet de machine in zijn laagste maaistand. Zie De maaihoogte instellen.
Reinig het gebied onder de achterklep, waar het maaisel van de onderzijde van de machine naar de grasvanger gaat.
Note: Reinig de machine rondom de hendel voor optioneel grasvangen (indien aanwezig) met de hendel helemaal naar voren en helemaal naar achteren.
Bevestig een tuinslang die aangesloten is op een kraan aan de wasaansluiting (Figuur 20).

Draai de kraan open.
Start de motor en laat deze lopen totdat er geen maaisel meer onder de machine vandaan komt.
Zet de motor af.
Draai de kraan dicht en maak de tuinslang los van de maaimachine.
Start de motor en laat deze een paar minuten lopen om de onderzijde van de machine te drogen zodat deze niet gaat roesten.
Zet de motor uit, verwijder de elektrische startknop (indien de machine hiermee is uitgerust) en laat de machine afkoelen voordat u deze in een afgesloten ruimte stalt.
Als de handgreep verkeerd wordt in- en uitgeklapt, kunnen de kabels schade oplopen, waardoor de machine niet veilig kan worden gebruikt.
Zorg ervoor dat u de kabels niet beschadigt als u de handgreep in- of uitklapt.
Indien een kabel is beschadigd, moet u contact opnemen met een erkende Service Dealer.
Verwijder de elektrische startknop (indien de machine hiermee is uitgerust); zie Figuur 21.

Verwijder en bewaar de 2 handgreepknoppen en 2 slotbouten van de handgreepbeugels (Figuur 22).
Important: Leid de kabels naar de buitenzijde van de handgreepknoppen terwijl u de handgreep beweegt.

Verwijder de handgreep door deze naar voren te draaien (Figuur 23).

Steek de slotbout (met de boutkop naar de binnenkant gericht) door de handgreep en de bovenste opening in het handgreepuiteinde. Trek aan de knoppen totdat de vierkante randen van alle slotbouten goed in de bijbehorende vierkante openingen passen (Figuur 24).

Monteer de handgreepknoppen en slotbouten losjes op de handgreepbeugels.
Om de handgreep uit te vouwen, zie De handgreep monteren en uitklappen.
| Onderhoudsinterval | Onderhoudsprocedure |
|---|---|
| Bij elk gebruik of dagelijks |
|
| Om de 25 bedrijfsuren |
|
| Jaarlijks |
|
| Jaarlijks of vóór stalling |
|
Important: Zie de gebruikershandleiding van de motor voor verdere onderhoudsprocedures.
Trek de bougiekabel los van de bougie en verwijder de elektrische startknop voordat u onderhoudswerkzaamheden uitvoert.
Draag handschoenen en oogbescherming wanneer u servicewerkzaamheden verricht.
Het maaimes is scherp, contact met het maaimes kan ernstig lichamelijk letsel veroorzaken. Gebruik handschoenen als u het mes monteert. Repareer of wijzig het mes/de messen niet.
Knoei nooit met de veiligheidsvoorzieningen. Controleer regelmatig of deze goed werken.
Als u de machine kantelt, kan er benzine uit de tank lekken. Benzine is ontvlambaar en explosief en kan lichamelijk letsel veroorzaken. Laat de motor drooglopen of pomp de brandstof met een handpomp uit de tank. Gebruik nooit een hevel.
Om veilige en optimale prestaties van de machine te verkrijgen, moet u ter vervanging alleen originele Toro onderdelen en accessoires gebruiken. Gebruik ter vervanging nooit onderdelen en accessoires van andere fabrikanten, omdat dit gevaarlijk kan zijn en de productgarantie hierdoor kan vervallen.
Zet de motor af, verwijder de elektrische startknop (indien de machine hiermee is uitgerust) en wacht totdat alle bewegende onderdelen tot stilstand zijn gekomen.
Maak de bougiekabel los van de bougie (Figuur 25).

Nadat u de onderhoudswerkzaamheden hebt uitgevoerd, moet u de kabel weer aansluiten op de bougie.
Important: Voordat u de machine kantelt om olie te verversen of het mes te vervangen, moet u de machine gebruiken totdat de benzinetank leeg is. Als u de machine moet kantelen voordat de benzinetank leeg is, dient u de benzine met een handpomp uit de tank te pompen. Kantel de maaimachine altijd op de zijkant, met de peilstok omlaag.
| Onderhoudsinterval | Onderhoudsprocedure |
|---|---|
| Om de 25 bedrijfsuren |
|
| Jaarlijks |
|
Maak de sluiting bovenaan het luchtfilterdeksel los (Figuur 26).

Verwijder het luchtfilter (Figuur 26).
Luchtfilter controleren.
Note: Als het luchtfilter bijzonder vuil is, vervang dan het filterelement. Tik anders voorzichtig met het luchtfilter op een hard oppervlak om het vuil eruit te kloppen.
Monteer het luchtfilter.
Gebruik de sluiting om het luchtfilterdeksel weer terug te plaatsen.
| Onderhoudsinterval | Onderhoudsprocedure |
|---|---|
| Jaarlijks |
|
Het is niet verplicht om de motorolie te verversen, maar als u dit wilt doen, volg dan de volgende procedure.
Note: Voordat u de olie ververst, moet u de motor enkele minuten laten lopen zodat de olie warm wordt. Warme olie stroomt beter en voert verontreinigingen beter mee.
| Motoroliecapaciteit | 0,44 l* |
| Olieviscositeit | SAE 30 of SAE 10W-30 reinigingsolie |
| API-onderhoudsclassificatie | SJ of hoger |
*Er is olie achtergebleven in het carter nadat u de olie aftapt. Giet niet de hele inhoud olie in het carter. Vul het carter met olie zoals uitgelegd in de volgende stappen.
Plaats de machine op een horizontaal oppervlak.
Verwijder de peilstok door de dop linksom te draaien en eruit te trekken (Figuur 27).


Kantel de machine op de zijkant (met het luchtfilter naar boven) om de oude olie uit de vulbuis te laten lopen (Figuur 28).

Nadat de gebruikte olie is afgetapt, zet u de maaimachine terug in de werkstand.
Giet langzaam ongeveer ¾ van de inhoud van het oliecarter in de vulbuis.
Wacht 3 minuten tot de olie in de motor gezakt is.
Veeg de peilstok met een schone doek schoon.
Steek de peilstok volledig in de vulbuis en verwijder de peilstok.
Lees het oliepeil af van de peilstok (Figuur 27).
Als het peil op de peilstok te laag staat, giet dan voorzichtig een kleine hoeveelheid olie in de vulbuis, wacht 3 minuten en herhaal stappen 8 tot en met 10 totdat de peilstok het juiste peil aangeeft.
Als het oliepeil op de peilstok te hoog is, tapt u de overtollige olie af tot de peilstok het juiste oliepeil aangeeft.
Important: Als het oliepeil in het motor te hoog of te laag is en u laat de motor toch draaien, kunt u deze beschadigen.
Plaats de peilstok goed in de vulbuis.
Recycleer de gebruikte olie op de juiste wijze.
| Onderhoudsinterval | Onderhoudsprocedure |
|---|---|
| Om de 25 bedrijfsuren |
|
Laad de accu voor het eerste gebruik gedurende 24 uur op, doe dit vervolgens elke maand (steeds na 25 keer starten) of wanneer dit nodig is. Gebruik de acculader altijd op een beschutte plaats en laad de accu op bij kamertemperatuur (22 °C) indien dit mogelijk is.
Sluit de acculader aan op de kabelboom die zich onder de elektrische startknop bevindt (Figuur 29).

Sluit de acculader aan op een stopcontact.
Note: Als de accu niet meer kan worden opgeladen, moet u deze afvoeren of verwerken volgens de plaatselijk geldende voorschriften.
Note: De lader is mogelijk voorzien van een LED-display met twee kleuren waarmee de volgende laadstatus kan worden weergeven:
Een rood lampje geeft aan dat de lader de accu laadt.
Een groen lampje geeft aan dat de accu volledig is opgeladen of dat de lader is losgekoppeld van de accu.
Een knipperend licht dat wisselt tussen rood en groen geeft aan dat de accu bijna volledig is opgeladen. Het duurt hierna nog maar enkele minuten tot de accu volledig is opgeladen.
Als de accu niet oplaadt of de motor niet gaat lopen met behulp van de elektrische starter, is de zekering waarschijnlijk doorgebrand. Vervang door een nieuwe 40 A insteekzekering.
Breng de afvoergeleider aan de achterzijde omhoog en ga naar het accucompartiment (Figuur 30).

Veeg het accucompartiment schoon.
Verwijder de schroef waarmee het accucompartiment is bevestigd, verwijder de accu en ga naar de zekering (Figuur 31).

Vervang de zekering in de zekeringhouder (Figuur 31).
Note: De maaimachine wordt geleverd met een reservezekering in het accucompartiment.
Plaats het accudeksel terug met de schroef die u bij stap 3 hebt verwijderd.
Plaats het deksel op het accucompartiment.
Breng de grasgeleider aan de achterzijde omlaag.
| Onderhoudsinterval | Onderhoudsprocedure |
|---|---|
| Jaarlijks |
|
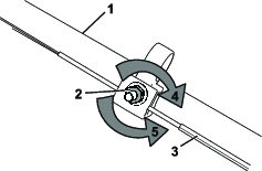
Important: U hebt een momentsleutel nodig om het mes op correcte wijze te monteren. Als u geen momentsleutel hebt of niet goed weet hoe u de montage moet uitvoeren, kunt u contact opnemen met een erkende servicedealer.
Controleer het mes wanneer de brandstoftank leeg is. Een beschadigd of gescheurd mes moet direct worden vervangen. Als de snijrand bot is of bramen vertoont, moet u het mes laten slijpen en balanceren of het mes vervangen.
Het maaimes is scherp, contact met het maaimes kan ernstig lichamelijk letsel veroorzaken.
Gebruik handschoenen als u het mes monteert.
Kantel de maaimachine op zijn zij met het luchtfilter naar boven.
Gebruik een blok hout om het mes stil te houden (Figuur 32).

Verwijder het mes en bewaar alle bevestigingselementen (Figuur 32).
Monteer het nieuwe mes en alle bevestigingselementen (Figuur 33).

Important: De gebogen uiteinden van het mes moeten naar de machine wijzen.
Gebruik een momentsleutel om de mesbout vast te draaien met 82 N·m.
Wanneer u een nieuwe kabel voor de zelfaandrijving monteert of de zelfaandrijving ontregeld is, moet u de zelfaandrijving afstellen.
Draai de stelmoer linksom om het afstelmechanisme van de kabel los te zetten (Figuur 34).


Stel de kabelspanning af (Figuur 34) door de kabel naar achteren of naar voren te bewegen en hem in deze positie te houden.
Note: Duw de kabel naar de motor om de tractie te verhogen; trek de kabel weg van de motor om de tractie te verkleinen.
Draai de stelmoer rechtsom om de afstelling van de kabel te borgen.
Note: Draai de moer stevig vast met een dopsleutel of een moersleutel.
Stal de maaimachine op een koele, schone, droge plaats.
Schakel altijd de machine uit, verwijder de elektrische startknop (indien de machine hiermee is uitgerust), wacht totdat alle bewegende onderdelen tot stilstand zijn gekomen en laat de machine afkoelen voordat u ze afstelt, schoonmaakt, stalt of er onderhoudswerkzaamheden aan verricht.
Voeg de laatste keer in het seizoen dat u brandstof toevoegt ook een stabilizer (zoals Toro Premium Fuel Treatment) toe volgens de voorschriften op het etiket.
U moet ongebruikte brandstof op de juiste wijze afvoeren. Voer deze brandstof af volgens de plaatselijk geldende voorschriften of gebruik deze voor uw auto.
Important: Oude brandstof in de tank is de belangrijkste oorzaak voor startproblemen. Bewaar brandstof zonder stabilizer niet langer dan 30 dagen; bewaar brandstof met stabilizer niet langer dan de periode die de fabrikant van de brandstofstabilizer aanbeveelt.
Laat de motor lopen totdat hij afslaat door gebrek aan brandstof.
Start de motor opnieuw en laat hem lopen totdat hij afslaat. Als de motor niet meer wil starten, is de brandstof voldoende verbruikt.
Maak de kabel los van de bougie en bevestig deze aan de steunstang (indien de machine hiermee is uitgerust) en verwijder de elektrische startknop (indien de machine hiermee is uitgerust).
Verwijder de bougie, giet 30 ml motorolie in de bougieopening en trek verschillende keren langzaam aan het startkoord om de olie over de cilinder te verspreiden teneinde corrosie in de stallingsperiode te voorkomen.
Monteer de bougie zonder deze vast te draaien.
Draai alle moeren, bouten en schroeven goed aan.
Alleen voor modellen met elektrisch startsysteem: Laad de accu gedurende 24 uur op, haal vervolgens de acculader uit het stopcontact en stal de machine in een onverwarmde ruimte. Als u de machine stalt in een verwarmde ruimte, moet u de accu om de 90 dagen opladen. Zie De accu opladen.
Alleen voor modellen met elektrisch startsysteem: Laad de accu gedurende 24 uur op; raadpleeg De accu opladen.
Controleer alle bevestigingen en draai deze vast.
Verwijder de bougies en laat de motor snel draaien door aan de handgreep van het startkoord te trekken om de overmatige olie uit de cilinder te verwijderen.
Plaats de bougie en draai hem met behulp van een momentsleutel vast met een torsie van 20 N·m.
Voer de onderhoudsprocedures uit; zie .
Controleer het oliepeil in de motor; zie Het motoroliepeil controleren.
Vul de brandstoftank met verse brandstof; zie Brandstoftank vullen.
Sluit de bougiekabel aan op de bougie.