| Underhållsintervall | Underhållsförfarande |
|---|---|
| Varje användning eller dagligen |
|
Denna gräsklippare av gåmodell med roterande knivar är avsedd att användas av privatkunder. Den är huvudsakligen konstruerad för att klippa gräs på väl underhållna gräsmattor runt bostäder. Det kan medföra fara för dig och kringstående om maskinen används i andra syften än vad som avsetts.
Läs denna information noga så att du lär dig att använda och underhålla produkten på rätt sätt, och för att undvika person- och produktskador. Du är ansvarig för att produkten används på ett korrekt och säkert sätt.
Besök www.Toro.com för mer information, inklusive säkerhetsråd, utbildningsmaterial, information om tillbehör, hjälp med att hitta en återförsäljare eller för att registrera din produkt.
Kontakta en auktoriserad återförsäljare eller Toros kundservice och ha produktens modell- och serienummer till hands om du har behov av service, Toro-originaldelar eller ytterligare information. Figur 1 visar var du finner produktens modell- och serienummer. Skriv in numren i det tomma utrymmet.
Important: Skanna rutkoden på serienummerdekalen (i förekommande fall) med en mobil enhet för att få tillgång till information om garanti, reservdelar och annat

I den här bruksanvisningen anges potentiella risker och alla säkerhetsmeddelanden har markerats med en varningssymbol (Figur 2), som anger fara som kan leda till allvarliga personskador eller dödsfall om föreskrifterna inte följs.

Två ord används också i den här bruksanvisningen för att markera information. Viktigt anger speciell teknisk information och Observera anger allmän information som är värd att notera.
Produkten uppfyller alla relevanta europeiska direktiv. Mer information finns i den separata produktspecifika försäkran om överensstämmelse.
Den bifogade bruksanvisningen till motorn tillhandahålls för information om den amerikanska miljömyndigheten EPA:s (US Environmental Protection Agency) och Kaliforniens lagstiftning om utsläppskontroll för utsläppssystem, underhåll och garanti. En extra bruksanvisning kan beställas från motortillverkaren.
Brutto- eller nettomoment: Motorns brutto- eller nettomoment verkstadsbedömdes av motortillverkaren i enlighet med SAE (Society of Automotive Engineers) J1940 eller J2723. Den här gräsklipparklassens faktiska motormoment kommer att vara avsevärt lägre då den är konfigurerad för att uppfylla säkerhetskrav, utsläppsföreskrifter och funktionella krav. Se motortillverkarens information som medföljer maskinen.
Säkerhetsmekanismerna får varken ändras eller inaktiveras och du bör regelbundet kontrollera att de fungerar som de ska. Försök inte att justera eller manipulera motorns hastighetsreglage. Det kan leda till ett farligt driftstillstånd, vilket kan ge upphov till personskador.
Maskinen har utformats i enlighet med specifikationerna i SS-EN ISO 5395.
Maskinen kan slita av händer och fötter och kasta omkring föremål. Följ alltid alla säkerhetsanvisningar för att undvika allvarliga personskador.
Läs, förstå och följ anvisningarna och varningarna som finns i den här bruksanvisningen samt på maskinen och redskapen innan du startar motorn.
Håll händer och fötter på avstånd från maskinens rörliga delar samt dess undersida. Håll avstånd till utkastaröppningen.
Kör endast maskinen om skydd och andra säkerhetsanordningar sitter på plats och fungerar.
Håll kringstående och barn borta från arbetsområdet. Låt inte barn använda maskinen. Maskinen ska endast användas av personer som är ansvariga, utbildade, införstådda med anvisningarna och fysiskt kapabla att använda maskinen.
Stanna maskinen, stäng av motorn avlägsna knappen till den elektriska startmotorn (endast modeller med elstart) och vänta tills alla rörliga delar har stannat innan du servar, tankar eller rensar maskinen.
Felaktigt bruk eller underhåll av maskinen kan leda till
personskador. För att minska risken för skador ska du alltid
följa säkerhetsanvisningarna och uppmärksamma varningssymbolen
(
). Symbolen
betyder Var försiktig, Varning eller Fara – anvisning om
personsäkerhet. Underlåtenhet att följa anvisningarna
kan leda till personskador eller dödsfall.
![]() |
Säkerhetsdekalerna och säkerhetsinstruktionerna är fullt synliga för föraren och finns nära alla potentiella farozoner. Ersätt dekaler som har skadats eller saknas. |






Endast modell med elstart

Important: Ta bort och släng skyddsplasten som täcker motorn samt all övrig plast eller emballage som finns på maskinen.
Important: Vänta med att sätta i knappen till den elektriska startmotorn i tändningslåset (i förekommande fall) tills du är redo att starta motorn, så att motorn inte startas oavsiktligt.
Important: Montera startsnöret i styrningen för att säkert och lätt starta motorn när du använder maskinen.

Important: Om oljenivån i motorn är för låg eller för hög kan motorn skadas när du kör den.


Endast modeller med elstart
Se Ladda batteriet.


| Modell | Vikt | Längd | Bredd | Höjd |
|---|---|---|---|---|
| 21762 | 36 kg | 151 cm | 59 cm | 109 cm |
| (80 lb) | (59 tum) | |||
| 21763 | 40 kg | 151 cm | 59 cm | 109 cm |
| (89 lb) |
Det finns ett urval av godkända Toro-redskap och -tillbehör som du kan använda för att förbättra och utöka maskinens kapacitet. Kontakta en auktoriserad återförsäljare eller auktoriserad Toro-distributör, eller gå till www.Toro.com för att se en lista över alla godkända redskap och tillbehör.
Använd endast originalreservdelar och tillbehör från Toro för att garantera optimal prestanda och fortlöpande säkerhet för produkten. Det kan vara farligt att använda reservdelar och tillbehör från andra tillverkare och det kan göra produktgarantin ogiltig.
Note: Vänster och höger sida på maskinen är lika med förarens vänstra respektive högra sida vid normal körning.
Stäng alltid av maskinen, avlägsna knappen till den elektriska startmotorn (i förekommande fall), vänta tills alla rörliga delar har stannat och låt maskinen svalna innan du justerar, rengör, utför underhåll på den eller ställer den i förvaring.
Lär dig hur man använder utrustningen på ett säkert sätt och bekanta dig med manöverorgan och säkerhetsskyltar.
Kontrollera att alla skydd och säkerhetsanordningar, såsom gräsriktare och/eller gräsuppsamlare, sitter på plats och fungerar korrekt.
Kontrollera alltid maskinen för att se om knivarna och knivbultarna är slitna eller skadade.
Inspektera området där maskinen ska användas och ta bort föremål som kan störa användningen av maskinen eller som maskinen kan slunga iväg.
Kontakt med den roterande kniven kan orsaka allvarliga skador. Stick inte in fingrarna under kåpan när du justerar klipphöjden.
Bränsle är extremt brandfarligt och mycket explosivt. Brand eller explosion i bränsle kan orsaka brännskador och materiella skador.
Förhindra att statisk elektricitet antänder bensinen genom att ställa bensindunken och/eller maskinen direkt på marken före påfyllning, inte i ett fordon eller ovanpå ett föremål.
Fyll tanken på en öppen plats, utomhus, när motorn är kall. Torka upp utspillt bränsle.
Hantera inte bränsle när du röker eller befinner dig i närheten av en öppen låga eller gnistor.
Ta inte bort tanklocket och fyll aldrig på bränsle i bränsletanken när motorn är igång eller varm.
Om du har spillt bränsle ska du inte starta motorn. Undvik att orsaka gnistor tills bränsleångorna har skingrats.
Förvara bränslet i en godkänd behållare och förvara behållaren utom räckhåll från barn.
Bränsle är skadligt eller dödligt om det förtärs. Längre exponering för bränsleångor kan orsaka allvarliga skador och sjukdom.
Undvik att andas in bränsleångor under en längre tid.
Håll händer och ansikte borta från munstycket och bränsletankens öppning.
Håll bränsle borta från ögon och hud.
Använd endast ren och färsk blyfri bensin med oktantal 87 eller högre för bästa resultat (klassificeringsmetod (R+M)/2).
Syresatta bränslen med upp till 10 % etanol eller 15 % MTBE baserat på volym är godkända.
Använd inte etanol-bensinblandningar (t.ex. E15 eller E85) som innehåller mer än 10 % etanol baserat på volym. Det kan leda till prestandaproblem och/eller skador på motorn, vilka eventuellt inte omfattas av garantin.
Använd inte bensin som innehåller metanol.
Förvara inte bränsle i bränsletanken eller i en bränslebehållare under vintern om inte stabiliserare har tillsatts till bränslet.
Tillför inte olja i bensinen.
Fyll bränsletanken med färsk, blyfri regularbensin från en bensinmack som ingår i en av de större kedjorna (Figur 9).
Important: För att minska risken för startproblem tillsätter du bränslestabiliserare/konditionerare till färskt bränsle i enlighet med tillverkarens anvisningar.
Du hittar mer information finns i motorns bruksanvisning.

| Underhållsintervall | Underhållsförfarande |
|---|---|
| Varje användning eller dagligen |
|
Important: Om oljenivån i vevhuset är för låg eller för hög kan motorn skadas om du kör den.


Du kan höja eller sänka handtaget till två olika lägen beroende på vad som är bekvämast för dig (Figur 11).

Avlägsna båda handtagsreglagen.
För handtaget till önskat höjdläge.
Fäst handtaget med handtagsrattarna du tog bort tidigare.
Om motorn har varit igång kan ljuddämparen vara het och orsaka brännskador.
Håll avstånd till den heta ljuddämparen.
Justera klipphöjden. Ställ in alla hjulen till samma klipphöjd (Figur 12).


Använd lämpliga kläder, inklusive ögonskydd, långbyxor, rejäla och halkfria skor samt hörselskydd. Sätt upp långt hår och använd inte hängande smycken eller löst sittande kläder.
Håll koncentrationen helt på maskinen när du använder den. Delta inte i aktiviteter som kan distrahera dig, eftersom personskador eller materiella skador då kan uppstå.
Kör inte maskinen om du är sjuk, trött eller påverkad av alkohol eller läkemedel.
Kniven är skarp – kontakt med kniven kan orsaka allvarliga personskador. Stäng av motorn, avlägsna knappen till den elektriska startmotorn (endast modeller med elstart) och vänta tills alla rörliga delar har stannat innan du lämnar förarplatsen.
Motorn ska stängas av och kniven ska stanna inom tre sekunder när du släpper knivstyrstången. Om de inte stannar ska du genast sluta använda maskinen och kontakta en auktoriserad återförsäljare.
Håll kringstående på säkert avstånd från arbetsområdet. Håll små barn på säkert avstånd från arbetsområdet och under uppsyn av den ansvarade vuxna personen som inte använder maskinen. Stäng av maskinen om någon kommer i närheten av klippområdet.
Titta alltid nedåt och bakom dig innan du kör maskinen bakåt.
Använd endast maskinen när sikten och väderförhållandena är goda. Använd inte maskinen när det finns risk för blixtnedslag.
Vått gräs och våta löv kan orsaka allvarliga skador om du halkar och rör vid kniven. Undvik att klippa under våta förhållanden.
Var extra försiktig i närheten av skymda hörn, buskage, träd eller andra föremål som kan försämra sikten.
Rikta inte utkastaren mot andra människor. Undvik att kasta ut material mot väggar och föremål. Materialet kan kastas tillbaka mot dig. Stanna kniven eller knivarna när du korsar grusytor.
Se upp för hål, rötter, ojämnheter, stenar och andra dolda risker. Ojämn terräng kan få dig att tappa balansen eller fotfästet.
Om du kör på något föremål eller om maskinen börjar vibrera ska du omedelbart stänga av motorn, avlägsna knappen till den elektriska startmotorn (i förekommande fall), vänta tills alla rörliga delar har stannat och ta bort tändkabeln från tändstiftet innan du kontrollerar om maskinen har skadats. Reparera alla skador innan du börjar köra maskinen igen.
Stäng av motorn, avlägsna knappen till den elektriska startmotorn (endast modeller med elstart) och vänta tills alla rörliga delar har stannat innan du lämnar förarplatsen.
Om motorn har varit igång kommer den att vara het och kan orsaka brännskador. Håll avstånd till den heta motorn.
Kör endast motorn i välventilerade utrymmen. Avgaser innehåller koloxid, vilket är dödligt om det andas in.
Kontrollera ofta om gräsutkastarens komponenter och utkastarrännan är slitna eller skadade och byt vid behov ut dem mot äkta Toro-originaldelar.
Klipp alltid tvärgående över sluttningar, aldrig upp och ner. Var mycket försiktig när du svänger i sluttningar.
Klipp inte i väldigt branta sluttningar. Dåligt fotfäste kan göra att du halkar och faller.
Var försiktig när du klipper i närheten av stup, diken och flodbäddar.
Starta motorn med knappen till den elektriska startmotorn (i förekommande fall) eller med startsnörehandtaget.
Håll knivstyrstången mot handtaget (A i Figur 13).
Om knappen till den elektriska startmotorn har avlägsnats ska du sätta i den i den elektriska startmotorn (B i Figur 13).
Håll in knappen till den elektriska startmotorn tills motorn startar (C i Figur 13).
Note: Kontakta en auktoriserad återförsäljare om maskinen fortfarande inte startar efter flera försök.


Håll knivstyrstången mot handtaget (A i Figur 14).
Dra i startsnörehandtaget (B i Figur 14).
Note: Dra lätt i starthandtaget tills du känner motstånd och dra sedan kraftigt. Låt snöret sakta gå tillbaka till handtaget.
Note: Kontakta en auktoriserad återförsäljare om maskinen fortfarande inte startar efter flera försök.


När du ska köra med drivning går du helt enkelt rakt fram med händerna på det övre handtaget och armbågarna längs sidorna. Maskinen håller automatiskt samma tempo som du (Figur 15).

Note: Om maskinen inte rullar bakåt av sig själv efter självdrivning stannar du, håller händerna stilla och låter maskinen rulla några centimeter framåt så att drivhjulet kopplas ur. Du kan även försöka att sträcka in handen till metallhandtaget precis under det övre handtaget och skjuta maskinen några centimeter framåt. Om maskinen fortfarande inte rullar bakåt med lätthet kontaktar du en auktoriserad återförsäljare.
| Underhållsintervall | Underhållsförfarande |
|---|---|
| Varje användning eller dagligen |
|
Stäng av motorn genom att släppa knivstyrstången.
Note: Ta i förekommande fall bort knappen till den elektriska startmotorn varje gång du lämnar maskinen.
Important: Motorn ska stängas av och kniven ska stanna inom tre sekunder när du släpper knivstyrstången. Om de inte stannar slutar du genast att använda maskinen och kontaktar en auktoriserad återförsäljare.
Din gräsklippare levereras färdig för att kunna återvinna gräs och lövklipp tillbaka ned i gräsmattan.
Om gräsuppsamlaren är monterad på maskinen och snabbutlösarspaken är i uppsamlingsläget ska du flytta spaken till återvinningsläget. Se Använda uppsamlingspåsens snabbutlösarspak. Ta bort sidoutkastarriktaren om den är monterad på maskinen. Se Ta bort sidoutkastarriktaren.
Använd gräsuppsamlaren när du vill samla upp gräs- och lövklipp från gräsmattan.
Ta bort sidoutkastaren om den sitter på maskinen. Se Ta bort sidoutkastarriktaren. Om uppsamlingspåsens snabbutlösarspak är i återvinningsläget ska du flytta den till uppsamlingsläget. Se Använda uppsamlingspåsens snabbutlösarspak.
Utför stegen i avsnittet Montera gräsuppsamlaren i omvänd ordning för att ta bort uppsamlaren.
Med hjälp av snabbutlösningsfunktionen kan du antingen samla upp eller återvinna gräs- och lövklipp medan gräsuppsamlaren är monterad på maskinen.
Om du vill samla upp gräs- och lövklipp trycker du på knappen på uppsamlingspåsens snabbutlösarspak och för spaken framåt tills knappen på spaken hoppar upp (Figur 17).

Om du vill återvinna eller fördela gräs- och lövklippet åt sidan trycker du på knappen på spaken och för spaken bakåt tills knappen på spaken hoppar upp.
Important: För korrekt drift måste du stänga av motorn, vänta tills alla rörliga delar har stannat och sedan ta bort gräsklipp och skräp på utlösningsluckan och den omgivande öppningen (Figur 18) innan du flyttar snabbutlösarspaken från ett läge till ett annat.

Använd sidoutkastaren när du klipper mycket högt gräs.
Om gräsuppsamlaren är monterad på maskinen och snabbutlösarspaken är i uppsamlingsläget ska du flytta spaken till återvinningsläget. Se Använda uppsamlingspåsens snabbutlösarspak.
Lossa och lyft upp sidoriktaren och montera sidoutkastaren (Figur 19).

Om du vill ta bort sidoutkastaren lyfter du upp sidoriktaren, tar bort sidoutkastaren och sänker ned sidoutkastarriktaren tills den spärras fast.
Inspektera området där maskinen ska användas och ta bort föremål som maskinen kan slunga omkring.
Undvik att låta kniven gå emot massiva objekt. Kör aldrig avsiktligt över ett föremål.
Stäng omedelbart av motorn om du kör på något föremål eller om maskinen börjar vibrera. Lossa tändkabeln från tändstiftet, ta i förekommande fall bort knappen till den elektriska startmotorn och kontrollera noga om maskinen har skadats.
Montera en ny kniv när klippsäsongen börjar för att garanterat få bästa resultat.
Byt efter behov ut kniven mot en Toro-originalkniv.
Klipp endast cirka en tredjedel av grässtrået åt gången. Klipp inte med en inställning som är lägre än 51 mm, såvida inte gräset är glest eller det är sent på hösten då gräset växer långsammare.
Om du klipper gräs som är mer än 15 cm högt kan det vara bra att först klippa med den högsta klipphöjdsinställningen och gå sakta, och sedan klippa en gång till med en lägre klipphöjd för att få bästa klippresultat. Om gräset är för högt kan klipparen täppas igen och det kan leda till motorstopp.
Vått gräs och våta löv har en tendens att klumpas ihop på marken, vilket kan leda till motorstopp eller till att klipparen täpps igen. Undvik att klippa under våta förhållanden.
Tänk på brandfaran vid mycket torra förhållanden, följ alla lokala brandvarningar och håll maskinen ren från torrt gräs och löv.
Byta klippriktning. Det underlättar fördelningen av det klippta gräset vilket ger en jämn gödning.
Försök med en eller flera av åtgärderna nedan om du inte är nöjd med klippresultatet:
Byt ut kniven eller låt slipa den.
Gå saktare när du klipper.
Höj gräsklipparens klipphöjdsinställning.
Klipp gräset oftare.
Överlappa klippsvepningarna istället för att klippa en hel svepning varje gång.
Efter avslutad klippning bör halva gräsmattan synas genom täcket av sönderskurna löv. Det kan vara nödvändigt att gå över löven mer än en gång.
Om lövtäcket på gräsmattan är högre än 13 cm klipper du först på en högre klipphöjd och sedan igen på önskad klipphöjd.
Sänk klipphastigheten om gräsklipparen inte skär löven tillräckligt fint.
Stäng alltid av maskinen, avlägsna knappen till den elektriska startmotorn (i förekommande fall), vänta tills alla rörliga delar har stannat och låt maskinen svalna innan du justerar, rengör, utför underhåll på den eller ställer den i förvaring.
Ta bort gräs och skräp från maskinen för att förebygga brand. Torka upp eventuellt olje- eller bränslespill.
Förvara aldrig maskinen eller bränslebehållaren i närheten av en öppen låga, gnista eller ett kontrolljus, t.ex. nära en varmvattenberedare eller någon annan anordning.
Ta i förekommande fall bort knappen till den elektriska startmotorn innan maskinen ska transporteras.
Var försiktig när du lastar på eller av maskinen.
Se till att maskinen inte kan rulla.
| Underhållsintervall | Underhållsförfarande |
|---|---|
| Varje användning eller dagligen |
|
För bästa resultat bör du rengöra maskinen så snart som möjligt när du har slutat att klippa.
Flytta maskinen till ett plant, stenbelagt underlag.
Stäng av motorn och vänta tills alla rörliga delar har stannat innan du lämnar förarsätet.
Sänk ned maskinen till den lägsta klipphöjdsinställningen. Se Justera klipphöjden.
Skölj området under den bakre luckan där klippet går från maskinens undersida till gräsuppsamlaren.
Note: Skölj området med snabbutlösarspaken (om så utrustad) både i läget fullt framåt och fullt bakåt.
Anslut en trädgårdsslang, som är ansluten till en vattenkälla, till tvättanslutningen (Figur 20).

Vrid på vattnet.
Starta motorn och låt den gå tills det inte längre kommer ut något gräsklipp från undersidan av maskinen.
Stäng av motorn.
Stäng av vattnet och koppla bort trädgårdsslangen från maskinen.
Kör motorn i några minuter för att låta undersidan av maskinen torka så att den inte rostar.
Stäng av motorn, avlägsna knappen till den elektriska startmotorn (i förekommande fall) och låt maskinen svalna innan den ställs undan i ett slutet utrymme.
Om du fäller upp eller ned handtaget på fel sätt kan detta skada kablar och leda till ett farligt driftstillstånd.
Skada inte kablarna när du fäller upp och ned handtaget.
Kontakta en auktoriserad återförsäljare om en kabel skadas.
Avlägsna knappen till den elektriska startmotorn (i förekommande fall). Se Figur 21.

Ta bort och spara de två handtagsreglagen och vagnsskruvarna från handtagsfästena (Figur 22).
Important: Dra kablarna på utsidan av handtagsreglagen när du fäller ihop handtaget.

Fäll ned handtaget genom att vrida det framåt (Figur 23).

För in vagnsskruven (med skruvhuvudet vänt inåt) genom handtagsfästet och in i det övre hålet på handtagsänden. Se till att de fyrkantiga ändarna på vagnsskruvarna passar in i det övre eller nedre fyrkantiga hålet i motsvarande handtagsfäste (Figur 24).

Montera handtagsreglagen och vagnsskruvarna löst på handtagsfästena.
Se Montera och fälla upp handtaget för anvisningar om hur du fäller upp handtaget.
| Underhållsintervall | Underhållsförfarande |
|---|---|
| Varje användning eller dagligen |
|
| Var 25:e timme |
|
| Årligen |
|
| Årligen eller före förvaring |
|
Important: Ytterligare information om underhållsrutiner finns i bruksanvisningen till motorn.
Lossa tändkabeln från tändstiftet och avlägsna knappen till den elektriska startmotorn innan du utför något underhåll.
Använd handskar och ögonskydd när du servar maskinen.
Kniven är skarp – kontakt med kniven kan orsaka allvarliga personskador. Använd handskar när du servar kniven. Reparera eller ändra inte kniven/knivarna.
Mixtra aldrig med säkerhetsbrytarna. Kontrollera regelbundet att de fungerar som de ska.
Bränslet kan läcka ut när man tippar maskinen. Bränslet är brandfarligt, explosivt och kan orsaka personskador. Kör motorn tills tanken är tom eller töm tanken på bensin med en handpump; sug aldrig ut med en hävert.
Använd endast Toros originalreservdelar och tillbehör för att se till att maskinen fungerar säkert och optimalt. Det kan vara farligt att använda reservdelar och tillbehör från andra tillverkare och det kan göra produktgarantin ogiltig.
Stäng av motorn, ta i förekommande fall bort knappen till den elektriska startmotorn och vänta tills alla rörliga delar har stannat.
Lossa tändkabeln från tändstiftet (Figur 25).

Anslut tändkabeln till tändstiftet efter att du utfört underhåll.
Important: Kör motorn som vanligt tills bränsletanken är tom innan du tippar maskinen för att byta olja eller kniv. Använd en handpump för att avlägsna bränslet om du måste tippa maskinen innan bränslet har tagit slut. Tippa alltid maskinen på sidan med oljestickan nedåt.
| Underhållsintervall | Underhållsförfarande |
|---|---|
| Var 25:e timme |
|
| Årligen |
|
Öppna klämman överst på luftfilterkåpan (Figur 26).

Ta bort luftfiltret (Figur 26).
Kontrollera luftfiltret.
Note: Byt ut filtret mot ett nytt om det är mycket smutsigt. Annars kan du knacka filtret försiktigt mot en hård yta för att lossa på skräpet.
Sätt tillbaka luftfiltret.
Montera luftfilterkåpan med hjälp av klämman.
| Underhållsintervall | Underhållsförfarande |
|---|---|
| Årligen |
|
Det är inte ett krav att byta motorolja, men om du vill byta den ska du följa nedanstående anvisningar.
Note: Kör motorn i några minuter före oljebytet för att värma oljan. Varm olja rinner lättare och för med sig mer föroreningar.
| Motoroljevolym | 0,44 liter* |
| Oljeviskositet | SAE 30 eller SAE 10W-30 (renande olja) |
| API-klassificering | SJ eller högre |
*Det finns överskottsolja i vevhuset efter att du tömt ut oljan. Häll inte i fullt med olja i vevhuset. Fyll vevhuset med olja enligt anvisningarna i följande steg.
Flytta maskinen till ett plant underlag.
Lossa oljestickan genom att vrida locket moturs och dra stickan uppåt (Figur 27).


Tippa maskinen på sidan (med luftfiltret uppåt) för att tömma ut den gamla oljan från påfyllningsröret (Figur 28).

När du har tömt ur oljan återställer du maskinen till arbetsläget.
Fyll långsamt oljepåfyllningsröret med cirka tre fjärdedelar av den olja som ryms i motorn.
Vänta i tre minuter tills oljan har lagt sig i motorn.
Torka av oljestickan med en ren trasa.
Sätt oljestickan i oljepåfyllningsröret och ta sedan ut den.
Läs av oljenivån på oljestickan (Figur 27).
Om oljestickan visar att oljenivån är för låg fyller du försiktigt på lite olja i påfyllningsröret, väntar i tre minuter och upprepar steg 8 till 10 tills oljestickan visar korrekt nivå.
Om oljestickan visar att oljenivån är för hög tappar du ut överflödig olja tills oljestickan visar korrekt nivå.
Important: Om oljenivån i motorn är för låg eller för hög kan motorn skadas när du kör den.
Sätt tillbaka oljestickan i påfyllningsröret ordentligt.
Lämna in oljan på godkänd återvinningsstation.
| Underhållsintervall | Underhållsförfarande |
|---|---|
| Var 25:e timme |
|
Ladda batteriet i 24 timmar den första gången och därefter en gång per månad (efter var 25:e start) eller vid behov. Använd alltid laddaren i ett skyddat utrymme och ladda batteriet i rumstemperatur (22 °C) om möjligt.
Anslut laddaren till kablaget nedanför knappen till den elektriska startmotorn (Figur 29).

Sätt i laddaren i ett vägguttag.
Note: När blybatteriet inte längre går att ladda ska det återvinnas eller kasseras enligt lokala bestämmelser.
Note: Batteriladdaren har eventuellt lysdioder i två färger som anger följande laddningsstatus:
Rött visar att laddaren håller på att ladda batteriet.
Grönt visar att laddaren är fulladdad eller att den har kopplats bort från batteriet.
En blinkande lampa som växlar mellan rött och grönt visar att batteriet är nästan fulladdat. Det läget visas bara i några minuter tills batteriet är fulladdat.
Om batteriet inte laddar eller motorn inte fungerar med den elektriska startmotorn kan säkringen ha gått. Byt ut den mot en 40 A-instickssäkring.
Höj och håll upp den bakre gräsriktaren och leta upp batterifacket (Figur 30).

Torka bort all smuts från området omkring batterifacket.
Ta bort den skruv som håller fast batterifacket, dra ut batteriet och leta reda på säkringen (Figur 31).

Byt säkringen i hållaren (Figur 31).
Note: Maskinen levereras med en reservsäkring i batterifacket.
Montera batterifacket med den skruv som du tog bort i steg 3.
Montera kåpan över batterifacket.
Sänk ned den bakre gräsriktaren igen.
| Underhållsintervall | Underhållsförfarande |
|---|---|
| Årligen |
|
Important: För att montera kniven korrekt behöver du en momentnyckel. Om du inte har någon momentnyckel eller inte vill utföra den här proceduren kontaktar du en auktoriserad återförsäljare.
Kontrollera kniven varje gång bränslet tar slut. Byt omedelbart ut kniven om den är skadad eller sönder. Byt ut kniven eller låt slipa och balansera den om bladet är slött eller repigt.
Kniven är skarp – kontakt med kniven kan orsaka allvarliga personskador.
Använd handskar då du handskas med kniven.
Lägg klipparen på sidan med luftfiltret uppåt.
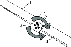
Håll kniven stilla med hjälp av en träkloss (Figur 32).

Ta bort kniven och spara alla monteringsdelar (Figur 32).
Sätt fast den nya kniven och alla monteringsdelar (Figur 33).

Important: Låt knivens böjda del peka mot klipparkåpan.
Använd en momentnyckel för att dra åt knivskruven till 82 Nm.
Om du monterar en ny drivkabel eller om självdrivningen inte är korrekt inställd ska du justera den.
Vrid justeringsmuttern moturs för att lossa kabeljusteringen (Figur 34).


Justera kabelspänningen (Figur 34) genom att dra den tillbaka eller trycka den framåt och sedan hålla den i det läget.
Note: Tryck kabeln mot motorn för att öka drivkraften och dra kabeln bort från motorn för att minska drivkraften.
Vrid justeringsmuttern medurs för att dra åt kabeljusteringen.
Note: Dra åt muttern ordentligt med en hylsa eller skiftnyckel.
Förvara maskinen i ett svalt, rent och torrt utrymme.
Stäng alltid av maskinen, avlägsna knappen till den elektriska startmotorn (i förekommande fall), vänta tills alla rörliga delar har stannat och låt maskinen svalna innan du justerar, rengör, utför underhåll på den eller ställer den i förvaring.
När du ska fylla på bränsle för sista gången på året ska du tillsätta en stabiliserare (t.ex. Toro Premium Fuel Treatment) i bränslet.
Kassera oanvänt bränsle på lämpligt sätt. Lämna in bränslespill till återvinning eller använd det i bilen.
Important: Gammalt bränsle i bränsletanken är den vanligaste orsaken till att det är svårt att starta gräsklipparen. Förvara inte bränslet utan en bränslestabiliserare i mer än 30 dagar, och förvara inte stabiliserat bränsle under en längre tid än vad som rekommenderas av bränslestabiliserarens tillverkare.
Kör maskinen tills motorn stängs av på grund av bränslestopp.
Starta motorn igen och kör tills den stängs av. När du inte kan starta motorn längre är den tillräckligt torr.
Lossa tändkabeln från tändstiftet och anslut kabeln till kabelhållaren (i förekommande fall) och ta bort knappen till den elektriska startmotorn (i förekommande fall).
Ta bort tändstiftet, tillsätt 30 ml motorolja genom tändstiftshålet och dra sakta i startsnöret flera gånger för att fördela oljan i cylindern. Detta förhindrar att cylindern rostar när maskinen inte används.
Montera tändstiftet löst.
Dra åt alla muttrar, bultar och skruvar.
Endast modeller med elstart: Ladda batteriet i 24 timmar, koppla sedan ur batteriladdaren och förvara maskinen i ett ouppvärmt utrymme. Om du måste förvara maskinen i ett uppvärmt utrymme måste du ladda batteriet var 90:e dag. Se Ladda batteriet.
Endast modeller med elstart: Ladda batteriet i 24 timmar, se Ladda batteriet.
Kontrollera och dra åt alla fästelement.
Ta bort tändstiftet och dra runt motorn hastigt genom att dra i startsnörets handtag för att blåsa bort överflödig olja från cylindern.
Montera tändstiftet och dra åt det med en momentnyckel till 20 Nm.
Utför tillämpligt underhåll. Se .
Kontrollera motoroljenivån. Se Kontrollera oljenivån i motorn.
Fyll på färsk bensin i bränsletanken enligt Fylla på bränsletanken.
Anslut tändkabeln till tändstiftet.