| Периодичность технического обслуживания | Порядок технического обслуживания |
|---|---|
| Перед каждым использованием или ежедневно |
|
Данная самоходная газонокосилка с вращающимся ножом и с пешеходным управлением предназначена для использования в личном хозяйстве. Данная машина предназначена главным образом для регулярного скашивания травы на благоустроенных территориях жилых или коммерческих объектов. Использование этого изделия не по прямому назначению может быть опасным для пользователя и находящихся рядом людей.
Внимательно прочтите данное Руководство, чтобы знать, как правильно использовать и обслуживать машину, не допуская ее повреждения и травмирования персонала. Вы несете ответственность за правильное и безопасное использование машины.
Посетите www.Toro.com для получения дополнительной информации, в том числе рекомендаций по технике безопасности, обучающих материалов, информации о вспомогательных приспособлениях, для помощи в поисках дилера или для регистрации изделия.
Для выполнения технического обслуживания, приобретения оригинальных запчастей Toro или получения дополнительной информации обращайтесь в сервисный центр официального дилера или в отдел технического обслуживания компании Toro. Не забудьте при этом указать модель и серийный номер изделия. На Рисунок 1 показано расположение номера модели и серийного номера. Запишите номера в предусмотренном для этого месте.
Important: С помощью мобильного устройства вы можете отсканировать QR-код на табличке с серийным номером (при наличии), чтобы получить доступ к информации по гарантии, запчастям и другим сведениям об изделии

В настоящем руководстве приведены потенциальные опасности и рекомендации по их предотвращению, обозначенные символом (Рисунок 2), который предупреждает об опасности серьезного травмирования или гибели в случае несоблюдения пользователем рекомендуемых мер безопасности.

Для выделения информации в данном руководстве используются два слова. Внимание — привлекает внимание к специальной информации, относящейся к механической части машины, и Примечание — выделяет общую информацию, требующую специального внимания.
Данное изделие удовлетворяет всем соответствующим европейским директивам; подробные сведения содержатся в документе «Декларация соответствия» на каждое отдельное изделие.
Прилагаемое Руководство владельца двигателя содержит информацию о требованиях Агентства по охране окружающей среды США (EPA) и (или) Директивы по контролю вредных выбросов штата Калифорния, касающихся систем выхлопа, технического обслуживания и гарантии. Детали для замены можно заказать, обратившись в компанию-изготовитель двигателя.
Максимальный полезный крутящий момент (нетто): максимальный полезный крутящий момент (нетто) данного двигателя установлен в лабораторных условиях производителем двигателя в соответствии с требованиями J1940 или J2723 Сообщества автомобильных инженеров (SAE). Так как конфигурация двигателя была изменена для удовлетворения требований по безопасности, составу выхлопа и эксплуатации, фактический крутящий момент двигателя газонокосилки этого класса будет значительно ниже. См. информацию производителя двигателя, прилагаемую к машине.
Никогда не изменяйте конструкцию защитных устройств на машине и не отключайте их. Регулярно проверяйте исправность работы таких устройств. Не пытайтесь регулировать орган управления частотой вращения двигателя или вмешиваться в его работу; такие действия могут привести к возникновению опасной ситуации и, как следствие, к получению травмы.
Данная машина была спроектирована согласно требованиям стандарта EN ISO 5395.
Данное изделие может привести к травматической ампутации конечностей, а также к травмированию отброшенными предметами. Во избежание тяжелых травм всегда соблюдайте все правила техники безопасности.
Перед запуском двигателя прочтите, изучите и выполните все указания и предупреждения, которые имеются в Руководстве оператора, на машине и навесном оборудовании.
Не располагайте руки и ноги рядом с движущимися деталями или под машиной. Держитесь на достаточном расстоянии от всех отверстий выброса.
Не эксплуатируйте данную машину без установленных на ней исправных ограждений и других защитных устройств.
Запрещается допускать посторонних лиц и детей в рабочую зону. Запрещается допускать детей к эксплуатации машины. К эксплуатации данной машины разрешается допускать только ответственных, обученных лиц, знающих инструкции и физически способных управлять машиной.
Перед техническим обслуживанием, заправкой топливом или очисткой машины остановите машину, заглушите двигатель, снимите кнопку электрического запуска (на моделях с электрическим запуском) и дождитесь остановки всех движущихся частей машины.
Нарушение правил
эксплуатации или
технического обслуживания
машины может привести
к травме. Чтобы
снизить вероятность
травмирования,
выполняйте правила
техники безопасности
и всегда обращайте
внимание на символы,
предупреждающие
об опасности (
, которые
имеют следующее
значение: «Осторожно!»,
«Предупреждение!»
или «Опасно!» —
указания по обеспечению
личной безопасности.
Несоблюдение данных
инструкций может
стать причиной
травмы или гибели.
![]() |
Предупреждающие наклейки и инструкции по технике безопасности должны быть хорошо видны оператору и установлены во всех местах потенциальной опасности. Если наклейка отсутствует или повреждена, установите новую наклейку. |






Только для моделей с электрическим запуском

Important: Снимите с машины и удалите в отходы защитную пленку, покрывающую двигатель, а также остальную упаковку.
Important: Для предотвращения случайного запуска не вставляйте кнопку электрического стартера в замок зажигания электрического стартера (при наличии), пока не будете готовы запустить двигатель.
Note: Убедитесь в том, что кабели проведены с наружной стороны рукоятки и не были зажаты (вид D на Рисунок 3).


Important: Чтобы безопасно и легко запускать двигатель при эксплуатации машины, установите шнур механического стартера в направляющую.

Important: Слишком низкий или высокий уровень масла в картере может привести к повреждению двигателя во время запуска.


Только для модели с электрическим запуском


| Модель | Масса | Длина | Ширина | Высота |
|---|---|---|---|---|
| 21762 | 36 кг | 151 см | 59 см | 109 см |
| (80 фунтов) | (59 дюйма) | (43 дюйма) | ||
| 21763 | 40 кг | 151 см | 59 см | 109 см |
| (89 фунтов) | (59 дюймов) |
Для улучшения и расширения возможностей машины можно использовать ряд утвержденных компанией Toro вспомогательных приспособлений и навесных орудий. Обратитесь в сервисный центр официального дилера или дистрибьютора или посетите сайт www.Toro.com, на котором приведен список всех утвержденных навесных орудий и вспомогательных приспособлений.
Для поддержания оптимальных рабочих характеристик машины и регулярного прохождения сертификации безопасности всегда приобретайте только оригинальные запасные части и приспособления компании Toro. Использование запасных частей и приспособлений, изготовленных другими производителями, может быть опасным и привести к аннулированию гарантии на изделие.
Note: Определите левую и правую стороны машины относительно места оператора.
Перед началом регулировки, технического обслуживания, очисткой или постановкой на хранение всегда выключайте машину, вынимайте кнопку электрического запуска (при наличии), дожидайтесь остановки всех движущихся частей и давайте машине остыть.
Ознакомьтесь с приемами безопасной эксплуатации оборудования, органами управления и знаками безопасности.
Убедитесь в том, что все кожухи и защитные устройства, такие как отражатели и (или) травосборник, находятся на своих местах и правильно работают.
Регулярно осматривайте машину на наличие износа или повреждений ножей и болтов ножей.
Осмотрите участок, где будет использоваться машина, и удалите все посторонние предметы, которые могут мешать при работе машины или которые могут быть отброшены машиной.
Контакт с движущимся ножом может привести к серьезной травме. Следите, чтобы при регулировке высоты скашивания пальцы не оказались под корпусом.
Топливо является легковоспламеняющейся и крайне взрывоопасной жидкостью. Возгорание или взрыв топлива могут вызвать ожоги и повреждение имущества.
Чтобы предотвратить воспламенение топлива разрядом статического электричества, перед заправкой устанавливайте емкость с топливом и(или) машину непосредственно на землю, а не на транспортное средство или другой объект.
Заправку топливного бака производите вне помещения, на открытом месте, после полного остывания двигателя. Сразу же вытирайте пролитое топливо.
Не курите при заправке и не заправляйте машину вблизи источников огня или искрения.
Не снимайте крышку топливного бака и не доливайте топливо в бак при работающем или горячем двигателе.
В случае пролива топлива не пытайтесь запустить двигатель. Не допускайте создания источника возгорания, пока пары топлива не испарятся.
Храните топливо в штатной емкости в месте, недоступном для детей.
Проглатывание топлива вызывает тяжелые отравления, в том числе со смертельным исходом. Продолжительное воздействие паров топлива может привести к тяжелой травме или заболеванию.
Не вдыхать пары топлива.
Не приближайте лицо и руки к патрубку и отверстию топливного бака.
Не допускайте попадания топлива в глаза и на кожу.
Для наилучших результатов используйте только чистый, свежий, неэтилированный бензин с октановым числом 87 или выше (метод оценки (R+M)/2).
Приемлемыми считаются кислородосодержащие виды топлива, в состав которых входит до 10% спирта или 15% метил-трет-бутилового эфира (MTBE) по объему.
Не используйте смеси этанола с бензином (такие как E15 или E85) с содержанием более 10% этанола по объему. Это может привести к нарушениям эксплуатационных характеристик и/или повреждениям двигателя, которые не будут покрываться гарантией.
Запрещается использовать бензин, содержащий метанол.
Запрещается хранить топливо в топливных баках или контейнерах на протяжении всей зимы без добавления стабилизирующей присадки.
Не добавляйте масло в бензин.
Заправляйте топливный бак чистым стандартным бензином, не содержащим тетраэтилсвинца, используя заправочную станцию заслуживающего доверия поставщика горючего (Рисунок 9).
Important: Для улучшения запуска добавьте стабилизирующую/кондиционирующую присадку в свежее топливо, следуя указаниям изготовителя стабилизирующей присадки.
См. дополнительную информацию в руководстве владельца двигателя для вашей машины.

| Периодичность технического обслуживания | Порядок технического обслуживания |
|---|---|
| Перед каждым использованием или ежедневно |
|
Important: Слишком низкий или высокий уровень масла в картере может привести к повреждению двигателя во время запуска.


Рукоятку можно поднять или опустить в одно из двух положений, которое будет наиболее удобным для вас (Рисунок 11).

Снимите обе ручки с рукоятки.
Переведите рукоятку в необходимое вертикальное положение.
Закрепите рукоятку ранее снятыми ручками рукоятки.
Если двигатель работал, глушитель может быть горячим и вызвать ожоги
Держитесь на достаточном расстоянии от горячего глушителя.
Установите требуемую высоту скашивания. Установите все колеса на одинаковую высоту скашивания (Рисунок 12).


Используйте подходящую одежду, включая защитные очки, длинные брюки, нескользящую прочную обувь и средства защиты органов слуха. Закрепляйте длинные волосы на затылке и не носите свободную одежду или ювелирные украшения.
При работе на данной машине следует быть предельно внимательным. Во избежание травмирования людей или повреждения имущества запрещается отвлекаться во время работы.
Запрещается управлять машиной в состоянии болезни, усталости, а также под воздействием алкоголя или сильнодействующих лекарственных препаратов.
Прикосновение к острозаточенному ножу может привести к получению серьезной травмы. Прежде чем покинуть рабочее место, выключите двигатель, снимите кнопку электрического запуска (только для модели с электрическим запуском) и дождитесь остановки всех движущихся частей машины.
После отпускания штанги управления ножом двигатель должен выключиться, а нож должен остановиться в течение 3 секунд. В противном случае незамедлительно прекратите эксплуатацию машины и свяжитесь с официальным дилером по техническому обслуживанию.
Не допускайте посторонних лиц в рабочую зону. Следите за тем, чтобы маленькие дети находились за пределами рабочей зоны и под внимательным наблюдением ответственного взрослого человека, который не управляет в данный момент машиной. Останавливайте машину, когда кто-либо входит в рабочую зону.
Всегда осматривайте зону внизу и позади себя, прежде чем перемещать машину задним ходом.
Эксплуатируйте машину только при наличии хорошего обзора и в подходящих погодных условиях. Запрещается работать на машине, если существует вероятность удара молнией.
При эксплуатации машины на влажной траве или листьях можно поскользнуться и получить серьезную травму при контакте с ножом газонокосилки. Не косите в условиях повышенной влажности.
Будьте осторожны, приближаясь к закрытым поворотам, деревьям, кустарнику, или к другим объектам, которые могут ухудшать обзор.
Не направляйте выбрасываемый материал в чью-либо сторону. Следите, чтобы отбрасываемый материал не попадал в стену или другое препятствие, поскольку он может отскочить рикошетом в вашу сторону. Остановите нож(ножи) при пересечении гравийных покрытий.
Остерегайтесь ям, выбоин, ухабов, камней и других скрытых препятствий. Работа на неровной поверхности может привести к потере равновесия или устойчивого положения ног оператора.
Если произошел удар машины о какой-либо предмет или машина начала вибрировать, немедленно заглушите двигатель, извлеките кнопку электрического запуска (при наличии), дождитесь остановки всех движущихся частей и отсоедините провод от свечи зажигания, прежде чем приступить к осмотру машины на наличие повреждений. Перед возобновлением работы выполните необходимый ремонт.
Прежде чем покинуть рабочее место, выключите двигатель, снимите кнопку электрического запуска (только для модели с электрическим запуском) и дождитесь остановки всех движущихся частей машины.
Если двигатель работал продолжительное время, он будет очень горячим и может вызвать серьезные ожоги. Держитесь на безопасном расстоянии от горячего двигателя.
Эксплуатируйте двигатель только в хорошо проветриваемых зонах. Выхлопные газы содержат угарный газ, который может привести к гибели в случае вдыхания.
Регулярно производите проверку деталей травосборника и желоба для выброса на наличие износа или повреждений. По мере необходимости заменяйте их, используя оригинальные детали компании Toro.
Выполняйте скашивание поперек склона, никогда не перемещайтесь вверх и вниз. Соблюдайте особую осторожность при изменении направления движения, находясь на склоне.
Запрещается пользоваться газонокосилкой на очень крутых склонах. Неустойчивое положение ног создает опасность – можно поскользнуться и упасть.
Будьте осторожны при скашивании рядом с обрывами, канавами или насыпями.
Двигатель можно запустить с помощью кнопки электрического стартера (при наличии) или рукоятки механического стартера.
Удерживайте штангу управления ножом прижатой к рукоятке (вид А на Рисунок 13).
Если кнопка электрического запуска была снята, вставьте ее в электрический стартер (вид В на Рисунок 13).
Нажмите кнопку электрического запуска и держите нажатой, пока двигатель не запустится (вид С на Рисунок 13).
Note: Если газонокосилка не запустится после нескольких попыток, обратитесь в сервис-центр официального дилера.


Удерживайте штангу управления ножом прижатой к рукоятке (вид А на Рисунок 14).
Потяните рукоятку ручного стартера (вид В на Рисунок 14).
Note: Тяните за рукоятку ручного стартера без усилия до тех пор, пока не почувствуете сопротивление, после чего резко дерните ее. Дайте шнуру медленно вернутся в рукоятку.
Note: Если газонокосилка не запустится после нескольких попыток, обратитесь в сервис-центр официального дилера.


При работе самоходного привода оператор может просто идти, положив руки на верхнюю рукоятку и держа локти по бокам; машина автоматически будет двигаться со скоростью оператора (Рисунок 15).

Note: Если после движения самоходом машину нельзя свободно откатить назад, остановитесь, не меняя положения рук, и дайте машине прокатиться на несколько сантиметров вперед для разъединения привода колес. Вы можете также попробовать дотянуться до металлической ручки, расположенной прямо под верхней рукояткой, и протолкнуть машину вперед на пару сантиметров. Если машина по-прежнему не откатывается легко назад, обратитесь в сервис-центр официального дилера.
| Периодичность технического обслуживания | Порядок технического обслуживания |
|---|---|
| Перед каждым использованием или ежедневно |
|
Чтобы выключить двигатель, отпустите штангу управления ножом.
Note: Снимайте кнопку электрического запуска (при наличии) всегда, когда вы покидаете машину.
Important: После отпускания штанги управления ножом двигатель должен выключиться, а нож должен остановиться в течение 3 секунд. Если двигатель не выключается и нож не останавливается, немедленно прекратите эксплуатацию машины и обратитесь к официальному дилеру по техническому обслуживанию.
Заводская комплектация машины позволяет перерабатывать скашиваемую траву и листья, оставляя измельченную траву и листья в виде мульчи на газоне.
Если на машину установлен мешок для сбора травы и рычаг включения сбора в мешок установлен в положение сбора в мешок, переведите рычаг в положение переработки; cм. раздел Работа рычага включения сбора в травосборник. Если боковой желоб для выброса установлен на машине, снимите его; см. Демонтаж бокового желоба для выброса.
Травосборник предназначен для сбора с газона скошенной травы и листьев.
Если боковой желоб для выброса установлен на машине, снимите его; см. Демонтаж бокового желоба для выброса. Если рычаг включения сбора в мешок установлен в положение переработки, переведите его в положение сбора в мешок; см. раздел Работа рычага включения сбора в травосборник.
Чтобы снять травосборник, проделайте вышеописанные действия в обратном порядке: Установка травосборника.
Дополнительная опция сбора в травосборник при необходимости позволяет оператору либо собирать скошенную траву и листья, либо перерабатывать их.
Для сбора скошенной травы и листьев в мешок нажмите кнопку на рычаге включения сбора в мешок и двигайте рычаг вперед, пока кнопка на нем не вернется в исходное положение (Рисунок 17).

Для переработки или бокового выброса скошенной травы и обрезков листьев нажмите кнопку на рычаге и двигайте рычаг назад, пока кнопка на нем не вернется в исходное положение.
Important: Для обеспечения надлежащей работы, прежде чем передвигать рычаг включения сбора в мешок из одного положения в другое, заглушите двигатель, дождитесь остановки всех движущихся частей и затем удалите всю скошенную траву и мусор из дверцы для сбора в мешок и прилегающего проема (Рисунок 18).

Используйте боковой выброс при скашивании очень высокой травы.
Если на машине установлен мешок для сбора травы и рычаг включения сбора в мешок установлен в положение сбора в мешок, переведите рычаг в положение переработки; cм. раздел Работа рычага включения сбора в травосборник.
Расфиксируйте и поднимите боковой отражатель и установите боковой желоб для выброса (Рисунок 19).

Чтобы снять желоб бокового выброса, поднимите боковой отражатель, снимите желоб бокового выброса и опустите отражатель бокового выброса до щелчка фиксатора.
Осмотрите участок, где будет использоваться машина, и удалите все посторонние предметы, которые могут быть отброшены машиной.
Избегайте ударов ножа о твердые предметы. Запрещается намеренно производить скашивание поверх какого-либо предмета.
Если происходит удар машины о какой-либо предмет или машина начинает вибрировать, немедленно остановите двигатель, отсоедините провод от свечи зажигания, снимите кнопку электрического запуска (при наличии) и осмотрите машину на наличие повреждений.
Для достижения наилучших результатов устанавливайте новый нож перед началом каждого сезона скашивания.
При необходимости замените нож новым сменным ножом производства компании Toro.
Срезайте только около одной трети высоты травы за один проход. Не производите скашивание травы ниже высоты 51 мм, кроме случаев, когда трава негустая, или в конце осени, когда рост травы начинает замедляться.
При скашивании травы высотой более 15 см выполняйте его на максимальной высоте скашивания и идите медленно; затем выполните повторное скашивание на более низкой настройке для получения лучшего внешнего вида газона. Скашивание слишком высокой травы может привести к засорению механизма машины и остановке двигателя.
Перемещение газонокосилки по слежавшейся листве или траве также может привести к засорению механизма машины и остановке двигателя. Не косите в условиях повышенной влажности.
Помните об опасности возникновения пожара в очень сухих условиях, соблюдайте все местные противопожарные правила и очищайте машину от сухой травы и листьев.
Попеременно изменяйте направление движения при скашивании. Это способствует однородному распределению срезанного материала по газону и более равномерному удобрению газона.
Если после скашивания внешний вид газона неудовлетворительный, попробуйте выполнить одно (или несколько) из следующих действий:
Замените или заточите нож.
При скашивании идите медленнее.
Увеличьте высоту скашивания на машине.
Скашивайте траву чаще.
Выполняйте скашивание с частичным перекрытием полос вместо срезания полной полосы за каждый проход.
После скашивания убедитесь, что поверхность газона в достаточной степени видна сквозь слой срезанных листьев. Возможно, потребуются повторные проходы по покрытой листвой поверхности.
Если на газоне слой листьев толщиной более 13 см, произведите скашивание с более высокой настройкой высоты скашивания, а затем еще раз с нужной настройкой.
Если газонокосилка недостаточно мелко перерабатывает листья, уменьшите скорость движения при скашивании.
Перед началом регулировки, технического обслуживания, очисткой или постановкой на хранение всегда выключайте машину, вынимайте кнопку электрического запуска (при наличии), дожидайтесь остановки всех движущихся частей и давайте машине остыть.
Для предотвращения возгорания необходимо очищать машину от травы и загрязнений. Удаляйте следы утечек масла или топлива.
Запрещается хранить машину или емкость с топливом вблизи открытого пламени, искр или малых горелок, используемых, например, в водонагревателях или другом оборудовании.
Снимите кнопку электрического запуска (при наличии) перед погрузкой машины для транспортировки.
Будьте осторожны при погрузке или выгрузке машины.
Закрепите машину для предотвращения ее скатывания.
| Периодичность технического обслуживания | Порядок технического обслуживания |
|---|---|
| Перед каждым использованием или ежедневно |
|
Для получения наилучших результатов очищайте машину сразу после окончания скашивания.
Переместите машину на ровную, плоскую поверхность с твердым покрытием.
Прежде чем покинуть место оператора, выключите двигатель и дождитесь остановки всех движущихся частей машины.
Опустите машину на самую низкую настройку высоты скашивания. См. раздел Регулировка высоты скашивания.
Промойте область под задней крышкой, где скошенная трава и листья проходят из нижней части корпуса в травосборник.
Note: Промывайте эту область, когда рычаг включения сбора в мешок (при наличии) находится в крайнем переднем и в крайнем заднем положениях.
Присоедините садовый шланг, подключенный к источнику воды, к промывочному отверстию в корпусе (Рисунок 20).

Включите подачу воды.
Запустите двигатель и дайте ему поработать до тех пор, пока из-под машины не перестанет выходить измельченная трава.
Выключите двигатель.
Перекройте подачу воды и отсоедините садовый шланг от машины.
Запустите двигатель и дайте ему поработать несколько минут, чтобы просушить нижнюю часть машины для предотвращения появления ржавчины.
Выключите двигатель, извлеките кнопку электрического запуска (при наличии) и дайте машине остыть перед постановкой ее на хранение в закрытом помещении.
В случае неправильного складывания или раскладывания рукоятки можно повредить тросы, вследствие чего работать на машине будет опасно.
Складывая или раскладывая рукоятку, не повредите тросы.
Если какой-либо трос поврежден, свяжитесь с официальным дилером по техническому обслуживанию.
Снимите кнопку электрического стартера (при наличии); см. Рисунок 21.

Снимите и сохраните две ручки и два каретных болта с кронштейнов рукоятки (Рисунок 22).
Important: По мере складывания рукоятки пропускайте тросы снаружи круглых рукояток.

Сложите рукоятку, повернув ее вперед (Рисунок 23).

Вставьте каретный болт (так, чтобы головка болта была направлена внутрь) сквозь кронштейн рукоятки и в верхнее отверстие торцевой части рукоятки. Убедитесь, что квадратная кромка каждого каретного болта вошла в верхнее или нижнее квадратное отверстие соответствующего кронштейна рукоятки (Рисунок 24).

Установите, не затягивая, ручки и каретные болты на кронштейны рукоятки.
Порядок раскладывания рукоятки описан в разделе Сборка и раскладывание рукоятки.
| Периодичность технического обслуживания | Порядок технического обслуживания |
|---|---|
| Перед каждым использованием или ежедневно |
|
| Через каждые 25 часов |
|
| Ежегодно |
|
| Ежегодно, или до помещения на хранение |
|
Important: См. Руководство владельца двигателя для получения информации о дополнительном техническом обслуживании.
Отсоедините провод от свечи зажигания и извлеките кнопку электрического стартера, прежде чем выполнять любые процедуры технического обслуживания.
Используйте перчатки и средства защиты глаз во время технического обслуживания машины.
Прикосновение к острозаточенному ножу может привести к получению серьезной травмы. При техническом обслуживании ножа используйте перчатки. Ремонт или изменение конструкции ножа (ножей) запрещены.
Запрещается изменять конструкцию защитных устройств. Регулярно проверяйте правильность работы таких устройств.
При опрокидывании машины топливо может вытечь. Топливо является легковоспламеняющейся, взрывоопасной жидкостью и может стать причиной травмы. Не выключайте двигатель до полной выработки топлива или откачайте топливо ручным насосом; запрещается использовать перелив сифоном.
Для обеспечения оптимальных рабочих характеристик машины используйте только оригинальные запасные части и принадлежности компании Toro. Использование запасных частей и приспособлений, изготовленных другими производителями, может быть опасным и привести к аннулированию гарантии на изделие.
Выключите двигатель, снимите кнопку электрического запуска (при наличии) и дождитесь останова всех движущихся частей.
Отсоедините провод от свечи зажигания (Рисунок 25).

После выполнения процедур(ы) технического обслуживания подсоедините провод к свече зажигания.
Important: Прежде чем переворачивать машину для замены масла или ножа, дайте топливу в баке полностью выработаться в режиме нормальной работы. Если машину необходимо перевернуть до того, как выработается топливо, выкачайте остатки топлива ручным топливным насосом. Всегда переворачивайте машину на одну сторону таким образом, чтобы масломерный щуп был направлен вниз.
| Периодичность технического обслуживания | Порядок технического обслуживания |
|---|---|
| Через каждые 25 часов |
|
| Ежегодно |
|
Расфиксируйте защелку в верхней части крышки воздушного фильтра (Рисунок 26).

Извлеките воздушный фильтр (Рисунок 26).
Осмотрите воздушный фильтр.
Note: Если воздушный фильтр сильно загрязнен, замените его новым. Или осторожно постучите воздушным фильтром о твердую поверхность, чтобы удалить мусор.
Установите воздушный фильтр.
Зафиксируйте крышку воздушного фильтра защелкой.
| Периодичность технического обслуживания | Порядок технического обслуживания |
|---|---|
| Ежегодно |
|
Заменять моторное масло не требуется, но если вы хотите заменить масло, используйте следующий порядок действий.
Note: Перед заменой масла включите двигатель на несколько минут для прогрева. Разогретое масло, обладая повышенной текучестью, более эффективно удаляет загрязнения.
| Объем моторного масла | 0,44 л* |
| Вязкость масла | Масло с моющими присадками по классификации SAE 30 или SAE 10W-30 |
| Эксплуатационная характеристика по классификации API | SJ или выше. |
* После слива масла из картера двигателя в нем остаются остатки масла. Не заливайте в картер двигателя объем масла, равный полной вместимости картера. Залейте масло в картер двигателя в соответствии с указаниями в следующих пунктах.
Установите газонокосилку на ровную поверхность.
См. раздел Подготовка к операциям технического обслуживания.
Выньте масломерный щуп, повернув крышку против часовой стрелки и вытянув ее (Рисунок 27).


Для слива отработанного масла через маслозаливную горловину переверните машину набок (чтобы воздушный фильтр был сверху) (Рисунок 28).

После слива отработанного масла возвратите машину в рабочее положение.
Осторожно заполните маслом картер двигателя примерно на ¾ объема через маслозаливную горловину.
Подождите 3 минуты, пока уровень масла не установится в двигателе.
Протрите масломерный щуп чистой тканью.
Вставьте щуп до упора в маслозаливную горловину, затем извлеките его.
Определите уровень масла по отметкам на щупе (Рисунок 27).
Если уровень масла на щупе слишком низкий, осторожно залейте небольшое количество масла в маслозаливную горловину, подождите 3 минуты и повторите операции с 8 по 10, чтобы довести масло до требуемого уровня на щупе.
Если уровень масла на щупе слишком высокий, слейте излишек масла, чтобы довести масло до требуемого уровня на щупе.
Important: Слишком низкий или высокий уровень масла в картере может привести к повреждению двигателя во время запуска.
Плотно вставьте масломерный щуп в маслозаливную горловину.
Утилизируйте использованное масло в соответствии с требованиями.
| Периодичность технического обслуживания | Порядок технического обслуживания |
|---|---|
| Через каждые 25 часов |
|
Первоначально зарядите аккумулятор в течение 24 часов, затем заряжайте ежемесячно (через каждые 25 запусков) или по мере необходимости. Зарядное устройство следует использовать в закрытом помещении; заряжать аккумуляторную батарею по возможности надо при комнатной температуре (22 °C).
Подсоедините зарядное устройство к жгуту проводов, расположенному под кнопкой электрического запуска (Рисунок 29).

Включите удлинительный кабель в розетку на стене.
Note: Когда аккумулятор перестанет удерживать заряд, утилизируйте его или удалите в отходы (если это аккумулятор свинцово-кислотного типа) в соответствии с местными нормами и правилами.
Note: На зарядном устройстве может быть установлен двухцветный светодиодный блок индикации, показывающий следующие состояния зарядки:
Красный свет указывает на то, что зарядное устройство заряжает аккумулятор.
Зеленый свет указывает на то, что зарядное устройство полностью зарядило аккумулятор или отсоединено от него.
Попеременное мигание зеленым и красным светом указывает на то, что аккумулятор почти полностью заряжен. Это состояние длится всего в течение нескольких минут до момента полной зарядки аккумулятора.
Если аккумулятор не заряжается или двигатель не заводится с помощью электрического запуска, то, возможно, перегорел предохранитель. Замените его вставным предохранителем на 40 А.
Поднимите задний отражатель и найдите аккумуляторный отсек (Рисунок 30).

Удалите любые загрязнения из аккумуляторного отсека.
Снимите крепежный винт аккумуляторного отсека, выньте аккумулятор и найдите предохранитель (Рисунок 31).

Замените плавкий предохранитель в держателе (Рисунок 31).
Note: Машина поставляется с запасным предохранителем в аккумуляторном отсеке.
Установите аккумуляторный отсек и заверните винт, снятый на этапе 3.
Установите крышку поверх аккумуляторного отсека.
Опустите задний отражатель.
| Периодичность технического обслуживания | Порядок технического обслуживания |
|---|---|
| Ежегодно |
|
Important: Для правильной установки ножа потребуется динамометрический ключ. При отсутствии динамометрического ключа или условий, необходимых для выполнения этой процедуры свяжитесь с официальным дилером по техническому обслуживанию.
Осмотр ножа следует производить каждый раз после выработки очередного бака топлива. При обнаружении трещин или других повреждений нож следует немедленно заменить. Если лезвие ножа затуплено или имеет зазубрины, заточите и отбалансируйте его или замените.
Прикосновение к острозаточенному ножу может привести к получению серьезной травмы.
При техническом обслуживании ножа используйте перчатки.
Наклоните газонокосилку на бок таким образом, чтобы воздушный фильтр был направлен вверх.
Используйте деревянную подкладку для неподвижного удерживания ножа (Рисунок 32).

Снимите нож, сохранив все крепежные детали (Рисунок 32).
Установите новый нож, закрепив все крепежные детали (Рисунок 33).

Important: Нож должен быть расположен так, чтобы его изогнутые концы были обращены в сторону корпуса газонокосилки.
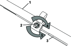
Динамометрическим гаечным ключом затяните болт ножа до 82 Н∙м.
После установки нового троса самоходного привода или в случае нарушения регулировки самоходного привода отрегулируйте его.
Поверните регулировочную гайку против часовой стрелки, чтобы ослабить натяжение троса (Рисунок 34).


Отрегулируйте натяжение троса (Рисунок 34), потянув его назад или вперед, затем удерживайте в этом положении.
Note: Нажмите на трос, чтобы переместить его в сторону двигателя для увеличения тяги; потяните его в направлении от двигателя, чтобы уменьшить тягу.
Поверните регулировочную гайку по часовой стрелке, чтобы увеличить натяжение троса.
Note: Плотно затяните гайку торцовым или гаечным ключом.
Храните газонокосилку в прохладном, чистом и сухом месте.
Перед началом регулировки, технического обслуживания, очисткой или постановкой на хранение всегда выключайте машину, вынимайте кнопку электрического запуска (при наличии), дожидайтесь остановки всех движущихся частей и давайте машине остыть.
При последней в году заправке топливом добавьте в топливо стабилизатор топлива (такой как Toro Premium Fuel Treatment) согласно указаниям на этикетке.
Должным образом утилизируйте все неиспользованное топливо. Утилизируйте его в соответствии с местными правилами или используйте в вашем автомобиле.
Important: Старое топливо в топливном баке является основной причиной затрудненного запуска. Запрещается хранить топливо без добавления стабилизатора топлива более 30 дней, а также не храните топливо со стабилизирующей присадкой дольше срока, рекомендованного изготовителем стабилизатора топлива.
Дайте возможность машине поработать до тех пор, пока двигатель не остановится, израсходовав все топливо.
Снова запустите двигатель и дайте ему поработать, пока не остановится. Если двигатель больше не запускается, значит, его топливная система достаточно осушена.
Отсоедините провод от свечи зажигания, подсоедините его к фиксирующему стержню (при наличии) и снимите кнопку электрического запуска (при наличии).
Выверните свечу зажигания, залейте 30 мл моторного масла в отверстие для свечи и медленно потяните шнур стартера несколько раз, чтобы масло распространилось по стенкам цилиндра, предотвращая коррозию во время перерывов в эксплуатации.
Вверните свечу зажигания, но не затягивайте ее.
Затяните все гайки, болты и винты.
Только для моделей с электрическим запуском: произведите зарядку аккумулятора в течение 24 часов, после чего отсоедините зарядное устройство и разместите машину на хранение в неотапливаемом помещении. В случае хранения машины в отапливаемом помещении зарядка аккумуляторной батареи производится через каждые 90 дней. См. Зарядка аккумулятора
Только для моделей с электрическим запуском: зарядите аккумулятор в течение 24 часов; см. раздел Зарядка аккумулятора.
Проверьте и затяните все крепления.
Выверните свечу зажигания и произведите ускоренную прокрутку двигателя с помощью механического стартера для удаления остатков масла из цилиндра.
Установите свечу зажигания и затяните ее динамометрическим ключом с моментом 20 Н⋅м.
Выполните все необходимые процедуры технического обслуживания; см. .
Проверьте уровень масла в двигателе, см. Проверка уровня масла в двигателе.
Заполните топливный бак свежим топливом, см. раздел Заправка топливного бака.
Присоедините провод к свече зажигания.