| Servisní interval | Postup při údržbě |
|---|---|
| Při každém použití nebo denně |
|
Tato rotační, ručně vedená sekačka na trávu je vhodná pro soukromé majitele pozemků. Je určena primárně k sečení trávy na dobře udržovaných trávnících soukromých pozemků. Používání tohoto výrobku pro jiné účely, než ke kterým je určen, může být nebezpečné uživateli i přihlížejícím osobám.
Pečlivě si tuto příručku prostudujte, abyste se naučili stroj správně obsluhovat a udržovat, a předešli tak zranění a poškození stroje. Za správný a bezpečný provoz výrobku nese odpovědnost majitel.
Více informací naleznete na stránce www.Toro.com včetně bezpečnostních pokynů, podkladů pro školení a informací o příslušenství. Můžete zde také vyhledat prodejce výrobků nebo zaregistrovat svůj výrobek.
Kdykoli budete potřebovat servis, originální díly Toro nebo doplňující informace, obraťte se na autorizované servisní středisko nebo zákaznický servis Toro a uveďte model a výrobní číslo svého výrobku. Obrázek 1 znázorňuje umístění typového a sériového čísla na výrobku. Vepište sériové číslo do příslušného pole.
Important: Potřebujete-li informace o záruce, náhradních dílech a jiných údajích o výrobku, můžete pomocí mobilního telefonu naskenovat QR kód na štítku sériového čísla (je-li k dispozici).

Tato příručka identifikuje potenciální rizika a obsahuje bezpečnostní sdělení označená varovným bezpečnostním symbolem (Obrázek 2) signalizujícím riziko, které může způsobit vážný úraz nebo usmrcení, nebudete-li dodržovat doporučená opatření.

V této příručce jsou pro zdůraznění informací používána dvě slova. Důležité upozorňuje na speciální technické informace a Poznámka zdůrazňuje obecné informace, které stojí za zvláštní pozornost.
Tento výrobek splňuje všechny relevantní směrnice Evropské unie. Podrobné informace naleznete v Prohlášení o shodě k tomuto výrobku.
Přiložená provozní příručka k motoru obsahuje informace o předpisech vydaných organizacemi EPA (US Environmental Protection Agency) a Řízení kontroly emisí státu Kalifornie (California Emission Control Regulation) týkajících se emisních systémů, údržby a záruky. Náhradní uživatelskou příručku k motoru je možné objednat u výrobce motoru.
Hrubý nebo čistý točivý moment: Hrubý nebo čistý točivý moment tohoto motoru byl laboratorně stanoven výrobcem motoru v souladu se specifikacemi SAE (Society of Automotive Engineers, Asociace automobilových inženýrů) J1940 a J2723. V souladu s bezpečnostními, emisními a provozními požadavky byl efektivní točivý moment motoru u sekačky této třídy nastaven na výrazně nižší hodnotu. Prostudujte si příručku výrobce motoru dodávanou se strojem.
Nemanipulujte s bezpečnostními zařízeními na stroji, nevypínejte je a pravidelně kontrolujte jejich funkci. Nepokoušejte se nastavovat nebo upravovat regulátor otáček motoru. Mohou tak vzniknout nebezpečné provozní podmínky, což může vést ke zranění.
Tento stroj byl vyroben v souladu s normou EN ISO 5395.
Tento výrobek může amputovat ruce a nohy a odmršťovat předměty. Dodržujte vždy všechny bezpečnostní pokyny, abyste zamezili vážnému úrazu.
Před nastartováním motoru si prostudujte pokyny a upozornění uvedené v provozní příručce, na stroji a na přídavných zařízeních a řiďte se jimi.
Udržujte ruce a nohy v bezpečné vzdálenosti od rotujících částí stroje a nedávejte je pod stroj. Zdržujte se v bezpečné vzdálenosti od všech vyhazovacích otvorů.
Nikdy neprovozujte stroj, pokud nejsou všechny jeho kryty ve správné poloze nebo pokud nejsou řádně funkční další bezpečnostní ochranná zařízení.
Přihlížející osoby a děti se musí zdržovat mimo pracovní prostor. Nikdy nedovolte dětem stroj obsluhovat. Stroj mohou obsluhovat pouze osoby, které jsou zodpovědné, k tomu proškolené, obeznámené s pokyny a fyzicky způsobilé.
Před prováděním údržby, doplňováním paliva nebo uvolňováním ucpaného materiálu zastavte stroj, vypněte motor, vyjměte tlačítko elektrického startéru (dle výbavy) a počkejte, dokud se nezastaví všechny pohyblivé součásti.
Nesprávné používání
nebo údržba této sekačky mohou vést
ke zranění. Z důvodu snížení
možného rizika zranění dodržujte
tyto bezpečnostní pokyny a vždy věnujte
pozornost výstražnému symbolu
, který označuje
upozornění, výstrahu nebo nebezpečí
– pokyny k zajištění osobní
bezpečnosti. Nedodržení těchto pokynů
může mít za následek zranění
osob nebo jejich usmrcení.
![]() |
Bezpečnostní štítky a pokyny jsou umístěny na místě viditelném obsluhou a v blízkosti každého prostoru představujícího potenciální nebezpečí. V případě ztráty nebo poškození původní nálepky nahraďte nálepku novou. |






Pouze model s elektrickým startérem

Important: Sejměte a zlikvidujte ochrannou plastovou fólii, která zakrývá motor, i všechny další plastové nebo obalové materiály na stroji.
Important: Abyste předešli neúmyslnému spuštění, nevkládejte tlačítko elektrického startéru do spínače elektrického zapalování (dle výbavy), dokud nejste připraveni na spuštění motoru.
Note: Zajistěte, aby lanka byla vedena podél vnější strany rukojeti a nebyly přiskřípnuty (D, viz Obrázek 3).


Important: Aby bylo při každém použití stroje možné bezpečně a snadno spouštět jeho motor, je třeba nainstalovat lanko ručního startéru do vodiče lanka.

Important: Pokud spustíte motor s příliš nízkou nebo vysokou hladinou motorového oleje, můžete jej poškodit.


Pouze model s elektrickým startérem
Viz Dobíjení akumulátoru.


| Model | Hmotnost | Délka | Šířka | Výška |
|---|---|---|---|---|
| 21762 | 36 kg | 151 cm | 59 cm | 109 cm |
| 21763 | 40 kg | 151 cm | 59 cm | 109 cm |
Pro stroj je k dispozici řada přídavných zařízení a příslušenství schválených firmou Toro, která vylepšují a rozšiřují možnosti stroje. Seznam schválených přídavných zařízení a příslušenství můžete získat u svého autorizovaného prodejce nebo distributora nebo na stránkách www.Toro.com.
K zajištění optimální výkonnosti a dodržení požadavků na bezpečnost stroje je nutné používat pouze originální náhradní díly a příslušenství od společnosti Toro. Náhradní díly a příslušenství jiných výrobců mohou být nebezpečné a jejich použití může mít za následek zneplatnění záruky.
Note: Levou a pravou stranu stroje určete z normálního místa obsluhy.
Před seřizováním, údržbou, čištěním nebo skladováním stroj vždy vypínejte, vyjímejte tlačítko elektrického startéru (dle výbavy), počkejte, dokud se nezastaví všechny pohyblivé součásti, a nechejte stroj vychladnout.
Dobře se seznamte s bezpečným použitím zařízení, ovládacími prvky a významem bezpečnostních nápisů.
Vždy se přesvědčte, zda jsou všechny ochranné kryty a bezpečnostní prvky, jako například deflektory a sběrný koš, na svém místě a správně fungují.
Vždy kontrolujte stroj a přesvědčte se, zda žací nože šrouby žacího nože nejsou opotřebené nebo poškozené.
Zkontrolujte prostor, kde budete stroj používat, a odstraňte všechny předměty, jež mohou bránit provozu stroje nebo jež mohou být strojem vymrštěny.
Kontakt s pohybujícím se žacím nožem může způsobit vážné zranění. Při nastavování výšky sekání nestrkejte prsty pod kryt.
Palivo je extrémně hořlavé a vysoce výbušné. Požár nebo výbuch způsobený palivem může popálit vás i jiné osoby a způsobit škody na majetku.
Aby nedošlo ke vznícení paliva od statického náboje, položte před tankováním nádobu s palivem nebo sekačku přímo na zem, nikoli na vozidlo nebo jiný předmět.
Palivo doplňujte do nádrže venku na otevřeném prostranství a při studeném motoru. Rozlité palivo utřete.
Nemanipulujte s palivem v blízkosti otevřeného ohně či jisker, nebo když kouříte.
Nikdy neodstraňujte uzávěr nádrže ani nedoplňujte palivo při spuštěném motoru nebo je-li motor horký.
Pokud rozlijete palivo, nepokoušejte se spustit motor. Dokud se neodpaří palivové výpary, zabraňte vzniku jiskření.
Palivo skladujte ve schválených nádobách a odstraňte je z dosahu dětí.
Požití paliva může vést k vážnému zranění nebo úmrtí. Dlouhodobý styk s výpary může způsobit vážné újmy na zdraví a onemocnění.
Vyhýbejte se delšímu vdechování výparů.
Ruce ani obličej nepřibližujte k trysce a otvoru palivové nádrže.
Dávejte pozor, aby vám palivo nevniklo do očí a nedostalo se do kontaktu s pokožkou.
Nejlepších výsledků dosáhnete, když budete používat pouze čistý, čerstvý bezolovnatý benzín s oktanovým číslem kolem 87 nebo vyšším (metoda stanovení (R+M)/2).
Přijatelná jsou i okysličená paliva až s 10 % etanolu nebo 15 % MTBE.
Nepoužívejte etanolové směsi benzínu, např. E15 nebo E85 s více než 10 % etanolu. Pokud tyto směsi použijete, můžete snížit výkon motoru či jej poškodit, na což se nevztahuje záruka.
Nepoužívejte benzín obsahující metanol.
Neuchovávejte palivo přes zimu v palivové nádrži nebo nádobách na palivo, aniž byste do něj přidali stabilizátor paliva.
Nepřidávejte do benzínu olej.
Natankujte do nádrže čerstvý normální bezolovnatý benzín ze značkové čerpací stanice (Obrázek 9).
Important: Abyste předešli problémům při startování, do čerstvého paliva přidejte určité množství stabilizačního aditiva paliva podle pokynů výrobce stabilizátoru paliva.
Dodatečné informace naleznete v návodu k obsluze motoru.

| Servisní interval | Postup při údržbě |
|---|---|
| Při každém použití nebo denně |
|
Important: Je-li hladina oleje v klikové skříni příliš nízká nebo příliš vysoká a vy spustíte motor, můžete ho tím poškodit.


Rukojeť můžete zvednout nebo snížit do jedné ze 2 poloh, která vám při práci vyhovuje (Obrázek 11).

Demonujte oba knoflíky rukojeti.
Přesuňte rukojeť do požadované výškové polohy.
Zajistěte rukojeť pomocí dříve demontovaných knoflíků rukojeti.
Pokud byl spuštěný motor, tlumič výfuku bude žhavý a může způsobit popálení.
Nepřibližujte se ke žhavému tlumiči výfuku.
Nastavte výšku sekání podle potřeby. Nastavte všechna kola do stejné výšky sekání (Obrázek 12).


Používejte vhodné oblečení a pomůcky, včetně ochranných brýlí, dlouhých kalhot, pevné protiskluzové obuvi a chráničů sluchu. Svažte si dlouhé vlasy a nenoste volný oděv či volně se pohybující šperky.
Při práci se strojem věnujte jeho provozu maximální pozornost. Neprovádějte žádné činnosti, jež by mohly vaši pozornost odvádět. V takovém případě by mohlo dojít ke zranění nebo poškození majetku.
Stroj neobsluhujte, jste-li nemocní, unaveni nebo pod vlivem alkoholu nebo drog.
Žací nůž je ostrý; při kontaktu s nožem může dojít k vážnému poranění. Než opustíte provozní pozici, vypněte motor, vyjměte tlačítko elektrického startéru (pouze model s elektrickým startérem) a počkejte, až se všechny pohybující se části zastaví.
Po uvolnění ovládací tyče žacího nože by se motor i žací nůž měly do 3 sekund zastavit. Pokud se nezastaví, přestaňte sekačku okamžitě používat a kontaktujte autorizované servisní středisko.
Ostatní osoby se musejí zdržovat v bezpečné vzdálenosti od pracovního prostoru. Malé děti se musejí zdržovat v bezpečné vzdálenosti od provozního prostoru a musejí být pod stálým dohledem zodpovědné dospělé osoby, která stroj neobsluhuje. Pokud někdo do tohoto prostoru vstoupí, stroj zastavte.
Před rozjetím se strojem vzad se vždy podívejte dolů a za sebe.
Pracujte se strojem jen za dobré viditelnosti a za dobrého počasí. Nepracujte se strojem, pokud hrozí nebezpečí zásahu bleskem.
Na mokré trávě nebo listí můžete uklouznout, dostat se do kontaktu s žacím nožem a způsobit si vážné zranění. Nesekejte za mokrých podmínek.
Buďte velmi opatrní, blížíte-li se k nepřehledným zatáčkám, křovinám, stromům nebo jiným objektům, které vám mohou bránit ve výhledu.
Nesměřujte výhoz posekané trávy na nějakou osobu. Vyvarujte se vyhazování materiálu proti zdi nebo jiné překážce. Materiál se může odrážet zpět na vás. Před přejížděním štěrkových povrchů zastavte žací nůž (nože).
Dávejte pozor na díry, vyjeté koleje, hrboly, kameny nebo jiné skryté objekty. Na nerovném terénu můžete ztratit rovnováhu či stabilní postoj.
Pokud sekačka narazí na tvrdý předmět nebo začne vibrovat, okamžitě vypněte motor, vytáhněte tlačítko elektrického startéru (dle výbavy), počkejte, dokud se nezastaví všechny pohyblivé součásti, odpojte koncovku zapalovací svíčky a zkontrolujte, zda stroj není poškozený. Před obnovením provozu proveďte všechny nezbytné opravy.
Než opustíte provozní pozici, vypněte motor, vyjměte tlačítko elektrického startéru (pouze model s elektrickým startérem) a počkejte, až se všechny pohybující se části zastaví.
Pokud byl spuštěný motor, bude horký a může způsobit vážné popálení. Nepřibližujte se k teplému motoru.
Motor nechejte pracovat jen v dobře větraném prostoru. Výfukové plyny obsahují oxid uhelnatý, který má při vdechnutí smrtelné účinky.
Pravidelně kontrolujte, zda součásti sběrného koše a vyhazovací kanál nejsou opotřebené či poškozené, a v případě potřeby je vyměňte za originální náhradní díly Toro.
Sekejte podél svahu, nikdy nahoru a dolů. Při změně směru na svahu buďte mimořádně opatrní.
Nesekejte na příliš strmých svazích. Špatný postoj nebo špatná pozice při sekání mohou být příčinou uklouznutí a pádu.
Sekejte opatrně v blízkosti prudkých svahů, příkopů nebo náspů.
Motor je možné nastartovat buď pomocí tlačítka elektrického startéru (dle výbavy), nebo ruční startovací rukojeti.
Přidržte ovládací tyč žacího nože u držadla (A, viz Obrázek 13).
Jestliže bylo vyjmuto tlačítko elektrického startéru, zasuňte je do (B, viz Obrázek 13).
Stiskněte a přidržte tlačítko elektrického startéru, dokud motor (C, viz Obrázek 13).
Note: Jestliže se sekačka nenastartuje ani po několika pokusech, obraťte se na autorizované servisní středisko.


Přidržte ovládací tyč žacího nože u držadla (A, viz Obrázek 14).
Zatáhněte za ruční startovací rukojeť (B, viz Obrázek 14).
Note: Pokud taháte za ruční startovací rukojeť, zatáhněte nejprve zlehka, dokud neucítíte odpor, a potom zatáhněte prudce. Lanko nechte pomalu navinout zpět do rukojeti.
Note: Jestliže se sekačka nenastartuje ani po několika pokusech, obraťte se na autorizované servisní středisko.


V případě použití ručního pohonu se jednoduše pohybujte volnou chůzí a tlačte stroj před sebou, s rukama na horním držadle a s lokty u těla (Obrázek 15).

Note: Pokud se stroj nepohybuje volně zpět po práci s ručním pohonem, zastavte se, přidržte ruce na místě a nechejte stroj popojet několik centimetrů dopředu, aby došlo k odpojení pohonu kol. Můžete také zkusit dosáhnout na kovovou rukojeť těsně pod horní rukojetí a zatlačit stroj několik centimetrů dopředu. Pokud se stroj stále nepohybuje vzad volně, obraťte se na autorizované servisní středisko.
| Servisní interval | Postup při údržbě |
|---|---|
| Při každém použití nebo denně |
|
Chcete-li vypnout motor, uvolněte ovládací tyč žacího nože.
Note: Tlačítko elektrického startéru (dle výbavy) vytahujte pokaždé, když opouštíte stroj.
Important: Po uvolnění ovládací tyče žacího nože by se motor i žací nůž měly do 3 sekund zastavit. Pokud se nezastaví, přestaňte stroj okamžitě používat a kontaktujte autorizované servisní středisko.
Stroj je podle továrního nastavení schopen vtlačovat jemně posekanou trávu a listí zpět do trávníku.
Pokud je ke stroji připevněn koš na trávu a páka nastavitelného koše je v poloze pro sběr trávy, posuňte páku do polohy pro mulčování (viz Ovládání páky nastavitelného koše). Pokud je na sekačce připevněný boční vyhazovací kanál, sejměte jej; viz Vyjmutí bočního vyhazovacího kanálu.
Chcete-li posekanou trávu a listí z trávníku sesbírat, použijte sběrací koš.
Pokud je na sekačce připevněný boční vyhazovací kanál, sejměte jej, viz Vyjmutí bočního vyhazovacího kanálu. Pokud je páka nastavitelného koše v poloze pro mulčování, posuňte ji do polohy pro sběr trávy (viz Ovládání páky nastavitelného koše).
Opačným postupem můžete sběrací koš vyjmout, viz Připevnění sběracího koše.
Funkce nastavitelného koše umožňuje buď sbírat, nebo mulčovat posečenou trávu a listí, zatímco je koš na trávu připevněný ke stroji.
Chcete-li sbírat trávu a listí, stiskněte tlačítko na páce nastavitelného koše a posunujte páku dopředu, dokud tlačítko na páce nevyskočí (Obrázek 17).

Chcete-li mulčovat trávu a listí, stiskněte tlačítko na páce nastavitelného koše a posunujte páku dozadu, dokud tlačítko na páce nevyskočí.
Important: V zájmu zajištění správné funkce vypněte motor, počkejte, dokud se nezastaví všechny pohybující se součásti, poté odstraňte z dvířek nastavitelného koše a z okolního otvoru zbytky posečené trávy a nečistoty (Obrázek 18), teprve poté posuňte páku nastavitelného koše z jedné polohy do druhé.

Při sekání velmi vysoké trávy použijte boční vyhazovací otvor.
Pokud je ke stroji připevněn koš na trávu a páka nastavitelného koše je v poloze pro sběr trávy, posuňte páku do polohy pro mulčování (viz Ovládání páky nastavitelného koše).
Odjistěte a nadzvedněte boční deflektor a upevněte boční vyhazovací kanál (Obrázek 19).

Chcete-li boční vyhazovací komín odstranit, nadzvedněte boční deflektor, sejměte boční vyhazovací komín a spusťte boční deflektor dolů tak, aby se zajistil na západku.
Zkontrolujte prostor, kde budete stroj používat, a odstraňte všechny předměty, jež mohou být strojem vymrštěny.
Zabraňte kontaktu žacího nože s tvrdými předměty. Nikdy záměrně nepřejíždějte sekačkou přes žádný předmět.
Pokud sekačka narazí na tvrdý předmět nebo začne vibrovat, okamžitě vypněte motor, odpojte koncovku zapalovací svíčky, vyjměte tlačítko elektrického startéru (dle výbavy) a zkontrolujte, zda stroj není poškozen.
Pro dosažení maximální výkonnosti namontujte před začátkem sezóny nový žací nůž.
V případě potřeby vyměňte žací nůž za náhradní nůž Toro.
Sekejte najednou vždy pouze asi třetinu výšky trávy. Nenastavujte výšku na méně než 51 mm, pokud tráva není řídká nebo pokud není pozdní podzim, kdy se růst trávy zpomaluje.
Při sekání trávy vyšší než 15 cm nastavte maximální výšku sekání a pohybujte se pomaleji; potom sekání zopakujte s menší nastavenou výškou pro co možná nejlepší vzhled trávníku. Je-li tráva příliš vysoká, může se sekačka ucpat a motor se zastaví.
Mokrá tráva a listí mají tendenci tvořit chomáče a mohou ucpat sekačku nebo zastavit motor. Nesekejte za mokrých podmínek.
Za velkého sucha dávejte pozor na riziko vzniku požáru, dodržujte všechny místní protipožární pokyny a odstraňujte ze stroje zbytky suché trávy a listí.
Střídejte směr sekání. Pomáhá to rozptylovat posekanou trávu po trávníku a dosáhnout rovnoměrného hnojení.
Pokud výsledný vzhled trávníku není uspokojivý, vyzkoušejte následující:
Vyměňte žací nůž nebo jej nechte nabrousit.
Pohybujte se při sekání pomaleji.
Nastavte na stroji větší výšku sekání.
Sekejte trávu častěji.
Postupujte v překrývajících se pruzích místo plných pruhů při každém průchodu.
Dbejte na to, aby po sekání tráva polovinou své výšky přesahovala vrstvu listí. Možná budete muset přejet sekačkou přes listí vícekrát.
Pokud vrstva listí na trávníku přesahuje 13 cm, sekejte s větší výškou sekání a poté nastavte požadovanou výšku sekání.
Pokud sekačka neseká listy dostatečně na jemno, zpomalte.
Před seřizováním, údržbou, čištěním nebo skladováním stroj vždy vypínejte, vyjímejte tlačítko elektrického startéru (dle výbavy), počkejte, dokud se nezastaví všechny pohyblivé součásti, a nechejte stroj vychladnout.
Aby nedošlo k požáru, odstraňte ze stroje trávu a nečistoty. Místa potřísněná uniklým olejem nebo palivem vždy očistěte.
Nikdy neskladujte stroj nebo nádobu s palivem v blízkosti otevřeného ohně, zdroje jisker nebo tepla, například ohřívače vody a jiných zařízení.
Před naložením stroje pro přepravu vyjměte tlačítko elektrického startéru (dle výbavy).
Při nakládání a vykládání stroje buďte opatrní.
Zabezpečte stroj tak, aby se nemohl pohybovat.
| Servisní interval | Postup při údržbě |
|---|---|
| Při každém použití nebo denně |
|
Pro dosažení nejlepších výsledků stroj co nejdříve po dokončení sekání vyčistěte.
Přemístěte stroj na rovnou dlážděnou plochu.
Před opuštěním provozní pozice vypněte motor a počkejte, dokud se všechny pohyblivé součásti nezastaví.
Spusťte stroj dolů do nejnižší výšky sekání. Viz Nastavení výšky sekání.
Prostor pod zadními dvířky, kudy posečená tráva vychází ze spodní části sekačky do koše na trávu, vypláchněte vodou.
Note: Vypláchněte tento prostor s nastavitelným košem (je-li ve výbavě) v krajní přední poloze i v krajní zadní poloze.
Připevněte zahradní hadici napojenou na zdroj vody k proplachovacímu otvoru (Obrázek 20).

Pusťte vodu.
Nastartujte motor a nechejte jej pracovat, dokud nepřestanou být ze spodní části stroje vyhazovány zbytky trávy.
Vypněte motor.
Zastavte vodu a odpojte zahradní hadici od stroje.
Nastartujte motor a nechte jej několik minut běžet, aby mohla vyschnout spodní strana sekačky a nedocházelo ke vzniku koroze.
Před skladování stroje v uzavřeném prostoru vypněte motor, vytáhněte tlačítko elektrického startéru (dle výbavy) a nechejte stroj vychladnout.
Nesprávným složením nebo rozložením rukojeti se mohou poškodit lanka, v důsledku čehož by nebyl provoz stroje bezpečný.
Při skládání nebo rozkládání rukojeti lanka nepoškoďte.
Je-li lanko poškozené, kontaktujte autorizované servisní středisko.
Vyjměte tlačítko elektrického startéru (dle výbavy), viz Obrázek 21.

Z držáků rukojeti demontujte 2 knoflíky rukojeti a 2 vratové šrouby a uschovejte je (Obrázek 22).
Important: Při sklápění rukojeti nasměrujte kabely vně knoflíků rukojeti.

Sklopte rukojeť otočením dopředu (Obrázek 23).

Zasuňte vratový šroub (hlava šroubu musí směřovat dovnitř) do držáku rukojeti a horního otvoru na konci rukojeti. Přesvědčte se, že hranaté konce každého vratového šroubu jsou zasunuty do horního nebo dolního hranatého otvoru v příslušném držáku rukojeti (Obrázek 24).

Volně namontujte knoflíky rukojeti a vratové šrouby na držáky rukojeti.
Rozložení rukojeti viz Montáž a rozložení rukojeti.
| Servisní interval | Postup při údržbě |
|---|---|
| Při každém použití nebo denně |
|
| Po každých 25 hodinách provozu |
|
| Každý rok |
|
| Každý rok nebo před uskladněním |
|
Important: Další pokyny k postupům údržby naleznete v návodu k obsluze motoru.
Před prováděním jakékoli údržby odpojte kabel od zapalovací svíčky a vytáhněte tlačítko elektrického startéru.
Při údržbě stroje používejte rukavice a ochranné brýle.
Žací nůž je ostrý; při kontaktu s nožem může dojít k vážnému poranění. Při manipulaci se žacím nožem používejte rukavice. Nesnažte se nože opravovat nebo upravovat.
Nikdy nemanipulujte s bezpečnostními zařízeními. Pravidelně kontrolujte jejich řádný provoz.
Naklonění stroje může způsobit vytékání paliva. Palivo je hořlavé a výbušné a může způsobit zranění. Spotřebujte palivo provozem nebo je odčerpejte ručním čerpadlem; nikdy ne násoskou.
K zajištění optimální výkonnosti stroje je nutné používat pouze originální náhradní díly a příslušenství od společnosti Toro. Náhradní díly a příslušenství jiných výrobců mohou být nebezpečné a jejich použití může mít za následek zneplatnění záruky.
Vypněte motor, vyjměte tlačítko elektrického startéru (dle výbavy) a počkejte, dokud se všechny pohybující se součásti nezastaví.
Odpojte kabel zapalovací svíčky (Obrázek 25).

Jakmile dokončíte údržbu, připojte koncovku zpět k zapalovací svíčce.
Important: Abyste stroj mohli naklonit kvůli výměně oleje nebo žacího nože, spotřebujte nejprve během normálního provozu palivo v nádrži. Je-li nezbytné naklonit stroj před spotřebováním paliva, odčerpejte palivo ručním palivovým čerpadlem. Naklánějte sekačku na stranu vždy tak, aby měrka oleje byla dole.
| Servisní interval | Postup při údržbě |
|---|---|
| Po každých 25 hodinách provozu |
|
| Každý rok |
|
Uvolněte horní část krytu vzduchového filtru (Obrázek 26).

Vyjměte vzduchový filtr (Obrázek 26).
Zkontrolujte vzduchový filtr.
Note: Je-li vzduchový filtr nadměrně znečištěný, vyměňte jej za nový. Pokud není výměna nutná, lehce poklepejte vzduchovým filtrem o tvrdý povrch, abyste uvolnili nečistoty.
Namontujte vzduchový filtr.
Kryt vzduchového filtru namontujte pomocí spony.
| Servisní interval | Postup při údržbě |
|---|---|
| Každý rok |
|
Výměna motorového oleje není nutná, pokud jej však chcete vyměnit, postupujte následovně.
Note: Několik minut před výměnou oleje spusťte motor, aby se olej zahřál. Zahřátý olej má lepší viskozitu a odnáší více nečistot.
| Množství motorového oleje | 0,44 l* |
| Viskozita oleje | Detergentní olej SAE 30 nebo SAE 10W-30 |
| API klasifikace | SJ nebo vyšší |
*Po vypuštění oleje zůstane v klikové skříni zbývající olej. Nelijte celé množství oleje do klikové skříně. Klikovou skříň naplňte olejem podle pokynů v následujících krocích.
Umístěte sekačku na rovnou plochu.
Viz Příprava na údržbu.
Otáčením uzávěru doleva a jeho vytažením vyjměte měrku hladiny oleje (Obrázek 27).


Nakloňte stroj na stranu (vzduchový filtr musí směřovat nahoru) a nechte vytéct olej plnicí trubicí (Obrázek 28).

Po vypuštění vyjetého oleje umístěte stroj znovu do provozní polohy.
Prostřednictvím plnicí trubice opatrně nalijte olej v množství přibližně ¾ objemu motoru.
Počkejte 3 minuty, než se olej v motoru usadí.
Otřete měrku hladiny oleje čistým hadříkem.
Zasuňte měrku hladiny oleje do plnicí trubice a opět ji vyjměte.
Odečtěte výšku hladiny oleje na měrce (Obrázek 27).
Pokud je hladina oleje na měrce příliš nízká, opatrně do plnicí trubice doplňte malé množství oleje, vyčkejte 3 minuty a opakujte kroky 8 až 10, dokud nebude dosaženo správné hladiny oleje na měrce.
Je-li hladina oleje příliš vysoká, vypusťte přebytečný olej, aby bylo dosaženo správné výšky oleje na měrce.
Important: Pokud spustíte motor s příliš nízkou nebo vysokou hladinou motorového oleje, můžete ho poškodit.
Zasuňte měrku pevně do plnicí trubice oleje.
Olej předejte k recyklaci podle platných předpisů.
| Servisní interval | Postup při údržbě |
|---|---|
| Po každých 25 hodinách provozu |
|
Před prvním použitím nechte akumulátor 24 hodin dobíjet, následně jej dobíjejte jednou za měsíc (každých 25 startů) nebo podle potřeby. Nabíječku používejte vždy v krytém prostoru, a kdykoli je to možné, dobíjejte akumulátor při pokojové teplotě (22 °C).
Připojte nabíječku ke svazku kabelů pod tlačítkem elektrického startéru (Obrázek 29).

Zapojte nabíječku do zásuvky ve zdi.
Note: Jakmile již olověný akumulátor nedrží napětí, recyklujte jej nebo zlikvidujte podle místních předpisů.
Note: Vaše nabíječka může mít dvoubarevný LED displej, který ukazuje následující stavy nabíjení:
Červené světlo indikuje, že probíhá dobíjení akumulátoru.
Zelené světlo indikuje, že akumulátor je zcela dobitý nebo že nabíječka je odpojená od akumulátoru.
Střídavě blikající červené a zelené světlo indikuje, že akumulátor je téměř zcela dobitý. Tento stav trvá pouze několik minut, než se akumulátor zcela dobije.
Pokud nelze nabít akumulátor nebo spustit motor elektrickým startérem, příčinou může být spálená pojistka. Nahraďte ji elektrickou pojistkou 40 A.
Nadzvedněte zadní deflektor a najděte přihrádku pro akumulátor (Obrázek 30).

Vytřete z přihrádky pro akumulátor veškeré nečistoty.
Vyšroubujte šroub, který upevňuje přihrádku pro akumulátor, vytáhněte akumulátor a najděte pojistku (Obrázek 31).

Vyměňte pojistku v držáku (Obrázek 31).
Note: Stroj má v přihrádce pro akumulátor náhradní pojistku.
Upevněte přihrádku pro akumulátor šroubem, který jste vyšroubovali v kroku 3.
Nasaďte kryt na přihrádku pro akumulátor.
Spusťte zadní deflektor dolů.
| Servisní interval | Postup při údržbě |
|---|---|
| Každý rok |
|
Important: Pro správné namontování žacího nože budete potřebovat momentový klíč. Pokud nemáte momentový klíč nebo si provedením montáže nejste jistí, kontaktujte autorizované servisní středisko.
Po každém spotřebování paliva zkontrolujte žací nůž. Je-li žací nůž poškozený nebo prasklý, okamžitě jej vyměňte. Pokud ostří žacího nože je tupé nebo má vruby, nechte je nabrousit a vyvážit, nebo je vyměňte.
Žací nůž je ostrý; při kontaktu s nožem může dojít k vážnému poranění.
Při manipulaci se žacím nožem používejte rukavice.
Viz Příprava na údržbu.
Nakloňte stroj ke straně tak, aby vzduchový filtr směřoval nahoru.
K zajištění žacího nože použijte dřevěný špalek (Obrázek 32).

Sundejte žací nůž a uložte si veškeré upevňovací součástky (Obrázek 32).
Namontujte nový žací nůž a všechny upevňovací součástky (Obrázek 33).

Important: Zakřivené konce žacího nože musí směřovat ke krytu stroje.
Momentovým klíčem utáhněte upevňovací šroub žacího nože na utahovací moment 82 N·m.
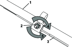
Při každé instalaci nového lanka ručního pohonu nebo v případě, že ruční pohon není správně seřízen, proveďte jeho seřízení.
Nastavení lanka povolte otáčením seřizovací matice proti směru hodinových ručiček (Obrázek 34).


Napnutí lanka (Obrázek 34) nastavte jeho zatažením dozadu nebo posunutím dopředu a jeho zajištěním v dané poloze.
Note: Chcete-li tahovou sílu zvýšit, posuňte lanko směrem k motoru; chcete-li tahovou sílu snížit, posuňte lanko směrem od motoru.
Nastavení lanka utáhněte otáčením seřizovací matice ve směru hodinových ručiček.
Note: Pomocí nástrčného klíče nebo obyčejného klíče matici pevně utáhněte.
Stroj uskladněte na chladném, čistém a suchém místě.
Před seřizováním, údržbou, čištěním nebo skladováním stroj vždy vypínejte, vyjímejte tlačítko elektrického startéru (dle výbavy), počkejte, dokud se nezastaví všechny pohyblivé součásti, a nechejte stroj vychladnout.
Při posledním doplňování paliva v roce přidejte do paliva stabilizátor paliva (např. přípravek Toro Premium Fuel Treatment), jak je uvedeno na štítku.
Veškeré nespotřebované palivo řádně zlikvidujte. Palivo recyklujte v souladu s místními předpisy nebo je použijte ve svém automobilu.
Important: Staré palivo v palivové nádrži je hlavní příčinou obtížného startování. Palivo bez stabilizátoru paliva neskladujte déle než 30 dní a stabilizované palivo neskladujte déle, než doporučuje výrobce stabilizátoru paliva.
Nechte stroj pracovat, dokud se palivo nespotřebuje a motor se nezastaví.
Spusťte znovu motor a nechte jej pracovat, dokud se sám nezastaví. Jakmile motor nejde nastartovat, je dostatečně suchý.
Odpojte koncovku zapalovací svíčky a upevněte kabel k přídržnému kolíku (dle výbavy); poté demontujte tlačítko elektrického startéru (dle výbavy).
Demontujte svíčku, do otvoru pro svíčku nalijte 30 ml motorového oleje a několikrát pomalu zatáhněte za lanko ručního startéru, aby se olej rozmístil po celém válci a v období mimo sezónu v něm tak nedocházelo ke korozi.
Namontujte volně zapalovací svíčku.
Utáhněte všechny matice a šrouby.
Pouze modely s elektrickým startérem: Akumulátor nabíjejte 24 hodin, potom nabíječku odpojte a uskladněte stroj v nevytápěném prostoru. Pokud stroj uskladňujete ve vytápěném prostoru, musíte každých 90 dnů dobít akumulátor. Viz Dobíjení akumulátoru.
Pouze modely s elektrickým startérem: Nabíjejte akumulátor 24 hodin, viz Dobíjení akumulátoru.
Zkontrolujte a dotáhněte všechny upevňovací prvky.
Vyjměte koncovku zapalovací svíčky a natočte rychle motor zatažením za držadlo ručního startéru, abyste z válce vyhnali přebytečný olej.
Namontujte zapalovací svíčku a utáhněte ji momentovým klíčem na utahovací moment 20 N·m.
Proveďte veškeré postupy údržby; viz .
Zkontrolujte hladinu oleje motoru; viz Kontrola hladiny motorového oleje.
Palivovou nádrž naplňte čerstvým palivem, viz Doplňování paliva do nádrže.
Připojte koncovku kabelu k zapalovací svíčce.