| Interval servisa održavanja | Postupak održavanja |
|---|---|
| Prije svake uporabe ili svakodnevno |
|
Ova kosilica s rotacijskim noževima namijenjena je kućevlasnicima. Prvenstveno je namijenjena košenju trave na dobro održavanim travnjacima okućnica. Upotreba ovog proizvoda u bilo koju drugu svrhu osim one za koju je namijenjen može biti opasna za vas i prolaznike.
Pažljivo pročitajte ove informacije kako biste naučili ispravno upravljati uređajem i održavati ga te kako biste izbjegli tjelesne ozljede i oštećenja uređaja. Odgovorni ste za ispravno i sigurno upravljanje uređajem.
Na internetskoj stranici www.Toro.com možete dobiti više informacija, uključujući sigurnosne savjete, materijale za obuku rukovatelja, informacije o dodatnoj opremi, pomoć pri nalaženju distributera ili možete registrirati uređaj.
Ako vam je potreban servis, originalni dijelovi proizvođača Toro ili dodatne informacije, obratite se ovlaštenom serviseru ili službi za korisnike tvrtke Toro i pripremite broj modela i serijski broj svog uređaja. Slika 1 prikazuje lokaciju broja modela i serijskog broja na uređaju. Upišite brojeve na za to predviđeno mjesto.
Important: S pomoću mobilnog uređaja možete skenirati QR kod na naljepnici sa serijskim brojem (ako postoji) kako biste pristupili podacima o jamstvu i dijelovima te ostalim informacijama o proizvodu

U ovom su priručniku navedene moguće opasnosti i sigurnosne poruke označene simbolom sigurnosnog upozorenja (Slika 2), koji upućuje na opasnost od teških ozljeda ili smrti u slučaju nepridržavanja preporučenih mjera opreza.

U priručniku se informacije ističu dvjema riječima. Riječ Važno upućuje na posebne mehaničke informacije, a riječ Napomena na opće informacije na koje treba obratiti posebnu pažnju.
Ovaj je uređaj u skladu sa svim relevantnim direktivama EU-a. Za više detalja pogledajte zasebnu izjavu o sukladnosti (DOC) za ovaj uređaj.
Priložene upute za upotrebu motora isporučuju se radi pružanja informacija povezanih s Američkom agencijom za zaštitu okoliša (EPA) i kalifornijskom uredbom o kontroli emisijskih sustava, održavanjem i jamstvom. Zamjenski dijelovi mogu se naručiti od proizvođača motora.
Bruto ili neto zakretni moment: bruto ili neto zakretni moment ovog motora ocijenio je proizvođač motora u laboratoriju u skladu s Društvom automobilskih inženjera (engl. Society of Automotive Engineers, SAE) J1940 ili J2723. Budući da je konfiguriran kako bi ispunio zahtjeve u pogledu sigurnosti, emisija i rada, stvarni zakretni moment motora u ovom razredu kosilice bit će znatno niži. Pogledajte informacije proizvođača motora priložene uređaju.
Nemojte neovlašteno mijenjati ili deaktivirati sigurnosne uređaje kojima je prozračivač opremljen i redovito provjeravajte funkcioniraju li ispravno. Nemojte podešavati ili neovlašteno mijenjati regulator brzine motora jer mogu nastati opasni uvjeti u kojima može doći do tjelesnih ozljeda.
Ovaj je uređaj izrađen u skladu sa zahtjevima norme EN ISO 5395.
Ovaj uređaj može amputirati ruke i noge i odbacivati predmete. Uvijek se pridržavajte svih sigurnosnih uputa kako biste izbjegli teške tjelesne ozljede.
Prije pokretanja motora s razumijevanjem pročitajte i slijedite upute i upozorenja navedena u ovim Uputama za upotrebu te na uređaju i njegovim priključcima.
Ne približavajte ruke ili noge pomičnim dijelovima uređaja i ne stavljajte ih ispod uređaja. Ne približavajte se otvorima izbacivača.
Ne upravljajte uređajem ako na njemu nisu postavljeni svi štitovi i drugi funkcionalni zaštitni uređaji koji ispravno rade.
Osigurajte da prolaznici i djeca budu izvan područja rada uređaja. Ne dopuštajte djeci da upravljaju uređajem. Uređajem smiju upravljati isključivo osobe koje su odgovorne, osposobljene, upoznate s Uputama i koje su fizički za to u stanju.
Prije servisiranja, ulijevanja goriva ili odčepljivanja uređaja zaustavite uređaj, isključite motor, isključite gumb za električno pokretanje (ako postoji) i pričekajte da se zaustave svi pomični dijelovi.
Neispravna upotreba ili održavanje ovog uređaja
može dovesti do ozljeda. Kako biste smanjili mogućnost
ozljeda, pridržavajte se ovih sigurnosnih uputa i uvijek obraćajte
pažnju na simbol sigurnosnog upozorenja
, koji označava Oprez,
Upozorenje ili Opasnost – upute za osobnu sigurnost. Nepridržavanje
uputa može dovesti do tjelesnih ozljeda ili smrti.
![]() |
Sigurnosne naljepnice i upute lako su vidljive korisniku i nalaze se blizu svih područja potencijalne opasnosti. Zamijenite sve naljepnice koje su oštećene ili otpale. |






Samo za model s električnim pokretanjem

Important: Uklonite i bacite zaštitnu plastičnu foliju kojom je pokriven motor kao i ostalu plastičnu zaštitu i ambalažu koja se nalazi na uređaju.
Important: Kako biste spriječili slučajno pokretanje, nemojte umetnuti gumb za električno pokretanje (ako postoji) dok niste spremni za pokretanje motora.
Note: Provjerite jesu li kabeli postavljeni s vanjske strane ručke i jesu li zaglavljeni (Slika 3, D).


Important: Kako biste sigurno i lako pokrenuli motor kad god koristite uređaj, postavite uže za ručno pokretanje u vodilicu užeta.

Important: Ako pokrenete motor dok je razina ulja u motoru previsoka ili preniska, može doći do oštećenja motora.


Samo model s električnim pokretanjem
Pogledajte Punjenje akumulatora.


| Model | Težina | Dužina | Širina | Visina |
|---|---|---|---|---|
| 21762 | 36 kg | 151 cm | 59 cm | 109 cm |
| 21763 | 40 kg | 151 cm | 59 cm | 109 cm |
Dostupan je niz priključaka i dodatne opreme za poboljšavanje i proširivanje mogućnosti uređaja koje je odobrila tvrtka Toro. Obratite se ovlaštenom serviseru ili distributeru tvrtke Toro ili posjetite stranicu www.Toro.com za popis svih odobrenih priključaka i dodatne opreme.
Kako biste osigurali optimalnu učinkovitost i daljnju primjenjivost certifikata o sigurnosti uređaja, upotrebljavajte samo originalne zamjenske dijelove i dodatnu opremu tvrtke Toro. Zamjenski dijelovi i dodatna oprema drugih proizvođača mogu biti opasni, a njihova upotreba može poništiti jamstvo.
Note: Odredite lijevu i desnu stranu uređaja s uobičajenog vozačevog položaja.
Prije podešavanja, servisiranja, čišćenja ili skladištenja uređaja uvijek isključite uređaj, uklonite gumb za električno pokretanje (ako postoji) i pričekajte da se zaustave svi pomični dijelovi te da se uređaj ohladi.
Upoznajte se sa sigurnim radom s opremom, komandama i sigurnosnim znakovima.
Provjerite jesu li na uređaju postavljeni svi štitnici i sigurnosni uređaji poput usmjerivača i/ili hvatača trave i jesu li funkcionalni.
Uvijek pregledajte uređaj kako biste osigurali da noževi i vijci noževa nisu istrošeni ili oštećeni.
Pregledajte područje na kojem namjeravate upotrebljavati uređaj i uklonite sve predmete koji bi mogli ometati rad uređaja ili koje bi uređaj mogao odbaciti.
Kontakt s pokretnim noževima uzrokovat će ozbiljne ozljede. Pri podešavanju visine košnje ne posežite prstima ispod kućišta.
Gorivo je izuzetno zapaljivo i vrlo eksplozivno. Požar ili eksplozija uzrokovana gorivom mogu uzrokovati opekline kod vas i drugih ljudi i oštetiti imovinu.
Nemojte puniti spremnik za gorivo unutar vozila ili zatvorenog prostora, nego postavite spremnik i/ili uređaj izravno na tlo kako statički naboj ne bi zapalio gorivo.
Punite spremnik za gorivo na otvorenom kad je motor hladan. Obrišite gorivo ako se prolije.
Nemojte rukovati gorivom dok pušite ili u blizini otvorenog plamena ili iskri.
Ne uklanjajte čep spremnika za gorivo i ne dolijevajte gorivo u spremnik dok je motor upaljen ili vruć.
Ako prolijete gorivo, ne pokrećite motor. Izbjegavajte stvaranje izvora paljenja dok se pare goriva ne rasplinu.
Skladištite gorivo u odobrenom spremniku i držite ga izvan dohvata djece.
Gorivo je štetno ako se proguta i može uzrokovati smrt. Dugotrajna izloženost parama goriva može uzrokovati teške ozljede i bolest.
Izbjegavajte dugotrajno udisanje ispušnih para.
Držite ruke i lice podalje od ubrizgača i otvora spremnika za gorivo.
Pazite da gorivo ne dođe u dodir s očima i kožom.
Za najbolje rezultate koristite samo čisti, svježi bezolovni benzin s oktanskim brojem 87 ili višim ((R+M)/2 metoda ocjenjivanja).
Prihvatljivo je oksigenirano gorivo s udjelom etanola od najviše 10 % ili 15 % MTBE-a.
Nemojte upotrebljavati mješavine etanola i benzina, kao što su E15 i E85, s udjelom etanola većim od 10 %. To može uzrokovati poteškoće u radu i/ili oštećenje motora koji možda nisu obuhvaćeni jamstvom.
Nemojte upotrebljavati benzin koji sadrži metanol.
Nemojte skladištiti gorivo u spremniku za gorivo ili kanistrima za gorivo tijekom zime ako gorivu nije dodan stabilizator.
Nemojte dodavati ulje u benzin.
Napunite spremnik za gorivo svježim bezolovnim običnim benzinom s ugledne benzinske postaje (Slika 9).
Important: Da biste smanjili probleme s pokretanjem, svježem gorivu dodajte stabilizator/konzervans goriva prema uputama proizvođača stabilizatora.
Za više informacija pročitajte upute za upotrebu motora.

| Interval servisa održavanja | Postupak održavanja |
|---|---|
| Prije svake uporabe ili svakodnevno |
|
Important: Ako pokrenete motor dok je razina ulja u bloku motoru previsoka ili preniska, može doći do oštećenja motora.


Ručku možete podići ili spustiti u jedan od dvaju položaja koji vam bolje odgovara (Slika 11).

Skinite oba okretna gumba.
Pomaknite ručku u položaj željene visine.
Učvrstite ručku s pomoću prethodno uklonjenih okretnih gumba.
Ako je motor radio, prigušivač će biti vruć i može vas opeći.
Ne dirajte vrući prigušivač.
Podesite visinu košnje po želji. Postavite sve kotače na istu visinu košnje (Slika 12).


Nosite prikladnu odjeću, uključujući zaštitu za oči, duge hlače, čvrstu obuću otpornu na proklizavanje i zaštitu za sluh. Zavežite kosu ako je duga i nemojte nositi labavu odjeću ili viseći nakit.
Pozorno upravljajte uređajem. Ne bavite se aktivnostima koje vas ometaju; u suprotnom može doći do ozljeda ili oštećenja imovine.
Ne upravljajte kosilicom ako ste bolesni, umorni ili pod utjecajem alkohola ili droga.
Nož je oštar. Ako ga dotaknete, može doći do teških tjelesnih ozljeda. Isključite motor, uklonite gumb za električno pokretanje (samo model s električnim pokretanjem) i pričekajte da se svi pomični dijelovi zaustave prije napuštanja položaja rukovatelja.
Kad otpustite polugu za upravljanje noževima, motor bi se trebao isključiti i nož bi se trebao prestati kretati u roku od 3 sekunde. U suprotnom smjesta prestanite upravljati uređajem i obratite se ovlaštenom serviseru.
Osigurajte da prolaznici budu izvan područja rada uređaja. Osigurajte da djeca budu izvan područja rada uređaja i da su pod nadzorom odgovorne odrasle osobe koja ne upravlja uređajem. Zaustavite uređaj ako bilo koja osoba uđe u područje rada.
Prije kretanja s uređajem unatrag obavezno pogledajte dolje i iza sebe.
Upravljajte uređajem samo kad je vidljivost dobra i u odgovarajućim vremenskim uvjetima. Ako postoji opasnost od munja, nemojte upravljati uređajem.
Ako se poskliznete na mokroj travi ili lišću možete pasti, doći u dodir s nožem i teško se ozlijediti. Izbjegavajte košnju u mokrim uvjetima.
Budite iznimno oprezni pri približavanju oštrim zavojima, grmlju, stablima ili drugim predmetima koji bi vam mogli zakloniti vidno polje.
Materijal koji se izbacuje nemojte usmjeravati prema drugim osobama. Izbjegavajte izbacivanje materijala prema zidovima ili preprekama. Materijal bi se mogao odbiti prema vama. Zaustavite nož/noževe kad prelazite preko šljunčanih površina.
Pazite na rupe, brazde, neravnine, kamenje i druge skrivene predmete. Na neravnom terenu možete izgubiti ravnotežu ili stabilnost.
Ako uređaj udari o predmet ili počne vibrirati, odmah ugasite motor, uklonite gumb za električno pokretanje (ako postoji), pričekajte da se svi pomični dijelovi zaustave i odspojite žicu sa svjećice prije pregleda uređaja i utvrđivanja oštećenja. Izvršite sve potrebne popravke prije nastavljanja s radom.
Prije napuštanja položaja rukovatelja isključite motor, uklonite gumb za električno pokretanje (samo model s električnim pokretanjem) i pričekajte da se svi pomični dijelovi zaustave.
Ako je motor radio, bit će vruć i može uzrokovati teške opekline. Ne dirajte vrući motor.
Motor smije raditi samo u dobro prozračenim prostorima. Ispušni plinovi sadržavaju ugljikov monoksid, koji je smrtonosan ako se udiše.
Redovito provjeravajte stanje dijelova hvatača trave i žlijeba za izbacivanje kako biste uočili znakove trošenja ili oštećenja i po potrebi ih zamijenite originalnim dijelovima tvrtke Toro.
Padine kosite poprijeko, nikada gore-dolje. Budite krajnje oprezni pri mijenjanju smjera na padinama.
Ne kosite na suviše strmim padinama. Uslijed nesigurne podloge mogli biste se poskliznuti i pasti.
U blizini padina, jaraka ili nasipa kosite oprezno.
Možete pokrenuti motor s pomoću gumba za električno pokretanje (ako postoji) ili ručice za ručno pokretanje.
Polugu za upravljanje noževima stisnite uz ručku (Slika 13, A).
Ako je gumb za električno pokretanje uklonjen, umetnite ga u električni pokretač (B na Slika 13).
Pritisnite gumb za električno pokretanje dok se motor ne pokrene (C na Slika 13).
Note: Ako se uređaj ne pokrene nakon nekoliko pokušaja, obratite se ovlaštenom serviseru.


Polugu za upravljanje noževima stisnite uz ručku (Slika 14, A).
Povucite ručicu za ručno pokretanje (Slika 14, B).
Note: Ručicu za ručno pokretanje prvo povucite lagano dok ne osjetite otpor, a zatim je povucite naglo. Pustite uže da se polako vrati u ručicu.
Note: Ako se uređaj ne pokrene nakon nekoliko pokušaja, obratite se ovlaštenom serviseru.


Za upravljanje samohodnim pogonom jednostavno hodajte držeći rukama gornju ručku i s laktovima sa strane, a uređaj će automatski ići u korak s vama (Slika 15).

Note: Ako se uređaj ne kreće slobodno unatrag nakon pokretanja samohodnog pogona, prestanite hodati, držite ruke na mjestu i dopustite uređaju da se kreće nekoliko centimetara prema naprijed kako bi se deaktivirao pogon kotača. Možete pokušati i posegnuti ispod gornje ručke do metalne ručke i gurnuti uređaj nekoliko centimetara prema naprijed. Ako se uređaj i dalje ne kreće slobodno unatrag, obratite se ovlaštenom serviseru.
| Interval servisa održavanja | Postupak održavanja |
|---|---|
| Prije svake uporabe ili svakodnevno |
|
Kako biste isključili motor, otpustite polugu za upravljanje noževima.
Note: Uklonite gumb za električno pokretanje (ako postoji) svaki put kad napustite uređaj.
Important: Kad otpustite polugu za upravljanje noževima, motor bi se trebao isključiti i nož bi se trebao prestati kretati u roku od 3 sekunde. U suprotnom smjesta prestanite upravljati uređajem i obratite se ovlaštenom serviseru.
Uređaj se isporučuje spreman za recikliranje pokošene trave i lišća na travnjaku.
Ako je vreća za travu na uređaju i poluga za opcionalno skupljanje u položaju za skupljanje, pomaknite polugu u položaj za recikliranje; pogledajte Upravljanje polugom za opcionalno skupljanje. Ako je žlijeb za bočno izbacivanje na uređaju, uklonite ga; pogledajte Uklanjanje žlijeba za bočno izbacivanje.
Upotrijebite vreću za travu kada skupljate pokošenu travu i lišće s travnjaka.
Ako je žlijeb za bočno izbacivanje na uređaju, uklonite ga; pogledajte Uklanjanje žlijeba za bočno izbacivanje. Ako je poluga za opcionalno skupljanje u položaju za recikliranje, pomaknite je u položaj za skupljanje; pogledajte Upravljanje polugom za opcionalno skupljanje.
Da biste uklonili vreću, provedite korake iz odjeljka Postavljanje vreće za travu obrnutim redoslijedom.
Funkcija opcionalnog skupljanja omogućuje vam da ili skupljate ili reciklirate pokošenu travu i lišće dok je vreća za travu postavljena na uređaj.
Kako biste sakupili pokošenu travu i lišće, pritisnite gumb na poluzi za opcionalno skupljanje i pomaknite polugu prema naprijed dok gumb na poluzi ne iskoči (Slika 17).

Kako biste reciklirali ili bočno izbacili pokošenu travu i lišće, pritisnite gumb na poluzi i pomaknite polugu prema natrag dok gumb na poluzi ne iskoči.
Important: Za ispravan rad isključite motor, pričekajte da se svi pomični dijelovi zaustave, a zatim uklonite svu pokošenu travu i krhotine s vrata za opcionalno skupljanje i okolnog otvora (Slika 18) prije pomicanja poluge za opcionalno skupljanje iz jednog položaja u drugi.

Koristite bočno izbacivanje kada kosite vrlo visoku travu.
Ako je vreća za travu na uređaju i poluga za opcionalno skupljanje u položaju za skupljanje, pomaknite polugu u položaj za recikliranje; pogledajte Upravljanje polugom za opcionalno skupljanje.
Odvojite i podignite bočni usmjerivač i postavite žlijeb za bočno izbacivanje (Slika 19).

Kako biste uklonili žlijeb za bočno izbacivanje, podignite bočni usmjerivač, skinite žlijeb za bočno izbacivanje i spustite usmjerivač za bočno izbacivanje dok čvrsto ne sjedne na mjesto.
Pregledajte područje na kojem namjeravate upotrebljavati uređaj i uklonite sve predmete koje bi uređaj mogao odbaciti.
Izbjegavajte udaranje tvrdih predmeta nožem. Nikad nemojte namjerno kositi preko bilo kojeg predmeta.
Ako uređaj udari o predmet ili počne vibrirati, odmah isključite motor, odspojite žicu sa svjećice, uklonite gumb za električno pokretanje (ako postoji) i provjerite je li došlo do oštećenja.
Za najbolje rezultate postavite novi nož prije početka sezone košnje.
Po potrebi zamijenite nož zamjenskim nožem tvrtke Toro.
Režite samo približno trećinu vlati trave odjednom. Nemojte rezati ispod 51 mm osim ako je trava rijetka ili ako kosite u kasnu jesen kada trava počinje rasti sporije.
Pri košenju trave dulje od 15 cm kosite na najvišoj postavci visine košnje i hodajte sporije; zatim ponovno kosite na nižoj postavci za što bolji izgled travnjaka. Ako je trava preduga, uređaj bi se mogao začepiti i tako uzrokovati zatajenje motora.
Mokra trava i lišće obično se formiraju u nakupine u dvorištu i mogu uzrokovati začepljenje uređaja ili zatajenje motora. Izbjegavajte košnju u mokrim uvjetima.
Obratite pozornost na moguću opasnost od požara u vrlo suhim uvjetima, pratite sva lokalna upozorenja za požare i osigurajte da u stroju nema suhe trave i ostataka lišća.
Mijenjajte smjer košnje. Tako se raspršuje pokošena trava i potiče ravnomjerna gnojidba.
Ako niste zadovoljni konačnim izgledom travnjaka, pratite jednu ili više sljedećih uputa:
Zamijenite nož ili ga dajte naoštriti.
Sporije hodajte tijekom košenja.
Podignite visinu košnje na uređaju.
Češće kosite travu.
Preklapajte područja košnje umjesto da u svakom navratu kosite jedno područje.
Nakon košenja travnjaka, provjerite je li pola travnjaka vidljivo kroz pokrov pokošenog lišća. Možda ćete morati više od jednom prijeći preko lišća.
Ako je na travnjaku više od 13 cm lišća, kosite na višoj postavci visine košnje i potom ponovno na željenoj visini košnje.
Usporite brzinu košnje ako uređaj dovoljno ne usitnjava lišće.
Prije podešavanja, servisiranja, čišćenja ili skladištenja uređaja uvijek isključite uređaj, uklonite gumb za električno pokretanje (ako postoji) i pričekajte da se zaustave svi pomični dijelovi te da se uređaj ohladi.
Uređaj očistite od trave i prljavštine kako ne bi došlo do požara. Očistite proliveno ulje ili gorivo.
Nikad nemojte skladištiti uređaj ili spremnik za gorivo u blizini otvorenog plamena, iskri ili žižaka poput onih na bojlerima ili drugim uređajima.
Uklonite gumb za električno pokretanje (ako postoji) prije utovara uređaja radi transporta.
Budite oprezni pri utovaru ili istovaru uređaja.
Uređaj osigurajte od kotrljanja.
| Interval servisa održavanja | Postupak održavanja |
|---|---|
| Prije svake uporabe ili svakodnevno |
|
Da biste postigli najbolje rezultate, čišćenje uređaja obavite neposredno nakon košnje.
Premjestite uređaj na ravnu betoniranu površinu.
Isključite motor i pričekajte da se svi pomični dijelovi zaustave prije nego što napustite položaj rukovatelja.
Spustite uređaj na najnižu visinu košnje. Pogledajte Podešavanje visine košnje.
Isperite područje ispod stražnjih vrata na kojem otkos prelazi s donje strane uređaja u vreću za travu.
Note: Isperite područje s funkcijom opcionalnog skupljanja (ako postoji) i u krajnjem prednjem i u krajnjem stražnjem položaju.
Na otvor za ispiranje (Slika 20) spojite vrtno crijevo priključeno na dovod vode.

Pustite vodu.
Pokrenite motor i pustite da radi sve dok ispod uređaja ne prestanu izlaziti ostaci otkosa.
Ugasite motor.
Isključite vodu i odspojite vrtno crijevo s uređaja.
Pokrenite motor i pustite da radi nekoliko minuta kako bi se donja strana uređaja osušila, što sprječava hrđanje.
Isključite motor, uklonite gumb za električno pokretanje (ako postoji) i pustite da se uređaj ohladi prije skladištenja u bilo kojem zatvorenom prostoru.
Uslijed nepravilnog sklapanja i rasklapanja ručke može doći do oštećenja kabela i opasnih radnih uvjeta.
Nemojte oštetiti kabele tijekom sklapanja ili rasklapanja ručke.
Ako se kabel ošteti, obratite se ovlaštenom serviseru.
Uklonite gumb za električno pokretanje (ako postoji); pogledajte Slika 21.

Skinite i sačuvajte 2 okretna gumba i 2 noseća vijka s nosača ručke (Slika 22).
Important: Pri sklapanju ručke postavite kabele s vanjske strane okretnih gumba.

Sklopite ručku tako da je savijete prema naprijed (Slika 23).

Umetnite noseći vijak (s glavom vijka okrenutom prema unutra) kroz nosač ručke i gornji otvor na rubu ručke. Provjerite sjedaju li četvrtasti rubovi svakog nosećeg vijka u gornje ili donje četvrtaste otvore u odgovarajućem nosaču ručke (Slika 24).

Labavo postavite okretne gumbe i noseće vijke na nosače ručke.
Kako biste rasklopili ručku, pogledajte Sastavljanje i rasklapanje ručke.
| Interval servisa održavanja | Postupak održavanja |
|---|---|
| Prije svake uporabe ili svakodnevno |
|
| Svakih 25 sati |
|
| Godišnje |
|
| Godišnje ili prije skladištenja |
|
Important: Pročitajte upute za upotrebu motora za detalje o dodatnim postupcima održavanja.
Prije bilo kakvih radova na održavanju uređaja odspojite žicu svjećice sa svjećice i uklonite gumb za električno pokretanje.
Nosite rukavice i zaštitu za oči tijekom servisiranja uređaja.
Nož je oštar. Ako ga dotaknete, može doći do teških tjelesnih ozljeda. Tijekom servisiranja noža nosite rukavice. Nemojte popravljati ili izmjenjivati nož/noževe.
Nemojte neovlašteno raditi izmjene na sigurnosnim uređajima. Redovito provjeravajte rade li ispravno.
Ako nagnete uređaj, može doći do istjecanja goriva. Gorivo je zapaljivo i eksplozivno i može uzrokovati tjelesne ozljede. Motor upotrebljavajte dok ne potrošite gorivo ili gorivo ispustite s pomoću ručne pumpe. Ni u kom slučaju nemojte upotrebljavati sifonsku pumpu.
Kako biste osigurali optimalnu učinkovitost uređaja, upotrebljavajte samo originalne zamjenske dijelove i dodatni pribor tvrtke Toro. Zamjenski dijelovi i dodatna oprema drugih proizvođača mogu biti opasni, a njihova upotreba može poništiti jamstvo.
Ugasite motor, uklonite gumb za električno pokretanje (ako postoji) i pričekajte da se svi pomični dijelovi zaustave.
Odspojite žicu svjećice sa svjećice (Slika 25).

Nakon održavanja žicu svjećice ponovno spojite sa svjećicom.
Important: Prije nego što nagnete uređaj kako biste zamijenili ulje ili nož, upotrebljavajte uređaj na uobičajen način dok ne potrošite gorivo. Ako morate nagnuti uređaj prije nego što se potroši gorivo, gorivo ispustite s pomoću ručne pumpe. Uređaj uvijek nagnite bočno tako da mjerna šipka bude usmjerena prema dolje.
| Interval servisa održavanja | Postupak održavanja |
|---|---|
| Svakih 25 sati |
|
| Godišnje |
|
Odspojite vrh poklopca filtra zraka (Slika 26).

Skinite filtar zraka (Slika 26).
Pregledajte filtar zraka.
Note: Ako je filtar zraka suviše prljav, zamijenite ga. U suprotnom lagano njime lupnite o tvrdu površinu kako bi iz njega ispale krhotine.
Postavite filtar zraka.
S pomoću zakačke postavite poklopac filtra zraka.
| Interval servisa održavanja | Postupak održavanja |
|---|---|
| Godišnje |
|
Nije potrebno mijenjanje motornog ulja, ali ako ga želite zamijeniti, pratite sljedeći postupak.
Note: Prije mijenjanja ulja pustite motor da radi nekoliko minuta kako bi se zagrijao. Toplo ulje tečnije je i uklanja više onečišćenja.
| Kapacitet motornog ulja | 0,44 l* |
| Viskoznost ulja | SAE 30 ili SAE 10W-30 deterdžentno ulje |
| Klasifikacija API servisa | SJ ili više |
*Nakon ispuštanja ulja u bloku motora ostaje malo ulja. Nemojte napuniti blok motora do punog kapaciteta. Napunite kućište motora uljem u skladu sa sljedećim uputama.
Premjestite uređaj na ravnu površinu.
Pogledajte Priprema za održavanje.
Mjernu šipku izvadite tako da čep okrenete u smjeru suprotnom od smjera kazaljke na satu i povučete ga (Slika 27).


Nagnite uređaj bočno (tako da filtar zraka bude usmjeren prema gore) kako biste ispustili iskorišteno ulje iz cijevi spremnika za ulje (Slika 28).

Nakon ispuštanja iskorištenog ulja vratite uređaj u radni položaj.
Pažljivo ulijte ¾ kapaciteta motornog ulja u cijev spremnika za ulje.
Pričekajte 3 minute da se ulje slegne u motoru.
Čistom krpom obrišite šipku za mjerenje razine ulja.
Umetnite šipku za mjerenje razine ulja u cijev spremnika za ulje, a zatim je izvadite.
Očitajte razinu ulja na šipki (Slika 27).
Ako je razina ulja na šipki preniska, pažljivo dolijte malo ulja u cijev spremnika za ulje, pričekajte 3 minute i ponavljajte korake od 8 do 10 sve dok razina ulja koja se očitava na šipki ne bude ispravna.
Ako je razina ulja na šipki previsoka, ispuštajte višak ulja sve dok razina na šipki ne bude ispravna.
Important: Ako pokrenete motor dok je razina ulja u motoru previsoka ili preniska, može doći do oštećenja motora.
Učvrstite šipku za mjerenje razine ulja na cijev spremnika za ulje.
Propisno reciklirajte iskorišteno ulje.
| Interval servisa održavanja | Postupak održavanja |
|---|---|
| Svakih 25 sati |
|
Punite akumulator 24 sata prvi put, a zatim jednom mjesečno (nakon svakih 25 pokretanja) ili po potrebi. Uvijek koristite punjač na zaklonjenom mjestu i punite akumulator na sobnoj temperaturi (22 °C) kad god je moguće.
Spojite punjač na kabelski svežanj ispod gumba za električno pokretanje (Slika 29).

Priključite punjač u zidnu utičnicu.
Note: Kad se akumulator počne prebrzo prazniti, reciklirajte olovni akumulator ili ga zbrinite u skladu s lokalnim propisima.
Note: Punjač akumulatora može imati dvobojni LED zaslon na kojem se prikazuju sljedeći stupnjevi napunjenosti:
Crveno svjetlo znači da punjač puni akumulator.
Zeleno svjetlo znači da je punjač potpuno napunjen ili da punjač nije spojen na akumulator.
Bljeskanje u kojem se izmjenjuje crveno i zeleno svjetlo znači da je akumulator gotovo potpuno napunjen. Taj stupanj traje samo nekoliko minuta dok se akumulator potpuno ne napuni.
Ako se akumulator ne puni ili ako motor ne radi na električni pokretač, moguće je da je osigurač pregorio. Zamijenite ga utičnim osiguračem od 40 A.
Podignite stražnji usmjerivač i pronađite odjeljak akumulatora (Slika 30).

Obrišite prljavštinu s područja oko odjeljka akumulatora.
Uklonite vijak kojim je pričvršćen odjeljak akumulatora, izvucite akumulator i pronađite osigurač (Slika 31).

Zamijenite osigurač u držaču osigurača (Slika 31).
Note: Vaš se uređaj isporučuje sa zamjenskim osiguračem u odjeljku akumulatora.
Pričvrstite odjeljak akumulatora pomoću vijka koji ste uklonili u koraku 3.
Postavite poklopac na odjeljak akumulator.
Spustite stražnji usmjerivač.
| Interval servisa održavanja | Postupak održavanja |
|---|---|
| Godišnje |
|
Important: Za ispravno postavljanje noža potreban je moment-ključ. Ako nemate moment-ključ ili se ne usudite sami izvršiti postupak, obratite se ovlaštenom serviseru.
Nož pregledajte svaki put kada ostanete bez goriva. Ako je nož oštećen ili napuknut, odmah ga zamijenite. Ako je oštrica noža tupa ili neravna, dajte ga naoštriti i uravnotežiti ili ga zamijenite.
Nož je oštar. Ako ga dotaknete, može doći do teških tjelesnih ozljeda.
Tijekom servisiranja noža nosite rukavice.
Pogledajte Priprema za održavanje.
Uređaj nagnite bočno tako da filtar zraka bude usmjeren prema gore.
Držite nož stabilnim s pomoću drvenog bloka (Slika 32).

Uklonite nož, osim dijelova za postavljanje (Slika 32).
Postavite nove nož i sve dijelove za postavljanje (Slika 33).

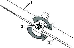
Important: Postavite zaobljene krajeve noža tako da su usmjereni prema kućištu uređaja.
S pomoću moment-ključa pritegnite vijak noža na 82 Nm.
Kad god postavite novi kabel za samohodni pogon ili samohodni pogon nije podešen, podesite samohodni pogon.
Okrenite maticu za podešavanje u smjeru suprotnom od kazaljki na satu kako biste smanjili napetost kabela (Slika 34).


Podesite napetost kabela (Slika 34) tako da ga povučete unatrag ili gurnete prema naprijed i držite u tom položaju.
Note: Gurnite kabel prema motoru kako biste povećali vučni pogon; povucite kabel dalje od motora kako biste smanjili vučni pogon.
Okrenite maticu za podešavanje u smjeru kazaljki na satu kako biste povećali napetost kabela.
Note: Čvrsto pritegnite maticu s pomoću ključa.
Čuvajte uređaj na hladnom, čistom i suhom mjestu.
Prije podešavanja, servisiranja, čišćenja ili skladištenja uređaja uvijek isključite uređaj, uklonite gumb za električno pokretanje (ako postoji) i pričekajte da se zaustave svi pomični dijelovi te da se uređaj ohladi.
Pri posljednjoj nadopuni goriva u godini u gorivo dodajte stabilizator (kao što je Toro Premium Fuel Treatment) u skladu s uputama na naljepnici.
Pravilno zbrinite neiskorišteno gorivo. Reciklirajte gorivo u skladu s lokalnim propisima ili ga iskoristite za svoj automobil.
Important: Staro gorivo u spremniku za gorivo glavni je razlog za teško pokretanje uređaja. Gorivo u koje nije dodan stabilizator nemojte skladištiti dulje od 30 dana, a gorivo sa stabilizatorom nemojte čuvati dulje od razdoblja koje preporučuje proizvođač stabilizatora.
Pustite uređaj da radi dok se motor ne ugasi zbog nedostatka goriva.
Ponovno pokrenite motor i pustite ga da radi dok se ne ugasi. Motor je dovoljno suh kad ga više ne možete pokrenuti.
Odspojite žicu sa svjećice i spojite je na držač (ako postoji) i uklonite gumb za električno pokretanje (ako postoji).
Izvadite svjećicu, dodajte 30 ml motornog ulja kroz otvor svjećice, polako povucite uže za ručno pokretanje nekoliko puta kako bi se ulje ravnomjerno rasporedilo u cilindru. Time se sprječava korozija cilindra izvan sezone upotrebe.
Labavo ugradite svjećicu.
Zategnite sve matice, vijke i šarafe.
Samo modeli s električnim pokretanjem: Punite akumulator 24 sata, a zatim iskopčajte punjač akumulatora iz struje i skladištite uređaj u hladnom prostoru. Ako morate skladištiti uređaj u toplom prostoru, morate puniti akumulator svakih 90 dana. Pogledajte Punjenje akumulatora.
Samo modeli s električnim pokretanjem: Punite akumulator 24 sata; pogledajte Punjenje akumulatora.
Provjerite i zategnite sve pričvrsne elemente.
Izvadite svjećicu i brzo provrtite motor tako da povučete ručicu za ručno pokretanje. Time se iz cilindra izbacuje višak ulja.
Umetnite svjećicu i zategnite je momentnim ključem na 20 Nm.
Provedite potrebne postupke odražavanja; pogledajte .
Provjerite razinu motornog ulja; pogledajte Provjeravanje razine motornog ulja.
Napunite spremnik za gorivo svježim gorivom; pogledajte Punjenje spremnika za gorivo.
Spojite žicu na svjećicu.