| Περιοδικότητα εργασιών συντήρησης | Διαδικασία συντήρησης |
|---|---|
| Πριν από κάθε χρήση ή καθημερινά |
|
Το παρόν χλοοκοπτικό μηχάνημα γκαζόν βαδίζοντα χειριστή με περιστροφική λεπίδα προορίζεται για οικιακή χρήση. Είναι σχεδιασμένο κυρίως για την κοπή γρασιδιού σε καλά συντηρημένο γκαζόν σε οικίες. Η χρήση αυτού του προϊόντος για άλλους σκοπούς πέραν του προβλεπόμενου ενδέχεται να ενέχει κινδύνους για εσάς και για τους διερχομένους.
Διαβάστε αυτές τις πληροφορίες προσεκτικά για να ενημερωθείτε για τη σωστή λειτουργία και συντήρηση του προϊόντος σας, καθώς και για την αποφυγή τραυματισμών και πρόκλησης ζημιών στο προϊόν. Είστε υπεύθυνοι για τη σωστή και ασφαλή λειτουργία του προϊόντος.
Επισκεφτείτε τη διεύθυνση www.Toro.com για περισσότερες πληροφορίες, όπως συμβουλές ασφαλείας ή εκπαιδευτικό υλικό, ή για να βρείτε τον πλησιέστερο αντιπρόσωπο και να καταχωρίσετε το προϊόν σας.
Για σέρβις, γνήσια ανταλλακτικά Toro ή πρόσθετες πληροφορίες μπορείτε να επικοινωνείτε με έναν εξουσιοδοτημένο αντιπρόσωπο σέρβις ή την Εξυπηρέτηση Πελατών της Toro αναφέροντας τον αριθμό μοντέλου και τον σειριακό αριθμό του προϊόντος σας. Στο Σχήμα 1 παρουσιάζεται η θέση στην οποία θα βρείτε την ετικέτα με το μοντέλο και τον σειριακό αριθμό του προϊόντος. ναγράψτε τους αριθμούς στο παρεχόμενο πεδίο.
Important: Με την κινητή σας συσκευή, μπορείτε να σαρώσετε τον κωδικό QR (αν υπάρχει) στην ετικέτα με τον σειριακό αριθμό σας για να δείτε πληροφορίες για την εγγύηση, τα ανταλλακτικά, καθώς και άλλες πληροφορίες για το προϊόν

Στο παρόν εγχειρίδιο προσδιορίζονται οι πιθανοί κίνδυνοι και παρατίθενται μηνύματα ασφάλειας. Τα μηνύματα αυτά αναγνωρίζονται από το προειδοποιητικό σύμβολο (Σχήμα 2), το οποίο δηλώνει έναν κίνδυνο που ενδέχεται να προκαλέσει σοβαρό τραυματισμό ή θάνατο εάν δεν ληφθούν οι συνιστώμενες προφυλάξεις.

Στο παρόν εγχειρίδιο χρησιμοποιούνται οι εξής 2 λέξεις για την επισήμανση συγκεκριμένων πληροφοριών. Σημαντικό εφιστά την προσοχή σε σημαντικές πληροφορίες μηχανολογικού ενδιαφέροντος και Σημείωση υπογραμμίζει πληροφορίες γενικού ενδιαφέροντος που χρήζουν ιδιαίτερης προσοχής.
Το συγκεκριμένο προϊόν είναι σε συμμόρφωση με όλες τις σχετικές Ευρωπαϊκές οδηγίες. Για λεπτομέρειες ανατρέξτε στη Δήλωση Συμμόρφωσης κάθε προϊόντος.
Το συνημμένο εγχειρίδιο χρήστη του κινητήρα παρέχεται με σκοπό την ενημέρωση σχετικά με την ρχή Προστασίας του Περιβάλλοντος των ΗΠ (EPA) και τον κανονισμό για τον έλεγχο των εκπομπών (Emission Control Regulation) της Πολιτείας της Καλιφόρνιας που διέπει τα συστήματα εκπομπών, τη συντήρηση και τους όρους εγγύησης. Σε περίπτωση απώλειας, μπορείτε να το παραγγείλετε μέσω του κατασκευαστή του κινητήρα.
Μικτή ή καθαρή ροπή: Η μικτή ή καθαρή ροπή του κινητήρα είναι εργαστηριακά διαβαθμισμένη από τον κατασκευαστή του κινητήρα σύμφωνα με το πρότυπο J1940 ή J2723 της μερικανικής Ένωσης Μηχανικών υτοκινήτων (Society of Automotive Engineers, SAE). Η πραγματική ροπή κινητήρα για αυτή την κατηγορία χλοοκοπτικών μηχανημάτων θα είναι σημαντικά χαμηλότερη, καθώς έχει προσαρμοστεί ώστε να πληροί τις απαιτήσεις ασφάλειας, εκπομπών και λειτουργίας. νατρέξτε στις πληροφορίες του κατασκευαστή του κινητήρα που παρέχονται με το μηχάνημα.
Μην πειράζετε και μην απενεργοποιείτε τις διατάξεις ασφαλείας του μηχανήματος, και ελέγχετε τακτικά αν λειτουργούν σωστά. Μην προσπαθήσετε να ρυθμίσετε και μην πειράξετε τη διάταξη ελέγχου στροφών του κινητήρα, καθώς αυτό μπορεί να οδηγήσει σε μη ασφαλείς συνθήκες λειτουργίας και να προκληθεί τραυματισμός.
υτό το μηχάνημα σχεδιάστηκε σύμφωνα με το πρότυπο EN ISO 5395.
υτό το προϊόν είναι ικανό να ακρωτηριάσει άκρα και να εκτοξεύσει αντικείμενα. Να ακολουθείτε πάντοτε όλες τις οδηγίες ασφαλείας για να αποφύγετε σοβαρό τραυματισμό.
Διαβάστε, κατανοήστε και τηρείτε τις οδηγίες και προειδοποιήσεις του παρόντος Εγχειριδίου Χειριστή, καθώς και τις οδηγίες και προειδοποιήσεις για τον κινητήρα και τα παρελκόμενα, πριν θέσετε τον κινητήρα σε λειτουργία.
Μην πλησιάζετε τα χέρια ή τα πόδια σας κοντά στα κινούμενα μέρη του μηχανήματος ή κάτω από το μηχάνημα. Μείνετε μακριά από τα ανοίγματα απόρριψης.
Μη θέτετε το μηχάνημα σε λειτουργία αν όλα τα προστατευτικά καλύμματα και οι άλλες προστατευτικές διατάξεις ασφαλείας δεν είναι στη θέση τους ή δεν λειτουργούν κανονικά.
Κρατήστε τους διερχομένους και τα παιδιά μακριά από τον χώρο λειτουργίας του μηχανήματος. Μην επιτρέπετε τον χειρισμό του μηχανήματος από παιδιά. Να επιτρέπετε τον χειρισμό του μηχανήματος μόνο από υπεύθυνα, εκπαιδευμένα άτομα που είναι εξοικειωμένα με τις οδηγίες και διαθέτουν την απαιτούμενη σωματική ικανότητα.
κινητοποιήστε το μηχάνημα, σβήστε τον κινητήρα, αφαιρέστε το κουμπί ηλεκτρικής εκκίνησης (αν υπάρχει) και περιμένετε να ακινητοποιηθούν όλα τα κινούμενα μέρη πριν προβείτε σε εργασίες συντήρησης, ανεφοδιασμού ή καθαρισμού του μηχανήματος.
Η ακατάλληλη
χρήση ή συντήρηση
του μηχανήματος
μπορεί να οδηγήσει
σε τραυματισμό.
Για να μειώσετε
τις πιθανότητες
τραυματισμού, ακολουθείτε
τις παρούσες οδηγίες
για την ασφάλεια
και δίνετε πάντα
προσοχή στο προειδοποιητικό
σύμβολο
, το οποίο
συνοδεύει οδηγίες
για την προσωπική ασφάλεια
με τις ενδείξεις
Προσοχή, Προειδοποίηση
ή Κίνδυνος. Η μη
συμμόρφωση με αυτές
τις οδηγίες μπορεί
να προκαλέσει
σωματικές βλάβες
ή θάνατο.
![]() |
Οι ετικέτες προειδοποίησης και οδηγιών ασφάλειας είναι εύκολα αναγνώσιμες από τον χειριστή και βρίσκονται κοντά σε κάθε πηγή δυνητικού κινδύνου. ντικαθιστάτε τις τυχόν φθαρμένες ή αποκολλημένες ετικέτες. |






Μόνο μοντέλα με ηλεκτρικό εκκινητή

Important: φαιρέστε και απορρίψτε το προστατευτικό φύλλο πλαστικού που καλύπτει τον κινητήρα και όλα τα άλλα πλαστικά ή συσκευασίες του μηχανήματος.
Important: Για να αποφευχθεί η ακούσια θέση του κινητήρα σε λειτουργία, τοποθετήστε το κουμπί ηλεκτρικής εκκίνησης στη μίζα ηλεκτρικής εκκίνησης (αν υπάρχει) μόνο όταν είστε έτοιμοι να θέσετε τον κινητήρα σε λειτουργία.
Note: εβαιωθείτε ότι τα καλώδια διέρχονται από το εξωτερικό μέρος της χειρολαβής και δεν έχουν τσακίσει (Σχήμα 3, D).


Important: Για να θέτετε τον κινητήρα σε λειτουργία με ασφάλεια και ευκολία κάθε φορά που χρησιμοποιείτε το μηχάνημα, τοποθετήστε το κορδόνι εκκίνησης στην κορδονιέρα.

Important: Εάν η στάθμη λαδιού στον κινητήρα είναι πολύ χαμηλή ή πολύ υψηλή και θέσετε τον κινητήρα σε λειτουργία, μπορεί να προκαλέσετε ζημιά στον κινητήρα.


Μόνο μοντέλα με ηλεκτρικό εκκινητή
νατρέξτε στην ενότητα Φόρτιση της μπαταρίας.


| Μοντέλο | άρος | Μήκος | Πλάτος | Ύψος |
|---|---|---|---|---|
| 21762 | 36 kg | 151 cm | 59 cm | 109 cm |
| (80 lb) | ||||
| 21763 | 40 kg | 151 cm | 59 cm | 109 cm |
| (89 lb) |
Για τη βελτίωση και διεύρυνση των δυνατοτήτων του μηχανήματός σας διατίθενται επιλεγμένα παρελκόμενα και εξαρτήματα που είναι εγκεκριμένα από την Toro. Για τον πλήρη κατάλογο όλων των εγκεκριμένων παρελκομένων και εξαρτημάτων, επικοινωνήστε με έναν εξουσιοδοτημένο αντιπρόσωπο σέρβις ή εξουσιοδοτημένο διανομέα της Toro ή επισκεφτείτε τη διεύθυνση www.Toro.com.
Για να εξασφαλίσετε τις μέγιστες δυνατές επιδόσεις και τη συνεχή πιστοποίηση ασφαλείας του μηχανήματος, χρησιμοποιείτε μόνο γνήσια ανταλλακτικά και εξαρτήματα Toro. Τα ανταλλακτικά και τα εξαρτήματα άλλων κατασκευαστών ενδέχεται να αποβούν επικίνδυνα και η χρήση τους να ακυρώσει την εγγύηση του προϊόντος σας.
Note: Καθορίστε την αριστερή και δεξιά πλευρά του μηχανήματος από την κανονική θέση χειρισμού.
Πριν προβείτε σε ρύθμιση, σέρβις, καθαρισμό ή αποθήκευση του μηχανήματος, θα πρέπει να σβήνετε τον κινητήρα, να αφαιρείτε το κουμπί ηλεκτρικής εκκίνησης (αν υπάρχει), να περιμένετε να ακινητοποιηθούν όλα τα κινούμενα μέρη και να αφήνετε το μηχάνημα να κρυώσει.
Εξοικειωθείτε με τον ασφαλή χειρισμό του εξοπλισμού, τα χειριστήρια, καθώς και τα σήματα ασφαλείας.
Ελέγξτε ότι όλα τα προστατευτικά καλύμματα και οι διατάξεις ασφαλείας, όπως παραπέτα ή/και συλλέκτης γρασιδιού, είναι στη θέση τους και λειτουργούν σωστά.
Επιθεωρείτε πάντα το μηχάνημα για να βεβαιώνεστε ότι οι λεπίδες και τα μπουλόνια των λεπίδων δεν είναι φθαρμένα ή κατεστραμμένα.
Επιθεωρήστε τον χώρο όπου πρόκειται να χρησιμοποιήσετε το μηχάνημα και απομακρύνετε όλα τα αντικείμενα που θα μπορούσαν να παρεμποδίσουν τη λειτουργία του μηχανήματος ή τα οποία θα μπορούσε να εκτοξεύσει το μηχάνημα.
Τυχόν επαφή με την κινούμενη λεπίδα θα προκαλέσει σοβαρό τραυματισμό. Κατά τη ρύθμιση του ύψους κοπής, μην βάζετε τα δάκτυλά σας κάτω από το περίβλημα.
Τα καύσιμα είναι εξαιρετικά εύφλεκτα και ιδιαίτερα εκρηκτικά. Η εκδήλωση πυρκαγιάς ή έκρηξης από καύσιμα μπορεί να προκαλέσει υλικές ζημιές και εγκαύματα σε εσάς ή άλλα άτομα.
Για την αποφυγή στατικού φορτίου από την ανάφλεξη του καυσίμου, τοποθετήστε το δοχείο ή/και το μηχάνημα απευθείας στο έδαφος πριν από το γέμισμα, και όχι σε όχημα ή πάνω σε κάποιο αντικείμενο.
Γεμίστε το ρεζερβουάρ σε υπαίθριο, ανοικτό χώρο, όταν ο κινητήρας είναι κρύος. ν χυθεί καύσιμο, καθαρίστε το.
Μην χειρίζεστε καύσιμα όταν καπνίζετε ή κοντά σε γυμνή φλόγα ή σπινθήρες.
Μην αφαιρείτε την τάπα καυσίμου και μην γεμίζετε το ρεζερβουάρ ενώ ο κινητήρας είναι σε λειτουργία ή δεν έχει κρυώσει.
ν χυθεί καύσιμο, μην επιχειρήσετε να θέσετε τον κινητήρα σε λειτουργία. ποφύγετε τη δημιουργία πηγής ανάφλεξης μέχρι να εξατμιστούν οι ατμοί του καυσίμου.
ποθηκεύστε το καύσιμο σε εγκεκριμένο δοχείο και φυλάξτε το μακριά από παιδιά.
Σε περίπτωση κατάποσης, το καύσιμο μπορεί να αποβεί επιβλαβές ή απειλητικό για τη ζωή. Η μακροχρόνια έκθεση στις αναθυμιάσεις μπορεί να προκαλέσει σοβαρό τραυματισμό και ασθένεια.
ποφύγετε την παρατεταμένη εισπνοή αναθυμιάσεων.
Κρατάτε τα χέρια και τα πρόσωπο σας μακριά από την αντλία και το άνοιγμα του ρεζερβουάρ.
Κρατάτε το καύσιμο μακριά από τα μάτια και το δέρμα.
Για καλύτερα αποτελέσματα, χρησιμοποιείτε μόνο καθαρή, φρέσκια αμόλυβδη βενζίνη 87 ή περισσότερων οκτανίων (βάσει της μεθόδου R+M/2).
Οξυγονωμένο καύσιμο με έως 10% αιθανόλη ή 15% MTBE κατ’ όγκο είναι αποδεκτό.
Μην χρησιμοποιείτε μίγματα βενζίνης με αιθανόλη, όπως E15 ή E85, που περιέχουν άνω του 10% αιθανόλη κατ’ όγκο. Μπορεί να προκληθούν προβλήματα απόδοσης ή/και ζημιά στον κινητήρα η οποία μπορεί να μην καλύπτεται από την εγγύηση.
Μην χρησιμοποιείτε βενζίνη που περιέχει μεθανόλη.
Εκτός αν έχετε προσθέσει στο καύσιμο σταθεροποιητικό καυσίμου, μην αποθηκεύετε καύσιμο στο ρεζερβουάρ ή σε δοχεία καυσίμου κατά τη διάρκεια του χειμώνα.
Μην προσθέτετε λάδι στη βενζίνη.
νεφοδιάζετε το ρεζερβουάρ καυσίμου με φρέσκια απλή αμόλυβδη βενζίνη από επώνυμα πρατήρια (Σχήμα 9).
Important: Για να μειώσετε τα προβλήματα εκκίνησης, προσθέστε σε φρέσκο καύσιμο σταθεροποιητικό/συντηρητικό όπως υποδεικνύει ο κατασκευαστής του.
Για περισσότερες πληροφορίες, ανατρέξτε στο εγχειρίδιο χρήστη του κινητήρα σας.

| Περιοδικότητα εργασιών συντήρησης | Διαδικασία συντήρησης |
|---|---|
| Πριν από κάθε χρήση ή καθημερινά |
|
Important: Εάν η στάθμη λαδιού στον στροφαλοθάλαμο είναι πολύ χαμηλή ή πολύ υψηλή και θέσετε τον κινητήρα σε λειτουργία, μπορεί να προκαλέσετε ζημιά στον κινητήρα.


Το ύψος της χειρολαβής μπορεί να ρυθμιστεί σε 2 θέσεις για να επιλέξετε τη θέση που σας βολεύει καλύτερα (Σχήμα 11).

φαιρέστε τις δύο στρόφιγγες στερέωσης της χειρολαβής.
Μετακινήστε τη χειρολαβή στο επιθυμητό ύψος.
Στερεώστε τη χειρολαβή με τις στρόφιγγες στερέωσης που αφαιρέσατε προηγουμένως.
Εάν ο κινητήρας βρισκόταν σε λειτουργία, ο σιγαστήρας θα έχει υψηλή θερμοκρασία και μπορεί να σας προκαλέσει εγκαύματα.
Μην πλησιάζετε τον σιγαστήρα όταν έχει υψηλή θερμοκρασία.
Ρυθμίστε το ύψος κοπής που επιθυμείτε. Ρυθμίστε όλους τους τροχούς στο ίδιο ύψος κοπής (Σχήμα 12).


Να φοράτε κατάλληλη ενδυμασία η οποία θα περιλαμβάνει προστατευτικά για τα μάτια, μακρύ παντελόνι, κατάλληλα αντιολισθητικά υποδήματα, καθώς και μέσα προστασίας της ακοής. Δένετε πίσω τα μαλλιά σας και μη φοράτε φαρδιά ρούχα ή κοσμήματα.
Ο χειρισμός του μηχανήματος απαιτεί την πλήρη προσοχή σας. Μην ασχολείστε με δραστηριότητες που σας αποσπούν την προσοχή, καθώς αυτό θα μπορούσε να οδηγήσει σε τραυματισμό ή υλικές βλάβες.
Μη χειρίζεστε το μηχάνημα εάν είστε άρρωστοι, κουρασμένοι ή βρίσκεστε υπό την επήρεια αλκοόλ ή φαρμάκων.
Η λεπίδα είναι κοφτερή. Η επαφή με τη λεπίδα μπορεί να έχει ως αποτέλεσμα την πρόκληση σοβαρών σωματικών βλαβών. Προτού απομακρυνθείτε από τη θέση του χειριστή, σβήστε τον κινητήρα, αφαιρέστε το κουμπί ηλεκτρικής εκκίνησης (μόνο μοντέλα με ηλεκτρικό εκκινητή) και περιμένετε να ακινητοποιηθούν όλα τα κινούμενα μέρη.
Όταν απελευθερώνετε τη ράβδο ελέγχου της λεπίδας κοπής, ο κινητήρας θα πρέπει να σβήσει και η λεπίδα θα πρέπει να ακινητοποιηθεί εντός 3 δευτερολέπτων. Σε αντίθετη περίπτωση, διακόψτε αμέσως τη χρήση του μηχανήματος και επικοινωνήστε με εξουσιοδοτημένο αντιπρόσωπο σέρβις.
Κρατήστε τους διερχόμενους μακριά από τον χώρο λειτουργίας του μηχανήματος. Κρατήστε τα μικρά παιδιά μακριά από τον χώρο λειτουργίας του μηχανήματος και υπό την επιτήρηση υπεύθυνου ενήλικα ο οποίος δεν χειρίζεται το μηχάνημα. κινητοποιήστε το μηχάνημα αν κάποιος εισέλθει στον χώρο εργασίας.
Κοιτάτε πάντα κάτω και πίσω σας προτού μετακινήσετε το μηχάνημα με οπισθοπορεία.
Χρησιμοποιείτε το μηχάνημα μόνον όταν υπάρχει καλή ορατότητα και κατάλληλες καιρικές συνθήκες. Μη θέτετε το μηχάνημα σε λειτουργία όταν υπάρχει κίνδυνος κεραυνού.
Το βρεγμένο χορτάρι και τα βρεγμένα φύλλα μπορούν να οδηγήσουν σε σοβαρό τραυματισμό αν γλιστρήσετε και έρθετε σε επαφή με τη λεπίδα. ποφύγετε την κοπή σε βρεγμένο χώρο.
Να είστε ιδιαίτερα προσεκτικοί όταν πλησιάζετε σε στροφές χωρίς ορατότητα, θάμνους, δέντρα ή άλλα αντικείμενα που μπορεί να περιορίζουν την ορατότητά σας.
Μην στρέφετε το υλικό απόρριψης προς την κατεύθυνση άλλων ατόμων. ποφύγετε την απόρριψη υλικού σε τοίχο ή άλλο εμπόδιο γιατί το υλικό μπορεί να εξοστρακιστεί προς τα εσάς. Σταματήστε τη/τις λεπίδα/-ες όταν διέρχεστε από επιφάνειες με χαλίκι.
Έχετε το νου σας για λακκούβες, αυλάκια, προεξοχές, βράχους ή άλλα κρυμμένα αντικείμενα. Το ανώμαλο έδαφος μπορεί να σας κάνει να χάσετε την ισορροπία ή το πάτημά σας.
Εάν το μηχάνημα κτυπήσει κάποιο αντικείμενο ή εάν παρατηρήσετε κραδασμούς, σβήστε αμέσως τον κινητήρα, αφαιρέστε το κουμπί ηλεκτρικής εκκίνησης (αν διατίθεται), περιμένετε να ακινητοποιηθούν όλα τα κινούμενα μέρη και αποσυνδέστε το καλώδιο του μπουζί προτού εξετάσετε το μηχάνημα για τυχόν ζημιές. Εκτελέστε όλες τις απαιτούμενες επισκευές πριν το θέσετε ξανά σε λειτουργία.
Προτού απομακρυνθείτε από τη θέση του χειριστή, σβήστε τον κινητήρα, αφαιρέστε το κουμπί ηλεκτρικής εκκίνησης (μόνο μοντέλα με ηλεκτρικό εκκινητή) και περιμένετε να ακινητοποιηθούν όλα τα κινούμενα μέρη.
Εάν ο κινητήρας βρισκόταν σε λειτουργία, θα έχει υψηλή θερμοκρασία και μπορεί να σας προκαλέσει σοβαρά εγκαύματα. Μην πλησιάζετε τον κινητήρα όταν έχει υψηλή θερμοκρασία.
Χειρίζεστε το μηχάνημα μόνο σε καλά αεριζόμενους χώρους. Τα καυσαέρια περιέχουν μονοξείδιο του άνθρακα, το οποίο είναι θανατηφόρο σε περίπτωση εισπνοής.
Ελέγχετε τακτικά τα μέρη του συλλέκτη γρασιδιού και τον συλλέκτη απόρριψης για τυχόν φθορές ή αλλοιώσεις, και, εφόσον απαιτείται, αντικαταστήστε τα με γνήσια ανταλλακτικά Toro.
Κινείτε το μηχάνημα από τη μία πλευρά του επικλινούς εδάφους προς την άλλη και ποτέ κατακόρυφα (προς τα πάνω ή προς τα κάτω). Η αλλαγή κατεύθυνσης σε επικλινές έδαφος απαιτεί ιδιαίτερη προσοχή.
Μην χρησιμοποιείτε το μηχάνημα σε επικλινή εδάφη με υπερβολικά μεγάλη κλίση. Η ανεπαρκής σταθερότητα μπορεί να οδηγήσει σε ατύχημα με ολίσθηση και πτώση.
Χειρίζεστε προσεκτικά το μηχάνημα κοντά σε χώρους απόρριψης, χαντάκια και αναχώματα.
Μπορείτε να θέσετε τον κινητήρα σε λειτουργία χρησιμοποιώντας είτε το κουμπί ηλεκτρικής εκκίνησης (αν υπάρχει) είτε τη λαβή της κορδονιέρας εκκίνησης.
Κρατήστε τη ράβδο ελέγχου των λεπίδων κοπής πατημένη πάνω στη χειρολαβή (Σχήμα 13, ).
Εάν το κουμπί ηλεκτρικής εκκίνησης έχει αφαιρεθεί, τοποθετήστε το στην ηλεκτρική μίζα (Σχήμα 13, ).
Πατήστε το κουμπί ηλεκτρικής εκκίνησης μέχρι να τεθεί σε λειτουργία ο κινητήρας (Σχήμα 13, C).
Note: Εάν το μηχάνημα δεν πάρει μπρος μετά από αρκετές προσπάθειες, επικοινωνήστε με έναν εξουσιοδοτημένο αντιπρόσωπο σέρβις.


Κρατήστε τη ράβδο ελέγχου των λεπίδων κοπής πατημένη πάνω στη χειρολαβή (Σχήμα 14, ).
Τραβήξτε τη λαβή της κορδονιέρας εκκίνησης (Σχήμα 14, ).
Note: Κατά το τράβηγμα της λαβής της κορδονιέρας εκκίνησης, τραβήξτε απαλά τη λαβή μέχρι να αισθανθείτε αντίσταση και, κατόπιν, τραβήξτε την απότομα. φήστε το κορδόνι να επιστρέψει αργά στην κορδονιέρα της λαβής.
Note: Εάν το μηχάνημα δεν πάρει μπρος μετά από αρκετές προσπάθειες, επικοινωνήστε με έναν εξουσιοδοτημένο αντιπρόσωπο σέρβις.


Για να χειριστείτε το μηχάνημα με την αυτοκινούμενη λειτουργία, βαδίστε κρατώντας τη χειρολαβή με τα χέρια σας λυγισμένα (με τους αγκώνες κολλημένους στα πλευρά). Το μηχάνημα θα προσαρμόζεται αυτόματα στον ρυθμό βαδίσματός σας (Σχήμα 15).

Note: ν το μηχάνημα δεν κυλά ελεύθερα προς τα πίσω μετά την αυτοκινούμενη λειτουργία, σταματήστε να βαδίζετε (διατηρώντας τα χέρια σας στην ίδια θέση) και αφήστε το μηχάνημα να κυλήσει 2-3 εκατοστά προς τα εμπρός, έτσι ώστε να απεμπλακεί ο μηχανισμός οδήγησης τροχών. Μπορείτε επίσης να εντοπίσετε τη μεταλλική λαβή ακριβώς κάτω από το αναδιπλούμενο μέρος της χειρολαβής και να ωθήσετε το μηχάνημα προς τα εμπρός κατά 2-3 εκατοστά. ν το μηχάνημα εξακολουθεί να μην κυλά εύκολα προς τα πίσω, επικοινωνήστε με έναν εξουσιοδοτημένο αντιπρόσωπο σέρβις.
| Περιοδικότητα εργασιών συντήρησης | Διαδικασία συντήρησης |
|---|---|
| Πριν από κάθε χρήση ή καθημερινά |
|
Για να σβήσει ο κινητήρας, αφήστε ελεύθερη τη ράβδο ελέγχου των λεπίδων κοπής.
Note: Κάθε φορά που απομακρύνεστε από το μηχάνημα, αφαιρείτε το κουμπί ηλεκτρικής εκκίνησης (αν υπάρχει).
Important: Όταν απελευθερώνετε τη ράβδο ελέγχου των λεπίδων κοπής, ο κινητήρας θα πρέπει να σβήσει και η λεπίδα θα πρέπει να ακινητοποιηθεί εντός 3 δευτερολέπτων. Σε αντίθετη περίπτωση, διακόψτε αμέσως τη χρήση του μηχανήματος και επικοινωνήστε με εξουσιοδοτημένο αντιπρόσωπο σέρβις.
άσει των εργοστασιακών ρυθμίσεών του, το μηχάνημά σας ανακυκλώνει τα κομμένα χόρτα και φύλλα αφήνοντάς τα και πάλι πάνω στο γκαζόν.
ν ο σάκος συλλογής χόρτου είναι τοποθετημένος στο μηχάνημα και ο επιλογέας συλλογής/ανακύκλωσης βρίσκεται στη θέση συλλογής, μετακινήστε τον επιλογέα στη θέση ανακύκλωσης· ανατρέξτε στην ενότητα Χειρισμός του επιλογέα συλλογής/ανακύκλωσης. Εάν ο συλλέκτης πλευρικής απόρριψης είναι τοποθετημένος στο μηχάνημα, αφαιρέστε τον· ανατρέξτε στην ενότητα φαίρεση του συλλέκτη πλευρικής απόρριψης.
Χρησιμοποιήστε τον σάκο συλλογής χόρτου όταν επιθυμείτε να συλλέξετε τα κομμένα χόρτα και φύλλα.
Εάν ο συλλέκτης πλευρικής απόρριψης είναι τοποθετημένος στο μηχάνημα, αφαιρέστε τον ανατρέξτε στην ενότητα φαίρεση του συλλέκτη πλευρικής απόρριψης. ν ο επιλογέας συλλογής/ανακύκλωσης βρίσκεται στη θέση ανακύκλωσης, μετακινήστε τον στη θέση συλλογής· ανατρέξτε στην ενότητα Χειρισμός του επιλογέα συλλογής/ανακύκλωσης.
Για να αφαιρέσετε τον σάκο, εκτελέστε τα βήματα της ενότητας Τοποθέτηση του σάκου συλλογής χόρτουμε αντίστροφη σειρά.
Η δυνατότητα επιλογής λειτουργίας συλλογής/ανακύκλωσης σάς επιτρέπει είτε να συλλέγετε είτε να ανακυκλώνετε τα κομμένα χόρτα και φύλλα όταν ο σάκος συλλογής χόρτου είναι τοποθετημένος στο μηχάνημα.
Για να συλλέξετε τα κομμένα χόρτα και φύλλα, πατήστε το κουμπί του επιλογέα συλλογής/ανακύκλωσης και μετακινήστε τον επιλογέα προς τα εμπρός, έως ότου εμφανιστεί το κουμπί του επιλογέα (Σχήμα 17).

Για τη συλλογή ή την πλευρική απόρριψη των κομμένων χόρτων και φύλλων, πατήστε το κουμπί του επιλογέα και μετακινήστε τον επιλογέα προς τα πίσω, έως ότου εμφανιστεί το κουμπί του επιλογέα.
Important: Για σωστή λειτουργία, σβήστε τον κινητήρα, περιμένετε να ακινητοποιηθούν όλα τα κινούμενα μέρη και, στη συνέχεια, απομακρύνετε κομμένα χόρτα και άλλες ακαθαρσίες από τη θύρα συλλογής/ανακύκλωσης και το γύρω άνοιγμα (Σχήμα 18) προτού μετακινήσετε τον επιλογέα συλλογής/ανακύκλωσης από τη θέση 1 σε άλλη θέση.

Χρησιμοποιήστε τη λειτουργία πλευρικής απόρριψης για την κοπή γρασιδιού με πολύ μεγάλο ύψος.
ν ο σάκος συλλογής χόρτου είναι τοποθετημένος στο μηχάνημα και ο επιλογέας συλλογής/ανακύκλωσης βρίσκεται στη θέση συλλογής, μετακινήστε τον επιλογέα στη θέση ανακύκλωσης· ανατρέξτε στην ενότητα Χειρισμός του επιλογέα συλλογής/ανακύκλωσης.
πασφαλίστε και ανασηκώστε τον εκτροπέα πλευρικής απόρριψης, και τοποθετήστε τον συλλέκτη πλευρικής απόρριψης (Σχήμα 19).

Για να αφαιρέσετε τον συλλέκτη πλευρικής απόρριψης, ανασηκώστε τον συλλέκτη πλευρικής απόρριψης και κατεβάστε τον εκτροπέα πλευρικής απόρριψης μέχρι να μανδαλωθεί με ασφάλεια.
Επιθεωρήστε τον χώρο όπου πρόκειται να χρησιμοποιήσετε το μηχάνημα και απομακρύνετε όλα τα αντικείμενα που θα μπορούσε να εκτοξεύσει το μηχάνημα.
ποφύγετε την πρόσκρουση σταθερών αντικειμένων με τη λεπίδα. Μην περνάτε ποτέ σκοπίμως το μηχάνημα πάνω από κάποιο αντικείμενο.
Εάν το μηχάνημα κτυπήσει κάποιο αντικείμενο ή εάν παρατηρήσετε κραδασμούς, σβήστε αμέσως τον κινητήρα, αποσυνδέστε το καλώδιο του μπουζί, αφαιρέστε το κουμπί ηλεκτρικής εκκίνησης (αν υπάρχει) και εξετάστε το μηχάνημα για τυχόν ζημιές.
Για βέλτιστη απόδοση, τοποθετήστε μια καινούρια λεπίδα πριν από την έναρξη της περιόδου κοπής.
ντικαταστήστε τη λεπίδα, εφόσον είναι αναγκαίο, με ανταλλακτική λεπίδα Toro.
Κόβετε μόνο περίπου το ένα τρίτο του ύψους του γρασιδιού κάθε φορά. Μην κόβετε το γρασίδι πιο κοντό από 51 mm, παρά μόνο αν είναι αραιό ή κατά τους όψιμους φθινοπωρινούς μήνες κατά τους οποίους η ανάπτυξή του αρχίζει να επιβραδύνεται.
Κατά την κοπή γρασιδιού με ύψος άνω των 15 cm, χρησιμοποιήστε την υψηλότερη ρύθμιση ύψους κοπής και κινηθείτε πιο αργά και, στη συνέχεια, περάστε ξανά την περιοχή με χαμηλότερη ρύθμιση για βέλτιστη εμφάνιση. Εάν το γρασίδι είναι πολύ ψηλό, το μηχάνημα μπορεί να βουλώσει και να προκληθεί ρετάρισμα του κινητήρα.
Τα υγρά χόρτα ή φύλλα έχουν την τάση να συσσωματώνονται και μπορεί να βουλώσουν το μηχάνημα ή να προκαλέσουν ρετάρισμα του κινητήρα. ποφύγετε την κοπή σε βρεγμένο χώρο.
Έχετε το νου σας για ενδεχόμενο πυρκαγιάς σε πολύ ξηρές συνθήκες, τηρείτε όλες τις τοπικές προειδοποιήσεις κινδύνου πυρκαγιάς και διατηρείτε το μηχάνημα καθαρό από ξερά χόρτα και φύλλα.
λλάξτε την κατεύθυνση κοπής. υτό συμβάλλει στην διασπορά των κομμένων χόρτων και φύλλων στο έδαφος για ομοιόμορφη λίπανση.
Εάν η τελική εμφάνιση του γκαζόν δεν είναι ικανοποιητική, δοκιμάστε 1 ή περισσότερα από τα εξής:
ντικαταστήστε ή ακονίστε τη λεπίδα.
Κινηθείτε με πιο αργό ρυθμό κατά την κοπή.
υξήστε το ύψος κοπής του μηχανήματος.
Κόβετε το γρασίδι πιο συχνά.
Φροντίστε να υπάρχει αλληλοεπικάλυψη στις σειρές κομμένου χόρτου αντί να περνάτε μια ολόκληρη σειρά κάθε φορά.
φού κόψετε το γκαζόν, βεβαιωθείτε ότι είναι ορατό το μισό γρασίδι μέσα από τα κομμένα φύλλα που το καλύπτουν. Μπορεί να χρειαστεί να περάσετε τα φύλλα αρκετές φορές με το μηχάνημα.
ν το γρασίδι καλύπτεται από στρώμα φύλλων πάχους άνω των 13 cm, κάντε ένα πρώτο πέρασμα με υψηλότερη ρύθμιση ύψους κοπής και μετά ένα δεύτερο με την επιθυμητή ρύθμιση ύψους κοπής.
Επιβραδύνετε τον ρυθμό κοπής αν το μηχάνημα δεν κόβει τα φύλλα αρκετά ψιλά.
Πριν προβείτε σε ρύθμιση, σέρβις, καθαρισμό ή αποθήκευση του μηχανήματος, θα πρέπει να σβήνετε τον κινητήρα, να αφαιρείτε το κουμπί ηλεκτρικής εκκίνησης (αν υπάρχει), να περιμένετε να ακινητοποιηθούν όλα τα κινούμενα μέρη και να αφήνετε το μηχάνημα να κρυώσει.
Καθαρίστε τα χόρτα και τα ξένα υλικά από το μηχάνημα, για να αποτρέψετε τον κίνδυνο πυρκαγιάς. ν έχει χυθεί λάδι ή καύσιμο, καθαρίστε το.
Μην αποθηκεύετε ποτέ το μηχάνημα ή τα δοχεία καυσίμων σε χώρους με γυμνές φλόγες, σπινθήρες ή φλόγα-πιλότο (π.χ. σε καυστήρα, λέβητα ή άλλες συσκευές).
φαιρέστε το κουμπί ηλεκτρικής εκκίνησης (αν διατίθεται) προτού φορτώσετε το μηχάνημα για τη μεταφορά του.
Να είστε προσεκτικοί κατά τη φόρτωση ή εκφόρτωση του μηχανήματος.
Στερεώστε καλά το μηχάνημα για να αποτρέψετε πιθανή ανατροπή του.
| Περιοδικότητα εργασιών συντήρησης | Διαδικασία συντήρησης |
|---|---|
| Πριν από κάθε χρήση ή καθημερινά |
|
Για καλύτερα αποτελέσματα, ο καθαρισμός του μηχανήματος πρέπει να γίνεται εντός σύντομου διαστήματος από την ολοκλήρωση της κοπής.
Μετακινήστε το μηχάνημα σε επίπεδη επιφάνεια (εκτός χώματος/γκαζόν).
Προτού απομακρυνθείτε από τη θέση του χειριστή, σβήστε τον κινητήρα και περιμένετε να ακινητοποιηθούν όλα τα κινούμενα μέρη.
Επιλέξτε την χαμηλότερη ρύθμιση ύψους κοπής για να χαμηλώσετε το μηχάνημα. νατρέξτε στην ενότητα Ρύθμιση του ύψους κοπής.
Πλύντε τον χώρο κάτω από την οπίσθια θύρα, όπου τα κομμένα χόρτα και φύλλα οδηγούνται από το κάτω μέρος του μηχανήματος στον σάκο συλλογής χόρτου.
Note: Πλύντε τον χώρο όπου βρίσκεται ο σάκος συλλογής χόρτου (εφόσον υπάρχει) και στις δύο θέσεις, εντελώς προς τα εμπρός και εντελώς προς τα πίσω.
Εφαρμόστε στη θύρα έκπλυσης ένα λάστιχο ποτίσματος συνδεδεμένο με παροχή νερού (Σχήμα 20).

Aνοίξτε την παροχή νερού.
άλτε μπρος τον κινητήρα και αφήστε τον σε λειτουργία έως ότου σταματήσει η έξοδος κομμένων χόρτων και φύλλων από το κάτω μέρος του μηχανήματος.
Σβήστε τον κινητήρα.
Κλείστε την παροχή νερού και αποσυνδέστε το λάστιχο ποτίσματος από το μηχάνημα.
άλτε μπρος τον κινητήρα και αφήστε τον σε λειτουργία για λίγα λεπτά ώστε να στεγνώσει η κάτω πλευρά του μηχανήματος, για να αποφευχθεί η δημιουργία σκουριάς.
Πριν αποθηκεύσετε το μηχάνημα σε κλειστό χώρο, σβήστε τον κινητήρα, αφαιρέστε το κουμπί ηλεκτρικής εκκίνησης (αν υπάρχει) και αφήστε το μηχάνημα να κρυώσει.
Εάν δεν διπλώσετε ή ξεδιπλώσετε σωστά τη χειρολαβή, μπορεί να προκληθεί ζημιά στα καλώδια, που με τη σειρά της μπορεί να οδηγήσει σε μη ασφαλή κατάσταση λειτουργίας.
Προσέξτε να μην προκληθεί ζημιά στα καλώδια όταν αναδιπλώνετε ή ξεδιπλώνετε τη χειρολαβή.
Εάν κάποιο καλώδιο υποστεί ζημιά, επικοινωνήστε με έναν εξουσιοδοτημένο αντιπρόσωπο σέρβις.
φαιρέστε το κουμπί ηλεκτρικής εκκίνησης (αν διατίθεται)· ανατρέξτε στην Σχήμα 21.

φαιρέστε τις 2 στρόφιγγες στερέωσης της χειρολαβής και τα 2 μπουλόνια κίνησης από τους βραχίονες της λαβής (Σχήμα 22).
Important: Κατά την αναδίπλωση της χειρολαβής, βεβαιωθείτε ότι τα καλώδια διέρχονται από το εξωτερικό μέρος των στροφίγγων της χειρολαβής.

Διπλώστε τη λαβή μετακινώντας την προς τα εμπρός (Σχήμα 23).

Εισάγετε το μπουλόνι κίνησης (με την κεφαλή του να είναι στραμμένη προς το εσωτερικό) στον βραχίονα της λαβής και στην επάνω οπή του άκρου της λαβής. εβαιωθείτε ότι τα τετραγωνικά άκρα κάθε μπουλονιού κίνησης εφαρμόζουν στην επάνω ή την κάτω οπή του αντίστοιχου άκρου της λαβής (Σχήμα 24).

Τοποθετήστε τις στρόφιγγες στερέωσης και τα μπουλόνια κίνησης στους βραχίονες της χειρολαβής, χωρίς να τα σφίξετε πολύ.
Για να ξεδιπλώσετε τη χειρολαβή, ανατρέξτε στην ενότητα Συναρμολόγηση και ξεδίπλωση της χειρολαβής.
| Περιοδικότητα εργασιών συντήρησης | Διαδικασία συντήρησης |
|---|---|
| Πριν από κάθε χρήση ή καθημερινά |
|
| SΚάθε 25 ώρες |
|
| Κάθε χρόνο |
|
| Κάθε χρόνο ή πριν από την αποθήκευση |
|
Important: Για περισσότερες διαδικασίες συντήρησης, ανατρέξτε στο εγχειρίδιο χρήστη του κινητήρα σας.
ποσυνδέστε το καλώδιο του μπουζί και αφαιρέστε το κουμπί ηλεκτρικής εκκίνησης προτού εκτελέσετε οποιαδήποτε εργασία συντήρησης.
Κατά το σέρβις του μηχανήματος, φοράτε γάντια και προστατευτικά για τα μάτια.
Η λεπίδα είναι κοφτερή. Η επαφή με τη λεπίδα μπορεί να έχει ως αποτέλεσμα την πρόκληση σοβαρών σωματικών βλαβών. Κατά την επισκευή της λεπίδας, φοράτε γάντια. Μην επιδιορθώνετε και μην τροποποιείτε τη/τις λεπίδα/-ες.
Μην πειράζετε ποτέ τις διατάξεις ασφαλείας. Ελέγχετε τακτικά αν λειτουργούν σωστά.
Το αναποδογύρισμα του μηχανήματος ενδέχεται να οδηγήσει σε διαρροή καυσίμου. Το καύσιμο είναι εύφλεκτο και εκρηκτικό και μπορεί να οδηγήσει σε τραυματισμό. φήστε τον κινητήρα σε λειτουργία μέχρι να τελειώσει το καύσιμο ή αποστραγγίστε το καύσιμο με χειροκίνητη αντλία· μην αποστραγγίζετε ποτέ το καύσιμο με αυτοσχέδια αντλία.
Για να εξασφαλίσετε τις μέγιστες δυνατές επιδόσεις του μηχανήματος, χρησιμοποιείτε μόνο γνήσια ανταλλακτικά και εξαρτήματα Toro. Τα ανταλλακτικά και τα εξαρτήματα άλλων κατασκευαστών ενδέχεται να αποβούν επικίνδυνα και η χρήση τους να ακυρώσει την εγγύηση του προϊόντος σας.
Σβήστε τον κινητήρα, αφαιρέστε το κουμπί ηλεκτρικής εκκίνησης (αν υπάρχει) και περιμένετε να ακινητοποιηθούν όλα τα κινούμενα μέρη.
ποσυνδέστε το καλώδιο του μπουζί (Σχήμα 25).

φού ολοκληρώσετε τις εργασίες συντήρησης, συνδέστε το καλώδιο στο μπουζί.
Important: Προτού αναποδογυρίσετε το μηχάνημα για να αλλάξετε το λάδι ή να αντικαταστήσετε τη λεπίδα, αφήστε το καύσιμο να τελειώσει μέσω της κανονικής χρήσης. Εάν πρέπει οπωσδήποτε να αναποδογυρίσετε το μηχάνημα προτού τελειώσει το καύσιμο, αποστραγγίστε το καύσιμο με χειροκίνητη αντλία. Γυρίζετε πάντα το μηχάνημα στο πλάι, με τον δείκτη στάθμης κατεβασμένο.
| Περιοδικότητα εργασιών συντήρησης | Διαδικασία συντήρησης |
|---|---|
| SΚάθε 25 ώρες |
|
| Κάθε χρόνο |
|
πασφαλίστε το πάνω μέρος του καλύμματος φίλτρου αέρα (Σχήμα 26).

φαιρέστε το φίλτρο αέρα (Σχήμα 26).
Επιθεωρήστε το φίλτρο αέρα.
Note: ν το φίλτρο αέρα είναι υπερβολικά λερωμένο, αντικαταστήστε το με καινούριο φίλτρο. Διαφορετικά, χτυπήστε το προσεκτικά σε σκληρή επιφάνεια για να απομακρύνετε τις ακαθαρσίες.
Τοποθετήστε το φίλτρο αέρα.
Τοποθετήστε το κάλυμμα φίλτρου αέρα με τη βοήθεια του κλιπ.
| Περιοδικότητα εργασιών συντήρησης | Διαδικασία συντήρησης |
|---|---|
| Κάθε χρόνο |
|
Η αλλαγή λαδιού κινητήρα δεν είναι υποχρεωτική, αλλά αν θέλετε να αλλάξετε το λάδι, ακολουθήστε την παρακάτω διαδικασία.
Note: φήστε τον κινητήρα σε λειτουργία για λίγα λεπτά προτού αλλάξετε το λάδι, για να ζεσταθεί. Το ζεστό λάδι ρέει καλύτερα και μεταφέρει περισσότερους ρύπους.
| Χωρητικότητα λαδιού κινητήρα | 0,44 l* |
| Ιξώδες λαδιού | πορρυπαντικό λάδι SAE 30 ή SAE 10W-30 |
| Ταξινόμηση απόδοσης API | Κατηγορία απόδοσης SJ ή υψηλότερη |
*φού αποστραγγίσετε το λάδι, θα υπάρχουν υπολείμματα λαδιού στον στροφαλοθάλαμο. Μην γεμίζετε τελείως τον στροφαλοθάλαμο με λάδι. Γεμίστε τον στροφαλοθάλαμο με λάδι ακολουθώντας τα παρακάτω βήματα.
Μετακινήστε το μηχάνημα σε επίπεδη επιφάνεια.
νατρέξτε στην ενότητα Προετοιμασία για συντήρηση.
φαιρέστε τον δείκτη στάθμης λαδιού περιστρέφοντας το πώμα αριστερόστροφα και τραβώντας το προς τα έξω (Σχήμα 27).


Γυρίστε το μηχάνημα στο πλάι (έτσι ώστε το φίλτρο αέρα να κοιτάει προς τα επάνω) για να αποστραγγίσετε το χρησιμοποιημένο λάδι διαμέσου του σωλήνα πλήρωσης λαδιού (Σχήμα 28).

φού αποστραγγίσετε το χρησιμοποιημένο λάδι, επαναφέρετε το μηχάνημα στη θέση λειτουργίας.
Ρίξτε προσεκτικά λάδι, ποσότητας περίπου ¾ της χωρητικότητας του κινητήρα, στον σωλήνα πλήρωσης λαδιού.
Περιμένετε περίπου 3 λεπτά για να κατακαθίσει το λάδι στον κινητήρα.
Καθαρίστε τον δείκτη στάθμης λαδιού σκουπίζοντάς τον με ένα καθαρό πανί.
Εισάγετε τον δείκτη στάθμης λαδιού στον σωλήνα πλήρωσης λαδιού και, στη συνέχεια, αφαιρέστε τον δείκτη στάθμης λαδιού.
Ελέγξτε τη στάθμη του λαδιού πάνω στον δείκτη (Σχήμα 27).
Εάν η στάθμη λαδιού είναι υπερβολικά χαμηλή, ρίξτε προσεκτικά μια μικρή ποσότητα λαδιού στον σωλήνα πλήρωσης, περιμένετε 3 λεπτά και επαναλάβετε τα βήματα 8 έως 10 μέχρι η στάθμη λαδιού στον δείκτη να φτάσει στο σωστό επίπεδο.
Εάν η στάθμη λαδιού είναι υπερβολικά υψηλή, αποστραγγίστε την επιπλέον ποσότητα λαδιού μέχρι η στάθμη λαδιού στον δείκτη να φτάσει στο σωστό επίπεδο.
Important: Εάν η στάθμη λαδιού στον κινητήρα είναι πολύ χαμηλή ή πολύ υψηλή και θέσετε τον κινητήρα σε λειτουργία, μπορεί να προκαλέσετε ζημιά στον κινητήρα.
Εισάγετε τον δείκτη στάθμης λαδιού στον σωλήνα πλήρωσης λαδιού και κλείστε το πώμα.
νακυκλώστε κατάλληλα το χρησιμοποιημένο λάδι.
| Περιοδικότητα εργασιών συντήρησης | Διαδικασία συντήρησης |
|---|---|
| SΚάθε 25 ώρες |
|
Φορτίστε την μπαταρία αρχικά για 24 ώρες και, στη συνέχεια, κάθε μήνα (κάθε 25 εκκινήσεις) ή όσο συχνά χρειάζεται. Χρησιμοποιείτε πάντα τον φορτιστή σε προφυλαγμένο χώρο και φορτίζετε την μπαταρία σε θερμοκρασία περιβάλλοντος (22°C), εφόσον είναι δυνατό.
Συνδέστε τον φορτιστή στην πλεξούδα καλωδίωσης που βρίσκεται κάτω από το κουμπί ηλεκτρικής εκκίνησης (Σχήμα 29).

Συνδέστε τον φορτιστή σε πρίζα τοίχου.
Note: Όταν η μπαταρία πάψει να διατηρεί τη φόρτιση, ανακυκλώστε ή απορρίψτε την μπαταρία μολύβδου-οξέος σύμφωνα με τους τοπικούς κανονισμούς.
Note: Ο φορτιστής μπαταρίας μπορεί να διαθέτει φωτεινή ένδειξη LED δύο χρωμάτων που υποδεικνύει τις ακόλουθες καταστάσεις φόρτισης:
Η κόκκινη ένδειξη υποδεικνύει ότι ο φορτιστής φορτίζει την μπαταρία.
Η πράσινη ένδειξη υποδεικνύει ότι η μπαταρία είναι πλήρως φορτισμένη ή ότι ο φορτιστής έχει αποσυνδεθεί από την μπαταρία.
Όταν η λυχνία αναβοσβήνει με κόκκινη και πράσινη ένδειξη εναλλάξ, σημαίνει ότι η μπαταρία είναι σχεδόν πλήρως φορτισμένη. υτό διαρκεί για λίγα μόνο λεπτά μέχρι η μπαταρία να φορτιστεί πλήρως.
Εάν η μπαταρία δεν φορτίζει ή ο κινητήρας δεν παίρνει μπρος με την ηλεκτρική μίζα, είναι πιθανό να έχει καεί η ασφάλεια. ντικαταστήστε την με καρφωτή ασφάλεια 40 A.
νυψώστε τον οπίσθιο εκτροπέα και εντοπίστε το διαμέρισμα μπαταρίας (Σχήμα 30).

Σκουπίστε τυχόν ξένα υλικά από τον χώρο του διαμερίσματος της μπαταρίας.
φαιρέστε τη βίδα που στερεώνει το διαμέρισμα μπαταρίας, βγάλτε την μπαταρία και εντοπίστε την ασφάλεια (Σχήμα 31).

ντικαταστήστε την ασφάλεια (Σχήμα 31).
Note: Το μηχάνημα διαθέτει ανταλλακτική ηλεκτρική ασφάλεια στο διαμέρισμα μπαταρίας.
Στερεώστε το διαμέρισμα μπαταρίας με τη βίδα που αφαιρέσατε στο βήμα 3.
Τοποθετήστε το κάλυμμα πάνω από το διαμέρισμα μπαταρίας.
Κατεβάστε τον οπίσθιο εκτροπέα.
| Περιοδικότητα εργασιών συντήρησης | Διαδικασία συντήρησης |
|---|---|
| Κάθε χρόνο |
|
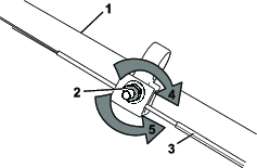
Important: Για τη σωστή τοποθέτηση της λεπίδας θα χρειαστείτε ροπόκλειδο. Εάν δεν διαθέτετε ροπόκλειδο ή, γενικότερα, αν προτιμάτε να εκτελέσει κάποιος άλλος αυτή τη διαδικασία, επικοινωνήστε με έναν εξουσιοδοτημένο αντιπρόσωπο σέρβις.
Εξετάζετε τη λεπίδα κάθε φορά που σας τελειώνουν τα καύσιμα. Εάν η λεπίδα φθαρεί ή ραγίσει, αντικαταστήστε την αμέσως. ν η λάμα στομώσει ή υποστεί μικροφθορές, ακονίστε ή ζυγοσταθμίστε την, ή αντικαταστήστε την.
Η λεπίδα είναι κοφτερή. Η επαφή με τη λεπίδα μπορεί να έχει ως αποτέλεσμα την πρόκληση σοβαρών σωματικών βλαβών.
Κατά την επισκευή της λεπίδας, φοράτε γάντια.
νατρέξτε στην ενότητα Προετοιμασία για συντήρηση.
Γυρίστε το μηχάνημα στο πλάι έτσι ώστε το φίλτρο αέρα να κοιτάει προς τα επάνω.
Χρησιμοποιήστε έναν ξύλινο τάκο για να κρατήσετε τη λεπίδα σταθερή (Σχήμα 32).

φαιρέστε τη λεπίδα, και φυλάξτε τα εξαρτήματα στερέωσης για να μην χαθούν (Σχήμα 32).
Τοποθετήστε τη νέα λεπίδα και όλα τα εξαρτήματα στερέωσης (Σχήμα 33).

Important: Τα κυρτά άκρα της λεπίδας πρέπει να κοιτούν προς το περίβλημα του μηχανήματος.
Χρησιμοποιώντας ροπόκλειδο, σφίξτε το μπουλόνι της λεπίδας με ροπή 60 N∙m.
Όταν τοποθετείτε νέο καλώδιο αυτοκινούμενης λειτουργίας ή αν η αυτοκινούμενη λειτουργία έχει απορρυθμιστεί, ρυθμίστε την αυτοκινούμενη λειτουργία.
Περιστρέψτε το παξιμάδι ρύθμισης προς τα αριστερά για να χαλαρώσετε το καλώδιο (Σχήμα 34).


Ρυθμίστε την τάση του καλωδίου (Σχήμα 34) τραβώντας το προς τα πίσω ή ωθώντας το προς τα εμπρός και διατηρώντας το σε αυτή τη θέση.
Note: Ωθήστε το καλώδιο προς τον κινητήρα για να αυξήσετε την πρόσφυση ή τραβήξτε το προς την αντίθετη κατεύθυνση για να μειώσετε την πρόσφυση.
Περιστρέψτε το παξιμάδι ρύθμισης προς τα δεξιά για να σφίξετε το καλώδιο.
Note: Σφίξτε καλά το παξιμάδι με πολύγωνο ή γερμανικό κλειδί.
ποθηκεύετε το μηχάνημα σε δροσερό, καθαρό και στεγνό χώρο.
Πριν προβείτε σε ρύθμιση, σέρβις, καθαρισμό ή αποθήκευση του μηχανήματος, θα πρέπει να σβήνετε τον κινητήρα, να αφαιρείτε το κουμπί ηλεκτρικής εκκίνησης (αν υπάρχει), να περιμένετε να ακινητοποιηθούν όλα τα κινούμενα μέρη και να αφήνετε το μηχάνημα να κρυώσει.
Κατά τον τελευταίο ανεφοδιασμό καυσίμου για το έτος, προσθέστε σταθεροποιητικό καυσίμου (π.χ. Toro Premium Fuel Treatment) στο καύσιμο σύμφωνα με τις οδηγίες που αναγράφονται στην ετικέτα του προϊόντος.
πορρίψτε κατάλληλα τυχόν καύσιμο που δεν χρησιμοποιήθηκε. νακυκλώστε το σύμφωνα με τους τοπικούς κανονισμούς ή χρησιμοποιήστε το στο όχημά σας.
Important: Η παραμονή παλαιού καυσίμου στο ρεζερβουάρ αποτελεί την κύρια αιτία για τη δυσκολία στην εκκίνηση του κινητήρα. Μην αποθηκεύετε καύσιμο στο ρεζερβουάρ χωρίς σταθεροποιητικό καυσίμου για πάνω από 30 ημέρες, και μην αποθηκεύετε καύσιμο με σταθεροποιητικό για διάστημα που υπερβαίνει το συνιστώμενο από τον κατασκευαστή του σταθεροποιητικού.
φήστε το μηχάνημα σε λειτουργία μέχρι να τελειώσει το καύσιμο και να σβήσει ο κινητήρας.
Ξαναβάλτε μπρος τον κινητήρα και αφήστε τον σε λειτουργία μέχρι να σβήσει. Όταν δεν μπορείτε πλέον να θέσετε τον κινητήρα σε λειτουργία, είναι αρκετά στεγνός.
ποσυνδέστε το καλώδιο του μπουζί, συνδέστε το καλώδιο στη θέση συγκράτησης (αν υπάρχει) και αφαιρέστε το κουμπί ηλεκτρικής εκκίνησης (αν υπάρχει).
φαιρέστε το μπουζί, προσθέστε 30 ml λαδιού κινητήρα μέσω της υποδοχής του μπουζί και τραβήξτε αρκετές φορές το κορδόνι εκκίνησης ώστε το λάδι να κατανεμηθεί σε όλον τον κύλινδρο για να αποτραπεί η διάβρωση του κυλίνδρου κατά την περίοδο αποθήκευσης.
Τοποθετήστε το μπουζί χωρίς να το σφίξετε πολύ.
Σφίξτε όλα τα παξιμάδια, τα μπουλόνια και τις βίδες.
Μόνο μοντέλα με ηλεκτρικό εκκινητή: Φορτίστε την μπαταρία για 24 ώρες και, στη συνέχεια, αποσυνδέστε τον φορτιστή και αποθηκεύστε το μηχάνημα σε χώρο που δεν θερμαίνεται. Εάν πρέπει οπωσδήποτε να αποθηκεύσετε το μηχάνημα σε θερμαινόμενο χώρο, πρέπει να φορτίζετε την μπαταρία ανά 90 ημέρες. νατρέξτε στην ενότητα Φόρτιση της μπαταρίας.
Μόνο μοντέλα με ηλεκτρικό εκκινητή: Φορτίστε την μπαταρία για 24 ώρες· ανατρέξτε στην ενότητα Φόρτιση της μπαταρίας.
Ελέγξτε και σφίξτε όλα τα εξαρτήματα σύνδεσης.
φαιρέστε το μπουζί και περιστρέψτε γρήγορα τον κινητήρα τραβώντας τη λαβή της κορδονιέρας εκκίνησης για να απομακρυνθεί η επιπλέον ποσότητα λαδιού από τον κύλινδρο.
Τοποθετήστε το μπουζί και σφίξτε το χρησιμοποιώντας ροπόκλειδο, με ροπή 20 N∙m.
Εκτελέστε τις εργασίες συντήρησης· ανατρέξτε στην ενότητα .
Ελέγξτε τη στάθμη του λαδιού κινητήρα· ανατρέξτε στην ενότητα Έλεγχος στάθμης λαδιού κινητήρα.
Γεμίστε το ρεζερβουάρ με φρέσκο καύσιμο· ανατρέξτε στην ενότητα νεφοδιασμός ρεζερβουάρ καυσίμου.
Συνδέστε το καλώδιο στο μπουζί.