| Karbantartási időköz | Karbantartási intézkedés |
|---|---|
| Minden egyes használat előtt, vagy naponta |
|
Ez a forgókéses, tolókaros fűnyíró lakóingatlanok tulajdonosai számára készült. Elsősorban házikerti füves területek jól karbantartott gyepén végzett fűnyírásra tervezték. A termék nem rendeltetésszerű használata veszélyezteti az Ön és a közelben tartózkodó emberek biztonságát.
Gondosan olvassa el ezt a tájékoztatót, hogy a termék megfelelő üzemeltetését és karbantartását elsajátítva elkerülje a sérüléseket, valamint a termék károsodását. Ön felelős a termék megfelelő és biztonságos üzemeltetéséért.
A www.Toro.com weboldalon további információk is találhatók, például munkavédelmi tippek, oktatóanyagok, tartozékokról szóló információk, segítség márkakereskedés kereséséhez, valamint termékregisztráció is végezhető itt.
Ha szervizre, eredeti Toro-alkatrészekre vagy további információkra van szüksége, forduljon hivatalos márkaszervizhez vagy a Toro ügyfélszolgálatához, és tartsa kéznél terméke típus- és sorozatszámát. A(z) Ábra 1 jelzi a típus- és sorozatszám helyét a terméken. Írja a számokat a megfelelő helyre.
Important: Mobileszköze segítségével a sorozatszámot tartalmazó címkén található QR-kódot (ha van) beolvasva elérheti a garanciális, az alkatrészekre vonatkozó és más termékinformációkat

A kézikönyv feltünteti a lehetséges veszélyeket, és a (Ábra 2) biztonsági figyelmeztető jelzéssel azonosított biztonsági üzeneteket tartalmaz. Ez a jelzés olyan veszélyre hívja fel a figyelmet, amely súlyos sérülést vagy halált okozhat, amennyiben Ön nem követi az ajánlott óvintézkedéseket.

Ez a kézikönyv 2 szót használ az információ kiemelésére. A Fontos speciális műszaki információra hívja fel a figyelmet, a Megjegyzés külön figyelemre érdemes általános információt hangsúlyoz.
A termék megfelel minden vonatkozó európai irányelvnek; a részletekért kérjük, olvassa el a különálló termékspecifikus megfelelőségi nyilatkozatot (DOC).
A motor mellékelt kezelési útmutatója tartalmazza az USA környezetvédelmi hivatalával (EPA) és a kipufogórendszerek, karbantartás és garancia szabályozásáról szóló California Emission Control Regulation jogszabállyal kapcsolatos információkat. Pótalkatrészek a motorgyártótól rendelhetők.
Bruttó vagy nettó nyomaték: A motor bruttó vagy nettó forgatónyomatékát laboratóriumban állapította meg a gyártó az SAE J1940 vagy J2723 szabvány szerint. A biztonsági, károsanyag-kibocsátási és üzemeltetési követelmények teljesítése érdekében a motor tényleges nyomatéka ebben a fűnyíróosztályban jelentősen kisebb. Olvassa el a motorgyártó által a géphez mellékelt információkat.
Ne módosítsa illetéktelenül és ne hatástalanítsa a gép biztonsági berendezéseit, és rendszeresen ellenőrizze a megfelelő működésüket. Ne kísérelje meg beállítani vagy módosítani a motorfordulatszám-vezérlő rendszert; ezzel nem biztonságos üzemállapotot idézhet elő, amely személyi sérülést is okozhat.
A gép tervezése az EN ISO 5395 szabvány alapján történt.
A termék végtagvesztést okozhat, továbbá tárgyakat dobhat ki. A súlyos sérülések elkerülése érdekében mindig kövesse a biztonsági utasításokat.
A motor beindítása előtt olvassa el, értelmezze és kövesse a Kezelői kézikönyvben és a gépen látható összes utasítást és figyelmeztetést.
Ne tegye kezét vagy lábát a gép mozgó részeinek közelébe vagy a gép alá. Maradjon távol a kidobónyílásoktól.
Ne használja a gépet, ha a védőburkolatok és egyéb védőelemek nincsenek a helyükön, és nem működnek.
Tartsa távol a közelben tartózkodó embereket és a gyerekeket a működtetési területtől. Ne engedje, hogy a gépet gyerekek üzemeltessék. Csak olyan személyek dolgozhatnak vele, akik felelősek, képzettek, ismerik az utasításokat, és fizikailag is képesek működtetni a gépet.
Álljon meg a géppel, állítsa le a motort, vegye ki az elektromos indítógombot (ha van) és várja meg, amíg minden mozgó alkatrész leáll, mielőtt megkezdené a gép karbantartását, tankolását, vagy elhárítaná annak eltömődését.
A gép nem megfelelő használata vagy karbantartása
személyi sérüléshez vezethet. A lehetséges
sérülések elkerülése érdekében
kövesse a biztonsági útmutatóban leírtakat,
és mindig ügyeljen a biztonsági figyelmeztető
szimbólumra (
), amelynek jelentése lehet Figyelem, Vigyázat
vagy Veszély – személyes biztonsági utasítások.
Az utasítások be nem tartása súlyos személyi
sérüléshez vagy halálhoz vezethet.
![]() |
A biztonsági címkék és utasítások a gépkezelő számára jól látható helyen, a potenciális veszélyforrás közelében találhatók. Cserélje ki vagy pótolja a megrongálódott vagy hiányzó címkét. |






Csak elektromos indítású változatnál

Important: Távolítsa el és dobja ki a motort burkoló műanyag védőlemezt, valamint minden egyéb műanyag elemet és csomagolást a gépről.
Important: A véletlen beindítás megelőzése érdekében mindaddig ne helyezze be az elektromos indítógombot a gyújtáskapcsolóba (ha van), amíg nem áll készen a motor beindítására.
Note: A kábelek és bovdenek a fogantyú külső oldalán legyenek elvezetve, és ügyeljen rá, nehogy becsípődjenek (Ábra 3, D).


Important: A gép használatakor a motor biztonságos és könnyű beindítása érdekében fűzze be a berántózsinórt a zsinórvezetőbe.

Important: Ha túl alacsony vagy túl magas olajszinttel járatja, a motor károsodhat.


Csak elektromos indítású változatnál
Lásd: Az akkumulátor töltése.


| Modell | Tömeg | Hosszúság | Szélesség | Magasság |
|---|---|---|---|---|
| 21762 | 36 kg | 151 cm | 59 cm | 109 cm |
| 21763 | 40 kg | 151 cm | 59 cm | 109 cm |
A Toro által jóváhagyott tartozékok és adapterek széles választéka kapható a géphez, amelyek javítják és bővítik annak képességeit. A jóváhagyott tartozékok és adapterek listájáért forduljon hivatalos márkaszervizhez, hivatalos Toro-forgalmazóhoz, vagy látogasson el a www.Toro.com webhelyre.
Az optimális teljesítmény és a gép folyamatos tanúsított biztonsága érdekében csak eredeti Toro-pótalkatrészeket és -tartozékokat használjon. A más által gyártott pótalkatrészek és tartozékok használata veszélyes lehet, emellett ez a garanciát is érvényteleníti.
Note: A gép jobb és bal oldalát a normál üzemeltetési helyzet alapján határozza meg.
Mielőtt beállításba, javításba vagy tisztításba kezd, illetve mielőtt eltárolja a gépet, mindig állítsa azt le, vegye ki az elektromos indítógombot (ha van) és várja meg, amíg minden mozgó alkatrész megáll, majd hagyja lehűlni.
Ismerkedjen meg a berendezés biztonságos üzemeltetésével, a kezelőszervekkel és a biztonsági jelzésekkel.
Győződjön meg arról, hogy a védőburkolatok és az egyéb védőelemek, például a terelőlemezek és/vagy a fűgyűjtő a helyükön vannak és működőképesek.
Mindig ellenőrizze a gépet, hogy a kések és a késcsavarok nem kopottak vagy nem sérültek-e.
Vizsgálja át a területet, ahol a gépet használni fogja, és távolítson el onnan minden olyan tárgyat, amely zavarhatja a munkát vagy amelyet a gép eldobhat.
A mozgó kés érintése súlyos sérülést okozhat. A vágásmagasság állítása közben ne nyúljon a nyíróasztal alá.
Az üzemanyag rendkívül gyúlékony és robbanásveszélyes. Az üzemanyag okozta tűz vagy robbanás megégetheti Önt vagy másokat, és anyagi károkat okozhat.
Annak megakadályozása érdekében, hogy a statikus feltöltődés begyújtsa az üzemanyagot, tankolás előtt a tartályt és/vagy a gépet közvetlenül a földre helyezze, ne járműre vagy tárgyra.
A tankolást kültéren, nyílt területen végezze, amikor a motor hideg. Törölje fel a kiömlött üzemanyagot.
Ne kezeljen üzemanyagot dohányzás közben vagy nyílt láng és szikrák közelében.
Járó vagy meleg motornál ne vegye le a tanksapkát, és ne tankoljon.
Ha az üzemanyag kiömlött, ne kísérelje meg beindítani a motort. Kerülje gyújtóforrás létrehozását, amíg az üzemanyag teljesen el nem párolgott.
Üzemanyagot csak jóváhagyott üzemanyagtartályban tároljon, gyerekek számára nem hozzáférhető helyen.
Az üzemanyag lenyelése sérülést vagy halált okozhat. A gőzök belégzése hosszabb távon súlyos sérülést és megbetegedést okozhat.
Kerülje a gőzök hosszabb távú belégzését.
Tartsa távol arcát és kezeit a fúvókától és az üzemanyag-betöltő nyílástól.
Az üzemanyag szemtől és bőrtől távol tartandó.
A legjobb eredmény elérése érdekében csak tiszta, friss, ((R+M)/2 besorolási módszer szerint) legalább 87-es oktánszámú ólommentes benzint használjon.
Legfeljebb 10% (V/V) etanolt vagy 15% (V/V) MTBE-t tartalmazó, oxigéntartalmú üzemanyag használható.
Ne használjon etanolt vagy olyan benzinkeveréket, mint az E15 vagy E85, amely több mint 10% (V/V) etanolt tartalmaz. Ez teljesítményproblémákat és/vagy olyan motorkárosodást okozhat, amelyre a garancia nem terjed ki.
Ne használjon metanolt tartalmazó benzint.
Ne tároljon télen üzemanyagot sem az üzemanyagtartályban, sem más tartályban, kivéve, ha üzemanyag-stabilizátort kever az üzemanyaghoz.
Ne adjon olajat a benzinhez.
A tankot ismert márkanevű töltőállomásról származó ólmozatlan, normál benzinnel (Ábra 9) töltse fel.
Important: Az indítási problémák csökkentése érdekében töltsön a friss üzemanyaghoz stabilizátor/kondicionálót az üzemanyag-stabilizátor gyártójának utasításai szerint.
További tudnivalókért lásd a motor kezelői kézikönyvét.

| Karbantartási időköz | Karbantartási intézkedés |
|---|---|
| Minden egyes használat előtt, vagy naponta |
|
Important: Ha túl alacsony vagy túl magas olajszinttel járatja, a motor károsodhat.


A fogantyú egy magasabb és egy alacsonyabb helyzetbe állítható, amelyik kényelmesebb a munkához (Ábra 11).

Távolítsa el mindkét fogantyúgombot.
Állítsa a fogantyút a kívánt magasságba.
Rögzítse a fogantyút a korábban eltávolított fogantyúgombokkal.
Ha járt a motor, a kipufogódob forró, ami égési sérülést okozhat.
Maradjon távol a forró kipufogódobtól.
Állítsa be a kívánt vágási magasságot. Állítsa be az összes kereket azonos vágásmagasságba (Ábra 12).


Viseljen megfelelő öltözéket, beleértve a védőszemüveget, a hosszú szárú nadrágot, a megfelelő, csúszásgátló lábbelit és a hallásvédelmi eszközt is. Hosszú haját kösse hátra, és ne viseljen bő ruházatot vagy ékszert.
A gép használatát teljes odafigyeléssel végezze. Ne bonyolódjon olyan tevékenységbe, amely elvonhatja a figyelmét, különben személyi sérülés vagy anyagi kár lehet a következmény.
Ne üzemeltesse a gépet betegen, fáradtan, illetve alkohol vagy gyógyszer hatása alatt.
A kés éles; ha hozzáér, súlyosan megsérülhet. Mielőtt elhagyja a kezelői pozíciót, állítsa le a motort, távolítsa el az elektromos indítógombot (csak elektromos indítású változatnál), majd várja meg, amíg minden mozgó alkatrész megáll.
Amikor elengedi a késvezérlő rudat, mind a motornak, mind a késnek 3 másodpercen belül le kell állnia. Ha nem így történik, azonnal hagyja abba a gép használatát, és lépjen kapcsolatba egy hivatalos márkaszervizzel.
Tartsa távol a közelben tartózkodó embereket a működtetési területtől. Tartsa a kisgyerekeket a működtetési területen kívül, olyan felelős felnőtt felügyelete alatt, aki nem a gépet kezeli. Ha valaki a területre lép, állítsa le a gépet.
Mindig nézzen lefelé és maga mögé, mielőtt hátrafelé kezdene haladni a géppel.
A gépet csak megfelelő időjárási és jó látási körülmények között használja. Ne használja a gépet, ha villámcsapás lehetősége áll fenn.
A nedves fű vagy levelek súlyos sérülést okozhatnak, ha rajtuk megcsúszva hozzáér a késhez. Kerülje a fűnyírást nedves füvön.
Különösen ügyeljen, amikor be nem látható kanyarokhoz, cserjékhez, fákhoz vagy más olyan tárgyakhoz közelít, melyek eltakarhatják a kilátást.
Ne irányítsa senki felé a kidobott anyagot. Kerülje az anyag falra vagy akadályra való kidobását; az visszaverődhet a kezelő felé. Állítsa le a kés(eke)t, amikor kavicsos felületet keresztez.
Ügyeljen a lyukakra, a keréknyomokra, a zökkenőkre, a kövekre és az egyéb rejtett tárgyakra. Egyenetlen terepen elveszítheti az egyensúlyát.
Ha a gép valamilyen tárgyba ütközik vagy rázkódni kezd, azonnal állítsa le a motort, távolítsa el az elektromos indítógombot (ha van), várja meg, amíg minden mozgó alkatrész megáll, vegye le a gyújtógyertyáról a gyertyapipát, majd vizsgálja át a gépet, hogy nem sérült-e meg. Az üzemeltetés folytatása előtt végezze el a szükséges javításokat.
A kezelői pozíció elhagyása előtt állítsa le a motort, távolítsa el az elektromos indítógombot (csak elektromos indítású változatnál), majd várja meg, amíg minden mozgó alkatrész megáll.
Ha járt a motor, forró lehet, és súlyos égési sérülést okozhat. Maradjon távol a forró motortól.
A motort csak jól szellőző helyen járassa. A kipufogógázok szén-monoxidot tartalmaznak, amely belélegezve halált okoz.
Ellenőrizze rendszeresen a fűgyűjtő alkatrészeket és a kidobócsatornát kopás és elhasználódás szempontjából, és cserélje ki azokat eredeti Toro-alkatrészekre, ha szükséges.
A lejtőkön mindig keresztirányban dolgozzon, soha ne felfelé és lefelé. Legyen rendkívül óvatos a lejtőkön történő irányváltás közben.
Ne végezzen fűnyírást túl meredek lejtőkön. A bizonytalan egyensúlyi helyzet megcsúszással és eleséssel járó balesetet okozhat.
Fokozott körültekintéssel vágjon füvet átvágások, árkok vagy feltöltések közelében.
A motor beindítható az elektromos indítógombbal (ha van) és a berántózsinór segítségével.
Tartsa a fogantyúnak húzva a késvezérlő rudat (Ábra 13, A).
Ha az elektromos indítógomb nincs a helyén, helyezze be a gyújtáskapcsolóba (Ábra 13, B).
Nyomja meg az elektromos indítógombot, és tartsa így, amíg be nem indul a motor (Ábra 13, C).
Note: Ha a gép néhány próbálkozás után nem indul be, lépjen kapcsolatba egy hivatalos márkaszervizzel.


Tartsa a fogantyúnak húzva a késvezérlő rudat (Ábra 14, A).
Húzza meg a berántózsinór fogantyúját (Ábra 14, B).
Note: Húzza meg kis erővel a berántófogantyút, amíg ellenállást nem kezd érezni, majd rántsa meg erősen. Engedje vissza a zsinórt lassan a fűnyíró fogantyújához.
Note: Ha a gép néhány próbálkozás után nem indul be, lépjen kapcsolatba egy hivatalos márkaszervizzel.


Az önjáró meghajtás használatához egyszerűen lépkedjen a kezeit a felső fogantyún, a könyökét pedig maga mellett tartva; a gép automatikusan lépést tart Önnel (Ábra 15).

Note: Ha a gép az önjáró meghajtás használata után nem húzható szabadon hátrafelé, álljon meg, és kezeit a helyükön hagyva engedje a gépet néhány centit előre haladni a kerékhajtás leoldásához. Megpróbálhatja azt is, hogy megfogja közvetlenül a felső fogantyú alatti fémfogantyút, majd pár centit előretolja a gépet. Ha a gép továbbra sem húzható könnyen hátrafelé, lépjen kapcsolatba hivatalos márkaszervizzel.
| Karbantartási időköz | Karbantartási intézkedés |
|---|---|
| Minden egyes használat előtt, vagy naponta |
|
A motor leállításához engedje el a késvezérlő kart.
Note: Mindig távolítsa el az elektromos indítógombot (ha van), amikor otthagyja a gépet.
Important: Amikor elengedi a késvezérlő rudat, mind a motornak, mind a késnek 3 másodpercen belül le kell állnia. Ha nem így történik, azonnal hagyja abba a gép használatát, és lépjen kapcsolatba egy hivatalos márkaszervizzel.
A gép gyárilag alkalmas mulcsozásra és a levélnyesedék visszadolgozására a gyepbe.
Ha a gyűjtőtartály fel van szerelve a gépre, a fűgyűjtő kar pedig fűgyűjtés helyzetben áll, állítsa a kart mulcsozási helyzetbe; lásd A fűgyűjtő kar használata. Ha az oldalsó kidobás csúszdája rajta van a gépen, vegye le róla; lásd: Az oldalsó kidobás csúszdájának eltávolítása.
Használja a gyűjtőtartályt, ha össze kívánja gyűjteni a fűkaszálékot és a levélhulladékot a gyepről.
Ha az oldalsó kidobás csúszdája rajta van a gépen, vegye le róla; lásd: Az oldalsó kidobás csúszdájának eltávolítása. Ha a fűgyűjtő kar mulcsozási helyzetben van, állítsa fűgyűjtési helyzetbe; lásd A fűgyűjtő kar használata.
A gyűjtőtartály eltávolításához végezze el az előző lépéseket fordított sorrendben, lásd A gyűjtőtartály felszerelése.
A kikapcsolható fűgyűjtés lehetővé teszi, hogy a gépre felszerelt gyűjtőtartállyal fűgyűjtő üzemmódban és mulcsozással is lehessen használni a gépet.
A levágott fű- és levélnyesedék gyűjtéséhez nyomja meg a fűgyűjtő kar gombját, majd hajtsa előre a kart annyira, hogy a gombja újra kiugorjon (Ábra 17).

A levágott fű- és levélnyesedék mulcsozásához vagy oldalsó kidobásához nyomja meg a fűgyűjtő kar gombját, majd hajtsa hátra a kart annyira, hogy a gombja újra kiugorjon.
Important: A megfelelő használathoz állítsa le a motort, várja meg, amíg minden mozgó alkatrész megáll, majd távolítson el minden fűnyesedéket és hulladékot a fűgyűjtő ajtajáról és a környező nyílásról (Ábra 18), mielőtt a fűgyűjtő kart az egyik helyzetből átállítja a másik helyzetbe.

Nagyon hosszúra nőtt fű nyírásakor használja az oldalsó kidobást.
Ha a gyűjtőtartály fel van szerelve a gépre, a fűgyűjtő kar pedig fűgyűjtés helyzetben áll, állítsa a kart mulcsozás helyzetbe; lásd A fűgyűjtő kar használata.
Oldja ki és hajtsa fel az oldalsó kidobás terelőlemezét, és szerelje fel az oldalsó kidobás csúszdáját (Ábra 19).

Az oldalsó kidobás csúszdájának eltávolításához hajtsa fel az oldalsó kidobás terelőlemezét, távolítsa el az oldalsó kidobás csúszdáját, majd hajtsa vissza az oldalsó kidobás terelőlemezét úgy, hogy szilárdan reteszelődjön.
Vizsgálja meg a területet, ahol a gépet használni fogja, és távolítson el minden olyan tárgyat, amelyet a gép feldobhat.
Kerülje el a kés kemény tárgyakhoz csapódását. Szándékosan soha ne nyírjon tárgyak felett.
Ha a gép valamilyen tárgyba ütközik, vagy rázkódni kezd, azonnal állítsa le a motort, vegye le a gyújtógyertyáról a gyertyapipát, távolítsa el az elektromos indítógombot (ha van), és vizsgálja át a gépet, nem sérült-e meg.
A legjobb teljesítmény eléréséhez szereljen fel új kést az idény kezdete előtt.
Szükség esetén cserélje ki a kést Toro-cserekésre.
Egyszerre a fűszálaknak csak mintegy harmadrészét vágja le. Ne vágjon az 51 mm-es beállítás alatt, hacsak nem gyér a fű, vagy csak késő ősszel, amikor a fű növekedése lelassul.
A gyep legjobb kinézete érdekében 15 cm-nél magasabb fűnél kezdje a legnagyobb vágásmagassággal és haladjon lassabban; ezután menjen át a területen alacsonyabb beállítás mellett. Ha a fű túl hosszú, a gép eltömődhet, és a motor lefulladhat.
A nedves fű és levelek hajlamosak összetapadni az udvaron, és a gép eltömődését vagy a motor leállását okozhatják. Kerülje a fűnyírást nedves füvön.
Vegye figyelembe a rendkívül száraz időjárás esetén fennálló potenciális tűzveszélyt, kövesse a helyi tűzvédelmi figyelmeztetéseket, és tartsa tisztán a gépet a száraz fűtől és a törmeléktől.
Váltogassa a fűnyírás irányát. Ez segít eloszlatni a kaszálékot a pázsiton az egyenletes trágyázás érdekében.
Ha nem kielégítő a kész pázsit megjelenése, próbáljon ki egyet vagy akár többet a következő javaslatok közül:
Cserélje ki vagy éleztesse meg a kést.
Fűnyírás közben haladjon lassabb ütemben.
Növelje gépén a vágási magasságot.
Nyírja gyakrabban a füvet.
Alkalmazzon átfedést a rendek között, ahelyett, hogy külön minden soron teljes szélességű rendet nyírna.
A pázsit nyírását követően győződjön meg arról, hogy a fű fele kilátszik a levágott levéllepel alól. Lehetséges, hogy egynél többször kell áthaladnia egy soron a levelek felett.
Ha több mint 13 cm vastagon áll a levél a gyepen, kezdje a fűnyírást nagyobb vágásmagassággal, majd menjen át újra a gyepen a kívánt beállítással.
Ha a gép nem vágja elég finomra a leveleket, csökkentse a nyírás sebességét.
Mielőtt beállításba, javításba vagy tisztításba kezd, illetve mielőtt eltárolja a gépet, mindig állítsa azt le, vegye ki az elektromos indítógombot (ha van) és várja meg, amíg minden mozgó alkatrész megáll, majd hagyja lehűlni.
A tűzesetek megelőzése érdekében tisztítsa meg a gépet a fűtől és a törmeléktől. Törölje fel a kiömlött olajat és az üzemanyagot.
Soha ne tárolja a gépet vagy az üzemanyagtartályt olyan helyen, ahol nyílt láng, szikra vagy őrláng fordul elő, mint például vízmelegítőkön vagy más berendezéseken.
Vegye ki az elektromos indítógombot (ha van), mielőtt a gépet szállításhoz felrakodja.
Járjon el fokozott körültekintéssel a gép be- és kirakodásakor.
Biztosítsa a gépet elgurulás ellen.
| Karbantartási időköz | Karbantartási intézkedés |
|---|---|
| Minden egyes használat előtt, vagy naponta |
|
A legjobb eredmény érdekében tisztítsa meg a gépet röviddel a fűnyírás befejezése után.
Vigye a gépet sík, burkolt talajra.
Állítsa le a motort, és várja meg, míg leállnak a mozgó alkatrészek mielőtt a gépet az üzemi helyzetből elmozdítaná.
Engedje le a gépet a legalacsonyabb vágásmagasságra. Lásd: A vágási magasság állítása.
Mossa ki a hátsó ajtó alatti területet ott, ahol a nyesedék a gép alól a gyűjtőtartályba jut.
Note: Mossa ki a fűgyűjtő kar (ha van) környékét teljesen előre és teljesen hátra állított helyzetben is.
Csatlakoztasson egy vízcsapra kötött kerti locsolótömlőt a kimosócsatlakozóra (Ábra 20).

Nyissa meg a vizet.
Indítsa be a motort, és járassa, amíg már nem távozik több nyesedék a gép alól.
Állítsa le a motort.
Zárja el a vizet, és kösse le a locsolótömlőt a gépről.
Indítsa be a motort, és a rozsdásodás megelőzése érdekében járassa pár percig, hogy kiszáradjon a gép alja.
Állítsa le a motort, vegye ki az indítógombot (ha van), és hagyja lehűlni a gépet, mielőtt eltenné egy zárt helyre.
A fogantyú nem megfelelő be- vagy kihajtása károsíthatja a kábeleket, ami nem biztonságos üzemeltetési körülményeket eredményezhet.
Ügyeljen a kábelek épségére a fogantyú be- vagy kihajtása során.
Ha egy kábel károsodott, lépjen kapcsolatba hivatalos márkaszervizzel.
Távolítsa el az elektromos indítógombot (ha van); lásd: Ábra 21.

Távolítsa el a 2 fogantyúgombot és a 2 kapupántcsavart a fogantyú tartókonzolokból (Ábra 22), és tegye el.
Important: A fogantyú lehajtása során a kábeleket, bovdeneket a fogantyúgombon kívül vezesse el.

A fogantyút a lehajtásához fordítsa előre (Ábra 23).

Dugja át a kapupántcsavart (a feje befelé álljon) a fogantyú tartókonzolon és a fogantyúvég felső furatán. Ügyeljen rá, hogy a kapupántcsavar négyszögletes részének élei illeszkedjenek a fogantyú tartókonzol felső vagy alsó négyszögletes nyílásába (Ábra 24).

Szerelje be a kapupántcsavarokat a fogantyú tartókonzolokba a fogantyúgombokkal együtt, de ne húzza meg a gombokat.
A fogantyú kihajtása, lásd: A fogantyú összeszerelése és kihajtása.
| Karbantartási időköz | Karbantartási intézkedés |
|---|---|
| Minden egyes használat előtt, vagy naponta |
|
| Minden 25 órában |
|
| Évente |
|
| Évente, vagy tárolás előtt |
|
Important: A további karbantartási eljárásokra vonatkozóan lásd a motor kezelői kézikönyvét.
Vegye le a gyertyapipát a gyújtógyertyáról és távolítsa el az elektromos indítógombot, mielőtt bármilyen karbantartási tevékenységbe kezd.
A gép karbantartása során viseljen védőkesztyűt és védőszemüveget.
A kés éles; ha hozzáér, súlyosan megsérülhet. A kés szervizelésekor viseljen védőkesztyűt. Ne végezzen a kése(ke)n javítást vagy átalakítást.
Soha ne változtasson a biztonsági berendezéseken. Rendszeresen ellenőrizze megfelelő működésüket.
A gép felbillentése az üzemanyag szivárgását okozhatja. Az üzemanyag gyúlékony, robbanásveszélyes, és személyi sérülést okozhat. Járassa a gépet az üzemanyag kifogyásáig, vagy távolítsa el az üzemanyagot kézi szivattyúval (soha ne használjon leszívócsövet).
Az optimális teljesítmény érdekében csak eredeti Toro-pótalkatrészeket és -tartozékokat használjon. A más által gyártott pótalkatrészek és tartozékok használata veszélyes lehet, emellett ez a garanciát is érvényteleníti.
Állítsa le a motort, távolítsa el az elektromos indítógombot (ha van), majd várja meg, amíg minden mozgó alkatrész megáll.
Vegye le a gyertyapipát a gyújtógyertyáról (Ábra 25).

A karbantartási munka elvégzését követően tegye vissza a gyertyapipát.
Important: Mielőtt felbillenti a gépet az olajcseréhez vagy a kés cseréjéhez, fogyassza ki az üzemanyagtartályt normál használattal. Ha már az üzemanyag kifogyasztása előtt fel kell billentenie a gépet, ürítse ki a tartályt kézi üzemanyag-szivattyúval. A gép oldalra billentésekor a nívópálca nézzen lefelé.
| Karbantartási időköz | Karbantartási intézkedés |
|---|---|
| Minden 25 órában |
|
| Évente |
|
Oldja ki a légszűrőfedél felső kapcsát (Ábra 26).

Vegye ki a légszűrőt (Ábra 26).
Vizsgálja meg a légszűrőt.
Note: Ha a légszűrőbetét nagyon elkoszolódott, cserélje ki. Egyéb esetben a szennyeződés fellazításához kocogtassa a szűrőbetétet egy kemény felülethez.
Szerelje be a légszűrőbetétet.
Rögzítse a légszűrőfedelet a kapocs segítségével.
| Karbantartási időköz | Karbantartási intézkedés |
|---|---|
| Évente |
|
A motorolaj cseréjére nincs szükség, de ha le szeretné cserélni a motorolajat, végezze az alábbi eljárás szerint.
Note: Néhány percig járassa a motort az olaj cseréje előtt, hogy felmelegedjen. A meleg olaj jobban folyik, és több szennyezőanyagot szállít.
| Motorolaj mennyisége | 0,44 l* |
| Az olaj viszkozitása | SAE 30 vagy SAE 10W-30 detergenstartalmú kenőolaj |
| API-besorolás | SJ vagy magasabb |
* Leengedése után az olaj egy része a forgattyúházban marad. Ne öntse bele a forgattyúházba a teljes olajmennyiséget. Töltse fel olajjal a forgattyúházat az alábbi lépéseket követve.
Helyezze a gépet sík felületre.
Lásd: Felkészülés karbantartásra.
A sapkáját balra elforgatva húzza ki a nívópálcát (Ábra 27).


Az elhasznált olaj olajbetöltő csövön keresztüli kiürítéséhez billentse az oldalára a gépet (a légszűrő nézzen felfelé) (Ábra 28).

Az elhasznált olaj kiürítése után fordítsa a gépet üzemi helyzetbe.
Töltse be óvatosan az előírt olajmennyiség 3/4-ét az olajbetöltő csőbe.
Várjon 3 percet, hogy az olaj elhelyezkedjen a motorban.
Törölje meg a nívópálcát egy tiszta ronggyal.
Dugja vissza nívópálcát az olajbetöltő csőbe, majd húzza ki.
Ellenőrizze az olajszintet a nívópálcán (Ábra 27).
Ha a nívópálca alapján az olajszint túl alacsony, töltsön óvatosan némi olajat az olajbetöltő csőbe, várjon 3 percet, majd ismételje addig a 8–10. lépést, amíg a nívópálca alapján az olaj el nem éri a megfelelő szintet.
Ha az olajszint a nívópálca szerint túl magas, engedjen le az olajból annyit, hogy nívópálca alapján elérje a megfelelő szintet.
Important: Ha túl alacsony vagy túl magas olajszinttel járatja, a motor károsodhat.
Szerelje be biztonságosan a nívópálcát az olajbetöltő csőbe.
Hasznosítsa újra az olajat környezetbarát módon.
| Karbantartási időköz | Karbantartási intézkedés |
|---|---|
| Minden 25 órában |
|
Töltse az akkumulátort először 24 órán át, majd havonta (25 indításonként), vagy szükség szerint töltse fel. A töltőt mindig védett helyen használja, az akkumulátort pedig töltse szobahőmérsékleten (22 °C), amikor csak lehetséges.
Csatlakoztassa a töltőt az elektromos indítógomb alatti vezetékköteghez (Ábra 29).

Dugja be a töltőt egy fali tápaljzatba.
Note: Ha az akkumulátor már nem tartja a töltést, hasznosítsa újra, vagy helyezze el az ólom-sav akkumulátort a helyi előírásokat betartva.
Note: Az akkumulátortöltő kétszínű LED-kijelzővel is rendelkezhet, amely az alábbi töltöttségi szinteket jelzi:
A piros fény azt jelzi, hogy a töltő tölti az akkumulátort.
A zöld fény azt jelzi, hogy a töltő teljesen feltöltötte az akkumulátort vagy le van választva az akkumulátorról.
A felváltva villogó piros és zöld fény azt jelzi, hogy az akkumulátor már közel teljesen feltöltődött. Ez az állapot csak pár percig tart, amíg az akkumulátor teljesen fel nem töltődik.
Ha az akkumulátor nem töltődik vagy a motort az indítómotor nem forgatja meg, kiéghetett a biztosíték. Cserélje ki 40 A értékű késes biztosítékra.
Hajtsa fel a terelőlemezt és keresse meg az akkumulátorrekeszt (Ábra 30).

Távolítson el minden szennyeződést az akkumulátorrekeszből.
Távolítsa el az akkumulátorrekeszt rögzítő csavart, húzza ki az akkumulátort és keresse meg a biztosítékot (Ábra 31).

Cserélje ki a biztosítékot a biztosítékfoglalatban (Ábra 31).
Note: A géphez tartozik egy tartalék biztosíték, amely az akkumulátorrekeszben található.
Szerelje vissza az akkumulátorrekeszt a csavar segítségével, amelyet korábban a 3. lépésében eltávolított.
Szerelje fel a fedelet az akkumulátorrekeszre.
Hajtsa le a hátsó terelőlemezt.
| Karbantartási időköz | Karbantartási intézkedés |
|---|---|
| Évente |
|
Important: A kés megfelelő felszereléséhez nyomatékkulcs szükséges. Ha nem rendelkezik nyomatékkulccsal, vagy nem szívesen végezné el ezt a műveletet, forduljon márkaszervizhez.
Mielőtt tankol, minden esetben vizsgálja meg a kést. Ha a kés megsérült vagy elrepedt, azonnal cserélje ki. Ha a kés eltompult vagy kicsorbult, éleztesse meg és egyensúlyoztassa ki, vagy cserélje ki.
A kés éles; ha hozzáér, súlyosan megsérülhet.
A kés szervizelésekor viseljen védőkesztyűt.
Lásd: Felkészülés karbantartásra.
Billentse az oldalára a gépet úgy, hogy a légszűrő nézzen felfelé.
A kést rögzítse egy fadarabbal (Ábra 32).

Szerelje ki a kést, megőrizve minden rögzítőelemet (Ábra 32).
Szerelje be az új kést és az összes leszerelt rögzítőelemet (Ábra 33).

Important: A kés hajlított végei nézzenek a gép burkolata felé.
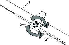
Nyomatékkulcs segítségével húzza meg a kés csavarját 82 Nm nyomatékkal.
Állítsa be az önjáró meghajtást, ha új önjárómeghajtás-bovdent szerel be, vagy az önjáró meghajtás elállítódott.
A bovdenrögzítő szerkezet meglazításához forgassa a szorítóanyát az óra járásával ellenkező irányba (Ábra 34).


A feszessége módosításához (Ábra 34) húzza vissza vagy tolja előre a bovdent, és tartsa meg ebben a helyzetben.
Note: A vontatás erejének növeléséhez tolja a bovdent a motor felé; a csökkentéséhez húzza el a motortól.
Forgassa a szorítóanyát az óra járásával megegyező irányba a bovdenrögzítő meghúzásához.
Note: Húzza meg jól az anyát dugókulccsal vagy villáskulccsal.
A gépet hűvös, tiszta, száraz helyen tárolja.
Mielőtt beállításba, javításba vagy tisztításba kezd, illetve mielőtt eltárolja a gépet, mindig állítsa azt le, vegye ki az elektromos indítógombot (ha van) és várja meg, amíg minden mozgó alkatrész megáll, majd hagyja lehűlni.
Az év utolsó tankolásakor adjon az üzemanyaghoz stabilizálót (pl. Toro Premium Fuel Treatment adalékot), a címkén olvasható utasításoknak megfelelően.
A nem felhasznált üzemanyagot helyezze el megfelelő módon. Hasznosítsa újra a helyi előírásoknak megfelelően, vagy használja fel gépkocsijában.
Important: Az üzemanyagtartályban maradó régi üzemanyag nehéz indítást okozhat. Ne tárolja az üzemanyagot stabilizáló nélkül 30 napnál tovább, a stabilizált üzemanyagot pedig az üzemanyag-stabilizáló gyártója által megadott időszaknál hosszabban.
Járassa addig a gépet, amíg az üzemanyag elfogyasztása miatt a motor le nem áll.
Indítsa be a motort, és hagyja járni, amíg le nem áll. Ha már nem képes újraindítani a motort, akkor kellően száraz.
Vegye le a gyertyapipát a gyújtógyertyáról, tegye fel a tároló pólusra (ha van), és távolítsa el az elektromos indítógombot (ha van).
Szerelje ki a gyújtógyertyát, töltsön be 30 ml olajat a gyújtógyertya furatán keresztül, és húzza meg a berántózsinórt lassan, több alkalommal, hogy jól eloszlassa az olajat a henger körül, amivel megakadályozható a henger korróziója az üzemen kívüli időszak során.
Szerelje be a gyújtógyertyát, de ne húzza meg.
Húzzon meg minden csavart és anyát.
Csak elektromos indítású változatnál: Töltse az akkumulátort 24 órán át, majd húzza ki akkumulátortöltőt, és tárolja akkumulátort fűtetlen helyen. Ha a gépet fűtött helyen kell tárolnia, töltse fel az akkumulátort 90 naponta. Lásd: Az akkumulátor töltése.
Csak elektromos indítású változatnál: Töltse az akkumulátort 24 órán át; lásd Az akkumulátor töltése.
Ellenőrizze és húzza meg az összes kötőelemet.
Szerelje ki a gyújtógyertyát, és forgassa át a motort intenzíven a berántózsinór segítségével, hogy eltávozzon az olaj a hengerből.
Szerelje be a gyújtógyertyát, és húzza meg nyomatékkulccsal 20 Nm nyomatékkal.
Végezzen el minden előírt karbantartást; lásd: .
Ellenőrizze a motorolaj szintjét; lásd: A motor olajszintjének ellenőrzése.
Töltse fel az üzemanyagtartályt friss üzemanyaggal; lásd: Üzemanyag-utántöltés.
Csatlakoztassa a gyertyapipát a gyújtógyertyára.