Lea este manual detenidamente para aprender a utilizar y mantener correctamente su producto. La información de este manual puede ayudarle a usted y a otros a evitar lesiones personales y daños al producto. Aunque Toro diseña y fabrica productos seguros, usted es responsable de utilizar el producto correctamente y con seguridad.
Puede ponerse en contacto con Toro directamente en www.Toro.com si desea materiales de formación y seguridad o información sobre accesorios, para localizar un distribuidor o para registrar su producto.
Cuando necesite asistencia técnica, piezas genuinas Toro o información adicional, póngase en contacto con un Servicio Técnico Autorizado o con Asistencia al Cliente Toro, y tenga a mano los números de modelo y serie de su producto. Figura 1 indica la ubicación de los números de modelo y serie en el producto.

Note: Este producto cumple todas las directivas europeas aplicables. Para obtener más detalles, consulte la Declaración de Incorporación (DOI) al final de esta publicación.Los lados derecho e izquierdo de la máquina se determinan desde la posición normal del operador.
Important: Se necesita cinta Teflón® para la instalación de este kit. La cinta se utiliza para envolver las roscas de los acoplamientos antes de ensamblarlos. Las roscas deben envolverse desde la base hasta la punta del acoplamiento para asegurar un sello hermético.
Important: Necesitará un lubricante sin petróleo, por ejemplo aceite vegetal, para la instalación de este kit.
CALIFORNIA
Advertencia de la Propuesta 65
El uso de este producto puede provocar la exposición a sustancias químicas que el Estado de California considera causantes de cáncer, defectos congénitos u otros trastornos del sistema reproductor.
El uso o mantenimiento indebido por parte del operador o el propietario puede causar lesiones. Para reducir el peligro de lesiones, cumpla estas instrucciones de seguridad y preste atención siempre al símbolo de alerta de seguridad, que significa Cuidado, Advertencia o Peligro – instrucción relativa a la seguridad personal. El incumplimiento de estas instrucciones puede dar lugar a lesiones personales e incluso la muerte.
Lea también las instrucciones de seguridad y de operación en el Manual del operador del vehículo.
No dirija el fumigador manual contra personas o animales. Los fluidos a alta presión pueden penetrar en la piel y causar lesiones graves, incluso posiblemente la amputación o la muerte. Los líquidos calientes y productos químicos también pueden causar quemaduras o lesiones. Si alguna parte del cuerpo entra en contacto con el caudal de fumigación, consulte inmediatamente a un médico que esté familiarizado con lesiones por fluidos inyectados.
No coloque la mano ni otras partes del cuerpo delante de la boquilla de fumigación.
No deje el equipo bajo presión cuando usted no está presente.
No utilice el fumigador manual si la manguera, el seguro del gatillo, la boquilla o cualquier otra pieza está dañada o falta.
No utilice el fumigador manual si hay fugas en alguna manguera, acoplamiento u otro componente.
No pulverice cerca de tendidos eléctricos.
No conduzca mientras utiliza un fumigador manual.
Lleve guantes de goma, gafas de seguridad y un traje de protección de cuerpo completo mientras fumiga productos químicos con el fumigador manual.
Los rayos pueden causar graves lesiones o incluso la muerte. Si se ven relámpagos o rayos o se oyen truenos en la zona, no utilice la máquina; busque un lugar donde resguardarse.
Los productos químicos son peligrosos y pueden causar lesiones personales.
Lea las instrucciones de las etiquetas de los productos químicos antes de manipular éstos, y siga todas las recomendaciones y precauciones del fabricante.
Evite el contacto de los productos químicos con la piel. Si entran en contacto con la piel, lave a fondo la zona afectada con jabón y agua limpia.
Lleve gafas protectoras y cualquier otro equipo de protección indicado por el fabricante del producto químico.
![]() |
Las calcomanías de seguridad e instrucciones están a la vista del operador y están ubicadas cerca de cualquier zona de peligro potencial. Sustituya cualquier pegatina que esté dañada o que falte. |

Asegúrese de que la máquina está vacía de fluidos.
Note: Si se han utilizado productos químicos en la máquina, enjuague el sistema a fondo con agua limpia; consulte las instrucciones del Manual del operador de su vehículo.
Aparque la máquina en una superficie plana, ponga el freno de estacionamiento, pare la bomba, pare el motor y retire la llave de contacto.
Desconecte el terminal del cable negativo de la batería.
Piezas necesarias en este paso:
| Bastidor del carrete de la manguera | 2 |
| Perno de cuello largo | 4 |
| Tuerca con arandela prensada (5/16") | 4 |
| Perno (5/16") | 2 |
| Contratuerca | 2 |
| Base del carrete de la manguera | 1 |
| Perno largo (⅜") | 4 |
| Tuerca con arandela prensada (⅜") | 4 |
Monte los 2 bastidores del carrete de la manguera en el lateral de la máquina con 4 pernos de cuello largo y 4 tuercas con arandela prensada (5/16"), según se muestra en Figura 2.

Sujete la parte inferior de los bastidores del carrete de la manguera a la máquina con 2 pernos (5/16") y 2 contratuercas (Figura 2).
Baje la base del carrete de la manguera sobre los bastidores del carrete de la manguera, y sujételos con 4 pernos largos (3/8") y 4 tuercas con arandela prensada (⅜"), según se muestra en Figura 3.

Piezas necesarias en este paso:
| Arnés de cables | 1 |
| Caja de interruptores | 1 |
| Soporte giratorio | 1 |
| Perno (5/6") | 2 |
| Tuerca con arandela prensada (5/16") | 2 |
| Arandela de empuje | 1 |
| Anilla a presión | 1 |
| Carrete de la manguera | 1 |
| Soporte de la pistola de fumigación | 1 |
| Perno de cuello cuadrado | 2 |
| Tuerca con arandela prensada (5/16") | 2 |
| Perno corto (⅜") | 4 |
| Arandela pequeña | 4 |
| Tuerca con arandela prensada (⅜") | 4 |
| Pasador elástico | 1 |
| Arandela grande | 1 |
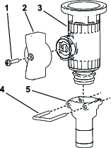
Enrute el arnés de cables hacia arriba a través del orificio de la base de la caja de interruptores.
Bajando por el arnés de cables, conecte el arnés al interruptor de caudal, al botón del carrete de la manguera y al relé de potencia (Figura 4).
Note: El fusible del motor del carrete de la manguera está situado en la caja de interruptores.

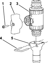
Introduzca el soporte giratorio en el orificio de la base del carrete de la manguera.
En la parte inferior del bastidor del carrete de la manguera, coloque la arandela de empuje y la anilla a presión en la columna del soporte giratorio (Figura 5).

Monte la caja de interruptores en el soporte giratorio con 2 pernos (5/16") y 2 tuercas con arandela prensada (5/16"), según se muestra en Figura 6.

Sujete el arnés de cables al lateral del soporte giratorio usando los clips existentes (Figura 6).
Sujete el carrete de la manguera al soporte giratorio con 4 pernos cortos (3/8"), 4 arandelas pequeñas y 4 tuercas con arandela prensada (3/8"), según se muestra en Figura 7.
Note: El motor del carrete de la manguera debe estar orientado hacia fuera respecto al panel de interruptores.

Instale la arandela grande y el pasador elástico a la parte inferior del bastidor del carrete de la manguera (Figura 8).

Enchufe los conectores restantes del arnés de cables en el conector del motor, el conector de alimentación del arnés principal y el conector del kit de carrete de manguera.
Note: Conserve todas las piezas que se retiren para su instalación posterior, a menos que se indique lo contrario.
Retire la horquilla de retención que sujeta el actuador la válvula multivía (válvula de sección o válvula de agitación) (Figura 9).
Note: Apriete las dos patas de la horquilla mientras la empuja hacia abajo.
Note: Guarde el actuador y la horquilla de retención.

Retire el actuador del distribuidor.
Retire las horquillas de retención que sujetan el grupo de válvulas de desvío de los brazos, el tapón de extremo y la manguera, como se muestra en la Figura 10.
Note: No se utilizará la tapa macho, pero guarde la junta tórica de la tapa.

Observe y anote los ajustes actuales de los mandos izquierdo y derecho.
Gire el grupo de válvulas de desvío de los brazos 180 grados, como se muestra en la Figura 11.

Ajuste los mandos derecho e izquierdo a sus posiciones anteriores.
Instale el grupo de válvulas de los brazos usando las horquillas de retención que se retiraron anteriormente, como se muestra en la Figura .

Piezas necesarias en este paso:
| Válvula de control | 1 |
| Manguera de suministro del carrete de la manguera | 1 |
| Junta de cierre | 1 |
| Acoplamiento dentado recto | 1 |
| Válvula de cierre | 1 |
| Conector hembra | 1 |
| Acoplamiento | 1 |
| Soporte | 1 |
| Soporte de la válvula | 2 |
| Perno (M6) | 8 |
| Perno ¼"-20 × ⅝" | 2 |
| Contratuerca (¼") | 2 |
| Acoplamiento en T del distribuidor | 1 |
| Tapón del acoplamiento en T del distribuidor | 1 |
| Brida | 1 |
| Abrazadera en R | 1 |
Monte la manija roja en la válvula de cierre.

Sujete el conjunto de la válvula de cierre a la válvula del brazo con la junta tórica y la horquilla de retención que retiró anteriormente.
Instale el conector hembra, las juntas tóricas, el acoplamiento y la manguera en la válvula de control usando las horquillas de retención que se retiraron anteriormente.

Instale los actuadores que se retiraron anteriormente en el distribuidor usando las horquillas de retención que se retiraron anteriormente.
Retire la manguera del sensor de presión del racor.
Monte la manija verde y el acoplamiento recto en la válvula de control bridada usando la horquilla de retención.

Desconecte el tapón y el racor del orificio del manómetro.

Instale el acoplamiento de 90 grados, la válvula de control, el racor y el manómetro.

Instale los actuadores que se retiraron anteriormente en el distribuidor usando las horquillas de retención que se retiraron anteriormente.
Instale la escuadra de la válvula de control en el panel de montaje de la válvula usando 2 pernos con arandela prensada (¼" × ⅝") y contratuercas (¼").

Monte la manija roja en una válvula de control recta.

Monte el soporte de la válvula en una válvula de control recta, como se muestra en la Figura 20, A.
Sujete el soporte de la válvula a la válvula de control con el tornillo con arandela prensada (N.º 6), y apriete el tornillo a mano (Figura 20, B).

Instale el conjunto de la válvula de control en la parte superior de la escuadra de la válvula de control usando 4 tornillos (M6), como se muestra en la Figura 21.

Sujete el conjunto de la válvula de control a la válvula del brazo con la junta tórica y la horquilla de retención que se retiró anteriormente, como se muestra en la Figura 22.
Instale la tapa (½"), las juntas tóricas, el acoplamiento y la manguera en la válvula de control usando las horquillas de retención que se retiraron anteriormente, como se muestra en la Figura 22.

Instale el distribuidor T del kit en el extremo de la sección de la válvula usando la horquilla de retención que se retiró anteriormente.

Monte el acoplamiento recto en la otra válvula de control recta usando la horquilla de retención, como se muestra en la Figura 24.

Monte el soporte de la válvula en la válvula de control.

Sujete el conjunto de la válvula de control al acoplamiento en T del distribuidor.

Instale el conjunto de la válvula de control en la parte inferior de la escuadra de la válvula de control con 4 pernos (M6).

Instale la brida en el acoplamiento en T del distribuidor.

Sujete el acoplamiento de 90 grados a la brida con un abrazadera.


Sujete el tapón al acoplamiento de 90 grados con un abrazadera.


Instale el racor en el acoplamiento de 90 grados.

Instale el manómetro en el tapón.

Piezas necesarias en este paso:
| Manguera de suministro del carrete de la manguera | 1 |
| Perno¼"-20 × ⅝" | 1 |
| Contratuerca (¼") | 1 |
| Abrazadera en R | 1 |
Conecte la manguera de suministro del carrete de la manguera a la válvula de control con una abrazadera.
Sujete el acoplamiento dentado recto al extremo abierto de la manguera de suministro del carrete de la manguera con una abrazadera.
Enrute la manguera de suministro del carrete de la manguera a través de la abrazadera en R, y sujétela al carrete de la manguera con una abrazadera.
Note: Si está instalado el Kit de enjuague del depósito, pase la manguera por detrás de la bomba de enjuague.



Sujete el arnés de cables a la manguera de suministro con 2 bridas.
Piezas necesarias en este paso:
| Manguera larga con acoplamiento | 1 |
| Pistola de fumigación | 1 |
| Abrazadera, pequeña | 1 |
Envuelva con cinta Teflon® las roscas del acoplamiento de la manguera larga e instale el acoplamiento en el tubo conector del carrete (Figura 38).

Conecte el extremo libre de la manguera larga al acoplamiento de la pistola de fumigación (Figura 39).

Sujete el extremo de la manguera con una abrazadera pequeña.
Conecte el terminal del cable negativo a la batería.
Presione el botón de RECOGIDA DE LA MANGUERA y guíe la manguera con cuidado mientras se enrolla en el carrete, desplazándola de un lado al otro para distribuirla de forma homogénea.
Las manos, las prendas sueltas, el pelo largo y las joyas podrían enredarse en la manguera y en el carrete durante la recogida, causando lesiones.
Mantenga las manos alejadas del carrete y de la manguera mientras se recoge.
No lleve prendas o joyas sueltas, y si tiene el pelo largo, recójaselo.
El fluido bajo presión puede penetrar en la piel y causar lesiones.
Mantenga el cuerpo y las manos alejados de boquillas que liberan fluido a alta presión.
No dirija el fumigador contra personas o animales.
Asegúrese de que todas las mangueras y los tubos de fluidos están en buenas condiciones, y que todos los acoplamientos y conectores están apretados, antes de aplicar presión al sistema.
Utilice un cartón o un papel para buscar fugas.
Alivie de manera segura toda presión en el sistema antes de realizar trabajo alguno en el mismo.
Busque atención médica inmediatamente si el fluido hidráulico penetra en la piel.
Los líquidos calientes y productos químicos también pueden causar quemaduras u otros daños.
Important: Siempre vacíe y limpie el fumigador inmediatamente después de cada uso. Si no lo hace, los productos químicos pueden secarse o espesarse en las tuberías, atascando la bomba y otros componentes.
Limpie el sistema de fumigación después de cada fumigación. Para limpiar adecuadamente el sistema de fumigación:
Realice tres enjuagues individuales.
Utilice un mínimo de 189 litros para cada enjuague.
Utilice los productos de limpieza y los neutralizadores recomendados por los fabricantes de los productos químicos.
Utilice agua pura y limpia (sin productos de limpieza ni neutralizadores) en el último enjuague.
Pare la máquina, desactive los brazos y ponga el freno de estacionamiento.
Si conduce mientras utiliza el fumigador manual podría perder el control, con resultado de lesiones o muerte.
No utilice el fumigador manual mientras conduce.
En la parte trasera de la máquina, asegúrese de que está puesto el seguro del gatillo de la pistola de fumigación.
Gire la manija verde de la válvula de control 90 grados.
En el puesto del operador, encienda la bomba.
Ponga el interruptor maestro en posición de Activado.
Ajuste el motor a la velocidad deseada, luego active el bloqueo de la velocidad en punto muerto del motor.
Important: No utilice una presión de más de 10,34 bar con el fumigador manual.
Retire del carrete la longitud de manguera deseada.
Important: No tire de la manguera con la pistola de fumigación. Sujete siempre la manguera y tire directamente de ella.
Quite el seguro del gatillo.
Dirija la boquilla de la pistola de fumigación a la zona a fumigar, y apriete el gatillo.
Suelte el gatillo y ponga el seguro del gatillo cuando termine.
Pulse el botón de recogida del carrete de la manguera hasta que sólo quede aproximadamente un metro de manguera fuera del carrete.
Note: El botón de recogida del carrete de la manguera sólo puede utilizarse si el interruptor del supervisor de la consola del fumigador está en la posición de Desbloqueado.
Las manos, las prendas sueltas, el pelo largo y las joyas podrían enredarse en la manguera y en el carrete durante la recogida, causando lesiones.
Mantenga las manos alejadas del carrete y de la manguera mientras se recoge.
No lleve prendas o joyas sueltas, y si tiene el pelo largo, recójaselo.
Gire la palanca verde de la válvula de control 90 grados.
Dirija la boquilla de la pistola de fumigación a una zona en la que la fumigación no suponga problemas, quite el seguro del gatillo y apriete el gatillo hasta vaciar la manguera de todo el fluido restante, luego ponga el seguro del gatillo.
Coloque la pistola de fumigación en su soporte en la parte trasera del carrete.
Vuelva a poner el motor en velocidad de ralentí.
Pare la bomba.
Important: Asegúrese de limpiar la pistola de fumigación con agua limpia y fresca durante su rutinaria de limpieza diaria (consulte el Manual del operador del fumigador). Una falta de limpieza correcta de la pistola de fumigación puede degradar el rendimiento y la fiabilidad del kit de carrete de manguera y de la pistola de fumigación.
Utilice el interruptor de caudal para ajustar la presión.