Súprava ručného tyčového postrekovača je nadstavec pre vozidlo na postrekovanie trávnika a je určený na používanie profesionálnymi operátormi v komerčných aplikáciách. Primárne je určený na postrekovanie udržiavaných trávnikov v parkoch, na golfových ihriskách, športových ihriskách a v komerčných priestoroch.
Spoločnosť Toro možno kontaktovať priamo na lokalite www.Toro.com, kde môžete získať bezpečnostné a prevádzkové školiace materiály, informácie o príslušenstve či pomoc pri hľadaní predajcu, prípadne zaregistrovať svoj produkt.
Dbajte na to, aby sa v stroji nenachádzali žiadne kvapaliny. Ak sa v stroji používali chemické látky, systém dôkladne vypláchnite čistou vodou a potom ju vypustite. Pokyny nájdete v používateľskej príručke k vozidlu.
Odpojte zápornú svorku batérie od batérie.
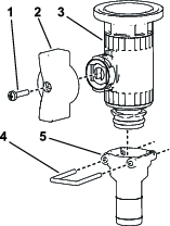
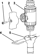
Diely potrebné na prevedenie tohoto kroku:
| Hák hadice | 1 |
| Poistná matica s prírubou (⅜ palca) | 4 |
| Poistná matica s prírubou (5/16 palca) | 4 |
| Vratová skrutka (⅜ × ¾") | 4 |
| Vratová skrutka (5/16 × 1") | 4 |
| Závlačka | 2 |
| Konzola striekacej pištole | 1 |
Diely potrebné na prevedenie tohoto kroku:
| Maticový uzáver | 2 |
| Uzatvárací ventil | 2 |
Demontujte úchytku zaisťujúcu mechanizmus na ventile potrubia pre sekčný alebo premiešavací ventil.
Note: Stlačte 2 ramená úchytky k sebe a zároveň ju zatláčajte nadol.
Note: Spojte mechanizmus s úchytkou.

Demontujte mechanizmus z ventilu potrubia.
Demontujte úchytky pridŕžajúce zostavu nastavenia obtoku, koncový uzáver a zostavu armatúry a hadice, ako je znázornené na Obrázok 4.
Note: Koncový uzáver nebudete používať, no nechajte na uzávere tesniaci krúžok.

Otočte zostavu nastavenia obtoku o 180 stupňov, ako je znázornené na Obrázok 5.

Pomocou úchytiek, ktoré ste predtým demontovali, namontujte zostavu nastavenia obtoku, maticový uzáver, tesniace krúžky, uzatvárací ventil a zostavu armatúry a hadice podľa Obrázok 6.

Demontujte koncový uzáver na konci potrubia a nasaďte maticový uzáver. Uzáver zaistite pomocou úchytky.

Demontujte úchytku zaisťujúcu hadicu na konci potrubia.

Namontujte uzatvárací ventil na hadicu a stroj. Zaistite ho úchytkami.

Diely potrebné na prevedenie tohoto kroku:
| Pozrite si tabuľku dielov | 0 |
| Diel | 5800 | 1750 | Workman | |||||
|---|---|---|---|---|---|---|---|---|
| Množstvo | 2023 a staršie | 2024 a novšie bez súpravy GeoLink | 2024 a novšie so súpravou GeoLink | 2023 a staršie | 2024 a novšie bez súpravy GeoLink | 2024 a novšie so súpravou GeoLink | 2023 a staršie | 2024 a novšie |
| Regulačný ventil | 1 | 1 | 1 | 1 | 1 | |||
| Regulačný ventil (s koncovým uzáverom s prírubou) | 1 | 1 | 1 | |||||
| Krídlová rukoväť regulačného ventilu | 1 | 1 | 1 | 1 | 1 | 1 | 1 | 1 |
| Rovná prípojka | 1 | 1 | 1 | 1 | 1 | 1 | 1 | 1 |
| Držiak ventilu | 1 | 1 | 1 | 2 | 2 | 2 | ||
| Konzola regulačného ventilu (2023) | 1 | |||||||
| Konzola regulačného ventilu (s otvorom) | 1 | 1 | ||||||
| Konzola regulačného ventilu (bez otvoru) | 1 | 1 | 1 | |||||
| Uzatvárací ventil | 1 | 1 | 2 | 1 | 1 | |||
| Kolenová prípojka s 90-stupňovým uhlom | 1 | 1 | ||||||
| T-spojka | 1 | |||||||
| Prípojka v tvare písmena T potrubia | 1 | 1 | 1 | 1 | ||||
| Svorka tesnenia | 1 | 1 | 1 | |||||
| Skrutka (M6 × 12 mm) | 4 | 8 | 4 | 8 | 8 | 8 | ||
| Vratová skrutka (¼-20 × ⅝") | 2 | 2 | ||||||
| Skrutka so šesťhrannou hlavou (¼-20 × ⅝") | 4 | 2 | 2 | |||||
| Poistná matica (¼") | 4 | 2 | 2 | 2 | 2 | |||
Namontujte na regulačný ventil zelenú krídlovú rukoväť a rovnú prípojku.

Demontujte svorku príruby, ktorá zaisťuje koncový uzáver a rozperu na porte tlakomeru.

Demontujte rozperu z koncového uzáveru.
Namontujte zostavu regulačného ventilu.
Namontujte rozperu do otvoreného portu na prípojke s 90-stupňovým uhlom.
Note: Port na bočnej strane prípojky s 90-stupňovým uhlom pre modely Multi Pro 1750 a Multi Pro WM je na prednej strane (nezobrazenej) prípojky.
Pripojte prívodnú hadicu hadicového navijaka k regulačnému ventilu pomocou hadicovej svorky.
Odpojte 3-zásuvkový konektor od prevodníka tlaku.

Demontujte svorku príruby zaisťujúcu prevodník tlaku na prípojke s 90° uhlom a demontujte prevodník, tesnenie a svorku príruby.

Demontujte svorku príruby zaisťujúcu prípojku s 90° uhlom na prípojke s 90° uhlom s konektorom rúrky snímača a demontujte prípojku s 90° uhlom, tesnenie a svorku príruby.
Namontujte držiak ventilu na regulačný ventil, ako je znázornené v časti A na Obrázok 14.

Držiak ventilu zaistite na regulačnom ventile pomocou skrutky s prírubou (#6) a skrutku utiahnite rukou (časť B na Obrázok 14).
Držiak ventilu namontujte na konzolu regulačného ventilu pomocou 4 skrutiek (6 × 12 mm) a 4 plochých podložiek. Skrutky utiahnite momentom 10 až 12 N∙m.

Prírubu T-spojky zarovnajte na prírube regulačného ventilu.

T-spojku voľne pripevnite na regulačný ventil pomocou tesnenia a svorky príruby.
Prírubu prevodníka tlaku zarovnajte s prírubou T-spojky.

Prevodník tlaku namontujte na T-spojku pomocou tesnenia a svorky príruby a svorku utiahnite rukou (Obrázok 17).
Prírubu T-spojky zarovnajte s prírubou prípojky s 90° uhlom s konektorom rúrky snímača.

T-spojku a prípojku s 90° uhlom voľne namontujte pomocou tesnenia a svorky príruby.
Note: Podľa potreby otočte konzolu regulačného ventilu a zarovnajte ju s povrchom držiaka ventilu.
Pomocou konzoly regulačného ventilu slúžiacej ako šablóna označte umiestnenie otvorov v konzole na povrchu držiaka potrubia.

Demontujte svorku, tesnenie, T-spojku s prírubou z prípojky s 90° uhlom s konektorom rúrky snímača.
Vyrazte otvory na značkách na potrubí, ktoré ste urobili v kroku 3.
Na vyrazených otvoroch, ktoré ste urobili v kroku 5, vyvŕtajte do držiaka potrubia 4 otvory s priemerom 6 mm.

Prírubu T-spojky zarovnajte s prírubou prípojky s 90° uhlom s konektorom rúrky snímača.

T-spojku a prípojku s 90° uhlom voľne namontujte pomocou tesnenia a svorky príruby.
Konzolu regulačného ventilu namontujte na držiak potrubia pomocou 4 skrutiek so šesťhrannou hlavou (¼ × ⅝") a 4 poistných matíc s prírubou (6 mm). Skrutky utiahnite momentom 10 až 12 N∙m.
Rukou utiahnite svorku príruby, ktorá zaisťuje regulačný ventil a T-spojku, a svorku príruby, ktorá zaisťuje T-spojku s 90° uhlom s konektorom rúrky snímača.
Pripojte 3-zásuvkový konektor pre prevodník tlaku.

Zostavu regulačného ventilu zaistite na konzole pomocou 4 skrutiek (M6).

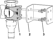
Demontujte existujúci hardvér, ako je znázornené na Obrázok 26.

Zaistite konzolu na stroji pomocou existujúceho hardvéru.

Vrchnú časť konzoly zaistite pomocou 4 skrutiek (M6).

Namontujte zostavu T-spojky potrubia na regulačný ventil.

Zostavu zaistite na konzole pomocou 4 skrutiek (M6).

Držiak ventilu namontujte na uzatvárací ventil a zaistite ho na konzole pomocou 4 skrutiek (M6).




Diely potrebné na prevedenie tohoto kroku:
| Zostava striekacej pištole | 1 |
| Rovná ozubená prípojka | 1 |
| Hadicová svorka | 2 |
| Hadica | 1 |
Note: Pomocou pásky PTFE utesnite závity prípojky kužeľovej rúrky.
Rovnú ozubenú prípojku zaistite pomocou hadicovej svorky na otvorenom konci prívodnej hadice hadicového navijaka.

Zaistite koniec hadice na regulačnom ventile pomocou hadicovej svorky.

Zvyšnú časť hadice zviňte okolo háku na nádrži a odložte striekaciu pištoľ do konzoly.
Pripojte k batérii záporný vodič batérie.
Kalibrujte zostavu nastavenia obtoku. Pozrite si používateľskú príručku k stroju.
Kvapalina pod tlakom môže vniknúť do pokožky a spôsobiť zranenie.
Nepribližujte sa časťami tela ani rukami k dýzam vystrekujúcim kvapalinu pod vysokým tlakom.
Postrekovač nesmerujte na osoby ani zvieratá.
Pred natlakovaním systému skontrolujte, či sú všetky hadice a potrubie kvapaliny v dobrom stave a či sú všetky spoje a armatúry pevne utiahnuté.
Na zisťovanie únikov používajte kartón alebo papier.
Pred vykonaním ľubovoľnej práce na systéme uvoľnite zo systému všetok tlak.
V prípade vstreknutia kvapaliny pod pokožku ihneď vyhľadajte lekársku pomoc.
Horúce kvapaliny a chemické látky môžu spôsobiť popáleniny alebo iné zranenie.
Important: Za určitých podmienok môže pri používaní rozprašovača v pevnom režime teplo z motora, chladiča a výfuku poškodiť trávnik. Pevné režimy zahŕňajú miešanie nádrže, ručné postrekovanie alebo používanie prenosného rámu.
Dodržiavajte nasledujúce opatrenia:
Pevné postrekovanie nepoužívajte v príliš horúcich alebo suchých podmienkach, pretože vtedy môže byť trávnik viac namáhaný.
Pri pevnom postrekovaní neparkujte na trávniku. Vždy keď je to možné, parkujte na príjazdovej ceste.
Minimalizujte čas, za ktorý je stroj v prevádzke nad určitou časťou trávnika. Čas aj teplota ovplyvňujú mieru poškodenia trávnika.
Otáčky motora nastavte na čo najnižšiu úroveň, aby ste dosiahli požadovaný tlak a prietok. Minimalizujete tak tvorenie tepla a prúdenie vzduchu z ventilátora chladenia.
Teplo nechajte unikať nahor z motorového priestoru tak, že počas pevnej prevádzky zdvihnete kryt motora/zostavy sedadla. Teplo tak nebude musieť unikať popod vozidlo. Ďalšie informácie o zdvihnutí zostáv sedadla nájdete v používateľskej príručke.
Note: Ak chcete zaručiť dodatočnú ochranu pred teplom, pri pevnej prevádzke umiestnite pod vozidlo plachtu chrániacu pred teplom. Ak chcete získať súpravu plachty chrániacej pred teplom pre postrekovače na trávniky, obráťte sa na autorizovaného predajcu spoločnosti Toro.
Zastavte stroj, vypnite rámy a zatiahnite parkovaciu brzdu.
Pri jazde počas používania ručného postrekovača môžete stratiť kontrolu nad strojom, čo môže spôsobiť zranenie alebo smrť. Ručný postrekovač nepoužívajte počas jazdy.
Uistite sa, či je na zadnej časti stroja zaistený zámok spúšťača na striekacej pištoli.
Otočte zelenú rukoväť na regulačnom ventile o 90 stupňov.
Z pozície operátora zapnite čerpadlo.
Hlavný rám prepnite do polohy ON (Zap.).
Nastavte požadované otáčky motora a potom aktivujte zámok neutrálu motora.
Important: S ručným rozprašovačom nepoužívajte nastavenie tlaku vyššie ako 1034 kPa.
Otočte zelenú rukoväť na regulačnom ventile o 90 stupňov.
Dýzu striekacej pištole nasmerujte na oblasť, v ktorej môžete bezpečne postrekovať, uvoľnite zámok spúšťača a ťahajte spúšťač, kým sa z hadice nedostane všetka zostávajúca kvapalina. Potom nastavte zámok spúšťača.
Vráťte striekaciu pištoľ do držiaka.
Motor znova prepnite na voľnobežné otáčky.
Zastavte čerpadlo.
Important: Dbajte na to, aby ste striekaciu pištoľ pri dennom čistení vypláchli čerstvou čistou vodou (pozrite si používateľskú príručku k postrekovaču). Nesprávne vyčistenie striekacej pištole môže znížiť jej výkon a spoľahlivosť.
Na nastavenie požadovaného tlaku postrekovania použite prepínač prietoku.