Sada tyčového ručního postřikovače je přídavné zařízení pro postřikovací vůz travnatých ploch, které mají používat pouze profesionální pracovníci najímaní pro komerční účely. Systém je určen zejména k postřikování dobře udržovaných travnatých ploch v parcích, na golfových a sportovních hřištích a na komerčních pozemcích.
Na adrese www.Toro.com můžete společnost Toro přímo požádat o poskytnutí informací o bezpečnosti výrobku, podkladů pro zaškolení obsluhy a informací o příslušenství, vyhledat prodejce výrobků Toro nebo zaregistrovat svůj výrobek.
Přesvědčte se, zda ve stroji nejsou žádné kapaliny. Pokud byly ve stroji použity chemikálie, vypláchněte systém důkladně čistou vodou a vodu vypusťte; pokyny naleznete v provozní příručce ke svému vozidlu.
Odpojte zápornou svorku od akumulátoru.
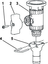
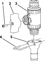
Díly potřebné k provedení tohoto kroku:
| Hák hadice | 1 |
| Pojistná matice s nákružkem (⅜ in) | 4 |
| Pojistná matice s nákružkem (5/16 in) | 4 |
| Vratový šroub (⅜ x ¾ in) | 4 |
| Vratový šroub (5/16 x 1 in) | 4 |
| R-svorka | 2 |
| Držák stříkací pistole | 1 |
Díly potřebné k provedení tohoto kroku:
| Vnitřní krytka | 2 |
| Uzavírací ventil | 2 |
Demontujte přídržný prvek, který připevňuje pohon k rozdělovacímu ventilu pro sekční ventil nebo ventil míchadla.
Note: Stiskněte 2 nohy přídržného prvku k sobě a prvek současně zatlačte dolů.
Note: Ovladač a přídržný prvek uschovejte.

Ovladač demontujte z rozdělovacího ventilu.
Demontujte přídržné prvky, které drží regulační sestavu obtoku, koncovou krytku a sestavu armatury a hadice, viz Obrázek 4.
Note: Koncovou krytku již nebudete potřebovat, O-kroužek z krytky si však ponechejte.

Regulační sestavu obtoku otočte o 180 stupňů, viz Obrázek 5.

Pomocí dříve demontovaných přídržných prvků namontujte regulační sestavu obtoku, vnitřní krytku, O-kroužky, uzavírací ventil a sestavu armatury a hadice, viz Obrázek 6.

Odstraňte koncovou krytku na konci rozdělovacího ventilu a nahraďte ji vnitřní krytkou. Zajistěte krytku pomocí přídržného prvku.

Odstraňte přídržný prvek upevňující hadici na konci rozdělovacího ventilu.

Namontujte uzavírací ventil na hadici a stroj. Zajistěte ho pomocí přídržných prvků.

Díly potřebné k provedení tohoto kroku:
| Viz tabulka dílů | 0 |
| Díl | 5800 | 1750 | Workman | |||||
|---|---|---|---|---|---|---|---|---|
| Ks | 2023 a starší | 2024 a novější bez systému GeoLink | 2024 a novější se systémem GeoLink | 2023 a starší | 2024 a novější bez systému GeoLink | 2024 a novější se systémem GeoLink | 2023 a starší | 2024 a novější |
| Ovládací ventil | 1 | 1 | 1 | 1 | 1 | |||
| Regulační ventil (s přírubovou koncovou krytkou) | 1 | 1 | 1 | |||||
| Křídlová rukojeť regulačního ventilu | 1 | 1 | 1 | 1 | 1 | 1 | 1 | 1 |
| Přímá spojka | 1 | 1 | 1 | 1 | 1 | 1 | 1 | 1 |
| Úchyt ventilu | 1 | 1 | 1 | 2 | 2 | 2 | ||
| Držák regulačního ventilu (2023) | 1 | |||||||
| Držák regulačního ventilu (s otvorem) | 1 | 1 | ||||||
| Držák regulačního ventilu (bez otvoru) | 1 | 1 | 1 | |||||
| Uzavírací ventil | 1 | 1 | 2 | 1 | 1 | |||
| Pravoúhlé kolenoSpojka | 1 | 1 | ||||||
| T-spojka | 1 | |||||||
| T-kus rozdělovacího ventilu | 1 | 1 | 1 | 1 | ||||
| Svorka těsnění | 1 | 1 | 1 | |||||
| Šroub (M6 × 12 mm) | 4 | 8 | 4 | 8 | 8 | 8 | ||
| Vratový šroub (¼ 20 × ⅝ in) | 2 | 2 | ||||||
| Šroub se šestihrannou hlavou (¼ 20 × ⅝ in) | 4 | 2 | 2 | |||||
| Pojistná matice (¼ in) | 4 | 2 | 2 | 2 | 2 | |||
Namontujte zelenou křídlovou rukojeť a přímou spojku na regulační ventil.

Demontujte přírubovou svorku, která zajišťuje koncovou krytku a spojku na přípoji tlakoměru.

Demontujte spojku z koncové krytky.
Namontujte montážní celek regulačního ventilu.
Namontujte spojku do otevřeného přípoje na 90° spojce.
Note: Přípoj v 90° spojce u stroje Multi Pro 1750 a Multi Pro WM je na přední straně (není zobrazena) spojky.
Připojte přívodní hadici hadicového bubnu k regulačnímu ventilu pomocí hadicové spony.
Odpojte 3pólový konektor snímače tlaku.

Demontujte přírubovou svorku, která připevňuje snímač tlaku k 90° spojce, a snímač, těsnění a přírubovou svorku sejměte.

Demontujte přírubovou svorku, která zajišťuje 90° spojku k 90° spojce s konektorem pro snímací trubici, a 90° spojku, těsnění a přírubovou svorku sejměte.
Na regulační ventil namontujte držák ventilu (A, viz Obrázek 14).

Pomocí šroubu s přírubovou hlavou (č. 6) upevněte držák ventilu k regulačnímu ventilu a šroub utáhněte rukou (B, viz Obrázek 14).
Namontujte úchyt ventilu k držáku regulačního ventilu pomocí 4 šroubů (6 × 12 mm) a 4 plochých podložek; šrouby utáhněte na utahovací moment 10 až 12 Nm (86 až 106 in-lb).

Vyrovnejte přírubu T-spojky s přírubou regulačního ventilu.

Volně připevněte T-spojku k regulačnímu ventilu pomocí těsnění a přírubové svorky.
Vyrovnejte přírubu snímače tlaku s přírubou T-spojky.

Pomocí těsnění a přírubové svorky připevněte snímač tlaku k T-spojce; svorku utáhněte rukou (Obrázek 17).
Zarovnejte přírubu T-spojky s přírubou 90° spojky s konektorem pro snímací trubici.

Volně namontujte T-spojku a 90° spojku pomocí těsnění a přírubové svorky.
Note: Podle potřeby otočte držák regulačního ventilu tak, aby byl zarovnaný s povrchem úchytu ventilu.
Pomocí držáku regulačního ventilu jako šablony označte umístění otvorů v konzole na povrchu držáku rozdělovacího ventilu.

Demontujte svorku, těsnění a T-spojku s přírubou z 90° spojky s konektorem pro snímací trubici.
Značky na držáku rozdělovacího ventilu, které jste označili v kroku 3, prohlubte důlčíkem.
Na těchto značkách vyznačených v kroku 5 vyvrtejte 4 otvory o průměru 6 mm.

Zarovnejte přírubu T-spojky s přírubou 90° spojky s konektorem pro snímací trubici.

Volně namontujte T-spojku a 90° spojku pomocí těsnění a přírubové svorky.
Namontujte držák regulačního ventilu k držáku rozdělovacího ventilu pomocí 4 šroubů se šestihrannou hlavou (¼ × ⅝ in) a 4 pojistných matic s nákružkem (6 mm). Šrouby utáhněte na utahovací moment 10 až 12 Nm (86 až 106 in-lb).
Rukou utáhněte přírubovou svorku, která zajišťuje regulační ventil a T-spojku, a přírubovou svorku, která zajišťuje T-spojku k 90° spojce s konektorem pro snímací trubici.
Připojte 3zdířkový konektor ke snímači tlaku.

Připevněte sestavu regulačního ventilu k držáku pomocí 4 šroubů (M6).

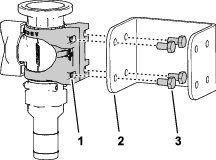
Demontujte stávající spojovací materiál, viz Obrázek 26.

Připevněte držák ke stroji pomocí stávajícího spojovacího materiálu.

Připevněte horní část držáku pomocí 4 šroubů (M6).

Namontujte sestavu T-spojky rozdělovacího ventilu na regulační ventil.

Připevněte sestavu na držák pomocí 4 šroubů (M6).

Namontujte úchyt ventilu na uzavírací ventil a připevněte ho k držáku pomocí 4 šroubů (M6).




Díly potřebné k provedení tohoto kroku:
| Sestava stříkací pistole | 1 |
| Přímá spojka s trny | 1 |
| Svorka hadice | 2 |
| Hadice | 1 |
Note: K utěsnění kuželových závitových spojek použijte pásku z PTFE.
Pomocí hadicové svorky připevněte přímou spojku s trny k otevřenému konci přívodní hadice hadicového bubnu.

Zajistěte konec hadice na regulačním ventilu pomocí hadicové spony.

Nadbytečnou část hadice omotejte kolem háku na nádrži a stříkací pistoli uložte do držáku.
Připojte svorku záporného kabelu k akumulátoru.
Podle pokynů v provozní příručce ke stroji proveďte kalibraci regulační sestavy obtoku.
Kapalina unikající pod tlakem může proniknout kůží a způsobit zranění.
Stůjte vždy v dostatečné vzdálenosti od trysek, ze kterých stříká kapalina pod vysokým tlakem.
Nikdy nemiřte postřikovačem na osoby ani zvířata.
Před natlakováním soustavy zkontrolujte, zda jsou všechny kapalinové hadice a vedení v dobrém stavu a zda všechny spoje a spojky těsní.
K nalezení míst, z nichž kapalina uniká, použijte karton nebo papír.
Před prováděním jakékoli práce na soustavě v ní bezpečně uvolněte tlak.
Pokud kapalina pronikne kůží, neprodleně vyhledejte lékařskou pomoc.
Horké kapaliny a chemikálie mohou způsobit popáleniny nebo jiná poranění.
Important: Pokud používáte postřikovač ve stacionárním režimu, může za určitých podmínek teplo z motoru, chladiče a tlumiče výfuku potenciálně poškodit travní porost. Mezi stacionární režimy patří míchání obsahu nádrže, ruční postřik nebo používání postřikového ramene ovládaného za chůze.
Dodržujte následující bezpečnostní opatření:
Neprovádějte stacionární postřik za velmi horkých a/nebo suchých podmínek, protože během těchto období může být trávník vystavován většímu namáhání.
Při stacionárním postřiku neparkujte na trávníku. Pokud je to možné, parkujte na přístupové cestě vozíku.
Minimalizujte dobu, po kterou bude stroj na jakékoli konkrétní ploše trávníku ponechán v chodu. Čas a teplota ovlivňují, nakolik může být travnatá plocha poškozena.
Nastavte co nejnižší otáčky motoru tak, abyste dosáhli požadovaného tlaku a průtoku. Tím se minimalizuje generované teplo a rychlost vzduchu proudícího z chladicího ventilátoru.
Teplo z motorového prostoru odvětrávejte nahoru tak, že během stacionárního provozu zvednete sestavy krytu motoru/sedadla, aby teplo nemuselo nuceně vystupovat pod vozidlem. Další informace o zvednutí sestav sedadla naleznete v provozní příručce ke stroji.
Note: Pokud chcete zajistit dodatečnou tepelnou ochranu, během stacionárního provozu umístěte pod vozidlo tepelný štít. Soupravu tepelného štítu/rohože Toro pro postřikovače trávníků si vyžádejte od autorizovaného prodejce Toro.
Zastavte stroj, vypněte ramena a zatáhněte parkovací brzdu.
Při používání ručního postřikovače za jízdy hrozí nebezpečí ztráty kontroly nad vozidlem a následného zranění nebo smrti. Ruční postřikovač nepoužívejte během jízdy.
Ujistěte se, že pojistka spouště stříkací pistole umístěné v zadní části stroje je zajištěna.
Zelenou rukojetí na ovládacím ventilu otočte o 90 stupňů.
Z pozice obsluhy zapněte čerpadlo.
Přepněte hlavní rameno do ZAPNUTé polohy.
Nastavte požadované otáčky motoru a poté zajistěte zámek neutrálních otáček motoru.
Important: U ručního postřikovače nepoužívejte tlak vyšší než 10,34 bar.
Zelenou rukojetí na ovládacím ventilu otočte o 90 stupňů.
Nasměrujte trysku stříkací pistole na místo, kam je bezpečné stříkat, uvolněte zámek spouště a tiskněte spoušť tak dlouho, dokud z hadice nevyteče veškerá zbývající kapalina. Poté zámek spouště zajistěte.
Vraťte stříkací pistoli do držáku.
Nastavte znovu volnoběžné otáčky motoru.
Vypněte čerpadlo.
Important: Během každodenního čištění je nutné stříkací pistoli propláchnout čerstvou čistou vodou (viz provozní příručka k postřikovači). Nesprávné čištění stříkací pistole může snížit její výkon a spolehlivost.
Pomocí regulačního spínače nastavte požadovaný stříkací tlak.